JP4440407B2 - 撹拌装置 - Google Patents
撹拌装置 Download PDFInfo
- Publication number
- JP4440407B2 JP4440407B2 JP2000028652A JP2000028652A JP4440407B2 JP 4440407 B2 JP4440407 B2 JP 4440407B2 JP 2000028652 A JP2000028652 A JP 2000028652A JP 2000028652 A JP2000028652 A JP 2000028652A JP 4440407 B2 JP4440407 B2 JP 4440407B2
- Authority
- JP
- Japan
- Prior art keywords
- blade
- axial flow
- stirring
- blades
- paddle
- Prior art date
- Legal status (The legal status is an assumption and is not a legal conclusion. Google has not performed a legal analysis and makes no representation as to the accuracy of the status listed.)
- Expired - Fee Related
Links
- 238000003756 stirring Methods 0.000 claims description 49
- 239000007788 liquid Substances 0.000 claims description 18
- 238000013019 agitation Methods 0.000 claims description 6
- 230000002093 peripheral effect Effects 0.000 claims description 4
- 230000007423 decrease Effects 0.000 claims 1
- 239000002002 slurry Substances 0.000 description 6
- 230000000694 effects Effects 0.000 description 3
- 239000000126 substance Substances 0.000 description 3
- 230000000630 rising effect Effects 0.000 description 1
Images
Landscapes
- Mixers Of The Rotary Stirring Type (AREA)
Description
【発明の属する技術分野】
本発明は薬品工業、食品工業、化学工業等における固液撹拌(スラリー撹拌)に好適な撹拌装置に関する。
【0002】
【従来の技術】
従来のこの種の撹拌装置として、図7の如く回転軸aの下端部及び中間部に平板状のパドル翼bを嵌着し、該回転軸aを円筒状の撹拌槽c内に垂設したものが知られている。尚、eはバッフルプレートである。
【0003】
【発明が解決しようとする課題】
この従来の撹拌装置によれば、撹拌槽c内の液が上下の各パドル翼bにより該撹拌槽c内の中心部より周辺部へそれぞれ流動され、その結果図7の矢印dの如く部分的な循環流動のみが生じ、かくて撹拌槽内にスラリーの濃度のバラツキを生じて、均一混合が得られないという問題があった。
【0004】
又、従来の撹拌装置では、撹拌槽内の液面高さの変化が液内の流動やスラリーの濃度のバラツキに影響を及ぼすという問題があった。
【0005】
本発明はこれらの問題点を解消し、撹拌槽の液内に部分的な循環流動を生じないと共に液面の高さが変化しても良好な均一混合が得られる撹拌装置を提供することを目的とする。
【0006】
【課題を解決するための手段】
本発明は上記の目的を達成すべく、撹拌翼を有する回転軸を略円筒状の撹拌槽内に垂設して撹拌を行なう式の撹拌装置において、前記回転軸の中間部に液を前記撹拌槽の中心部の下方へ流動させる軸流翼を嵌着すると共に前記回転軸の下端部に前記液を前記撹拌槽の中心部から周辺部へ流動させるパドル翼を嵌着し、前記パドル翼の外径は前記軸流翼の外径より大であり、かつ前記パドル翼は、中心部から外方部に向うのに従って上下方向の幅が小となると共に、前記パドル翼は、その下辺が撹拌槽の内部底面との間に少許の隙間を存して回動可能に形成されていることを特徴とする。
【0007】
【発明の実施の形態】
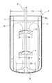
本発明の第1の実施の形態を図1により説明する。
【0008】
図1に示す本実施の形態の撹拌装置1の縦断面図において、回転軸2は軸流翼3及びパドル翼5を順次嵌着固定しており、該回転軸2は図示していない駆動装置によって回動可能に略円筒状の撹拌槽6内に垂設されている。
【0009】
7はバッフルプレートであり、前記撹拌槽6の内部側壁に沿って複数個、上下縦長に設置されている。
【0010】
又、前記パドル翼5の下辺は撹拌槽6の内部底面との間に少許の隙間を存して回動可能に形成されている。
【0011】
前記軸流翼3はプロペラ翼式の軸流翼で、回転軸2の回転と共に該回転軸2に沿って下方向きの流れを生ずるように形成されている。
【0012】
プロペラ翼の1例3aの斜視図を図3に示した。
【0013】
又、前記パドル翼5は、中心部から外方に向かうに従って上下方向の幅を減ずるようにした平板羽根からなり、前記回転軸2の回転と共に撹拌槽6の内壁面に沿って上方向に向かう流れを生ずるように形成されている。平板羽根5aからなるパドル翼の1例の平面図を図5に示した。
【0014】
これら軸流翼3及びパドル翼5の寸法上の要件は次の通りである。
【0015】
即ち図1において軸流翼3の外径D2は撹拌槽6の内径D1の30〜50%の寸法とし、パドル翼5の外径D3は撹拌槽6の内径D1の50乃至90%の寸法とすることが好ましい。
【0016】
次に本実施の形態の撹拌装置1の作動及び効果について説明する。
【0017】
本撹拌装置1は、主として薬品工業、食品工業、化学工業等における固液撹拌(スラリー撹拌)に使用される。
【0018】
即ち、撹拌槽6内の液体に泥状物質等を混じて、回転軸2を回転させて撹拌混合する。
【0019】
この時の撹拌槽6内のフローパターンを矢印Fで示した。
【0020】
この矢印Fで示すフローパターンは、撹拌槽6の中心部を上方から下方に向かって流れる下降流と、撹拌槽6の壁面に沿って下方から上方に向かって流れる上昇流とからなり、全体が1つの循環流を形成している。
【0021】
この様に従来の撹拌装置における如き部分的な循環流を生ずることがないので、槽内の液体の上下の混合拡散が十分に行なわれて、スラリー濃度のバラツキの少ない均一混合が得られる。
【0022】
本発明の第2の実施の形態を図2により説明する。
【0023】
この実施の形態は撹拌槽6の液深が大の場合であり、軸流翼3が上方に位置する主軸流翼3´と下方に位置する従軸流翼4とからなり、これら主軸流翼3´と従軸流翼4はプロペラ翼により形成され回転軸2の中間部の上下の位置に嵌着されている。
【0024】
そして、主軸流翼3´の外径D4は撹拌槽6の内径D1の30〜50%のの寸法とし、従軸流翼4の外径D5は撹拌翼6の内径D1の25乃至35%の範囲の寸法(本実施の形態では33%)とし、又、パドル翼5の外径D3は撹拌槽6の内径D1の50乃至90%の範囲の寸法(本実施の形態では60%)とすることが好ましい。
【0025】
かくて主軸流翼3´よりも外径を小とした従軸流翼4を所定の間隔で配置したので、撹拌槽6の中心部に沿って下降する流れは槽内の周辺部へ向かうことなく下降を続け、又、パドル翼5の外径を主軸流翼3の外径よりも大としたので、該パドル翼5によって撹拌槽底部の流れが中心部から周辺部へ向かうと共に、該流れが前記軸流翼によって生じた下降流の外側を上昇する上昇流となる。
【0026】
又、本撹拌装置1は、液面W・Lの高さが変化しても常に1つの循環流を形成し、均一な混合が得られる。
【0027】
尚、前記実施の形態では、軸流翼3、3´及び4をプロペラ翼式としたが、これはピッチ付きねじり下げ翼式の軸流翼であってもよい。
【0028】
ピッチ付きねじり下げ翼の1例3bの斜視図を図4に示す。
【0029】
又、本実施の形態ではパドル翼5を平板羽根からなるものとしたが、これは湾曲羽根からなるものとしてもよい。
【0030】
湾曲羽根5bからなるパドル翼の1例の平面図を図6に示す。
【0031】
更に又、本実施の形態では、従軸流翼を1組有するものとしたが、これは従軸流翼を2組以上有するものであってもよい。
【0032】
【発明の効果】
このように本発明によれば、撹拌槽内の液体に部分的な循環流動を生ぜず、液体全体が1つの循環流となって、例え液面高さが変化してもこのフローパターンが保たれるので、スラリー濃度のバラツキの少ない均一混合が得られる効果を有する。
【図面の簡単な説明】
【図1】本発明の撹拌装置の第1の実施の形態の縦断面図である。
【図2】本発明の撹拌装置の第2の実施の形態の縦断面図である。
【図3】プロペラ翼の1例の斜視図である。
【図4】ピッチ付きねじり下げ翼の1例の斜視図である。
【図5】平板羽根からなるパドル翼の1例の平面図である。
【図6】湾曲羽根からなるパドル翼の1例の平面図である。
【図7】従来の撹拌装置の1例の縦断面図である。
【符号の説明】
1 撹拌装置
2 回転軸
3 軸流翼
3´ 主軸流翼
3a プロペラ翼の1例
3b ピッチ付きねじり下げ翼の1例
4 従軸流翼
5 パドル翼
5a 平板羽根
5b 湾曲羽根
6 撹拌槽
Claims (8)
- 撹拌翼を有する回転軸を略円筒状の撹拌槽内に垂設して撹拌を行なう式の撹拌装置において、前記回転軸の中間部に液を前記撹拌槽の中心部の下方へ流動させる軸流翼を嵌着すると共に前記回転軸の下端部に前記液を前記撹拌槽の中心部から周辺部へ流動させるパドル翼を嵌着し、前記パドル翼の外径は前記軸流翼の外径より大であり、かつ前記パドル翼は、中心部から外方部に向うのに従って上下方向の幅が小となると共に、前記パドル翼は、その下辺が撹拌槽の内部底面との間に少許の隙間を存して回動可能に形成されていることを特徴とする撹拌装置。
- 前記軸流翼は上方に位置する主軸流翼と下方に位置し1個以上の該主軸流翼より小径の従軸流翼とからなることを特徴とする請求項1に記載の撹拌装置。
- 前記パドル翼の外径は前記撹拌槽の内径の50乃至90%であると共に前記軸流翼の外径は該撹拌槽の内径の30〜50%であることを特徴とする請求項1又は請求項2に記載の撹拌装置。
- 前記主軸流翼の外径は前記撹拌槽の内径の30〜50%であると共に前記従軸流翼の外径は前記撹拌槽の内径の25乃至35%であることを特徴とする請求項2に記載の撹拌装置。
- 前記軸流翼又は主軸流翼及び従軸流翼はプロペラ翼であることを特徴とする請求項2乃至請求項4のいずれか1に記載の撹拌装置。
- 前記軸流翼又は主軸流翼及び従軸流翼はピッチ付きねじり下げ翼であることを特徴とする請求項2乃至請求項4のいずれか1に記載の撹拌装置。
- 前記パドル翼は平板羽根からなることを特徴とする請求項1又は請求項3に記載の撹拌装置。
- 前記パドル翼は湾曲板羽根からなることを特徴とする請求項1又は請求項3に記載の撹拌装置。
Priority Applications (1)
| Application Number | Priority Date | Filing Date | Title |
|---|---|---|---|
| JP2000028652A JP4440407B2 (ja) | 2000-02-07 | 2000-02-07 | 撹拌装置 |
Applications Claiming Priority (1)
| Application Number | Priority Date | Filing Date | Title |
|---|---|---|---|
| JP2000028652A JP4440407B2 (ja) | 2000-02-07 | 2000-02-07 | 撹拌装置 |
Publications (2)
| Publication Number | Publication Date |
|---|---|
| JP2001219046A JP2001219046A (ja) | 2001-08-14 |
| JP4440407B2 true JP4440407B2 (ja) | 2010-03-24 |
Family
ID=18554024
Family Applications (1)
| Application Number | Title | Priority Date | Filing Date |
|---|---|---|---|
| JP2000028652A Expired - Fee Related JP4440407B2 (ja) | 2000-02-07 | 2000-02-07 | 撹拌装置 |
Country Status (1)
| Country | Link |
|---|---|
| JP (1) | JP4440407B2 (ja) |
Cited By (1)
| Publication number | Priority date | Publication date | Assignee | Title |
|---|---|---|---|---|
| CN102580597A (zh) * | 2012-03-07 | 2012-07-18 | 巨力新能源股份有限公司 | 一种浆料快速混匀及自动输送和添加装置 |
Families Citing this family (14)
| Publication number | Priority date | Publication date | Assignee | Title |
|---|---|---|---|---|
| JP3903775B2 (ja) * | 2001-11-21 | 2007-04-11 | 株式会社セムコーポレーション | 竪型撹拌装置 |
| JP2005053799A (ja) * | 2003-08-05 | 2005-03-03 | Satake Chemical Equipment Mfg Ltd | テレフタル酸の晶析装置 |
| KR100852467B1 (ko) * | 2006-11-15 | 2008-08-18 | 경상대학교산학협력단 | 리튬/실리콘 설파이드 전지 |
| DE102007037586B3 (de) * | 2007-08-09 | 2008-09-18 | Invent Umwelt- Und Verfahrenstechnik Ag | Rührvorrichtung für Belebtschlämme |
| KR101062404B1 (ko) | 2008-11-26 | 2011-09-05 | 주식회사 에너세라믹 | 공침 반응기 |
| JP6251547B2 (ja) * | 2013-11-15 | 2017-12-20 | 佐竹化学機械工業株式会社 | 撹拌装置 |
| JP2017039075A (ja) * | 2015-08-19 | 2017-02-23 | 住友金属鉱山株式会社 | 固液撹拌装置 |
| CN107953470A (zh) * | 2017-10-17 | 2018-04-24 | 张家港市欣达机械制造有限公司 | 超比重出颗粒混合机 |
| JP2018027544A (ja) * | 2017-11-27 | 2018-02-22 | 佐竹化学機械工業株式会社 | 撹拌装置 |
| JP6817675B2 (ja) * | 2019-04-19 | 2021-01-20 | 佐竹化学機械工業株式会社 | 撹拌装置 |
| JP7277278B2 (ja) * | 2019-06-20 | 2023-05-18 | 株式会社イズミフードマシナリ | 攪拌羽根組立体および攪拌槽 |
| KR20240166906A (ko) * | 2023-05-17 | 2024-11-26 | 컨템포러리 엠퍼렉스 테크놀로지 (홍콩) 리미티드 | 교반 기기 |
| CN118513139A (zh) * | 2024-07-24 | 2024-08-20 | 青岛宜博科技股份有限公司 | 一种锂电池干湿混合式回收清洁装置 |
| CN118883678B (zh) * | 2024-09-30 | 2025-01-14 | 湖南建顺电子有限公司 | 一种电容生产用电解液检测装置 |
-
2000
- 2000-02-07 JP JP2000028652A patent/JP4440407B2/ja not_active Expired - Fee Related
Cited By (2)
| Publication number | Priority date | Publication date | Assignee | Title |
|---|---|---|---|---|
| CN102580597A (zh) * | 2012-03-07 | 2012-07-18 | 巨力新能源股份有限公司 | 一种浆料快速混匀及自动输送和添加装置 |
| CN102580597B (zh) * | 2012-03-07 | 2014-08-20 | 巨力新能源股份有限公司 | 一种浆料快速混匀及自动输送和添加装置 |
Also Published As
| Publication number | Publication date |
|---|---|
| JP2001219046A (ja) | 2001-08-14 |
Similar Documents
| Publication | Publication Date | Title |
|---|---|---|
| JP4440407B2 (ja) | 撹拌装置 | |
| JP2507839B2 (ja) | 攪拌装置 | |
| JP2516730B2 (ja) | 攪拌装置 | |
| JP2000202268A (ja) | 撹拌装置 | |
| CN1233524A (zh) | 垂直搅拌装置 | |
| US3942770A (en) | Device for stirring a liquid | |
| JP3224498B2 (ja) | 撹拌装置 | |
| JPH0760093A (ja) | 撹拌装置 | |
| US6149296A (en) | Mixer blade assembly for medium and high viscosity liquid | |
| JPH10337461A (ja) | 攪拌装置 | |
| JP3586685B2 (ja) | 竪形撹拌機 | |
| CN207357138U (zh) | 一种内置导流板和铰龙螺旋叶片的反应釜 | |
| JP3845516B2 (ja) | 撹拌翼及びその撹拌装置 | |
| JP4220168B2 (ja) | 固体粒子を含む液体の撹拌装置及び撹拌方法 | |
| US20040240315A1 (en) | Slotted draft tube mixing systems | |
| JP3902869B2 (ja) | 撹拌装置 | |
| CN212091748U (zh) | 蒸发混合式搅拌器 | |
| JP6817675B2 (ja) | 撹拌装置 | |
| GB2068247A (en) | Mixing apparatus with rotary agitator | |
| JPH0824609A (ja) | 攪拌装置 | |
| KR20090061616A (ko) | 이중원추형 회전차가 구비된 교반기 | |
| JP4766905B2 (ja) | パドル翼及び該パドル翼を備える攪拌装置 | |
| CN218250283U (zh) | 一种可提高原料反应率的反应釜装置 | |
| CN213610980U (zh) | 用于油橄榄保健食品加工的固液物料混合搅装置 | |
| RU35602U1 (ru) | Тарельчатая мешалка |
Legal Events
| Date | Code | Title | Description |
|---|---|---|---|
| A621 | Written request for application examination |
Free format text: JAPANESE INTERMEDIATE CODE: A621 Effective date: 20070122 |
|
| A977 | Report on retrieval |
Free format text: JAPANESE INTERMEDIATE CODE: A971007 Effective date: 20080722 |
|
| A131 | Notification of reasons for refusal |
Free format text: JAPANESE INTERMEDIATE CODE: A131 Effective date: 20080724 |
|
| A521 | Written amendment |
Free format text: JAPANESE INTERMEDIATE CODE: A523 Effective date: 20080908 |
|
| TRDD | Decision of grant or rejection written | ||
| A01 | Written decision to grant a patent or to grant a registration (utility model) |
Free format text: JAPANESE INTERMEDIATE CODE: A01 Effective date: 20091214 |
|
| A01 | Written decision to grant a patent or to grant a registration (utility model) |
Free format text: JAPANESE INTERMEDIATE CODE: A01 |
|
| A61 | First payment of annual fees (during grant procedure) |
Free format text: JAPANESE INTERMEDIATE CODE: A61 Effective date: 20100107 |
|
| FPAY | Renewal fee payment (event date is renewal date of database) |
Free format text: PAYMENT UNTIL: 20130115 Year of fee payment: 3 |
|
| R150 | Certificate of patent or registration of utility model |
Ref document number: 4440407 Country of ref document: JP Free format text: JAPANESE INTERMEDIATE CODE: R150 Free format text: JAPANESE INTERMEDIATE CODE: R150 |
|
| FPAY | Renewal fee payment (event date is renewal date of database) |
Free format text: PAYMENT UNTIL: 20140115 Year of fee payment: 4 |
|
| R250 | Receipt of annual fees |
Free format text: JAPANESE INTERMEDIATE CODE: R250 |
|
| R250 | Receipt of annual fees |
Free format text: JAPANESE INTERMEDIATE CODE: R250 |
|
| R250 | Receipt of annual fees |
Free format text: JAPANESE INTERMEDIATE CODE: R250 |
|
| R250 | Receipt of annual fees |
Free format text: JAPANESE INTERMEDIATE CODE: R250 |
|
| S531 | Written request for registration of change of domicile |
Free format text: JAPANESE INTERMEDIATE CODE: R313531 |
|
| R250 | Receipt of annual fees |
Free format text: JAPANESE INTERMEDIATE CODE: R250 |
|
| R350 | Written notification of registration of transfer |
Free format text: JAPANESE INTERMEDIATE CODE: R350 |
|
| R250 | Receipt of annual fees |
Free format text: JAPANESE INTERMEDIATE CODE: R250 |
|
| LAPS | Cancellation because of no payment of annual fees |