JP4438293B2 - 太陽電池及びその設置方法 - Google Patents

太陽電池及びその設置方法 Download PDF

Info

Publication number
JP4438293B2
JP4438293B2 JP2003003294A JP2003003294A JP4438293B2 JP 4438293 B2 JP4438293 B2 JP 4438293B2 JP 2003003294 A JP2003003294 A JP 2003003294A JP 2003003294 A JP2003003294 A JP 2003003294A JP 4438293 B2 JP4438293 B2 JP 4438293B2
Authority
JP
Japan
Prior art keywords
solar cell
condensing
light
layer
group
Prior art date
Legal status (The legal status is an assumption and is not a legal conclusion. Google has not performed a legal analysis and makes no representation as to the accuracy of the status listed.)
Expired - Fee Related
Application number
JP2003003294A
Other languages
English (en)
Other versions
JP2004221119A (ja
Inventor
順司 広兼
Current Assignee (The listed assignees may be inaccurate. Google has not performed a legal analysis and makes no representation or warranty as to the accuracy of the list.)
Sharp Corp
Original Assignee
Sharp Corp
Priority date (The priority date is an assumption and is not a legal conclusion. Google has not performed a legal analysis and makes no representation as to the accuracy of the date listed.)
Filing date
Publication date
Application filed by Sharp Corp filed Critical Sharp Corp
Priority to JP2003003294A priority Critical patent/JP4438293B2/ja
Publication of JP2004221119A publication Critical patent/JP2004221119A/ja
Application granted granted Critical
Publication of JP4438293B2 publication Critical patent/JP4438293B2/ja
Anticipated expiration legal-status Critical
Expired - Fee Related legal-status Critical Current

Links

Images

Classifications

    • YGENERAL TAGGING OF NEW TECHNOLOGICAL DEVELOPMENTS; GENERAL TAGGING OF CROSS-SECTIONAL TECHNOLOGIES SPANNING OVER SEVERAL SECTIONS OF THE IPC; TECHNICAL SUBJECTS COVERED BY FORMER USPC CROSS-REFERENCE ART COLLECTIONS [XRACs] AND DIGESTS
    • Y02TECHNOLOGIES OR APPLICATIONS FOR MITIGATION OR ADAPTATION AGAINST CLIMATE CHANGE
    • Y02EREDUCTION OF GREENHOUSE GAS [GHG] EMISSIONS, RELATED TO ENERGY GENERATION, TRANSMISSION OR DISTRIBUTION
    • Y02E10/00Energy generation through renewable energy sources
    • Y02E10/50Photovoltaic [PV] energy
    • Y02E10/52PV systems with concentrators

Landscapes

  • Photovoltaic Devices (AREA)

Description

【0001】
【発明の属する技術分野】
本発明は、太陽電池及びその設置方法に関する。
【0002】
【従来の技術】
従来、太陽電池は、図16に示すpn接合による光電変換を行う多結晶Si太陽電池や、図17に示すpin接合による光電変換を行う非晶質Si太陽電池がある。
【0003】
図16に示す多結晶Si太陽電池は、支持体を兼ねた基板181上に、光反射効果を有する電極金属層182、一つの伝導型の不純物を高濃度にドーピングした多結晶Si半導体層183、この多結晶Si半導体層183と同じ型の不純物をわずかにドーピングした多結晶Si半導体層184、上記多結晶Si半導体層183,184と反対の伝導型の不純物を高濃度にドーピングした多結晶Si半導体層185、電流を取り出すための集電電極186、及び、効率的に光を取り込むための導電性透明膜からなる反射防止層187を積層して構成されている。上記不純物を高濃度にドーピングした多結晶Si半導体層183は、電極金属層182と多結晶Si半導体層184との電気的接続を良好にする役目をする。
【0004】
また、図17に示す非晶質Si太陽電池は、支持体を兼ねた基板191上に、光反射効果を有する電極金属層192、非晶質半導体からなりn型不純物がドーピングされたn層193、非晶質半導体からなり真性半導体であるi層194、非晶質半導体からなりp型不純物がドーピングされたp層195、電流を取り出すための集電電極196、及び、効率的に光を取り込むための導電性透明膜からなる反射防止層197を積層して構成されている。
【0005】
また、発電効率を上げるため、図16に示す多結晶半導体で構成したpn接合と、図17に示す非晶質半導体で構成したpin接合とを積層したタンデム構造の太陽電池が提案されている。
【0006】
これらの太陽電池以外に、図18に示すように、基板側から光を入射させる太陽電池が提案されている。この太陽電池は、透明基板201上に、効率的に光を取り込むための導電性透明膜からなる反射防止層202、電流を取り出すための集電電極203、非晶質半導体からなりp型不純物がドーピングされたp層204、非晶質半導体からなり真性半導体であるi層205、非晶質半導体からなりn型不純物がドーピングされたn層206、及び、光反射効果を有する電極金属層207を積層して構成されている。
【0007】
【特許文献1】
特開2000−277774号公報
【0008】
【発明が解決しようとする課題】
図16、図17及び図18に示す太陽電池においては、表面反射を極力抑えることを目的として、光入射面側に導電性透明膜からなる反射防止層187,197,202を設けているが、表面反射を完全に零とすることは困難である。また、上記反射防止層187,197,202は、一般に、波長依存性を有しており、設計波長中心から光波長がずれることにより、表面反射が増大してしまうという問題がある。比較的広い波長の光を光電変換に利用するタンデム構造の太陽電池においては、その悪影響は、さらに大きなものとなる。また、電流を取り出すため、光入射側に設けられた集電電極186,196,203は、入射光を完全に反射してしまうため、確実に発電効率の低下をもたらすこととなる。
【0009】
さらに、光を吸収して電荷を発生させ、発電を行う多結晶Si半導体層184、非晶質半導体i層194,205は、入射した光を吸収するために十分な膜厚が必要であるが、あまり厚くなると、電荷の走行距離が増大して、外部に取り出すことのできる電流が減少する。また、これらの半導体層184,194,205の膜厚増加は、製造時間の増加、及び、材料使用量の増加につながり、コスト低減が困難となる。
【0010】
そこで、本発明の課題は、表面反射光があっても、光電変換層に入射される光量を減少させないようして発電効率を高くすることができる太陽電池及びその設置方法を提供することである。
【0011】
【課題を解決するための手段】
上記課題を解決するため、本発明の太陽電池は、
光電変換層を有する太陽電池素子と、
シリンドリカル状集光曲面群からなる集光曲面群を有する集光素子と、
この集光素子によって集光された光が透過する直線状スリット群からなる光透過孔群を有すると共に、上記集光素子と太陽電池素子との間に位置する反射層と
を備え、
上記反射層の光透過孔群は、上記集光曲面群の各集光曲面が形成するレンズの焦点と、上記集光曲面群との間に位置しており、
上記シリンドリカル状集光曲面群の各シリンドリカル状集光曲面が形成するレンズの焦点距離をFとし、上記シリンドリカル状集光曲面群の頂点を通る平面と上記反射層との間の距離をdとすると、
(F/2)≦ d ≦(6F/7)
であり、
上記シリンドリカル状集光曲面群の各シリンドリカル状集光曲面の幅をWとし、上記直線状スリット群の各直線状スリットの幅をWSとすると、
(W/8)≦ WS ≦(2W/3)
であることを特徴としている。
【0012】
上記構成によれば、上記集光曲面群に入射した光が、上記集光素子によって集光されて上記反射層の上記光透過孔群を通過して、上記太陽電池素子に入射し、この太陽電池素子からの反射光が、上記反射層により反射されて、上記太陽電池素子に再入射する。このように、上記集光素子により集光された光が、上記光透過孔群から太陽電池素子に入射して、上記太陽電池素子と反射層との間で多重反射される点と、上記光透過孔群を一度通過した光は逃がさないで有効に利用される点との相乗効果によって、光電変換層に照射される光量が著しく増大して、発電効率を高くすることができる。
【0013】
さらに、上記光透過孔を有する上記反射層の光透過孔群は、上記集光曲面群の各集光曲面が形成するレンズの焦点と、上記集光曲面群との間に位置しているので、上記光透過孔の形状、面積を適切に定めて、光の入射角が広い範囲に亘って変化しても、この光透過孔を通過する光量を減少しないようにすることが可能である。したがって、上記光電変換層に照射される光量が極めて増大して、発電効率を極めて高くすることが可能となる。
【0014】
また、本発明では、上記集光曲面群が、シリンドリカル状集光曲面群であり、上記光透過孔群が直線状スリット群である。
【0015】
上記構成によれば、上記シリンドリカル状集光曲面群によって、入射光が、効率良く、上記直線状スリット群に集光される。したがって、発電効率を高くすることができる。
【0016】
また、本発明では、上記シリンドリカル状集光曲面群の各シリンドリカル状集光曲面が形成するレンズの焦点距離をFとし、上記シリンドリカル状集光曲面群の頂点を通る平面と上記反射層との間の距離をdとすると、
(F/2)≦ d ≦(6F/7)
である。
【0017】
上記構成によれば、上記集光素子への光の入射角が広い範囲に亘って変化しても、上記直線状スリットを通過する光量を減少しないようにして、発電効率を高くすることができる。
【0018】
さらに、本発明では、上記シリンドリカル状集光曲面群の各シリンドリカル状集光曲面の幅をWとし、上記直線状スリット群の各直線状スリットの幅をWSとすると、
(W/8)≦ WS ≦(2W/3)
である。
【0019】
上記構成によれば、上記集光素子への光の入射角が広い範囲に亘って変化しても、上記直線状スリットを通過する光量を極めて多くすることができて、発電効率を高くすることができる。
【0020】
1実施の形態では、上記集光素子において上記集光曲面群と対向する面に、上記反射層が設けられて、上記集光素子と上記反射層とによって集光反射素子が構成されている。
【0021】
上記実施の形態によれば、上記集光素子と上記反射層とが一体化した上記集光反射素子を用いているので、太陽電池を簡単安価に製造できる。
【0022】
1実施の形態では、上記集光曲面群に入射した光が、上記集光素子によって集光されて上記反射層の上記光透過孔群を通過して、上記太陽電池素子に入射し、この太陽電池素子からの反射光が、上記反射層により反射されて、上記太陽電池素子に再入射するように、上記集光反射素子と上記太陽電池素子とが固定されている。
【0023】
1実施の形態では、上記集光反射素子と上記太陽電池素子とが、透明接着剤により固定されている。
【0024】
上記実施の形態によれば、上記透明接着剤を用いているので、上記集光反射素子と太陽電池素子とを簡単かつ強固に固定できて、耐環境性に優れた信頼性の高い安価な太陽電池を得ることができる。また、上記透明接着剤は、透明であるから、はみ出しても、見映えが悪くなることがない。
【0025】
1実施の形態では、上記集光反射素子と上記太陽電池素子との間に、透明板が設けられている。
【0026】
上記実施の形態によれば、上記透明板の厚さを調整することによって、上記集光反射素子と上記太陽電池素子との間の間隔を容易に制御することができる。また、上記集光反射素子と上記太陽電池素子との固定に透明接着剤を用いる場合、その透明接着剤の厚さを薄くすることができる。
【0027】
1実施の形態では、上記集光曲面群に入射した光が、上記集光素子によって集光されて上記反射層の上記光透過孔群を通過して、上記透明板を透過した後、上記太陽電池素子に入射し、この太陽電池素子からの反射光が、上記反射層により反射されて、上記太陽電池素子に再入射するように、上記集光反射素子と上記透明板と上記太陽電池素子とが固定されている。
【0028】
1実施の形態では、上記集光反射素子と上記透明板と上記太陽電池素子とが、透明接着剤により固定されている。
【0029】
上記実施の形態によれば、上記透明接着剤を用いているので、上記集光反射素子と上記透明板と上記太陽電池素子とを簡単かつ強固に固定できて、耐環境性に優れた信頼性の高い安価な太陽電池を得ることができる。また、上記透明接着剤は、透明であるから、はみ出しても、見映えが悪くなることがない。
【0030】
1実施の形態では、上記透明板が、蛍光特性を有する透明板である。
【0031】
上記実施の形態によれば、上記光透過孔群から入射した光のうち光電変換に寄与できない波長の光が、上記蛍光特性を有する透明基板によって、光電変換に寄与できる波長の光に変換されて、ランダムに放射、散乱されるので、上記光電変換層に照射される光電変換に寄与できる波長域の光の光量が著しく増大して、発電効率が極めて高くなる。
【0032】
1実施の形態では、上記集光素子と上記太陽電池素子との間に、上記光透過孔群を有する上記反射層と透明基板とからなる反射素子が設けられている。
【0033】
上記実施の形態によれば、上記集光素子と上記太陽電池素子と上記反射素子とを別々に作製して、上記集光素子の集光曲面群を損傷するのを防止することができる。
【0034】
1実施の形態では、上記集光曲面群に入射した光が、上記集光素子によって集光されて上記反射素子の上記反射層の上記光透過孔群を通過して、上記太陽電池素子に入射し、この太陽電池素子からの反射光が、上記反射層により反射されて、上記太陽電池素子に再入射するように、上記集光素子と上記反射素子と上記太陽電池素子とが固定されている。
【0035】
1実施の形態では、上記集光素子と上記反射素子と上記太陽電池素子とが、透明接着剤により固定されている。
【0036】
上記実施の形態によれば、上記透明接着剤を用いているので、上記集光反射素子と上記透明板と上記太陽電池素子とを簡単かつ強固に固定できて、耐環境性に優れた信頼性の高い安価な太陽電池を得ることができる。また、上記透明接着剤は、透明であるから、はみ出しても、見映えが悪くなることがない。
【0037】
1実施の形態では、上記反射素子の上記反射層が上記集光素子に面する一方、上記反射素子の上記透明基板が上記太陽電池素子に面している。
【0038】
1実施の形態では、上記反射素子の上記透明基板が、蛍光特性を有する透明基板である。
【0039】
上記実施の形態によれば、上記蛍光特性を有する透明基板を用いているので、光電変換に利用できない波長域の光を光電変換に利用できる波長域の光に変換して光電変換層に照射できて、発電効率を高くすることができる。
【0040】
1実施の形態では、上記反射素子と上記太陽電池素子とを、蛍光特性を有する透明接着剤によって接着固定している。
【0041】
上記実施の形態では、上記蛍光特性を有する透明接着剤を用いているので、光電変換に利用できない波長域の光を光電変換に利用できる波長域の光に変換して光電変換層に照射できて、発電効率を高くすることができる。
【0042】
1実施の形態では、上記反射素子の上記透明基板が上記集光素子に面する一方、上記反射素子の上記反射層が上記太陽電池素子に面している。
【0043】
1実施の形態では、上記太陽電池素子は、上記光電変換層と太陽電池素子用の基板とからなり、
上記光電変換層は、上記太陽電池素子用の上記基板の上記集光素子側の面に設けられている。
【0044】
1実施の形態では、上記太陽電池素子は、上記光電変換層と太陽電池素子用の透明基板とからなり、
上記光電変換層は、上記太陽電池素子用の上記透明基板の上記集光素子側の面と反対側の面に設けられている。
【0045】
1実施の形態では、上記太陽電池素子用の上記透明基板が、蛍光特性を有する透明基板である。
【0046】
上記実施の形態によれば、上記太陽電池素子用の上記透明基板が蛍光特性を有するので、光電変換に利用できない波長域の光を光電変換に利用できる波長域の光に変換して光電変換層に照射できて、発電効率を高くすることができる。
【0047】
1実施の形態では、上記太陽電池素子は、上記光電変換層と太陽電池素子用の透明基板とからなり、
上記光電変換層は、上記太陽電池素子用の上記透明基板の上記集光素子側の面と反対側の面に設けられており、
上記太陽電池素子用の上記透明基板の上記集光素子側の面に、上記光透過孔群を有する上記反射層が設けられている。
【0048】
1実施の形態では、上記集光曲面群に入射した光が、上記集光素子によって集光されて、上記太陽電池素子に設けられた上記反射層の上記光透過孔群を通過して、上記太陽電池素子に入射し、上記太陽電池素子用の上記透明基板を透過した後、上記光電変換層に入射し、上記光電変換層からの反射光が、上記反射層により反射されて、上記光電変換層に再入射するように、上記集光素子と上記反射層と上記太陽電池素子とが固定されている。
【0049】
1実施の形態では、上記集光素子と上記太陽電池素子とが、透明接着剤により固定されている。
【0050】
上記実施の形態によれば、上記透明接着剤を用いているので、上記集光素子と上記太陽電池素子とを簡単かつ強固に固定できて、耐環境性に優れた信頼性の高い安価な太陽電池を得ることができる。また、上記透明接着剤は、透明であるから、はみ出しても、見映えが悪くなることがない。
【0051】
1実施の形態では、上記太陽電池素子用の上記透明基板が、蛍光特性を有する透明基板である。
【0052】
上記実施の形態によれば、上記太陽電池素子用の上記透明基板が、蛍光特性を有するので、光電変換に利用できない波長域の光を光電変換に利用できる波長域の光に変換して光電変換層に照射できて、発電効率を高くすることができる。
【0053】
1実施の形態では、上記透明接着剤が蛍光特性を有する。
【0054】
上記実施の形態によれば、上記透明接着剤が蛍光特性を有するので、光電変換に利用できない波長域の光を光電変換に利用できる波長域の光に変換して光電変換層に照射できて、発電効率を高くすることができる。
【0055】
本発明の太陽電池の設置方法は、上記太陽電池を、上記シリンドリカル状集光曲面群の長軸方向が、東西方向と一致するように、設置することを特徴としている。
【0056】
上記構成によれば、太陽光が傾いて入射する時間帯においても、上記シリンドリカル状集光曲面群から、効率良く、反射層の直線状スリット群へと光が集光される。したがって、太陽電池素子の光電変換層に照射される光量が増大して、発電効率を高くすることができる。
【0057】
【発明の実施の形態】
以下、本発明の太陽電池を図示の実施の形態により詳細に説明する。
【0058】
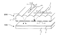
図1は、本発明の実施の形態の太陽電池の断面斜視図を示している。
【0059】
上記太陽電池は、太陽電池素子100と集光反射素子200とからなる。
【0060】
上記太陽電池素子100は、支持体を兼ねた基板1上に、光電変換層2を設けてなる。上記太陽電池素子100は、例えば、図2に示すように、上記基板1上に、光反射効果を有する反射層としての電極金属層8と、一つの伝導型の不純物を高濃度にドーピングした多結晶Si半導体層9と、この多結晶Si半導体層9と同じ型の不純物をわずかにドーピングした多結晶Si半導体層10と、上記多結晶Si半導体層9,10と反対の伝導型の不純物を高濃度にドーピングした多結晶Si半導体層11と、電流を取り出すための集電電極12と、効率的に光を取り込むための導電性透明膜からなる反射防止層13とを順次積層してなる。上記層8〜13は、上記光電変換層2の一例を構成する。上記多結晶Si半導体層9,10,11は、狭い意味での光電変換に寄与する層である。なお、上記不純物を高濃度にドーピングした多結晶Si半導体層9は、電極金属層8と多結晶Si半導体層10との電気的接続を良好にする役目をする。
【0061】
一方、上記集光反射素子200は、一方の面を集光曲面群の一例としてのシリンドリカル状集光曲面群4に形成してなる透明板からなる集光素子3と、この集光素子3の他方の平坦な面に設けられた反射層5とからなる。この反射層5には、光透過孔群の一例としての直線状スリット群6を設けている。上記シリンドリカル状集光曲面群4は、光7を直線状スリット群6に集光するようになっている。
【0062】
上記太陽電池素子100の光入射面、すなわち、反射防止層13の表面と、上記集光反射素子200の反射層5を所定の間隔をあけて対向させて、上記太陽電池素子100に集光反射素子200を取り付けている。
【0063】
上記構成の太陽電池に太陽光等の光が照射されると、図1に示すように、入射光7は集光反射素子200の集光素子3のシリンドリカル状集光曲面群4により、反射層5上に形成された直線状スリット群6へと集光されて、太陽電池素子100へと入射する。この太陽電池素子100に入射した光は、反射防止層13、多結晶Si半導体層11,10,9を透過し、反射層としての電極金属層8により反射されて、再度、多結晶Si半導体層9,10,11を通過する。これにより、多結晶Si半導体層11,10における光吸収効率が高められている。
【0064】
上記太陽電池は、反射防止層13、集電電極12、及び、多結晶Si半導体層11の表面で反射された光が、反射層5により反射され、再度、太陽電池素子100に入射し、多結晶Si半導体層11,10,9を通過する。このように、上記直線状スリット群11から入射した光が、集光反射素子200の反射層5と太陽電池素子100との間で多重反射することにより、さらに高い光吸収効率が実現されて、太陽電池素子100の発電効率が高められている。なお、上記反射防止層13は、一般に波長依存性を有しており、全ての波長の光の反射を完全に防止することは不可能で、この反射防止層13からの反射光が存在するが、この反射光は反射層6で反射されて、発電に利用される。
【0065】
また、上記太陽電池においては、集光反射素子200の反射層12と太陽電池素子100の反射層としての電極金属層2との間で多重反射が行われる点と、上記光透過孔群5を一度通過した光は反射層12で逃がさないで有効に利用される点との相乗効果によって、多結晶Si半導体層10,11に照射される光量が著しく増大して、多結晶Si半導体層10,11を薄くした場合においても、入射した光が十分に吸収されて、かつ、電荷の走行距離が短くて、外部に取り出すことが可能な電流を大きくすることができる。したがって、発電効率を極めて高くすることができる。
【0066】
次に、図3及び図4は、上記太陽電池の設置方法について説明する図である。
【0067】
本明細書においては、図3に示すように、シリンドリカル状集光曲面群4の長軸方向を縦方向14と呼び、縦方向14と直交する方向を横方向15と呼ぶこととする。
【0068】
太陽光を光源とする太陽電池においては、太陽光の入射角度によらず、効率の良い発電を行う必要がある。例えば、図4に示すように、朝8時には、太陽光は東斜め上から太陽電池へと入射し、正午12時には、太陽光は垂直上方から太陽電池へと入射し、夕方16時には、太陽光は西斜め上から太陽電池へと入射する。効率の良い発電を行うためには、このように異なる入射角度の太陽光を、シリンドリカル状集光曲面群4で集光して、効率良く、直線状スリット群6へと入射させることが必要となる。
【0069】
図3に示すように、横方向15の斜め上から太陽光が入射する場合、光軸が直線状スリット群6からずれるため、シリンドリカル状集光曲面群4により集光される入射光7は、直線状スリット群6に入射せず、反射層5により反射されて、発電効率が著しく低下することになる。これに対して、縦方向14の斜め上から太陽光が入射する場合、光軸が直線状スリット群6と一致したままであり、シリンドリカル状集光曲面群4により集光される入射光7は、直線状スリット群6に入射して、太陽光が斜め上から入射する場合においても、高い発電効率を維持することが可能となる。
【0070】
したがって、本実施の形態の太陽電池は、集光反射素子200の集光素子3のシリンドリカル状集光曲面群4を、そのシリンドリカル状集光曲面群4の縦方向14が、太陽の進行方向、すなわち、東西方向と一致するように設置することにより、太陽光が斜め上から入射する朝方及び夕方においても、高い発電効率を実現することが可能となる。
【0071】
次に、図5は、本実施の形態の太陽電池のシリンドリカル状集光曲面群4に対して、図3及び4に示すように、縦方向14の斜め上から入射角度Qで平行光が入射した際の集光状態を計算(シミュレーション)した結果を示している。計算において、空気の屈折率n1を1.0とし、集光反射素子200の透明基板3の屈折率n2を1.5とし、曲率半径10mmのシリンドリカル状集光曲面群4が、幅12mmの間隔で並んでいる場合について行った。集光反射素子200と太陽電池素子100との間の媒体の屈折率が集光反射素子200の透明基板3の屈折率n2と異なる場合、直線状スリット群6を透過した光は、屈折することになるが、ここでは、集光反射素子200と太陽電池素子100との間の屈折率が集光反射素子200の屈折率n2と等しいとして計算を行った。
【0072】
図5において、(a)、(b)、(c)、(d)は、それぞれ、入射角度Q=0°、Q=20°、Q=40°、Q=60°の場合について計算した結果である。縦方向14の斜め上からの入射光7は、集光反射素子200の透明板からなる集光素子3の中を縦方向14に進みながら集光されることになるが、図5においては、光の集光状態を横断面に投影して、入射角度Qによる集光状態の変化を調べている。
【0073】
図5から分かるように、入射角度Qが大きくなることで、入射光の集光位置は、シリンドリカル状集光曲面群4の方向に移動することになる。したがって、図5(a)に示すQ=0°における集光位置、すなわち、シリンドリカル状集光曲面群4の各シリンドリカル状集光曲面が形成するレンズの焦点FPの位置に、図示していないが、仮に、直線状スリット群6を設けると、図5(d)に示すQ=60°の場合には、入射光のほとんどが、反射層5によって反射されることになり、入射角度Qの増大に伴ない、発電効率が著しく低減することになる。
【0074】
これに対して、図5(a)、(b)、(c)、(d)に示すように、シリンドリカル状集光曲面群4を構成するシリンドリカル状集光曲面の焦点FPよりもシリンドリカル状集光曲面群4に近い位置に、つまり、上記シリンドリカル状集光曲面と上記焦点FPとの間に、上記直線状スリット群6を設けると共に、直線状スリット群6のスリット幅を最適化することにより、図5(a)に示すQ=0°の場合においても、図5(d)に示すQ=60°の場合においても、すべての入射光を直線状スリット群6へと集光することが可能となり、入射角度Qが増大した場合においても、効率良く入射光を直線状スリット群6へと集光して、高い発電効率を実現することが可能となる。
【0075】
【実施例1】
本発明の実施例1として、図1に示す構成の太陽電池を作製した。
【0076】
太陽電池素子100の作製方法を以下に説明する。図2に示すように、支持体を兼ねたステンレス基板1上に、光反射効果を有する膜厚100nmのAl . 95Ti . 05電極金属層8をスパッタリングにより形成した後、一つの伝導型の不純物を高濃度にドーピングした多結晶Si半導体層9、この多結晶Si半導体層9と同じ型の不純物をわずかにドーピングした多結晶Si半導体層10、多結晶Si半導体層9,10と反対の伝導型の不純物を高濃度にドーピングした多結晶Si半導体層11をプラズマCVD(化学的気相成長)装置により順次形成した。
【0077】
より詳しくは、上記電極金属層8上に、Pが高濃度にドープされた膜厚30nmの多結晶Si半導体層9を堆積した。この多結晶Si半導体層9は、基板温度250℃の条件で、SiHガス、Hガス、PHガスの混合比を最適化した混合ガスをCVD装置に導入して、ガス圧20Paとして、100Wの高周波電力を投入することにより形成した。
【0078】
次に、上記多結晶Si半導体層9上に、Pがわずかにドーピングされた膜厚150nmの多結晶Si半導体層10を堆積した。この多結晶Si半導体層10は、基板温度550℃の条件で、SiHガス、Hガス、PHガスの混合比を最適化した混合ガスをCVD装置に導入して、ガス圧50Paとして、350Wの高周波電力を投入することにより形成した。
【0079】
上記多結晶Si半導体層10は、光を吸収し、電荷を発生させ、発電を行う層であり、十分に光を吸収させるため、通常その厚さが1000nm以上、50000nm以下に設定されるが、本実施例1においては、直線状スリット群6からの入射光が、太陽電池素子100と集光反射素子200の反射層5との間で多重反射するため、多結晶Si半導体層10を薄くすることが可能であり、その多結晶Si半導体層10の膜厚を100nm以上、2000nm以下にすることが望ましい。
【0080】
次に、上記多結晶Si半導体層10上に、Bがドーピングされた膜厚15nmのp型の多結晶Si半導体層11を堆積した。この多結晶Si半導体層11は、基板温度350℃の条件で、SiHガス、Hガス、BFガスの混合比を最適化した混合ガスをCVD装置に導入して、ガス圧50Paとして、100Wの高周波電力を投入することにより形成した。
【0081】
次に、上記多結晶Si半導体層10,11で構成されるpn接合を形成した基板1を、図示しないスパッタリング装置に取り付け、遮蔽マスクを基板1の多結晶Si半導体層11の表面に装着した状態で、AlTi合金ターゲットを用いて膜厚100nmのAl . 95Ti . 05からなる幅0.1mm、間隔5mmのくし型集電電極12を形成した。
【0082】
次に、上記多結晶Si半導体層11及びくし型集電電極12上に、膜厚65nmの導電性透明膜からなる反射防止層13を堆積した。この反射防止層13は、Inターゲットを用いて、酸素雰囲気中で反応性スパッタリングを行うことにより形成した。
【0083】
一方、図1及び3に示す集光反射素子200の透明板からなる集光素子3は、屈折率1.5のポリカーボネート樹脂を用いて、射出成形法により作製した。上記集光素子3の一面に形成した集光曲面群の1例としてのシリンドリカル状集光曲面群4は、曲率半径10mmの各シリンドリカル状集光曲面が、幅W=12mmの間隔で並んだ構成とし、シリンドリカル状集光曲面群4の各シリンドリカル状集光レンズの焦点FP(図5(a)を参照)の焦点距離Fはおよそ28mmにした。上記透明板からなる集光素子3の他面に設けた反射層5の直線状スリット群6の形成位置は、集光素子3の厚さd、つまり、シリンドリカル状集光レンズ群の最も厚くなる箇所での透明基板3の厚さdに応じて定めた。また、上記直線状スリット群4のスリット幅WSは、シリンドリカル状集光曲面群4の各シリンドリカル状集光曲面の幅W(W=12mm)の1/3の幅(WS=4mm)とした。
【0084】
上記太陽電池素子100と集光反射素子200との間に、図示しないスペーサを設けて、両者の間隔が10mmとなるようにして、固定配置して、太陽電池を完成した。そして、この太陽電池の発電効率を調査した。また、比較例1として、上記太陽電池素子100のみの構成の太陽電池の発電効率についても調査した。
【0085】
図6は、直線状スリット群6の形成位置、すなわち、集光反射素子200の透明板からなる集光素子3の厚さd、つまり、シリンドリカル状集光曲面群4の頂点から直線状スリット群6までの距離dを変えた場合において、光の入射角Qとともに発電効率がどのように変化するかを調べた結果である。光源としては、太陽光シミュレーター(100mW/cm)からの光を斜め上から照射した。また、図6は、並べて配置した上記比較例1の太陽電池の開放電圧V及び短絡電流Iを100%として、本太陽電池の開放電圧Vと短絡電流Iの大きさを比較例1と比較した結果をパーセントで示している。
【0086】
上記焦点距離Fが28mmであるのに対して、集光素子3の厚さdが14mm(F/2)以上、24mm(6F/7)以下の範囲において、入射角Q=60°までのすべての場合において、比較例1よりも本実施例1の太陽電池の開放電圧Vと短絡電流Iの両方が大きくなっていることが分かった。すなわち、上記シリンドリカル状集光曲面群4の頂点を通る平面と上記反射層5との間の距離dと上記焦点距離Fが、(F/2)≦ d ≦(6F/7)を満足すると、入射光の入射角Qが広い範囲に変化しても、発電効率が高くなることが分かった。ここで、入射角Q=80°を想定すると、すべての入射角度範囲において、常に比較例1より高い発電効率を維持することは困難となるが、1日のトータルの発電量は、太陽光の照射強度が強くなる朝9時から夕方16時の間の発電量によって決定されるため、入射角Q=60°までの発電効率を比較することにより、1日のトータル発電量を比較することが可能であり、直線状スリット群6の形成位置を上記範囲とすることにより、比較例1よりも高い発電効率を有する太陽電池を実現することができる。
【0087】
また、さらに高い発電効率を維持するためには、焦点距離Fが28mmであるのに対して、集光素子3の厚さd、つまり、シリンドリカル状集光曲面群4の頂点から直線状スリット群6までの距離dを18mm(9F/14)以上、22mm(11F/14)以下の範囲とすることが望ましい。集光素子3の厚さdをこの範囲とすることにより、60°までのすべての入射角Qに対して、開放電圧Vと短絡電流Iを共に、比較例1の120%以上とすることが可能となる。
【0088】
次に、集光素子3の厚さd、つまり、シリンドリカル状集光曲面群4の頂点から直線状スリット群6までの距離dを最適に、すなわち、20mm(5F/7)に固定して、直線状スリット群6のスリット幅WSを変えて、開放電圧Vと短絡電流Iとを調査した結果を図7に示す。上記シリンドリカル状集光曲面群4の各シリンドリカル状集光曲面の幅Wが12mmであるのに対して、直線状スリット群6のスリット幅WSを1.5mm(W/8)以上とし、8mm(2W/3)以下とすることにより、60°までのすべての入射角Qに対して、比較例1よりも大きな開放電圧Vと短絡電流Iが得られた。すなわち、上記各シリンドリカル状集光曲面の幅Wと、上記直線状スリット群6のスリット幅WSとが、(W/8)≦ WS ≦(2W/3)を満足すると、発電効率が高くなることが分かった。これは、スリット幅WSが狭くなりすぎると、集光された光の一部が反射層5により反射されて、太陽電池素子100に到達しなくなるため、発電効率の低下につながる一方、直線状スリット群6のスリット幅WSが広くなりすぎると、直線状スリット群4から太陽電池素子100へ入射した光が、再度、直線状スリット群4から外部へ放射されて、多重反射の効率が低下するため、発電効率の低下につながるからであると考えられる。
【0089】
以上のように、本発明の太陽電池においては、シリンドリカル状集光曲面群4の焦点距離をFとして、シリンドリカル状集光曲面群4の頂点から直線状スリット群6までの距離dを、少なくとも、(F/2)以上、(6F/7)以下とすることが必要であり、より高い発電効率を得るためには、上記距離dを(9F/14)以上、(11F/14)以下とすることが望ましい。また、上記シリンドリカル状集光曲面群4の各シリンドリカル状集光曲面の幅をWとして、直線状スリット群6のスリット幅WSを(W/8)以上、(2W/3)以下とすることが望ましい。
【0090】
本実施例1においては、集光反射素子200と太陽電池素子100との間にスペーサを設け、両者を間隔をあけて固定配置した構成について説明しているが、紫外線硬化樹脂等の透明接着剤を用いて、集光反射素子200と太陽電池素子100とを接着して固定することにより、より強固に集光反射素子200と太陽電池素子100とを固定することができて、太陽電池の信頼性が向上する。なお、上記透明接着剤は、透明であるから、はみ出しても、見映えが悪くなることがない。
【0091】
ここで、太陽電池素子100と集光反射素子200の反射層5との間で安定した多重反射を実現するためには、上記透明接着剤の層の層厚を5mm以上とすることが望ましい。また、上記紫外線硬化樹脂が厚くなり過ぎると、樹脂硬化のための時間が長くなり、太陽電池の製造のスループットが低下することになる。したがって、紫外線硬化樹脂層の層厚としては、15mm以下とすることが望ましい。
【0092】
また、図示しない蛍光性微粒子が分散した紫外線硬化樹脂を用いて、集光反射素子200と太陽電池素子100とを接着して固定することにより、さらに発電効率を高くすることが可能となる。粒径5μmのYS:Eu,Mg,Tiの蛍光粒子を、紫外線硬化樹脂に、10体積%含有させ、集光反射素子200の透明基板3と太陽電池素子とを、5mm厚の該紫外線硬化樹脂を用いて接着固定した太陽電池を作製した。この蛍光粒子は、光電変換に利用されない波長400nm近傍の光を、光電変換に利用される波長600nm近傍の光に変換し、さらに、蛍光粒子から発生する波長600nm近傍の光が、集光反射素子200の透明基板3と太陽電池素子100との間で多重反射することにより、太陽電池の発電効率をさらに高くすることができる。
【0093】
蛍光粒子を含有しない紫外線硬化樹脂を用いて、集光反射素子200の透明基板3と太陽電池素子100とを接着固定した太陽電池と、蛍光粒子を含有した紫外線硬化樹脂を用いて、集光反射素子200の透明基板3と太陽電池素子100とを接着固定した本発明の太陽電池とに対して、太陽光シミュレーター(100mW/cm)により、入射角Q=0°の光を入射させ、両者の開放電圧Vと短絡電流Iを比較した結果、蛍光粒子を含有させることにより、開放電圧Vが15%大きくなり、短絡電流Iが12%大きくなることが確認された。
【0094】
【実施例2】
本発明の実施例2として、図8に示す構成の太陽電池を作製した。以下、本明細書において、図1、3に示す実施例1と同一構成部は、実施例1と同一参照番号を使用する。
【0095】
実施例2の太陽電池は、実施例1と同様に、太陽電池素子100と集光反射素子200を備える。この太陽電池素子100は、基板1と光電変換層2とからなり、集光反射素子200は、集光曲面群の一例としてのシリンドリカル状集光曲面群4を片側に有する透明板からなる集光素子3と、光透過孔群の一例としての直線状スリット群6を有する反射層5とからなる。上記集光反射素子200と太陽電池素子100との間には、スペーサとしての透明板16を設けている。
【0096】
上記構成において、上記集光反射素子200の集光素子3のシリンドリカル状集光曲面群4から入射した光7は、直線状スリット群6に集光されて、透明板16を透過し、太陽電池素子100へと入射する。一方、上記太陽電池素子100からの反射光は、集光反射素子200の反射層5により反射されて、再度太陽電池素子100へと再入射することにより、上記反射層5と太陽電池素子100との間で、入射光7の多重反射が実現して、発電効率が高くなる。
【0097】
実施例1のうち、集光反射素子200と太陽電池素子100とを直接紫外線硬化樹脂で固定した場合、紫外線硬化樹脂の厚さを少なくとも5mm以上まで厚くする必要があるため、紫外線硬化樹脂を硬化するために長い時間を必要としたが、実施例2においては、スペーサとしての透明板16の板厚を調整することにより、集光反射素子200と太陽電池素子100との間隔を容易に制御することが可能となり、紫外線硬化樹脂の層厚を薄くすることができる。
【0098】
上記透明板16として板厚9mmのポリカーボネート板を採用し、集光反射素子200と透明板16との間と、太陽電池素子100と透明板16との間とに、それぞれ、50μm厚の紫外線硬化樹脂層を形成して、集光反射素子200と透明板16と太陽電池素子100とを接着固定して、太陽電池を作製した。この実施例2の太陽電池について、実施例1と同様な発電効率の調査を行った結果、実施例1とほぼ同様な開放電圧と短絡電流が得られて、実施例2の構成においても、太陽電池の発電効率を高くすることができることが分かった。
【0099】
次に、上記透明板16として、粒径5μmのYS:Eu,Mg,Tiの蛍光粒子を、15体積%含有させた透明板を用いた太陽電池を作製した。この蛍光粒子は、光電変換に利用されない波長400nm近傍の光を、光電変換に利用される波長600nm近傍の光に変換し、さらに、蛍光粒子から発生する波長600nm近傍の光が、集光反射素子200と太陽電池素子100との間で多重反射することにより、さらに、太陽電池の発電効率を高くすることができた。
【0100】
蛍光粒子を含有しない透明板16を用いた太陽電池と、蛍光粒子を含有した透明板16を用いた太陽電池に対して、太陽光シミュレーター(100mW/cm)により、入射角Q=0°の光を入射させ、両者の開放電圧Vと短絡電流Iを比較した結果、蛍光粒子を含有した透明基板16を用いることにより、開放電圧Vが20%大きくなり、短絡電流Iが16%大きくなることが確認された。
【0101】
次に、上記集光反射素子200と透明基板16と太陽電池素子100とを接着して固定するための紫外線硬化樹脂に、粒径5μmのYS:Eu,Mg,Tiの蛍光粒子を、10体積%含有させた実施例2の構成の太陽電池を作製した。
【0102】
蛍光粒子を含有しない紫外線硬化樹脂を用いて、集光反射素子200と透明板16と太陽電池素子100とを接着して固定した太陽電池と、上記蛍光粒子を含有した紫外線硬化樹脂を用いて、集光反射素子200と透明板16と太陽電池素子100とを接着して固定した太陽電池とに対して、太陽光シミュレーター(100mW/cm)により、入射角Q=0°の光を入射させ、両者の開放電圧Vと短絡電流Iを比較した結果、紫外線硬化樹脂に蛍光粒子を含有させることにより、開放電圧Vが8%大きくなり、短絡電流Iが6%大きくなることが確認された。
【0103】
ここでは、上記透明板16と紫外線硬化樹脂とのうちの一方に対して、蛍光粒子を含有させた構成について調査したが、上記透明板16と紫外線硬化樹脂との両方に蛍光粒子を含有させた場合においても、同様に開放電圧Vと短絡電流Iを大きくすることができる。
【0104】
【実施例3】
本発明の実施例3の太陽電池は、図9に示すように、集光素子3と、太陽電池素子100と、この集光素子3と太陽電池素子100との間に配置された反射素子250とからなる。この太陽電池素子100は、実施例1及び2の太陽電池素子100と全く同じ構成を有する。
【0105】
上記集光素子3は、透明板の一面に、例えばシリンドリカル状集光曲面群等からなる集光曲面群4を形成してなる。上記反射素子250は、透明基板17と反射層8とからなる。この反射層8は、透明基板17の集光素子3側の面に設けられると共に、例えば直線状スリット群等からなる光透過孔群6を有する。
【0106】
上記反射素子250の透明基板17としては、板厚10mmのポリカーボネート板を採用した。この場合、集光素子3の集光曲面群4から入射した光は、反射素子250の透明基板17上に形成された光透過孔群6に集光されて、透明基板17を透過し、太陽電池素子100へと入射し、太陽電池素子100からの反射光は、反射素子250の反射層5により反射されて、再度、太陽電池素子100へと再入射する。この場合も、実施例1と同様に、集光曲面群4と光透過孔群6を有する反射層5との距離を最適化することにより、実施例1と同様な、開放電圧Vと短絡電流Iを得ることができた。
【0107】
また、実施例1及び実施例2においては、集光反射素子200は、一面に集光曲面群4を形成してなる透明板からなる集光素子3と、この集光素子3の他面に設けられると共に光透過孔群6を有する反射層5とからなっている。この場合、上記反射層5の形成時や、光透過孔群6のパターニング時に、集光素子3を固定することにより、集光曲面群4に傷等の欠損が発生して、集光効率が低下する原因となっていた。しかし、実施例3に示すように、一面に集光曲面群4を有する透明板からなる集光素子3と、透明基板17の一面に光透過孔群6を有する反射層5を設けてなる反射素子250とを別々に作製することにより、集光曲面群4に傷等の欠損が発生する確立が低下し、再現性良く発電効率の高い太陽電池を作製することができる。
【0108】
次に、上記反射素子250の透明基板17として、粒径5μmのYS:Eu,Mg,Tiの蛍光粒子を、15体積%含有させた透明基板17を有する反射素子250を用いて太陽電池を作製した。この蛍光粒子は、光電変換に利用されない波長400nm近傍の光を、光電変換に利用される波長600nm近傍の光に変換し、さらに、蛍光粒子から発生する波長600nm近傍の光が、反射素子250と太陽電池素子100との間で多重反射することにより、太陽電池の発電効率を高くすることができる。
【0109】
蛍光粒子を含有しない透明基板17を用いた太陽電池と、蛍光粒子を含有した透明基板17を用いた太陽電池に対して、太陽光シミュレーター(100mW/cm2)により、入射角Q=0°の光を入射させ、両者の開放電圧Vと短絡電流Iを比較した結果、蛍光粒子を含有した透明基板17を用いることにより、開放電圧Vが19%大きくなり、短絡電流Iが15%大きくなることが確認された。
【0110】
次に、上記反射素子250の透明基板17と、太陽電池素子100とを、粒径5μmのY2O2S:Eu,Mg,Tiの蛍光粒子を10体積%含有した紫外線硬化樹脂で接着固定して太陽電池を作製した。ここで、上記集光素子3と、反射素子250の透明基板17とを接着固定する紫外線硬化樹脂は、光透過孔6よりも光入射側に存在するため、蛍光粒子を含有しない紫外線硬化樹脂を用いる必要がある。もし、上記集光素子3と反射素子250の透明基板17とを接着固定する紫外線硬化樹脂に蛍光粒子を含有させたとすると、入射光が蛍光粒子に散乱されて、光透過孔6への集光効率が低下することになるからである。
【0111】
蛍光粒子を含有しない紫外線硬化樹脂を用いて、反射素子250の透明基板17と太陽電池素子100とを接着固定した太陽電池と、蛍光粒子を含有した紫外線硬化樹脂を用いて、反射素子250の透明基板17と太陽電池素子100とを接着固定した太陽電池とに対して、太陽光シミュレーター(100mW/cm2)により、入射角Q=0°の光を入射させ、両者の開放電圧Vと短絡電流Iを比較した結果、紫外線硬化樹脂に蛍光粒子を含有させることにより、開放電圧Vが8%大きくなり、短絡電流Iが6%大きくなることが確認された。
【0112】
ここでは、反射素子250の透明基板17と、接着固定用の紫外線硬化樹脂とに対して、独立に蛍光粒子を含有させた構成について調査したが、上記透明基板17と紫外線硬化樹脂の両方に蛍光粒子を含有させた場合においても、同様に開放電圧Vと短絡電流Iを大きくすることが可能である。
【0113】
実施例1から実施例3に記載の太陽電池においては、ステンレス基板1上に、電極金属層8、多結晶Si半導体層9、多結晶Si半導体層10、多結晶Si半導体層11、くし型集電電極12、導電性透明膜13を形成した多結晶Si太陽電池を用いたが、これに限られるものではない。太陽電池素子として、図17に示す非晶質Si太陽電池素子を用いることも可能であり、また、さらに発電効率を上げるため、図16に示す多結晶半導体で構成したpn接合と、図17に示す非晶質半導体で構成したpin接合とを積層したタンデム構造太陽電池素子を用いることも可能である。
【0114】
また、実施例1から実施例3に記載の太陽電池においては、集光素子3として、射出成形法により作製したポリカーボネート製の透明板3を用いたが、これに限られるものではない。その他の樹脂材料として、スチレン系透明樹脂、オレフィン系透明樹脂、エチレン系透明樹脂、アクリル系透明樹脂等を用いることが可能であり、また、作製方法も射出成形法に限られるものでなく、キャスティング法や熱間成形法等を用いることが可能である。さらに、集光素子3として、モールド法により作製したガラス製の透明板3を用いることが可能である。透明板3をガラス製とすることにより、耐環境性が著しく改善され、長期使用に対しても安定して高い発電効率を維持することが可能である。
【0115】
また、実施例1から実施例3に記載の太陽電池においては、蛍光粒子として、粒径5μmのY2O2S:Eu,Mg,Tiの蛍光粒子を用いたが、これに限られるものではない。例えば、蛍光粒子として、粒径2〜20μmのY2O2S:Eu,Mg,Tiの性蛍光粒子を使用することにより、200〜450nmの波長の光を吸収し、625nmの波長の光を放射させることが可能である。また、Er3+イオンを含有した酸化フッ化物系結晶化ガラスを用いることにより、800nm近傍の波長の光を吸収し、550〜660nmの波長の光を放射させることが可能である。これら以外の蛍光材料として、酸化ストロンチウムと酸化アルミニウムからなる化合物に希土類元素のユウロピウム(Eu)とジスプロシウム(Dy)を添加したSrAl2O4:Eu,Dyや、Sr4Al14O25:Eu,Dyや、CaAl2O4:Eu,Dyや、ZnS:Cu等の蛍光材料を用いることも可能である。
【0116】
また、シアニン系色素、ピリジン系色素、ローダミン系色素等の有機色素を含有させることによっても、同様に、短波長の光を長波長の光に変換することが可能であり、発電効率を高くすることが可能である。
【0117】
また、実施例2及び実施例3に記載の太陽電池においては、スペーサとしての透明板16及び反射素子250の透明基板17として、ポリカーボネート板を用いたが、これに限られるものではない。透明板16及び透明基板17として、スチレン系透明樹脂、オレフィン系透明樹脂、エチレン系透明樹脂、アクリル系透明樹脂からなるプラスチック板を用いることが可能である。また、上記透明板16及び透明基板17として、ガラス板を用いることにより、耐環境性が著しく改善され、長期使用に対しても安定して高い発電効率を維持することが可能である。
【0118】
【実施例4】
本発明の実施例4として、図10に示す構成の太陽電池を作製した。
【0119】
この太陽電池は、実施例1及び2と全く同様に、集光曲面群の一例としてのシリンドリカル状集光曲面群4を有する集光素子3と、光透過孔群の一例としての直線状スリット群6を有する反射層5とからなる集光反射素子200を備える。この太陽電池は、太陽電池素子110の構成が、実施例1及び2の太陽電池素子100と異なる。上記太陽電池素子110は、太陽電池素子用の透明基板18と、上記集光反射素子200と反対側の上記透明基板18の面上に設けられた光電変換層19とからなる。
上記集光反射素子200の集光素子3のシリンドリカル状集光曲面群4から入射した光7は、反射層5の直線状スリット群6に集光されて、太陽電池素子110の透明基板18を透過して、光電変換層19へと入射する。一方、上記光電変換層19からの反射光は、反射層5により反射され、再度、光電変換層19へと再入射する。このように、反射層5と太陽電池素子110との間で多重反射が行われるので、光電変換層19での発電効率を高くすることができる。
【0120】
実施例4の太陽電池素子110は、図11に示すような構成であり、次のようにして作製した。
【0121】
太陽電池素子用の透明ガラス基板18上に、膜厚30nmのSnO2透明導電層20を反応性スパッタリングにより形成した後、図示しない遮蔽マスクを透明ガラス基板18上の透明導電層20表面に装着した状態で、AlTi合金ターゲットを用いたスパッタリングにより、膜厚100nmのAl0.95Ti0.05からなる、幅0.1mm、間隔5mmのくし型集電電極21を形成した。
【0122】
次に、このくし型集電電極21及び透明導電層20上に、p型不純物ドープ半導体層であるp層22、真性半導体であるi層23、n型不純物ドープ層であるn層24をこの順でプラズマCVD装置による気相成長法で積層した。上記半導体層22,23,24は、それぞれ、SiH4ガス・H2ガス・CH4ガス・B2H6ガスの混合ガスを用いて気相成長した膜厚15nmのa−SiC:Hのp層22、SiH4ガス・H2ガスの混合ガスを用いて気相成長した膜厚100nmのa−Si:Hのi層23、SiH4ガス・H2ガス・PH3ガスの混合ガスを用いて気相成長した膜厚15nmのa−Si:Hのn層24とした。
【0123】
このようにして、上記p層22、i層23、n層23(光電変換に寄与する)を形成した後、膜厚100nmのAlからなる光反射効果を有する電極金属層25をスパッタリングにより形成し、この電極金属層25上に紫外線硬化樹脂を塗布して、電極金属層25の保護膜26とした。
【0124】
上記集光素子3と太陽電池素子110とを、実施例1と同様に、紫外線硬化樹脂を用いて接着固定して実施例4の太陽電池とした。
【0125】
実施例4の集光素子3及び太陽電池素子110を有する太陽電池と、上記集光素子3を取り外した上記太陽電池素子110のみの太陽電池(比較例4)との発電効率を実施例1と同様にして比較した。すなわち、実施例4の集光素子3の厚さdを変えた場合において、光の入射角Qとともに発電効率がどのように変化するかを調べた。図12は、比較例4の太陽電池の開放電圧Vと短絡電流Iとを、それぞれ、100%として、実施例4の太陽電池の開放電圧Vと短絡電流Iとをパーセントで示している。
【0126】
実施例4の集光素子3は、実施例1の集光素子3と同じものであり、実施例4の太陽電池においても実施例1の太陽電池と同様な結果が得られた。
【0127】
すなわち、上記集光素子3のシリンドリカル状集光曲面群4の焦点距離をFとして、シリンドリカル状集光曲面群4の頂点から直線状スリット群6までの距離dを、少なくとも、(F/2)以上、(6F/7)以下とすることにより、集光素子3による発電効率の向上が実現し、上記距離dを(9F/14)以上、(11F/14)以下とすることにより、さらに高い発電効率が得られた。また、上記シリンドリカル状集光曲面群4の幅をWとして、直線状スリット群4のスリット幅WSを(W/8)以上、(2W/3)以下とすることにより、集光曲面群4からの光を効率良く直線状スリット群4に集光することが可能となる。
【0128】
また、実施例1と同様に、蛍光性微粒子が分散した紫外線硬化樹脂を用いて、集光素子3と太陽電池素子110とを接着して固定することにより、さらに発電効率を高くすることが可能となる。粒径5μmのY2O2S:Eu,Mg,Tiの蛍光粒子を10体積%含有した5mm厚の紫外線硬化樹脂を用いて、集光素子3と太陽電池素子とを接着固定して太陽電池を作製した。蛍光粒子を含有しない紫外線硬化樹脂を用いて、集光素子3と太陽電池素子110とを接着固定した太陽電池と、蛍光粒子を含有した紫外線硬化樹脂を用いて、集光素子3と太陽電池素子110とを接着固定した太陽電池とに対して、太陽光シミュレーター(100mW/cm2)により、入射角Q=0°の光を入射させ、両者の開放電圧Vと短絡電流Iを比較した結果、蛍光粒子を含有させることにより、開放電圧Vが14%大きくなり、短絡電流Iが11%大きくなることが確認された。
【0129】
また、実施例4においては、太陽電池素子用の透明基板18として、蛍光材料を含有した蛍光ガラスを用いることによっても、同様に発電効率を改善することが可能である。
【0130】
図10に示す実施例4の太陽電池において、太陽電池素子110用の透明基板18として、粒径5μmのY2O2S:Eu,Mg,Tiの蛍光粒子を、15体積%含有したガラス基板を用いて太陽電池を作製した。この蛍光粒子は、光電変換に利用されない波長400nm近傍の光を、光電変換に利用される波長600nm近傍の光に変換し、さらに、蛍光粒子から発生する波長600nm近傍の光が、集光素子3と太陽電池素子110との間で多重反射することにより、太陽電池の発電効率をさらに高くすることが可能となる。
【0131】
蛍光粒子を含有しない太陽電池素子110用の透明基板18を用いた太陽電池と、蛍光粒子を含有した太陽電池素子110用の透明基板18を用いた太陽電池とに対して、太陽光シミュレーター(100mW/cm2)により、入射角Q=0°の光を入射させ、両者の開放電圧Vと短絡電流Iを比較した結果、蛍光粒子を含有した太陽電池素子110用の透明基板18を用いることにより、開放電圧Vが19%大きくなり、短絡電流Iが14%大きくなることが確認された。
【0132】
次に、粒径5μmのY2O2S:Eu,Mg,Tiの蛍光粒子を、10体積%含有した紫外線硬化樹脂を用いて、集光反射素子200と太陽電池素子110とを接着固定して、実施例4の構成の太陽電池を作製した。
【0133】
蛍光粒子を含有しない紫外線硬化樹脂を用いて、集光反射素子200と太陽電池素子110とを接着固定した太陽電池と、蛍光粒子を含有した紫外線硬化樹脂を用いて、集光反射素子200と太陽電池素子110とを接着固定した太陽電池とに対して、太陽光シミュレーター(100mW/cm2)により、入射角Q=0°の光を入射させ、両者の開放電圧Vと短絡電流Iを比較した結果、紫外線硬化樹脂に蛍光粒子を含有させることにより、開放電圧Vが9%大きくなり、短絡電流Iが8%大きくなることが確認された。
【0134】
ここでは、太陽電池素子110用の透明基板18と紫外線硬化樹脂との一方に対して、蛍光粒子を含有させた構成について調査したが、透明基板18と紫外線硬化樹脂との両方に蛍光粒子を含有させた場合においても、同様に開放電圧Vと短絡電流Iを大きくすることが可能である。
【0135】
【実施例5】
本発明の実施例5として、図13に示す構成の太陽電池を作製した。
【0136】
実施例5の太陽電池は、太陽電池素子110と、集光素子3と、光透過孔6を有する反射層5とからなる。上記太陽電池素子110は、透明基板18と、この透明基板18の集光素子3側と反対側の面上に設けられた光電変換層19とからなる。上記反射層5は、太陽電池素子110の透明基板18の集光素子3に面する側に設けている。
【0137】
上記構成において、上記集光素子3の集光曲面群4から入射した光7は、集光されて、反射層5の光透過孔群6を通過して、太陽電池素子120の透明基板18を透過して、光電変換層19へと入射する。一方、上記光電変換層19からの反射光は、反射層5により反射されて、再度、光電変換層19へと再入射する。入射光7が、反射層5と光電変換層19との間で多重反射することにより、太陽電池の発電効率を高くすることができる。
【0138】
図10に示す実施例4の太陽電池は、光透過孔群6を有する反射層5を集光素子3の一面に設けていたが、図10に示す実施例5の太陽電池は、光透過孔群6を有する反射層5を太陽電池素子110の透明基板18に設けている。実施例5と実施例4とでは、この相違点が存在しているが、基本的な構成は、実施例5は実施例4と同様である。実施例5の集光素子3と太陽電池素子110とを紫外線硬化樹脂により接着固定して、実施例4と同様にして、開放電圧Vと短絡電流Iを調べた結果、実施例4とほぼ同じ結果が得られて、実施例5においても発電効率を高くすることができることを確認した。
【0139】
実施例5の太陽電池においても、太陽電池素子110用の透明基板18として、蛍光材料を含有した蛍光ガラスを用いることにより、実施例4と同様に発電効率を改善することが可能である。
【0140】
【実施例6】
本発明の実施例6として、図14に示す構成の太陽電池を作製した。
【0141】
実施例6の太陽電池は、実施例3と同じ構成の集光素子3及び反射素子250と、実施例4と同じ構成の太陽電池素子110とを備える。
【0142】
上記構成において、上記集光素子3の集光曲面群4に入射した光7は集光されて、反射素子250の反射層5の光透過孔群6を透過し、さらに、透明基板27と太陽電池素子110の透明基板18を透過して、光電変換層19へと入射し、光電変換層19からの反射光は、反射層5により反射されて、再度、光電変換層19へと再入射する。
【0143】
このように、入射光7が、反射素子250の反射層5と太陽電池素子110の光電変換層19との間で多重反射することにより、実施例3や実施例4と同様に、太陽電池の発電効率を高くすることができる。
【0144】
実施例6においては、集光曲面群4が形成された透明板からなる集光素子3と、光透過孔群6を有する反射層5及び透明基板17からなる反射素子250と、透明基板18及び光電変換層19からなる太陽電池素子110とを、それぞれ、別々に形成した後、それらを透明接着剤等で接着固定して、太陽電池を製作できるため、太陽電池の形成プロセスの歩留まりを上げることができる。すなわち、実施例4のように、集光曲面群4が形成された集光素子3の平坦な一方の面に、光透過孔群6を有する反射層5を一体的に設けた集光反射素子200を形成する必要がなくなるため、集光曲面群4の損傷による集光効率の低下といった問題を抑制することができる。
【0145】
実施例6の太陽電池においては、上記反射素子250の透明基板17または太陽電池素子110の透明基板18として、蛍光材料を含有した蛍光ガラスを用いることにより、実施例4と同様に発電効率を改善することが可能である。また、上記反射素子250の透明基板17と太陽電池素子110の透明基板18とを接着固定する紫外線硬化樹脂に蛍光粒子を含有させることによっても、実施例4と同様に発電効率を改善することが可能である。
【0146】
【実施例7】
実施例7の太陽電池を図15に示す。この実施例7の太陽電池では、反射素子260において、透過孔6を有する反射層5を透明基板17の下面に設けていて、図14に示す実施例6の反射素子250とは、反射層5と透明基板17との上下関係が逆になっている。実施例7の他の構成は、実施例6と基本的には同じである。もっとも、実施例7の集光素子3の厚さは、実施例6の集光素子3の厚さよりも薄くて、実施例6及び7の集光素子3の頂点と反射層5の光透過孔群6との間の距離は、略同じにしている。
【0147】
上記構成において、集光素子3の集光曲面群4から入射した光7は、集光素子3と反射素子260の透明基板17とを通過して反射層5の光透過孔群6に集光されて、太陽電池素子110の透明基板18を透過して、光電変換層19へと入射し、光電変換層19からの反射光は、反射層5により反射されて、再度、光電変換層19へと再入射する。
【0148】
このように、入射光7は、反射層5と光電変換層19との間で多重反射するので、実施例6と同様に、太陽電池の発電効率を高くすることが可能となる。
【0149】
この場合、太陽電池素子110の透明基板18として、蛍光材料を含有した蛍光ガラスを用いることにより、実施例4と同様に発電効率を改善することが可能である。また、上記反射素子260の透明基板17と太陽電池素子110の透明基板18とを接着固定する紫外線硬化樹脂に蛍光粒子を含有させることによっても、実施例4と同様に発電効率を改善することが可能である。
【0150】
上記実施例1〜7において、集光素子3の集光曲面群4の頂点と光透過孔群4との間の距離と、上記集光素子3の焦点距離との関係は、略同じである。
【0151】
上記実施例1〜7においては、集光曲面群としてシリンドリカル状集光曲面群4を使用し、光透過孔群として直線状スリット群6を使用したが、集光曲面群は、球面状集光曲面群や楕円回転体面状集光曲面群等であってもよく、光透過孔群は、円孔群や楕円孔群等であってもよい。
【0152】
【発明の効果】
以上より明らかなように、本発明の太陽電池によれば、集光素子により集光された光が、反射層の直線状スリット群からなる光透過孔群から太陽電池素子に入射して、この太陽電池素子と反射層との間で多重反射する点と、上記光透過孔群を一度通過した光を反射層で逃がさないで有効に利用できる点と、上記反射層の光透過孔群が、シリンドリカル状集光曲面群からなる集光曲面群の各集光曲面が形成するレンズの焦点と上記集光曲面群との間に位置しているおり、上記シリンドリカル状集光曲面群の各シリンドリカル状集光曲面が形成するレンズの焦点距離をFとし、上記シリンドリカル状集光曲面群の頂点を通る平面と上記反射層との間の距離をdとすると、(F/2)≦ d ≦(6F/7)であり、上記シリンドリカル状集光曲面群の各シリンドリカル状集光曲面の幅をWとし、上記直線状スリット群の各直線状スリットの幅をWSとすると、(W/8)≦ WS ≦(2W/3)であることにより、光の入射角が広い範囲に亘って変化しても、この光透過孔を通過する光量を減少しないようにすることが可能である点との相乗効果によって、光電変換層に照射される光量を著しく増大して、発電効率を極めて高くすることができる。
【0153】
また、本発明の太陽電池の設置方法によれば、シリンドリカル状集光曲面の長軸方向が、東西方向と一致するように、設置するので、太陽光が傾いて入射する時間帯においても、上記シリンドリカル状集光曲面群から、効率良く、反射層の直線状スリット群へと光が集光して、太陽電池素子の光電変換層に照射される光量を増大して、発電効率を高くすることができる。
【図面の簡単な説明】
【図1】 本発明の実施の形態及び実施例1の太陽電池の断面斜視図である。
【図2】 上記実施の形態及び実施例1の太陽電池の太陽電池素子の断面図である。
【図3】 上記実施の形態の太陽電池の設置方法を説明する図面である。
【図4】 上記実施の形態の太陽電池の設置方法を説明する図面である。
【図5】 上記実施の形態の太陽電池の集光状態を計算した結果を表す図である。
【図6】 本発明の実施例1においてシリンドリカル状集光曲面群の頂点と直線状スリット群との間の距離及び光の入射角に対する開放電圧及び短絡電流を示す図である。
【図7】 本発明の実施例1において直線状スリット群の幅及び光の入射角に対する開放電圧及び短絡電流を示す図である。
【図8】 本発明の実施例2の太陽電池の断面斜視図である。
【図9】 本発明の実施例3の太陽電池の断面斜視図である。
【図10】 本発明の実施例4の太陽電池の断面斜視図である。
【図11】 本発明の実施例4の太陽電池に用いる太陽電池素子の断面図である。
【図12】 本発明の実施例4においてシリンドリカル状集光曲面群の頂点と直線状スリット群との間の距離及び光の入射角に対する開放電圧及び短絡電流を示す図である。
【図13】 本発明の実施例5の太陽電池の断面斜視図である。
【図14】 本発明の実施例6の太陽電池の断面斜視図である。
【図15】 本発明の実施例7の太陽電池の断面斜視図である。
【図16】 従来の太陽電池素子の断面図である。
【図17】 従来の太陽電池素子の断面図である。
【図18】 従来の太陽電池素子の断面図である。
【符号の説明】
1 基板
2,19 光電変換層
3 集光素子
4 シリンドリカル状集光曲面群
5 反射層
6 直線状スリット群
7 入射光
14 縦方向
15 横方向
16 透明板
17,27 透明基板
18 太陽電池素子用の透明基板
19 光電変換層
100,110 太陽電池素子
200 集光反射素子
250,260 反射素子

Claims (24)

  1. 光電変換層を有する太陽電池素子と、
    シリンドリカル状集光曲面群からなる集光曲面群を有する集光素子と、
    この集光素子によって集光された光が透過する直線状スリット群からなる光透過孔群を有すると共に、上記集光素子と太陽電池素子との間に位置する反射層と
    を備え、
    上記反射層の光透過孔群は、上記集光曲面群の各集光曲面が形成するレンズの焦点と、上記集光曲面群との間に位置しており、
    上記シリンドリカル状集光曲面群の各シリンドリカル状集光曲面が形成するレンズの焦点距離をFとし、上記シリンドリカル状集光曲面群の頂点を通る平面と上記反射層との間の距離をdとすると、
    (F/2)≦ d ≦(6F/7)
    であり、
    上記シリンドリカル状集光曲面群の各シリンドリカル状集光曲面の幅をWとし、上記直線状スリット群の各直線状スリットの幅をWSとすると、
    (W/8)≦ WS ≦(2W/3)
    であることを特徴とする太陽電池。
  2. 請求項に記載の太陽電池において、
    上記集光素子において上記集光曲面群と対向する面に、上記反射層が設けられて、上記集光素子と上記反射層とによって集光反射素子が構成されていることを特徴とする太陽電池。
  3. 請求項に記載の太陽電池において、
    上記集光曲面群に入射した光が、上記集光素子によって集光されて上記反射層の上記光透過孔群を通過して、上記太陽電池素子に入射し、この太陽電池素子からの反射光が、上記反射層により反射されて、上記太陽電池素子に再入射するように、上記集光反射素子と上記太陽電池素子とが固定されていることを特徴とする太陽電池。
  4. 請求項に記載の太陽電池において、
    上記集光反射素子と上記太陽電池素子とが、透明接着剤により固定されていることを特徴とする太陽電池。
  5. 請求項に記載の太陽電池において、
    上記集光反射素子と上記太陽電池素子との間に、透明板が設けられていることを特徴とする太陽電池。
  6. 請求項に記載の太陽電池において、
    上記集光曲面群に入射した光が、上記集光素子によって集光されて上記反射層の上記光透過孔群を通過して、上記透明板を透過した後、上記太陽電池素子に入射し、この太陽電池素子からの反射光が、上記反射層により反射されて、上記太陽電池素子に再入射するように、上記集光反射素子と上記透明板と上記太陽電池素子とが固定されていることを特徴とする太陽電池。
  7. 請求項に記載の太陽電池において、
    上記集光反射素子と上記透明板と上記太陽電池素子とが、透明接着剤により固定されていることを特徴とする太陽電池。
  8. 請求項乃至のいずれか1つに記載の太陽電池において、
    上記透明板が、蛍光特性を有する透明板であることを特徴とする太陽電池。
  9. 請求項に記載の太陽電池において、
    上記集光素子と上記太陽電池素子との間に、上記光透過孔群を有する上記反射層と透明基板とからなる反射素子が設けられていることを特徴とする太陽電池。
  10. 請求項に記載の太陽電池において、
    上記集光曲面群に入射した光が、上記集光素子によって集光されて上記反射素子の上記反射層の上記光透過孔群を通過して、上記太陽電池素子に入射し、この太陽電池素子からの反射光が、上記反射層により反射されて、上記太陽電池素子に再入射するように、上記集光素子と上記反射素子と上記太陽電池素子とが固定されていることを特徴とする太陽電池。
  11. 請求項10に記載の太陽電池において、
    上記集光素子と上記反射素子と上記太陽電池素子とが、透明接着剤により固定されていることを特徴とする太陽電池。
  12. 請求項10に記載の太陽電池において、
    上記反射素子の上記反射層が上記集光素子に面する一方、上記反射素子の上記透明基板が上記太陽電池素子に面していることを特徴とする太陽電池。
  13. 請求項12に記載の太陽電池において、
    上記反射素子の上記透明基板が、蛍光特性を有する透明基板であることを特徴とする太陽電池。
  14. 請求項12に記載の太陽電池において、
    上記反射素子と上記太陽電池素子とを、蛍光特性を有する透明接着剤によって接着固定していることを特徴とする太陽電池。
  15. 請求項10に記載の太陽電池において、
    上記反射素子の上記透明基板が上記集光素子に面する一方、上記反射素子の上記反射層が上記太陽電池素子に面していることを特徴とする太陽電池。
  16. 請求項またはに記載の太陽電池において、
    上記太陽電池素子は、上記光電変換層と太陽電池素子用の基板とからなり、上記光電変換層は、上記太陽電池素子用の上記基板の上記集光素子側の面に設けられていることを特徴とする太陽電池。
  17. 請求項またはに記載の太陽電池において、
    上記太陽電池素子は、上記光電変換層と太陽電池素子用の透明基板とからなり、
    上記光電変換層は、上記太陽電池素子用の上記透明基板の上記集光素子側の面と反対側の面に設けられていることを特徴とする太陽電池。
  18. 請求項17に記載の太陽電池において、
    上記透明基板が、蛍光特性を有する透明基板であることを特徴とする太陽電池。
  19. 請求項1に記載の太陽電池において、
    上記太陽電池素子は、上記光電変換層と太陽電池素子用の透明基板とからなり、
    上記光電変換層は、上記太陽電池素子用の上記透明基板の上記集光素子側の面と反対側の面に設けられており、
    上記太陽電池素子用の上記透明基板の上記集光素子側の面に、上記光透過孔群を有する上記反射層が設けられていることを特徴とする太陽電池。
  20. 請求項19に記載の太陽電池において、
    上記集光曲面群に入射した光が、上記集光素子によって集光されて、上記太陽電池素子に設けられた上記反射層の上記光透過孔群を通過して、上記太陽電池素子に入射し、上記太陽電池素子用の上記透明基板を透過した後、上記光電変換層に入射し、上記光電変換層からの反射光が、上記反射層により反射されて、上記光電変換層に再入射するように、上記集光素子と上記反射層と上記太陽電池素子とが固定されていることを特徴とする太陽電池。
  21. 請求項20に記載の太陽電池において、
    上記集光素子と上記太陽電池素子とが、透明接着剤により固定されていることを特徴とする太陽電池。
  22. 請求項21に記載の太陽電池において、
    上記太陽電池素子用の上記透明基板が、蛍光特性を有する透明基板であることを特徴とする太陽電池。
  23. 請求項またはに記載の太陽電池において、
    上記透明接着剤が蛍光特性を有することを特徴とする太陽電池。
  24. 請求項1に記載の太陽電池を、上記シリンドリカル状集光曲面の長軸方向が、東西方向と一致するように、設置することを特徴とする太陽電池の設置方法。
JP2003003294A 2003-01-09 2003-01-09 太陽電池及びその設置方法 Expired - Fee Related JP4438293B2 (ja)

Priority Applications (1)

Application Number Priority Date Filing Date Title
JP2003003294A JP4438293B2 (ja) 2003-01-09 2003-01-09 太陽電池及びその設置方法

Applications Claiming Priority (1)

Application Number Priority Date Filing Date Title
JP2003003294A JP4438293B2 (ja) 2003-01-09 2003-01-09 太陽電池及びその設置方法

Publications (2)

Publication Number Publication Date
JP2004221119A JP2004221119A (ja) 2004-08-05
JP4438293B2 true JP4438293B2 (ja) 2010-03-24

Family

ID=32894600

Family Applications (1)

Application Number Title Priority Date Filing Date
JP2003003294A Expired - Fee Related JP4438293B2 (ja) 2003-01-09 2003-01-09 太陽電池及びその設置方法

Country Status (1)

Country Link
JP (1) JP4438293B2 (ja)

Families Citing this family (13)

* Cited by examiner, † Cited by third party
Publication number Priority date Publication date Assignee Title
JP4693793B2 (ja) * 2007-01-31 2011-06-01 シャープ株式会社 太陽電池、集光型太陽光発電モジュール、集光型太陽光発電ユニット、および太陽電池製造方法
EP2073279A1 (en) * 2006-09-28 2009-06-24 Sharp Kabushiki Kaisha Solar cell, light concentrating photovoltaic power generation module, light concentrating photovoltaic power generation unit, solar cell manufacturing method and solar cell manufacturing apparatus
CN101971358A (zh) * 2008-04-25 2011-02-09 株式会社爱发科 太阳能电池的制造方法、太阳能电池的制造装置以及太阳能电池
US8735791B2 (en) 2010-07-13 2014-05-27 Svv Technology Innovations, Inc. Light harvesting system employing microstructures for efficient light trapping
KR101130418B1 (ko) 2010-11-12 2012-03-27 한국광기술원 렌즈를 구비하는 태양전지 모듈 및 그의 제조방법
JP5734803B2 (ja) * 2011-10-05 2015-06-17 住友重機械工業株式会社 太陽集光システム及び太陽熱発電システム
JP5422082B2 (ja) * 2011-12-14 2014-02-19 パナソニック株式会社 太陽電池及びその製造方法
EP2827382B1 (en) * 2012-05-28 2019-04-17 Panasonic Intellectual Property Management Co., Ltd. Solar cell and method for manufacturing same
JP6046014B2 (ja) * 2013-09-24 2016-12-14 株式会社東芝 太陽電池及び太陽電池モジュール
US10790406B2 (en) 2014-04-07 2020-09-29 Solaero Technologies Corp. Parallel interconnection of neighboring space-qualified solar cells via a common back plane
KR102506156B1 (ko) * 2020-11-13 2023-03-06 한국광기술원 구멍을 포함하는 태양전지 모듈 및 그를 제조하는 방법
TWI795154B (zh) * 2021-12-30 2023-03-01 財團法人工業技術研究院 光電轉換化合物及包括其之光電轉換組成物
US12006460B2 (en) 2021-12-30 2024-06-11 Industrial Technology Research Institute Photoelectric conversion compound and photoelectric conversion composition including the same

Also Published As

Publication number Publication date
JP2004221119A (ja) 2004-08-05

Similar Documents

Publication Publication Date Title
US20080264486A1 (en) Guided-wave photovoltaic devices
US8895350B2 (en) Methods for forming nanostructures and photovoltaic cells implementing same
US20100313935A1 (en) Photovoltaic modules and methods for manufacturing photovoltaic modules having tandem semiconductor layer stacks
US20100108133A1 (en) Thin Film Semiconductor Photovoltaic Device
JP4438293B2 (ja) 太陽電池及びその設置方法
US20110162699A1 (en) Solar cell with funnel-like groove structure
WO2005011002A1 (ja) シリコン系薄膜太陽電池
CN102270676A (zh) 串联型薄膜太阳能电池及其设计方法
JPH09162435A (ja) 太陽電池用フィルター
US20100059108A1 (en) Optical system for bifacial solar cell
JP2003101059A (ja) 薄膜太陽電池
JP2004111742A (ja) 太陽電池
JP2004128419A (ja) 太陽電池
JP2003078156A (ja) 薄膜太陽電池及び集光反射素子
JP2004186334A (ja) 太陽電池、および太陽電池用集光素子とその製造方法
JP2003086823A (ja) 薄膜太陽電池
JP2003046103A (ja) 薄膜太陽電池及びその設置方法
US20110259421A1 (en) Photovoltaic module having concentrator
I Kabir et al. A review on progress of amorphous and microcrystalline silicon thin-film solar cells
EP2296183A2 (en) Thin film solar cell and method of manufacturing the same
CN103489930A (zh) 聚光型光电电池
JP2004111453A (ja) 太陽電池
US9947824B1 (en) Solar cell employing nanocrystalline superlattice material and amorphous structure and method of constructing the same
TWI643352B (zh) 光電電池
JP3206341B2 (ja) 太陽電池

Legal Events

Date Code Title Description
A621 Written request for application examination

Free format text: JAPANESE INTERMEDIATE CODE: A621

Effective date: 20050810

A977 Report on retrieval

Free format text: JAPANESE INTERMEDIATE CODE: A971007

Effective date: 20081217

A131 Notification of reasons for refusal

Free format text: JAPANESE INTERMEDIATE CODE: A131

Effective date: 20090106

A521 Request for written amendment filed

Free format text: JAPANESE INTERMEDIATE CODE: A523

Effective date: 20090217

A131 Notification of reasons for refusal

Free format text: JAPANESE INTERMEDIATE CODE: A131

Effective date: 20091013

A521 Request for written amendment filed

Free format text: JAPANESE INTERMEDIATE CODE: A523

Effective date: 20091126

TRDD Decision of grant or rejection written
A01 Written decision to grant a patent or to grant a registration (utility model)

Free format text: JAPANESE INTERMEDIATE CODE: A01

Effective date: 20091222

A01 Written decision to grant a patent or to grant a registration (utility model)

Free format text: JAPANESE INTERMEDIATE CODE: A01

A61 First payment of annual fees (during grant procedure)

Free format text: JAPANESE INTERMEDIATE CODE: A61

Effective date: 20091228

FPAY Renewal fee payment (event date is renewal date of database)

Free format text: PAYMENT UNTIL: 20130115

Year of fee payment: 3

R150 Certificate of patent or registration of utility model

Free format text: JAPANESE INTERMEDIATE CODE: R150

LAPS Cancellation because of no payment of annual fees