JP4423890B2 - 現像装置及び画像形成装置 - Google Patents
現像装置及び画像形成装置 Download PDFInfo
- Publication number
- JP4423890B2 JP4423890B2 JP2003186920A JP2003186920A JP4423890B2 JP 4423890 B2 JP4423890 B2 JP 4423890B2 JP 2003186920 A JP2003186920 A JP 2003186920A JP 2003186920 A JP2003186920 A JP 2003186920A JP 4423890 B2 JP4423890 B2 JP 4423890B2
- Authority
- JP
- Japan
- Prior art keywords
- developer
- transport
- developing device
- toner
- axial direction
- Prior art date
- Legal status (The legal status is an assumption and is not a legal conclusion. Google has not performed a legal analysis and makes no representation as to the accuracy of the status listed.)
- Expired - Fee Related
Links
Images
Landscapes
- Dry Development In Electrophotography (AREA)
- Cleaning In Electrography (AREA)
Description
【発明の属する技術分野】
本発明は2成分現像剤を用いて像担持体上の静電潜像を顕像化する現像装置、及びかかる現像装置を用いた複写機、プリンタ等の画像形成装置に関する。
【0002】
【従来の技術】
従来知られている複写機等の画像形成装置においては、像担持体にレーザー光を照射して形成する画像データに基づいて露光を行って静電潜像を形成し、形成した潜像をトナーにより現像した後、シートに転写し熱定着を行うことによって画像を形成している。画像形成装置の現像は、1成分現像剤またはトナーとキャリアから成る2成分現像剤を用いて像担持体に形成した静電潜像を可視化している。
【0003】
2成分現像剤を用いる場合においては、像担持体の周囲に設けた位置が固定された複数の磁極の外周に回転可能なスリーブを配置した現像剤搬送体により、磁気的に吸着されて現像剤の磁気ブラシが形成されるとともに、スリーブの回転により像担持体に磁気ブラシが搬送される。像担持体に搬送された磁気ブラシは、像担持体上に形成された潜像の電位に応じたトナーを付着させて顕像化する。現像終了後の現像剤は回収され、外部から適宣補給されるトナーとともに再び現像に用いられる。このような構成に用いられる現像剤は、安定したトナー画像を形成するために一定のトナー量(トナー濃度)と潜像の電位に応じて付着するための帯電量を維持する必要がある。トナーの濃度は現像で消費したトナーと補給トナーとの分布、トナーの帯電量はキャリアとトナーとの混合時の摩擦により決定される。そこで、現像器はトナーとキャリアからなる現像剤の撹拌を充分に行って、トナー濃度分布を均一にするとともに、トナーに付与する帯電量を飽和させて、トナー画像の安定化を行っている。
【0004】
トナーの帯電量が不充分の場合には画像上の欠陥が生じるだけではなく、トナー飛散やコボレといった現象により機内を汚染することとなる。この現象はトナーリサイクルシステムを採用している画像形成装置では特に生じ易い。
【0005】
現像装置内において、キャリアとトナーとの攪拌が充分に行われて良好な帯電状態とする方法として、現像剤搬送体に現像剤を搬送供給するのに例えば特許文献1や特許文献2においては3本以上の攪拌スクリュを使用することが記載されており、また特許文献3では表面に多数の突条を設けたパドル部材と軸に対して円板状部材を串刺し状に取り付けた攪拌ロールとを使用することが記載されている。
【0006】
【特許文献1】
特開平3−194572号公報
【0007】
【特許文献2】
特開2001−249545号公報
【0008】
【特許文献3】
特開平5−134540号公報
【0009】
【発明が解決しようとする課題】
上記の提案は、トナーの飛散やコボレを防止するのに有効ではあるが、多種多様な画像条件をすべて満足させるには不充分である。例えば原稿サイズの小さいチャートをプリントし続けたり、極端に黒化率の低いチャートをプリントし続けると、現像剤の劣化が起こりトナー飛散が起こり易くなる。逆に黒化率の高いチャートをプリントし続けると現像剤の帯電量が立ち上がりきれずに現像が行われてトナー飛散が起こってしまう。
【0010】
本発明者らは現像装置内における現像剤の攪拌搬送の実態につき検討を行って来た。従来の現像装置にあっては、新トナー又はリサイクルトナーは搬送スクリュ上に落下し、攪拌搬送される方式が多くとられている。落下したトナーはスクリュ間に挟まれた形で搬送スクリュの1回転中に1リード分の移動が行われ、その間に現像剤との攪拌が行われる。スクリュ内の現像剤は既にトナーはキャリアに付着した状態にあるので、搬送スクリュ内では落下したトナーによって現像剤は極端なトナーリッチの状態にあって、搬送スクリュによる現像剤搬送中には充分な摩擦帯電がなされることがない。
【0011】
本発明は、落下したトナーが搬送スクリュ内にあって現像剤と共に搬送される過程において、落下したトナーは現像剤と充分に接触攪拌がなされ、摩擦帯電が良好になされた状態で現像剤搬送体へと供給され、トナー飛散やコボレ等の生じることなく良好な画像形成が行われる現像装置、及びかかる現像装置を有する画像形成装置を提供することを目的としている。
【0012】
【課題を解決するための手段】
前記の課題を解決し、かつ目的を達成するために本発明の現像装置及び画像形成装置は以下のように構成している。
【0013】
1.像担持体に対向し回転して2成分現像剤を現像領域へと搬送し静電潜像を顕像化する現像剤搬送体と、
該現像剤搬送体の後方にあって現像剤搬送体軸方向に現像剤を搬送する少なくとも2本の搬送スクリュと、
更に該搬送スクリュの後方にあって、現像剤搬送体軸方向への搬送力を持たないで現像剤の攪拌を行う攪拌部材とを有する現像装置において、
前記攪拌部材は、回転可能な軸に、所定の角度だけ回転させた、前記軸方向への投影面が円形の楕円板を複数枚、所定の間隔で略平行に固設したものであり、
トナー補給を行う補給位置は、最も後方に位置した前記搬送スクリュの端部近くの位置であることを特徴とする現像装置。
【0014】
2.前記現像剤搬送体と前記搬送スクリュとの間に軸方向への現像剤搬送力を持たない現像剤供給部材を有することを特徴とする前記1に記載の現像装置。
【0016】
3.前記所定の角度は、30°〜60°であることを特徴とする前記1又は2に記載の現像装置。
【0017】
4.像担持体に対向し回転して2成分現像剤を現像領域へと搬送し静電潜像を顕像化する現像剤搬送体と、
該現像剤搬送体の後方にあって現像剤搬送体軸方向に現像剤を搬送する2本の搬送スクリュと、
更に2本の前記搬送スクリュの間にあって、現像剤搬送体軸方向への搬送力を持たないで現像剤の攪拌を行う攪拌部材とを有する現像装置において、
前記攪拌部材は、回転可能な軸に、所定の角度だけ回転させた、前記軸方向への投影面が円形の楕円板を複数枚、所定の間隔で略平行に固設したものであり、
トナー補給を行う補給位置は、最も後方に位置した前記搬送スクリュの端部近くの位置であることを特徴とする現像装置。
【0019】
5.前記現像剤搬送体と前記搬送スクリュとの間に軸方向への現像剤搬送力を持たない現像剤供給部材を有することを特徴とする前記4に記載の現像装置。
【0021】
6.前記所定の角度は、30°〜60°であることを特徴とする前記4又は5の何れか1項に記載の現像装置。
【0022】
7.像担持体と、像担持体上の静電潜像を2成分現像剤を用いて顕像化する現像装置と、該顕像を転写紙上に転写する転写装置と、像担持体上のトナーをクリーニングするクリーニング装置とを有する画像形成装置において、
前記現像装置は、像担持体に対向し回転して2成分現像剤を現像領域へと搬送し静電潜像を顕像化する現像剤搬送体と、該現像剤搬送体の後方にあって現像剤搬送体軸方向への現像剤搬送力を持たない現像剤供給部材と、該現像剤供給部材の後方にあって現像剤搬送体軸方向に現像剤を搬送する少なくとも2本の搬送スクリュと、更に該搬送スクリュの後方にあって、現像剤搬送体軸方向への搬送力を持たないで現像剤の攪拌を行う攪拌部材と、を有していて、
前記攪拌部材は、回転可能な軸に、所定の角度だけ回転させた、前記軸方向への投影面が円形の楕円板を複数枚、所定の間隔で略平行に固設したものであり、
トナー補給を行う補給位置は、最も後方に位置した前記搬送スクリュと前記攪拌部材の略中間位置とした現像装置であることを特徴とした画像形成装置。
【0023】
8.像担持体と、像担持体上の静電潜像を2成分現像剤を用いて顕像化する現像装置と、該顕像を転写紙上に転写する転写装置と、像担持体上のトナーをクリーニングするクリーニング装置とを有する画像形成装置において、
前記現像装置は、像担持体に対向し回転して2成分現像剤を現像領域へと搬送し静電潜像を顕像化する現像剤搬送体と、該現像剤搬送体の後方にあって現像剤搬送体軸方向への現像剤搬送力を持たない現像剤供給部材と、該現像剤供給部材の後方にあって現像剤搬送体軸方向に現像剤を搬送する少なくとも2本の搬送スクリュと、更に2本の前記搬送スクリュの間にあって、現像剤搬送体軸方向への搬送力を持たないで現像剤の攪拌を行う攪拌部材と、を有していて、
前記攪拌部材は、回転可能な軸に、所定の角度だけ回転させた、前記軸方向への投影面が円形の楕円板を複数枚、所定の間隔で略平行に固設したものであり、
トナー補給を行う補給位置は、最も後方に位置した前記搬送スクリュの現像剤搬送方向上流側の端部近くの位置とした現像装置であることを特徴とした画像形成装置。
【0030】
【発明の実施の形態】
図面を用いて本発明の画像形成装置について説明する。
【0031】
(1) 図1の断面構成図に示す画像形成装置は、本発明の現像装置を使用してモノクロ画像を形成する電子写真プロセスを利用した複写機の画像形成部を図示したものである。但し、本発明は図1に示した構成に限定されるものではない。
【0032】
1は像担持体のドラム状した感光体であって、マイナス帯電する有機半導体層としてフタロシアニン顔料をポリカーボネイトに分散したものを接地された金属製のシリンダ状の基板上に塗布してあり、電荷輸送層を含めた感光体層の膜厚30μmであって、ドラム径φ100mmで矢示方向に500mm/sの周速(Vp)で駆動回転される。
【0033】
2は回転する感光体1の周囲を所定の極性・電位に一様に帯電処理するスコロトロン帯電手段で、ワイヤ〜グリッド間距離7.5mm、グリッド〜感光体間距離1mm、ワイヤ〜バックプレート間距離12mmの帯電極構成をしていて、グリッド印加電圧を−730Vとし、帯電電流値−800μAをもってバイアス電圧を印加し、感光体1の帯電電位を−750Vとしている。
【0034】
3はレーザ走査方式をとった像露光手段で、レーザ波長780nmの半導体レーザ(LD)を用い、その出力パワーは500μWである。像露光手段3はレーザビームを出射して感光体1の一様に帯電した表面を走査露光し、静電潜像を形成する。
【0035】
現像装置4は、後に詳しく説明するが、感光体1に対向して回転する現像剤搬送体41により感光体1上の静電潜像をトナー像として現像する。接触或いは非接触による現像が、イメージ露光と反転現像との組み合わせで2成分現像剤を用いての現像が行われる。現像剤搬送体41はマグネットロールの周囲にステンレス溶射表面加工を施したアルミ製のスリーブを被せた構成とし、現像剤搬送体41のローラ径φ50mm、回転数247〜534rpmで回転し、感光体1との線速比(Vs/Vp)は1.3〜2.8としている。現像剤搬送体41には直流成分の現像バイアスによって現像が行われるが、直流成分としては−600Vの現像バイアスを印加して反転現像が行われる。
【0036】
非磁性トナーと磁性キャリアを含有する2成分現像剤のトナーとしては、体積平均粒径が3〜9μm、本実施例においては6μmの重合トナーが用いられる。重合トナーを用いることにより、高解像力であり、濃度が安定しかぶりの発生が極めて少ない画像形成装置が可能となる。
【0037】
重合トナーは次のような製造方法により製造される。
トナー用バインダー樹脂の生成とトナー形状とがバインダー樹脂の原料モノマー又はプレポリマーの重合及びその後の化学的処理により形成されて得られる。より具体的には、懸濁重合又は乳化重合等の重合反応と必要によりその後に行われる粒子同士の融着工程を経て得られ、重合トナーでは、原料モノマー又はプレポリマーを水系で均一に分散した後に重合させトナーを製造することから、トナーの粒度分布及び形状の均一な球形トナーが得られる。
【0038】
トナーは体積平均粒径が3μmを下回ると、かぶりの発生やトナー飛散が起こりやすくなる。上限9μmは本実施の形態が目標とする高画質を形成することを可能する粒径の上限である。
【0039】
キャリアとしては、体積平均粒径が30〜65μmで磁化量が20〜70emu/gの磁性粒子からなるフェライトコアのキャリアが好ましい。30μmよりも粒径の小さなキャリアではキャリア付着が生じやすくなる。また、65μmよりも粒径の大きなキャリアでは、均一な濃度の画像が形成されない場合が生じうる。
【0040】
5はトナー像の転写性を高めるために照射する転写前露光光源で、光波長700nmのLEDで、光出力10luxをもって照射する。
【0041】
6はコロトロンの転写極で、ワイヤ〜感光体1間距離8mm、ワイヤ〜バックプレート間距離12mmの構成となっていて、転写電流200μAの定電流制御によって感光体1上のトナー像の転写紙上への転写を行う。
【0042】
7はコロトロンの分離極で、ワイヤ〜感光体1間距離8mm、ワイヤ〜バックプレート間距離12mmの構成となていて、AC成分100μA、DC成分−200μAの分離電流によって転写紙の感光体1からの分離を促す。
【0043】
給紙部より給紙された転写紙Pは、レジストローラ21によって感光体1上に形成されたトナー像と同期して給紙がなされ、転写ニップ部において転写極6によってトナー像の転写を受ける。転写ニップ部を通過した転写紙Pは、感光体1の面から分離極7によって分離され、搬送ベルト22によって定着装置23へ搬送される。
【0044】
定着装置23は内部にヒータを配置した加熱ローラ23aと加圧ローラ23bとより成り、トナー像を保持した転写紙Pは加熱ローラ23aと加圧ローラ23bとの間で加熱・加圧がなされて定着し、トナー像が定着された転写紙Pは排紙ローラ24によって機外の排紙トレイ上に排出される。
【0045】
一方、転写紙Pへのトナー像の転写後の感光体1の表面はクリーニング装置8により転写残トナーの清掃が行われる。本実施例においてはクリーニング手段としてウレタンゴム製のブレードが用いられ、クリーニングブレードはカウンタタイプに感光体1周面に摺接して清掃を行っている。クリーニング装置8を通過して表面が清掃された感光体1周面は、光波長700nm、光出力10lux光源を用いた帯電前露光(PCL)手段9によって照射がなされ、残留電位を低下して次の画像形成サイクルへと移行する。
【0046】
クリーニング装置8によって回収されたトナーは搬送スクリュ等を用いてトナー搬送するトナーリサイクル手段81によって現像装置4に回収される。現像装置4への回収動作は感光体1の回転動作と同時に併行して行われる。
【0047】
(2) 次に図1によって説明した画像形成装置に設置して現像を行う現像装置4について説明する。
【0048】
(実施の形態1)
図2には本実施例の現像装置4の側断面図を示し、図3には平面配置図を示している。本実施形態の請求項1記載の現像装置4は、感光体1に対向して位置した現像剤搬送体41の後方に現像剤搬送体軸方向に現像剤を搬送する搬送スクリュ43A、43Bと、更に後方の搬送スクリュ43Aの後方に現像剤搬送体軸方向への搬送力を持たないで現像剤の攪拌を行う攪拌部材42が設けられている。更に本実施例においては現像剤搬送体41と搬送スクリュ43Bとの間には軸方向への現像剤搬送力を持たない現像剤供給部材44を設け、現像剤搬送体41周面上の現像を終えた現像剤に代えて新しい現像剤の供給を行っている。
【0049】
現像剤を現像剤搬送体41へと供給する水車状をなした現像剤供給部材44は4〜8枚程度の放射状の羽根を有している。羽根は3枚以下では現像剤の供給性能は低下し、9枚以上では現像剤へのストレスが増加し、現像剤劣化を招く傾向にある。本実施例では外径40mmで現像剤搬送体41との線速比は0.5〜1.0に設定している。線速比が0.5以下では現像剤の搬送性が不足する傾向にあり、線速比が1.0以上の場合にはストレス増加による現像剤劣化が増加することが認められる。現像剤搬送体41との間隔は1mm〜5mmにあることを適当としている。1mm以下だとストレスは増加し、5mm以上だと搬送性能は低下する。
【0050】
搬送スクリュ43A、43Bは図4に示す本実施例では同形の部材を使用している。本実施例では外径24mmスクリュピッチp16mmのものを使用している。現像剤搬送体41との線速比は0.5〜1.5の間に設定している。線速比が0.5以下においては左右に濃度差が生じるようになり、線速比1.5以上では攪拌性能が確保できない。スクリュピッチpは10mm〜25mmの間のものが用いられる。スクリュピッチpが10mm以下では現像剤濃度に左右差が生じる。またスクリュピッチpが25mm以上では現像剤搬送中に攪拌性能を充分に確保することができなくなる。搬送スクリュ43Bと現像剤供給部材44との間隔は1mm〜5mmの間を適当とする。間隔が1mm以下だとストレスは増加し、間隔が5mm以下だと現像剤の搬送性能は低下する。また搬送スクリュ43A、43B間での間隔は1mm〜5mmの間に設定している。間隔が1mm以下だとストレスが増加し、5mm以上だと両者の間での現像剤の受け渡し能力が低下する。
【0051】
攪拌部材42は、放射状に板材を回転軸に取り付けた水車型あるいは図5(a)に示すような平行な板状部材を回転軸に取り付けた串刺し型が用いられる。何れの型方式による場合も外径24mm見当で、現像剤搬送体41との線速比は1〜2の間に設定している。線速比が1以下の場合には充分な攪拌性能を得ることができない。また線速比が2以上の場合にはストレスの増加が認められる。攪拌部材42が水車型の場合には放射状に植設された羽根数は4〜8枚を適当とし、羽根数は3枚以下では充分な現像剤攪拌性能を得ることができない。また、羽根数が9枚以上の場合にはストレスが増加してしまう。
【0052】
攪拌部材42として本実施例では串刺し型を用いている。略平行に傾いて取り付けられた複数の板状部材421は間隔xとして12〜24mmの間の間隔として、傾き角度θとして30°〜60°の角度をもって回転軸に固設されている。傾き角度θが60°以上の場合には現像剤の攪拌性能が低下するので、間隔xを狭く設定することが必要となる。また角度θが30°以下の場合には間隔xを広く設定してもストレスが増加して来る。本実施例では角度θとして45°、間隔xとして20mmに設定して良好な攪拌結果を得ている。なお板状部材421としては、軸方向への投影面が円形の楕円板が好ましく用いられる。図5(b)には本実施例で板状部材421として使用している楕円板の形状を示している。
【0053】
攪拌部材42と搬送スクリュ43との間隔は1mm〜5mmの間に設定することが好ましい。かかる間隔が設定されていることによって、搬送スクリュ43によって搬送される現像剤に対して攪拌部材42からの攪拌された現像剤が適度に供給されることとなる。なお、攪拌部材42は搬送スクリュ43と同長である必要はなく、次に説明する新トナーの補給位置前後をカバーする長さを有していることによって本発明の効果を奏することができる。
【0054】
本実施例においては現像装置4内の搬送スクリュ43Bに対向した位置に、現像剤の透磁率を検出してトナー濃度を検出する透磁率センサ(Lセンサ)200が設置されていて、トナー濃度の検出が行われている。透磁率センサ200は、磁性キャリアと非磁性トナーの混合比率を見掛け透磁率として検出し、アナログ又はデジタルの電気信号として出力する。現像装置4では現像によって消費されるトナーに対して新トナー及びリサイクルトナーの補給がなされて、現像装置4内では例えば4.5質量%のトナー濃度が維持されるよう制御がなされている。
【0055】
現像装置4の上方には新トナー(NT)を蓄える新トナーホッパ49が設けられていて、その下部には新トナーの現像装置4への供給を行う供給バルブ491が設けられていて、トナー濃度値が所定の濃度値以下に低下したと検知すると、所定量の新トナーが新トナーホッパ49から現像装置4に補給される。
【0056】
本実施形態においては、新トナーの補給位置は、後方に位置した搬送スクリュ43Aと攪拌部材42との略中間位置としていて、外殻46の上面に設けた落下口46Aから新トナー及びリサイクルトナーは落下する構造となっている。新トナー及びリサイクルトナーは搬送スクリュ43Aで搬送される現像剤と攪拌部材42で攪拌された現像剤とが合流する箇所に落下し、攪拌されながら搬送されることとなるので、新トナーやリサイクルトナーは充分な帯電状態に保たれてキャリア粒子外周に付着し、現像剤搬送体41へと移動して現像が行われることとなる。
【0057】
(実施の形態2)
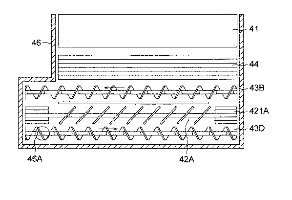
図6には本実施例の現像装置4の側断面図を示し、図7には平面配置図を示している。本実施形態の請求項6記載の現像装置4は、感光体1に対向して位置した現像剤搬送体41の後方に現像剤搬送体軸方向に現像剤を搬送する2本の搬送スクリュ43B、43Dと、搬送スクリュ43B、43Dの間にあって現像剤搬送体軸方向への搬送力を持たないで現像剤の攪拌を行う攪拌部材42Aが設けられている。更に本実施例においては現像剤搬送体41と搬送スクリュ43Bとの間には軸方向への現像剤搬送力を持たない現像剤供給部材44を設け、搬送スクリュ43Bから排出される新しい現像剤を現像剤搬送体41へと供給している。実施の形態1で説明したのと同一機能をもった部材については、同一符号をもって表示し、説明を省略する。
【0058】
2本の搬送スクリュ43B、43Dについて、搬送スクリュ43Bは実施の形態1で説明したのと全く同じ左方向へのリードを有した搬送スクリュである。一方、搬送スクリュ43Dは他は全く同じであるが右方向へのリードを有した搬送スクリュである。よって、搬送スクリュ43Bと43Dとは同方向に回転しながら現像剤を反対方向に搬送している。
【0059】
本実施例においては、新トナー及びリサイクルトナーは後方の搬送スクリュ43Dの端部近くに落下し補給される構成となっていて、搬送スクリュ43Dによって現像剤上に落下して搬送されるトナーに対して、攪拌部材42Aからの攪拌された現像剤が加わって攪拌搬送され、現像剤は特にストレスを受けることなくトナーは摩擦帯電によって飽和状態にまで帯電がなされ、キャリア粒子周面に付着した状態となる。
【0060】
攪拌部材42Aは搬送スクリュ43B、43Dの間に位置しているので、搬送スクリュ43B、43Dの回転によって、回動する現像剤は攪拌部材42Aの両端部を横切る形で攪拌搬送されることとなる。本実施例では攪拌部材42Aの中間部は攪拌部材42におけると同形状の串刺し型とし、両端部431は水車型としている。現像剤は端部において水車型の攪拌部材により攪拌されて搬送スクリュ間での移動が行われる。但し攪拌部材42Aの形状はかかる形状に限定されるものではない。
【0061】
搬送スクリュ43Bと攪拌部材42Aとの間隔は1mm〜5mmの間に設定し、攪拌部材42Aと搬送スクリュ43Dとの間隔も1mm〜5mmの間に設定している。かかる間隔条件を満たすことによって、攪拌搬送されて飽和状態にまで帯電がなされた新トナーやリサイクルトナーはキャリア粒子周面に付着した状態となって回動し、搬送スクリュ43Bによる搬送から外れて現像剤供給部材44へと移動し、現像に用いられることとなる。
【0062】
(3) 図2、図3によって示した実施の形態1の現像装置(実施例1)と、図6、図7によって示した実施の形態2の現像装置(実施例2)とにつき性能テストを行っている。この際比較検討のため、実施例1の現像装置について攪拌部材42を取り除いた図8に示す構成とした現像装置(比較例1)と、実施例1の現像装置について攪拌部材42に代えて搬送スクリュとし、帰還回路43Rを追加して3本の搬送スクリュ43A、43B、43Cによって攪拌搬送する構成とした図9に示す現像装置(比較例2)とを用いて比較検討を行っている。
【0063】
テストを行う現像装置は何れも図1に示した画像形成装置に装着しテストを行っている。テストは新現像剤を装填し、機内を清掃した状態で、次の4テスト項目について、各100kcプリント宛のテストを行い、機内特に転写分離極近傍でのトナー飛散の状況と、現像に基づいて生じるプリント画像の良否を○×をもって評価した。
【0064】
テスト(1) はがきサイズ 黒化率1%相当の原稿
テスト(2) はがきサイズ 黒化率40%相当の原稿
テスト(3) A3サイズ 黒化率1%相当の原稿
テスト(4) A3サイズ 黒化率40%相当の原稿
【0065】
【表1】
【0066】
比較例1については、黒化率40%原稿テスト(2)及びテスト(4)については補充された新トナーに対する攪拌不足が原因と思われるトナー飛散が認められた。またテスト(1)については現像剤中でのリサイクルトナーの比率が高くなり、リサイクルトナーに対する攪拌不足が原因と思われるトナー飛散が認められた。
【0067】
比較例2については、比較例1と比較し現像剤の攪拌搬送を行う搬送スクリュが1本増えただけ攪拌性能が向上していることが認められた。しかし、黒化率40%の原稿、テスト(2)及びテスト(4)についてはトナー飛散は許容値以上のものであった。
【0068】
一方、実施例1及び実施例2については、原稿サイズや原稿の黒化率には関係なく、転写分離極近傍におけるトナー飛散は少なく、画像不良の発生も認められなかった。
【0069】
【発明の効果】
請求項1〜3記載の発明によれば、現像装置の構成として現像剤搬送体の後方に少なくとも2本の搬送スクリュと、更にその後方に攪拌部材を設けた構成とし、攪拌部材を、回転可能な軸に、所定の角度だけ回転させた、前記軸方向への投影面が円形の楕円板を複数枚、所定の間隔で略平行に固設したものとし、トナー補給を行う補給位置を最も後方に位置した前記搬送スクリュの端部近くの位置とすることによって、落下トナーは搬送スクリュによって搬送される過程においてトナーには飽和状態の帯電がなされて、現像に際してはトナー飛散やコボレが生じることなく良好な現像が行われることとなる。
【0070】
請求項4〜6記載の発明によれば、現像装置の構成として現像剤搬送体の後方に2本の搬送スクリュとその間に攪拌部材を設けた構成とし、攪拌部材を、回転可能な軸に、所定の角度だけ回転させた、前記軸方向への投影面が円形の楕円板を複数枚、所定の間隔で略平行に固設したものとし、トナー補給を行う補給位置を最も後方に位置した前記搬送スクリュの端部近くの位置とすることによって、落下トナーは搬送スクリュによって、搬送される過程においてトナーには飽和状態の帯電がなされて、現像に際してはトナー飛散やコボレが生じることなく良好な現像が行われることとなる。
【0071】
請求項7記載の発明によれば、像担持体と、像担持体上の静電潜像を2成分現像剤を用いて顕像化する現像装置と、該顕像を転写紙上に転写する転写装置と、像担持体上のトナーをクリーニングするクリーニング装置とを有する画像形成装置においても、請求項1〜3記載の現像装置を使用することによって、トナー飛散やコボレ等の現象が生じることなく良好な画質の画像形成が行われるようになる。
【0072】
請求項8記載の発明によれば、像担持体と、像担持体上の静電潜像を2成分現像剤を用いて顕像化する現像装置と、該顕像を転写紙上に転写する転写装置と、像担持体上のトナーをクリーニングするクリーニング装置とを有する画像形成装置においても、請求項4〜6記載の現像装置を使用することによって、トナー飛散やコボレ等の現象が生じることなく良好な画質の画像形成が行われるようになる。
【図面の簡単な説明】
【図1】画像形成装置の断面構成図。
【図2】現像装置(実施の形態1)の側断面図。
【図3】現像装置(実施の形態1)の平面配置図。
【図4】搬送スクリュの外形図。
【図5】攪拌部材の外形図及び板状部材形状。
【図6】現像装置(実施の形態2)の側断面図。
【図7】現像装置(実施の形態2)の平面配置図。
【図8】現像装置(比較例1)の平面配置図。
【図9】現像装置(比較例2)の平面配置図。
【符号の説明】
1 感光体
4 現像装置
41 現像剤搬送体
42 攪拌部材
42A 攪拌部材
43A(B、C、D) 搬送スクリュ
44 現像剤供給部材
Claims (8)
- 像担持体に対向し回転して2成分現像剤を現像領域へと搬送し静電潜像を顕像化する現像剤搬送体と、
該現像剤搬送体の後方にあって現像剤搬送体軸方向に現像剤を搬送する少なくとも2本の搬送スクリュと、
更に該搬送スクリュの後方にあって、現像剤搬送体軸方向への搬送力を持たないで現像剤の攪拌を行う攪拌部材とを有する現像装置において、
前記攪拌部材は、回転可能な軸に、所定の角度だけ回転させた、前記軸方向への投影面が円形の楕円板を複数枚、所定の間隔で略平行に固設したものであり、
トナー補給を行う補給位置は、最も後方に位置した前記搬送スクリュと前記攪拌部材の略中間位置であることを特徴とする現像装置。 - 前記現像剤搬送体と前記搬送スクリュとの間に軸方向への現像剤搬送力を持たない現像剤供給部材を有することを特徴とする請求項1に記載の現像装置。
- 前記所定の角度は、30°〜60°であることを特徴とする請求項1又は2に記載の現像装置。
- 像担持体に対向し回転して2成分現像剤を現像領域へと搬送し静電潜像を顕像化する現像剤搬送体と、
該現像剤搬送体の後方にあって現像剤搬送体軸方向に現像剤を搬送する2本の搬送スクリュと、
更に2本の前記搬送スクリュの間にあって、現像剤搬送体軸方向への搬送力を持たないで現像剤の攪拌を行う攪拌部材とを有する現像装置において、
前記攪拌部材は、回転可能な軸に、所定の角度だけ回転させた、前記軸方向への投影面が円形の楕円板を複数枚、所定の間隔で略平行に固設したものであり、
トナー補給を行う補給位置は、最も後方に位置した前記搬送スクリュの端部近くの位置であることを特徴とする現像装置。 - 前記現像剤搬送体と前記搬送スクリュとの間に軸方向への現像剤搬送力を持たない現像剤供給部材を有することを特徴とする請求項4に記載の現像装置。
- 前記所定の角度は、30°〜60°であることを特徴とする請求項4又は5に記載の現像装置。
- 像担持体と、像担持体上の静電潜像を2成分現像剤を用いて顕像化する現像装置と、該顕像を転写紙上に転写する転写装置と、像担持体上のトナーをクリーニングするクリーニング装置とを有する画像形成装置において、
前記現像装置は、像担持体に対向し回転して2成分現像剤を現像領域へと搬送し静電潜像を顕像化する現像剤搬送体と、該現像剤搬送体の後方にあって現像剤搬送体軸方向への現像剤搬送力を持たない現像剤供給部材と、該現像剤供給部材の後方にあって現像剤搬送体軸方向に現像剤を搬送する少なくとも2本の搬送スクリュと、更に該搬送スクリュの後方にあって、現像剤搬送体軸方向への搬送力を持たないで現像剤の攪拌を行う攪拌部材と、を有していて、
前記攪拌部材は、回転可能な軸に、所定の角度だけ回転させた、前記軸方向への投影面が円形の楕円板を複数枚、所定の間隔で略平行に固設したものであり、
トナー補給を行う補給位置は、最も後方に位置した前記搬送スクリュと前記攪拌部材の略中間位置とした現像装置であることを特徴とした画像形成装置。 - 像担持体と、像担持体上の静電潜像を2成分現像剤を用いて顕像化する現像装置と、該顕像を転写紙上に転写する転写装置と、像担持体上のトナーをクリーニングするクリーニング装置とを有する画像形成装置において、
前記現像装置は、像担持体に対向し回転して2成分現像剤を現像領域へと搬送し静電潜像を顕像化する現像剤搬送体と、該現像剤搬送体の後方にあって現像剤搬送体軸方向への現像剤搬送力を持たない現像剤供給部材と、該現像剤供給部材の後方にあって現像剤搬送体軸方向に現像剤を搬送する少なくとも2本の搬送スクリュと、更に2本の前記搬送スクリュの間にあって、現像剤搬送体軸方向への搬送力を持たないで現像剤の攪拌を行う攪拌部材と、を有していて、
前記攪拌部材は、回転可能な軸に、所定の角度だけ回転させた、前記軸方向への投影面が円形の楕円板を複数枚、所定の間隔で略平行に固設したものであり、
トナー補給を行う補給位置は、最も後方に位置した前記搬送スクリュの現像剤搬送方向上流側の端部近くの位置とした現像装置であることを特徴とした画像形成装置。
Priority Applications (1)
| Application Number | Priority Date | Filing Date | Title |
|---|---|---|---|
| JP2003186920A JP4423890B2 (ja) | 2003-06-30 | 2003-06-30 | 現像装置及び画像形成装置 |
Applications Claiming Priority (1)
| Application Number | Priority Date | Filing Date | Title |
|---|---|---|---|
| JP2003186920A JP4423890B2 (ja) | 2003-06-30 | 2003-06-30 | 現像装置及び画像形成装置 |
Publications (2)
| Publication Number | Publication Date |
|---|---|
| JP2005024621A JP2005024621A (ja) | 2005-01-27 |
| JP4423890B2 true JP4423890B2 (ja) | 2010-03-03 |
Family
ID=34185924
Family Applications (1)
| Application Number | Title | Priority Date | Filing Date |
|---|---|---|---|
| JP2003186920A Expired - Fee Related JP4423890B2 (ja) | 2003-06-30 | 2003-06-30 | 現像装置及び画像形成装置 |
Country Status (1)
| Country | Link |
|---|---|
| JP (1) | JP4423890B2 (ja) |
Families Citing this family (1)
| Publication number | Priority date | Publication date | Assignee | Title |
|---|---|---|---|---|
| KR100739756B1 (ko) | 2005-11-17 | 2007-07-13 | 삼성전자주식회사 | 비자성일성분방식 현상장치 |
-
2003
- 2003-06-30 JP JP2003186920A patent/JP4423890B2/ja not_active Expired - Fee Related
Also Published As
| Publication number | Publication date |
|---|---|
| JP2005024621A (ja) | 2005-01-27 |
Similar Documents
| Publication | Publication Date | Title |
|---|---|---|
| JP4642529B2 (ja) | 現像装置 | |
| JP2006313307A (ja) | 画像形成装置 | |
| US6892045B2 (en) | Image forming apparatus and convey control method for recycle toner | |
| JPH09288426A (ja) | 画像形成装置 | |
| JP2009025700A (ja) | 現像装置及びそれを用いた画像形成装置 | |
| JP5463756B2 (ja) | 現像装置及び画像形成装置 | |
| JP4423890B2 (ja) | 現像装置及び画像形成装置 | |
| JP2010230752A (ja) | 現像装置、現像装置の製造方法及び画像形成装置 | |
| JP5174568B2 (ja) | 現像装置及びそれを備えた画像形成装置 | |
| JPH0792813A (ja) | 現像装置 | |
| JP2002323786A (ja) | トナー及び画像形成装置 | |
| JP2005121774A (ja) | 現像装置及び画像形成装置 | |
| JP2004279490A (ja) | 画像形成装置 | |
| JP2011095377A (ja) | 画像形成装置 | |
| JP2001125366A (ja) | 現像装置 | |
| JPH1184857A (ja) | 画像形成装置 | |
| JP3846467B2 (ja) | 現像装置及び画像形成装置 | |
| JP3846466B2 (ja) | 現像装置及び画像形成装置 | |
| JP4292976B2 (ja) | 現像装置及び画像形成装置 | |
| JP2025090506A (ja) | 画像形成装置 | |
| JP2006138881A (ja) | 画像形成装置及びプロセスカートリッジ | |
| JPH1144996A (ja) | 現像装置 | |
| JP4122816B2 (ja) | 画像形成装置 | |
| JP3849656B2 (ja) | 画像形成装置 | |
| JP2010128191A (ja) | 現像装置及びそれを備えた画像形成装置 |
Legal Events
| Date | Code | Title | Description |
|---|---|---|---|
| A621 | Written request for application examination |
Free format text: JAPANESE INTERMEDIATE CODE: A621 Effective date: 20060612 |
|
| A977 | Report on retrieval |
Free format text: JAPANESE INTERMEDIATE CODE: A971007 Effective date: 20080829 |
|
| A131 | Notification of reasons for refusal |
Free format text: JAPANESE INTERMEDIATE CODE: A131 Effective date: 20080909 |
|
| A131 | Notification of reasons for refusal |
Free format text: JAPANESE INTERMEDIATE CODE: A131 Effective date: 20090303 |
|
| A521 | Written amendment |
Free format text: JAPANESE INTERMEDIATE CODE: A523 Effective date: 20090430 |
|
| A131 | Notification of reasons for refusal |
Free format text: JAPANESE INTERMEDIATE CODE: A131 Effective date: 20090818 |
|
| A521 | Written amendment |
Free format text: JAPANESE INTERMEDIATE CODE: A523 Effective date: 20091014 |
|
| TRDD | Decision of grant or rejection written | ||
| A01 | Written decision to grant a patent or to grant a registration (utility model) |
Free format text: JAPANESE INTERMEDIATE CODE: A01 Effective date: 20091117 |
|
| A01 | Written decision to grant a patent or to grant a registration (utility model) |
Free format text: JAPANESE INTERMEDIATE CODE: A01 |
|
| A61 | First payment of annual fees (during grant procedure) |
Free format text: JAPANESE INTERMEDIATE CODE: A61 Effective date: 20091130 |
|
| R150 | Certificate of patent or registration of utility model |
Free format text: JAPANESE INTERMEDIATE CODE: R150 |
|
| FPAY | Renewal fee payment (event date is renewal date of database) |
Free format text: PAYMENT UNTIL: 20121218 Year of fee payment: 3 |
|
| FPAY | Renewal fee payment (event date is renewal date of database) |
Free format text: PAYMENT UNTIL: 20131218 Year of fee payment: 4 |
|
| S111 | Request for change of ownership or part of ownership |
Free format text: JAPANESE INTERMEDIATE CODE: R313111 |
|
| R350 | Written notification of registration of transfer |
Free format text: JAPANESE INTERMEDIATE CODE: R350 |
|
| LAPS | Cancellation because of no payment of annual fees |
