JP4380418B2 - 半導体装置の製造方法 - Google Patents

半導体装置の製造方法 Download PDF

Info

Publication number
JP4380418B2
JP4380418B2 JP2004157414A JP2004157414A JP4380418B2 JP 4380418 B2 JP4380418 B2 JP 4380418B2 JP 2004157414 A JP2004157414 A JP 2004157414A JP 2004157414 A JP2004157414 A JP 2004157414A JP 4380418 B2 JP4380418 B2 JP 4380418B2
Authority
JP
Japan
Prior art keywords
impurity
diffusion
manufacturing
silicon
semiconductor device
Prior art date
Legal status (The legal status is an assumption and is not a legal conclusion. Google has not performed a legal analysis and makes no representation as to the accuracy of the status listed.)
Expired - Lifetime
Application number
JP2004157414A
Other languages
English (en)
Other versions
JP2005340503A (ja
Inventor
茂稔 曽田
真吾 橋詰
秀和 中村
Current Assignee (The listed assignees may be inaccurate. Google has not performed a legal analysis and makes no representation or warranty as to the accuracy of the list.)
Panasonic Corp
Panasonic Holdings Corp
Original Assignee
Panasonic Corp
Matsushita Electric Industrial Co Ltd
Priority date (The priority date is an assumption and is not a legal conclusion. Google has not performed a legal analysis and makes no representation as to the accuracy of the date listed.)
Filing date
Publication date
Application filed by Panasonic Corp, Matsushita Electric Industrial Co Ltd filed Critical Panasonic Corp
Priority to JP2004157414A priority Critical patent/JP4380418B2/ja
Publication of JP2005340503A publication Critical patent/JP2005340503A/ja
Application granted granted Critical
Publication of JP4380418B2 publication Critical patent/JP4380418B2/ja
Anticipated expiration legal-status Critical
Expired - Lifetime legal-status Critical Current

Links

Images

Landscapes

  • Bipolar Transistors (AREA)

Description

本発明は、シリコン基板中へ二種の不純物を同時に再現性よく拡散させるのに適した半導体装置の製造方法に関するものである。
従来、シリコン基板に二種の不純物を拡散させる方法として、石英封管拡散法が広く知られている(例えば特許文献1参照)。
石英封管拡散法には、例えば、拡散不純物として、シリコン粉末に固溶した元素と単体金属の二種の不純物を用いて、同時にシリコン基板に拡散する封管拡散法技術がある。この技術は、シリコン粉末に固溶した元素と単体金属の二種の不純物を封管内に入れた後、熱処理することによって、シリコン基板の片面に二種の不純物を拡散するものである。
図4は従来の技術における石英管による封管拡散法の説明図である。
シリコン基板1を300sl並べ、その両側に拡散源となるボロン添加シリコン粉末2、金属アルミニウム6を配置し、さらに基板間にも100sl間隔で配置する。この後、石英管5内を真空封止し、1200℃で9時間熱拡散を行う。しかるのち、シリコン基板1を取り出し再度1200℃で50時間ドライブイン拡散を行う。
また、同じく特許文献1には次に示す別の技術も開示されている。この技術は拡散不純物として、シリコン粉末に固溶した元素とハロゲン化物の二種を封管内に入れた後、熱処理することによって、シリコン基板の片面に二種の不純物を拡散することができるとされている。
図5は従来の別の技術における石英管による封管拡散法の説明図である。
シリコン基板1を300sl並べ、その両側に拡散源となるボロン添加シリコン粉末2、弗化アルミニウム3を配置し、さらに基板間にも100sl間隔で配置する。この後、石英管5内を真空封止し、1200℃で9時間熱拡散を行う。しかるのち、シリコン基板1を取り出し再度1200℃で50時間ドライブイン拡散を行う。
上記の従来技術のように単に単体金属を用いるのではなく、ハロゲン化物を用いることで、金属元素の蒸気圧よりも高い蒸気圧となり、封管内での濃度差を少なくし、拡散深さのばらつきを少なくすることができるとされている。
特開平5−347264号公報
上記した封管内に単体金属を封入する方法では、シリコン粉末に固溶した元素として、シリコン中にリンもしくはボロンを添加させた粉末が用いられ、単体金属としてはアルミニウムもしくはガリウムが用いられることが多い。しかしながら、金属のアルミニウムもしくはガリウムの蒸気圧は低いため、封管内に金属元素を配置し、熱処理した場合、蒸発が進まず封管内で濃度差を生じ、その結果、アルミニウムもしくはガリウムの拡散深さ、拡散長にばらつきを生じやすいという問題があった。
また、封管内にハロゲン化物を封入する方法では、シリコン粉末に固溶した元素として、シリコン中にリンもしくはボロンを添加させた粉末が用いられ、ハロゲン化物としてはハロゲン化アルミニウムもしくはハロゲン化ガリウムが用いられる。しかしながら、蒸気圧の極めて高いハロゲン化物を用いることにより、蒸発が急激に進み封管内で濃度差を生じ、アルミニウムもしくはガリウムの拡散深さ、拡散長にばらつきを生じやすいという問題があった。
そこで、本発明の目的は、シリコン基板へ二種類の不純物を同時に封管拡散させる際の拡散層のばらつき、すなわち表面濃度や拡散深さについて、特にアルミニウムの拡散深さのばらつきを減少させる方法を提供するものである。
上記目的を達成するために、本発明の半導体装置の製造方法は、石英管内に半導体基板と不純物拡散源を設置する工程と、前記石英管を真空封入し、熱処理を行って前記半導体基板に不純物を導入する工程を備えた半導体装置の製造方法であって、前記拡散源は、第1の不純物を含む物質と第2の不純物を含む物質とを有し、前記第1の不純物を含む物質は前記第1の不純物を含まない物質で包むように構成され、第1の不純物を含む物質は弗化アルミニウム粉末であり、第2の不純物を含む物質はボロンを添加したシリコン粉末であり、不純物を含まない物質はノンドープシリコン粉末である。
また、前記半導体基板に前記第1の不純物および前記第2の不純物が導入された領域はトランジスタのベース領域として機能することが好ましい。
上記本発明の半導体装置の製造方法によれば、不純物源として用いられる蒸気圧の極めて高いハロゲン化アルミニウムを不純物が添加されていないシリコン粉末で包囲することで、ハロゲン化アルミニウムの蒸発を抑制でき、蒸気圧調整が図れることにより、封管内での濃度差を少なくでき、ウエハ面内及び面間での不純物拡散深さのばらつきを大幅に低減することができる。
以下、本発明の実施の形態について図面を参照しながら説明する。
図1は本発明の実施の形態における石英管による封管拡散法の説明図である。
シリコン基板1を300sl並べ、その両側に拡散源となるボロン添加シリコン粉末2、弗化アルミニウム3、ノンドープシリコン粉末4を配置し、さらに基板間にも100sl間隔で配置する。この後、石英管5内を真空封止し、1200℃で9時間熱拡散を行う。しかるのち、シリコン基板1を取り出し再度1200℃で50時間ドライブイン拡散を行う。
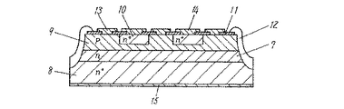
図2は本発明の実施の形態における封管拡散法を適用したメサ型半導体装置の断面図である。
上記ドライブイン処理後に得られたp型ベース領域9の表面濃度は5.0×1017cm-3であり、ボロンの拡散深さは28μm、アルミニウムの拡散深さは55μmであった。次いで、選択的にリンを拡散させて拡散深さ16μm、表面濃度4.0×1019cm-3のエミッタ拡散領域10を形成する。そして上記ベース領域9とエミッタ拡散領域10の上には二酸化珪素膜11を形成する。しかるのち、メサ溝形成領域の二酸化珪素膜を公知のフォトリソグラフィーとウエットエッチングあるいはドライエッチングにより除去し、室温以下に冷却された弗酸:硝酸:酢酸の混合液中で、水平揺動を行いながらエッチング処理して、メサ溝を形成する。
その後、スピンコーティング法により、アルミナ、二酸化珪素、酸化鉛からなるガラス粉末と感光性物質の混合液を厚み設定が100μmになるように塗布する。次に、露光・現像して塗布膜をパターニングし、電極形成部で塗布膜を除去し、メサ溝部のみに塗布膜を残るようにする。しかるのち、まず400℃、30分の酸化雰囲気で感光性物質を燃焼させて、メサ溝部にガラス粉末を残す。次いで、酸素、窒素雰囲気中で、900℃程度、15分間の熱処理を行い、ガラス粉末を焼成してガラス被膜12を形成する。最後に、ベース電極13、エミッタ電極14とコレクタ電極15をそれぞれ形成し、メサ型半導体装置を得る。
本実施の形態によれば、蒸気圧の高い弗化アルミニウムを包囲するようノンドープシリコン粉末を配置することで、ハロゲン化アルミニウムの過度の蒸発を抑制でき、石英封管内のAl蒸気の濃度差を少なくできるので、シリコン基板の面内および面間での不純物拡散のばらつきを大幅に低減することができる。
本実施の形態におけるNPNトランジスタ直流電流増幅率のばらつきを図3に示す。本実施形態の封管法はトランジスタのベース領域を形成する工程で使用した。
なお、比較として、図3には、従来の技術、即ち不純物源としてボロン添加シリコン粉末と金属アルミニウムを用いてベース拡散層を形成したNPNトランジスタ、従来の別の技術、即ち不純物源としてボロン添加シリコン粉末とノンドープシリコンで包囲されていない弗化アルミニウムを用いてベース拡散層を形成したNPNトランジスタ直流電流増幅率のばらつきも示した。
図3に示すように、本実施の形態によれば、従来の拡散法で形成したトランジスタに比べて直流電流増幅率のばらつきを大幅に低減することがわかった。このことにより、製品の特性が安定化し、製造歩留を向上させることができる。
なお、本実施の形態ではメサ型NPNバイポーラトランジスタを例にとって説明したが、それ以外のデバイス、例えば通常のバイポーラトランジスタに適用しても本発明の効果は得られる。
また、シリコン基板の間に配置される不純物拡散源の位置は任意に設定されるものである。
本発明に係る半導体装置の製造方法は、不純物の拡散ばらつきを低減でき、バイポーラトランジスタ等の製造方法として有用である。
本発明の実施の形態における石英管による封管拡散法の説明図 本発明の実施の形態における封管拡散法を適用したメサ型半導体装置の断面図 本発明の実施の形態におけるNPNバイポーラトランジスタの直流電流増幅率のばらつきを示す図 従来の技術における石英管による封管拡散法の説明図 従来の別の技術における石英管による封管拡散法の説明図
符号の説明
1 シリコン基板
2 ボロン添加シリコン粉末
3 弗化アルミニウム
4 ノンドープシリコン粉末
5 石英管
6 金属アルミニウム
7 n型半導体領域(コレクタ領域)
8 n+型半導体領域(コレクタ領域)
9 p型半導体領域(ベース領域)
10 n+型半導体領域(エミッタ領域)
11 二酸化珪素
12 ガラス保護膜
13 ベース電極
14 エミッタ電極
15 コレクタ電極

Claims (2)

  1. 石英管内に半導体基板と不純物拡散源を設置する工程と、前記石英管を真空封入し、熱処理を行って前記半導体基板に不純物を導入する工程を備えた半導体装置の製造方法であって、前記拡散源は、第1の不純物を含む物質と第2の不純物を含む物質とを有し、前記第1の不純物を含む物質は前記第1の不純物を含まない物質で包むように構成され、前記第1の不純物を含む物質は弗化アルミニウム粉末であり、前記第2の不純物を含む物質はボロンを添加したシリコン粉末であり、前記不純物を含まない物質はノンドープシリコン粉末であることを特徴とする半導体装置の製造方法。
  2. 前記半導体基板に前記第1の不純物および前記第2の不純物が導入された領域はトランジスタのベース領域として機能することを特徴とする請求項1記載の半導体装置の製造方法。
JP2004157414A 2004-05-27 2004-05-27 半導体装置の製造方法 Expired - Lifetime JP4380418B2 (ja)

Priority Applications (1)

Application Number Priority Date Filing Date Title
JP2004157414A JP4380418B2 (ja) 2004-05-27 2004-05-27 半導体装置の製造方法

Applications Claiming Priority (1)

Application Number Priority Date Filing Date Title
JP2004157414A JP4380418B2 (ja) 2004-05-27 2004-05-27 半導体装置の製造方法

Publications (2)

Publication Number Publication Date
JP2005340503A JP2005340503A (ja) 2005-12-08
JP4380418B2 true JP4380418B2 (ja) 2009-12-09

Family

ID=35493719

Family Applications (1)

Application Number Title Priority Date Filing Date
JP2004157414A Expired - Lifetime JP4380418B2 (ja) 2004-05-27 2004-05-27 半導体装置の製造方法

Country Status (1)

Country Link
JP (1) JP4380418B2 (ja)

Families Citing this family (1)

* Cited by examiner, † Cited by third party
Publication number Priority date Publication date Assignee Title
CN109616512A (zh) * 2018-12-26 2019-04-12 瑞能半导体有限公司 半导体器件及其制造方法

Also Published As

Publication number Publication date
JP2005340503A (ja) 2005-12-08

Similar Documents

Publication Publication Date Title
JP4380418B2 (ja) 半導体装置の製造方法
JP3077760B2 (ja) 固相拡散方法
JPH06112146A (ja) 拡散型シリコン素子基板の製造方法
JP3144891B2 (ja) 不純物拡散方法
JP3584544B2 (ja) 半導体装置の製造方法
JPH03163821A (ja) 半導体装置の製造方法
JP2973958B2 (ja) 半導体装置の製造方法
JP2001110807A (ja) 薄膜絶縁膜の形成方法
JPS5850411B2 (ja) 不純物拡散法
JPS60175417A (ja) 半導体装置の製造方法
JP3272908B2 (ja) 半導体多層材料の製造方法
JPS609118A (ja) 半導体装置の製造方法
JPS58130567A (ja) 半導体装置の製造方法
JPS59225566A (ja) 半導体素子の製造方法
JPS5927524A (ja) 半導体装置の製造方法
JPH07335584A (ja) シリコン基板へのアルミニウム拡散方法
JPS5939901B2 (ja) 半導体装置の製造方法
JPS61294855A (ja) 半導体装置の製造方法
JPS622530A (ja) 半導体基板への不純物熱拡散方法
JPS5969923A (ja) ほう素拡散方法
JPS5927106B2 (ja) 半導体装置の製造方法
JPH04168764A (ja) 半導体装置の製造方法
JPS5830735B2 (ja) ハンドウタイソウチノ セイゾウホウホウ
JPH0464227A (ja) 半導体素子とその製造方法
JPH01282870A (ja) 半導体装置の製造方法

Legal Events

Date Code Title Description
A621 Written request for application examination

Free format text: JAPANESE INTERMEDIATE CODE: A621

Effective date: 20070528

RD01 Notification of change of attorney

Free format text: JAPANESE INTERMEDIATE CODE: A7421

Effective date: 20070613

A131 Notification of reasons for refusal

Free format text: JAPANESE INTERMEDIATE CODE: A131

Effective date: 20090630

A977 Report on retrieval

Free format text: JAPANESE INTERMEDIATE CODE: A971007

Effective date: 20090630

A521 Request for written amendment filed

Free format text: JAPANESE INTERMEDIATE CODE: A523

Effective date: 20090806

TRDD Decision of grant or rejection written
A01 Written decision to grant a patent or to grant a registration (utility model)

Free format text: JAPANESE INTERMEDIATE CODE: A01

Effective date: 20090901

A01 Written decision to grant a patent or to grant a registration (utility model)

Free format text: JAPANESE INTERMEDIATE CODE: A01

A61 First payment of annual fees (during grant procedure)

Free format text: JAPANESE INTERMEDIATE CODE: A61

Effective date: 20090914

FPAY Renewal fee payment (event date is renewal date of database)

Free format text: PAYMENT UNTIL: 20121002

Year of fee payment: 3

FPAY Renewal fee payment (event date is renewal date of database)

Free format text: PAYMENT UNTIL: 20121002

Year of fee payment: 3