JP4336115B2 - Bca信号のサンプリングクロックジェネレータ - Google Patents

Bca信号のサンプリングクロックジェネレータ Download PDF

Info

Publication number
JP4336115B2
JP4336115B2 JP2003020726A JP2003020726A JP4336115B2 JP 4336115 B2 JP4336115 B2 JP 4336115B2 JP 2003020726 A JP2003020726 A JP 2003020726A JP 2003020726 A JP2003020726 A JP 2003020726A JP 4336115 B2 JP4336115 B2 JP 4336115B2
Authority
JP
Japan
Prior art keywords
signal
bca
sampling clock
frequency
generator
Prior art date
Legal status (The legal status is an assumption and is not a legal conclusion. Google has not performed a legal analysis and makes no representation as to the accuracy of the status listed.)
Expired - Fee Related
Application number
JP2003020726A
Other languages
English (en)
Other versions
JP2004127474A (ja
Inventor
坤穗 侯
坤宏 謝
Current Assignee (The listed assignees may be inaccurate. Google has not performed a legal analysis and makes no representation or warranty as to the accuracy of the list.)
MediaTek Inc
Original Assignee
MediaTek Inc
Priority date (The priority date is an assumption and is not a legal conclusion. Google has not performed a legal analysis and makes no representation as to the accuracy of the date listed.)
Filing date
Publication date
Application filed by MediaTek Inc filed Critical MediaTek Inc
Publication of JP2004127474A publication Critical patent/JP2004127474A/ja
Application granted granted Critical
Publication of JP4336115B2 publication Critical patent/JP4336115B2/ja
Anticipated expiration legal-status Critical
Expired - Fee Related legal-status Critical Current

Links

Images

Classifications

    • GPHYSICS
    • G11INFORMATION STORAGE
    • G11BINFORMATION STORAGE BASED ON RELATIVE MOVEMENT BETWEEN RECORD CARRIER AND TRANSDUCER
    • G11B20/00Signal processing not specific to the method of recording or reproducing; Circuits therefor
    • G11B20/10Digital recording or reproducing
    • G11B20/14Digital recording or reproducing using self-clocking codes
    • GPHYSICS
    • G11INFORMATION STORAGE
    • G11BINFORMATION STORAGE BASED ON RELATIVE MOVEMENT BETWEEN RECORD CARRIER AND TRANSDUCER
    • G11B7/00Recording or reproducing by optical means, e.g. recording using a thermal beam of optical radiation by modifying optical properties or the physical structure, reproducing using an optical beam at lower power by sensing optical properties; Record carriers therefor
    • G11B7/004Recording, reproducing or erasing methods; Read, write or erase circuits therefor
    • G11B7/005Reproducing
    • G11B7/0053Reproducing non-user data, e.g. wobbled address, prepits, BCA

Landscapes

  • Engineering & Computer Science (AREA)
  • Signal Processing (AREA)
  • Signal Processing For Digital Recording And Reproducing (AREA)
  • Optical Recording Or Reproduction (AREA)

Description

【0001】
【発明の属する技術分野】
本発明はBCA信号のサンプリングクロックジェネレータに係り、特に、主軸モータの速度指示信号を利用してサンプリングクロックを発生するBCA信号のサンプリングクロックジェネレータに関する。
【0002】
【従来の技術】
現在ディジタルオーディオビデオディスク(Digital Video Disc/Digital Versatile Disc;DVD)には、読み取り専用のDVD−ROM(Read Only Memory)、一次書き込み可能なDVD−R(Recordable)、及び乱アクセス式のDVD−RAM(Random Access Memory)がある。DVD−ROMの発展において、この光ディスクはBCA(Burst Cutting Area)をデータ記録に供し、これにより各光ディスクに個別データが表示される。図1に示されるように、光ディスク10のBCA11はディスクの中心より起算して22.3(+0/−0.4)mmから23.5±0.5mm位置までである。各BCAデータビットは二つのBCAチャネルビットをエンコードしてなる。チャネルビット「10」はデータビット「0」を代表し、チャネルビット「01」はデータビット「1」を代表する。BCAのデータ記録方法は、レーザービームを輻射方向で該BCAの一部エリアの反射層(reflection film)を除去するものである。反射層除去の長さと間隔はチャネルビットをRZ(Return to Zero)変調により制御される。もとのBCAにはすでにダミーピットストリング(Dummy Pit String)が存在し、ゆえに光学ヘッドがBCAデータを読み取る時、得られるRF(radio frequency)信号からはBCAのストライプ(stripe)信号が除かれているほか、高周波ピットストリング信号が含まれ、これは図2の(A)に示されるとおりである。その後、BCA信号再生装置でRF信号を処理してBCA再生信号を発生し、これは図2の(B)に示されるとおりである。
【0003】
図3は周知のBCAデータビットの取得装置のブロック図である。図3に示されるように、該BCAデータビット取得装置30は、まずBCAチャネルビットジェネレータ32が、サンプリングクロックに基づきBCA再生信号をサンプリングした後、RZ復調(Demodulation)によりBCAチャネルビットを発生し、さらにBCAデコーダ33でデコードしてBCAデータビットを得る。サンプリングクロック発生の方式は、参考クロックを周波数分割器31で周波数分割して発生する方式である。しかし、このような方式は光ディスクの回転速度が一定の設定値に符合するように確定させる必要がある。もし光ディスクの回転速度が設計値と異なると、BCA再生信号の周波数が光ディスクの回転速度により改変するため、BCAチャネルビットジェネレータ32がサンプリングクロックに基づいて正確にBCA再生信号に対するサンプリングを行えなくなる。
【0004】
位相ロック回路(Phase locked loop;PLL)によりBCA再生信号に基づきサンプリングクロックを発生することはできるが、しかし、PLLの設計は比較的複雑であり、且つコストが比較的高い。このほか、周知のディスク再生装置には、エッジインターバル(edge interval)を計算する方法によりサンプリングクロックを発生する方法を採用したものもあるが、この方法は実施するために必要なファームウエア(firmware)或いは回路が多過ぎ、コストが高い(例えば特許文献1)。
【0005】
【特許文献1】
米国特許第6034934号明細書
【0006】
【発明が解決しようとする課題】
上述の問題を鑑み、本発明の目的は、主軸モータの速度指示信号を利用してサンプリングクロックを発生するBCA信号のサンプリングクロックジェネレータを提供することとする。
【0007】
本発明のサンプリングクロックジェネレータは、ディスクの回転速度に基づきサンプリングクロックの周波数を動態調整する。該サンプリングクロックジェネレータは主軸モータの速度指示信号を受け取り各速度指示信号周期が対応する参考クロックのパルス数を計数し、並びに計数値を発生する周波数カウンタと、周波数カウンタの計数値を受け取り設定値で周波数分割した後に周波数分割値を発生する分割器と、参考クロック、BCA再生信号及び周波数分割値を受け取り、並びに該周波数分割値を除数として参考クロックに対して周波数分割を行い、且つ該BCA再生信号で位相調整することでサンプリングクロックを発生する可変除数周波数分割器と、を具えている。
【0008】
【課題を解決するための手段】
請求項1の発明は、BCA信号のサンプリングクロックジェネレータにおいて、
光ディスクの回転速度に正比例する速度指示信号を受け取り、並びに各速度指示信号周期に対応する参考クロックを計数して計数値を発生する周波数カウンタと、
該周波数カウンタの計数値を受け取り、並びに設定値で分割して周波数分割値を発生する分割器と、
該参考クロック、BCA再生信号及び該周波数分割値を受け取り、サンプリングクロックを発生し、該周波数分割値を除数として該参考クロックに対する周波数分割を行い、且つ該BCA再生信号に基づきサンプリングクロックの位相調整を行う可変除数周波数分割器と、
を具え、
前記速度指示信号がディスクドライブの主軸モータ回転速度の速度指示信号或いはその整数倍周波数信号とされたことを特徴とする、BCA信号のサンプリングクロックジェネレータとしている。
請求項2の発明は、請求項1に記載のBCA信号のサンプリングクロックジェネレータにおいて、前記可変除数周波数分割器が、
BCA再生信号に基づきクリア信号を発生するカウンタクリア信号ジェネレータと、
参考クロックと周波数分割値を受け取り計数値を出力し、該クリア信号が有効である時に計数値をクリアするカウンタと、
該計数値を受け取り、該計数値が設定値に等しい時にサンプリングクロックのサンプリングパルスを発生するパルスジェネレータと、
を具えたことを特徴とする、BCA信号のサンプリングクロックジェネレータとしている。
請求項3の発明は、請求項2に記載のBCA信号のサンプリングクロックジェネレータにおいて、前記カウンタクリア信号ジェネレータが、BCA再生信号の上昇縁にある時にクリア信号をある時間有効とする、BCA信号のサンプリングクロックジェネレータとしている。
請求項4の発明は、BCA信号のサンプリングクロックジェネレータにおいて、
参考クロックを受け取り、並びに該参考クロックを設定値で分割した後に計数クロックを発生する周波数分割器と、
光ディスクの回転速度に正比例する速度指示信号を受け取り、並びに各速度指示信号周期に対応する前述の計数クロックのパルス数を計数して周波数分割値を発生する周波数カウンタと、
該参考クロック、BCA再生信号及び該周波数分割値を受け取り、サンプリングクロックを発生し、該周波数分割値を除数として該参考クロックに対する周波数分割を行い、且つ該BCA再生信号に基づきサンプリングクロックの位相調整を行う可変除数周波数分割器と、
を具えたことを特徴とする、BCA信号のサンプリングクロックジェネレータとしている。
請求項5の発明は、請求項4に記載のBCA信号のサンプリングクロックジェネレータにおいて、前記速度指示信号がディスクドライブの主軸モータ回転速度の速度指示信号或いはその整数倍周波数信号とされたことを特徴とする、BCA信号のサンプリングクロックジェネレータとしている。
請求項6の発明は、請求項4に記載のBCA信号のサンプリングクロックジェネレータにおいて、前記可変除数周波数分割器が、
BCA再生信号に基づきクリア信号を発生するカウンタクリア信号ジェネレータと、
参考クロックと周波数分割値を受け取り計数値を出力し、該クリア信号が有効である時に計数値をクリアするカウンタと、
該計数値を受け取り、該計数値が設定値に等しい時にサンプリングクロックのサンプリングパルスを発生するパルスジェネレータと、
を具えたことを特徴とする、BCA信号のサンプリングクロックジェネレータとしている。
請求項7の発明は、請求項6に記載のBCA信号のサンプリングクロックジェネレータにおいて、前記カウンタクリア信号ジェネレータが、BCA再生信号の上昇縁にある時にクリア信号をある時間有効とする、BCA信号のサンプリングクロックジェネレータとしている。
請求項8の発明は、BCA信号のサンプリングクロックジェネレータにおいて、
光ディスクの回転速度に正比例する速度指示信号を受け取り、並びに各速度指示信号周期の対応する計数クロックのパルス数を計数し、並びに周波数分割値を出力する周波数カウンタと、
考クロック、BCA再生信号及び前述の周波数分割値を受け取り、サンプリングクロックを発生し、該周波数分割値を除数として前述の参考クロックに対して周波数分割を行い、且つBCA再生信号に基づきサンプリングクロックの位相調整を行う可変除数周波数分割器と、
を具えたことを特徴とする、BCA信号のサンプリングクロックジェネレータとしている。
請求項9の発明は、請求項8に記載のBCA信号のサンプリングクロックジェネレータにおいて、前記速度指示信号がディスクドライブの主軸モータ回転速度指示信号或いはその整数倍周波数信号とされたことを特徴とする、BCA信号のサンプリングクロックジェネレータとしている。
【0009】
【発明の実施の形態】
本発明はBCA信号のサンプリングクロックジェネレータを提供し、それはディスクの回転速度に基づきサンプリングクロックの周波数を動態調整する。該サンプリングクロックジェネレータは主軸モータの速度指示信号を受け取り各速度指示信号周期が対応する参考クロックのパルス数を計数し、並びに計数値を発生する周波数カウンタと、周波数カウンタの計数値を受け取り設定値で周波数分割した後に周波数分割値を発生する分割器と、参考クロック、BCA再生信号及び周波数分割値を受け取り、並びに該周波数分割値を除数として参考クロックに対して周波数分割を行い、且つ該BCA再生信号で位相調整することでサンプリングクロックを発生する可変除数周波数分割器と、を具えている。
【0010】
【実施例】
図4は本発明のBCA信号のサンプリングクロックジェネレータの実施構造を示す。本発明のBCA信号のサンプリングクロックジェネレータ41は、主軸モータ速度指示信号FGとBCA再生信号によりBCA信号のサンプリングクロックを発生する。このBCA信号のサンプリングクロックはBCAチャネルビットジェネレータ42とBCAデコーダ43に提供され、BCAチャネルビットジェネレータ42が正確なBCAチャネルビットをサンプリングできるようにし、BCAデコーダ43が正確なBCAデータビットにデコードできるようにする。
【0011】
BCA規格(specification)に基づき、ディスク回転速度が毎分1440回転(1440rpm,24Hz)の時、BCAチャネルビットの速度(channel bit rate)は1/(8.89us)であり、即ち112.49KHzである。しかし、ディスク回転速度に変化がある時、BCAチャネルビットの速度もまた変化する。例えばディスク回転速度が毎分1300回転(1300rpm,21.67Hz)の時、BCAチャネルビットの速度は1/(9.85us)、即ち、101.55KHzとなる。これにより、固定周波数のサンプリングクロックによりBCAチャネルビットのデータをキャプチャする時、ディスクが標準回転速度の時に正確にBCAチャネルビットのデータを取得できるが、ディスクが標準回転速度から大きく離れると、錯誤のBCAチャネルビットのデータが発生しうる。
【0012】
仮に主軸モータ速度指示信号FGの周期(period)が1/(24* N)であり、そのうちNは異なる主軸モータ設計時の整数値、例えば3、4、5、6等であるとすると、各主軸モータ速度指示信号FGの周期は約(4678/N)個のBCAチャネルビット、即ち1/(24* N)/(8.89×10 - を有する。主軸モータ速度指示信号FGの周波数とBCAチャネルビットの速度は正比例し、ゆえにただ主軸モータ速度指示信号FGの周波数を計算し、並びに(4678/N)の関係に基づき、正確な周波数のBCA信号のサンプリングクロックを発生することができる。
【0013】
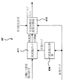
図5は本発明のBCA信号のサンプリングクロックジェネレータ41の第1実施例のブロック図である。該サンプリングクロックジェネレータ41は周波数カウンタ411、分割器412、及び可変除数周波数分割器413を具えている。本発明は参考クロックを基準クロックとしてサンプリングクロックを発生し、これにより該参考クロックの周波数は主軸モータ速度指示信号FGの周波数より高くなければならず、またサンプリングクロックの周波数より高くなければならず、例えば参考クロックの周波数は33MHzとされうる。まず、周波数カウンタ411を利用して主軸モータ速度指示信号FGと参考クロックを受け取り、並びに主軸モータ速度指示信号FGの各周期が対応する参考クロックのパルス数を計算する。例えば、ディスク回転速度が1440rpmであり、N値が4の時、計数値は約343.75Kとされる。その後、分割器412を利用し計数値を等比例縮小し、周波数分割値を発生する。例えば、該分割器の除数は(4678/N)程度の範囲に設定可能で、即ち主軸モータ速度指示信号FGの周波数のBCAチャネルビットの速度の関係値付近、例えば1196とする。こうして、本実施例中、分割器412の出力する周波数分割値は約287となる。最後に、可変除数周波数分割器413を利用して参考クロックを分割値で分割し、サンプリングクロックを発生する。このサンプリングクロックの周波数は本実施例では約115KHzとされ、これは必要なサンプリングクロックの周波数112.5Kとの差が5%に満たない。この5%に満たない周波数の差は、周波数可変除数周波数分割器の設計を透過して位相調整することにより、チャネルビットの正確なサンプリングに影響を与えないものとされる。
【0014】
且つ本発明のサンプリングクロックジェネレータはディスク回転速度に変化が発生した時、主軸モータ速度指示信号FGの周波数もまたこれに伴い改変するため、該サンプリングクロックの周波数もまたこれに伴い等比例で改変する。例えば、ディスク回転速度が1300rpmに下がる時、その変化率は10.3%である。この時、本実施例の計数値は約381Kに変わり、周波数分割値は318に変わり、サンプリングクロックの周波数は103.8KHzに代わる。これにより、サンプリングクロックの周波数もまた10.3%下がり、ゆえにシステムが回転速度に対応する正確なサンプリングクロックの周波数を発生することができる。
【0015】
図6は本発明のBCA信号のサンプリングクロックジェネレータの第2実施例のブロック図である。第1実施例のサンプリングクロックジェネレータ41は周波数カウンタを利用して計数値を発生した後、さらに設定値で周波数分割して周波数分割値を発生したが、第2実施例のサンプリングクロックジェネレータ41’はまず参考クロックを周波数分割した後に計数クロックを発生し、更に周波数カウンタを利用して周波数分割値を発生する。このサンプリングクロックジェネレータ41’は、周波数分割器414、周波数カウンタ411、及び可変除数周波数分割器413を具えている。本発明は参考クロックを基準クロックとしてサンプリングクロックを発生し、これにより該参考クロックの周波数は主軸モータ速度指示信号FGの主軸モータ速度指示信号FGの周波数より高くなければならず、またサンプリングクロックの周波数より高くなければならず、例えば参考クロックの周波数は33MHzとされうる。まず、サンプリングクロックジェネレータ41’は、周波数分割器414を利用し、参考クロックを周波数分割し、計数クロックを発生する。該周波数分割器414の除数(4687/N)程度の範囲に設定され得て、すなわち、主軸モータ速度指示信号FGの周波数のBCAチャネルビットの速度の関係値付近、例えば1196とされる。これにより、周波数分割器414の発生する計数クロックの周波数は27.59KHzとなる。その後、周波数カウンタ411を利用し主軸モータ速度指示信号FGと計数クロックを受け取り、並びに主軸モータ速度指示信号FGの各周期の対応する計数クロックのパルス数を計算し、周波数分割値を発生する。例えば、ディスク回転速度が1440rpmであり、且つN値が4である時、周波数分割値は約287となる。最後に、可変除数周波数分割器413を利用し参考クロックを周波数分割値に基づき周波数分割し、サンプリングクロックを発生する。このサンプリングクロックの周波数は本実施例では約115KHzである。これにより、本実施例の発生するサンプリングクロックの周波数と必要なサンプリングクロックの周波数112.5KHzの差は5%に満たず、この5%に満たない周波数の差は、周波数可変除数周波数分割器の設計を透過して位相調整することにより、チャネルビットの正確なサンプリングに影響を与えないものとされる。当然、もしシステムが二種類の異なる周波数の参考クロックを提供できれば、周波数分割器414は省略可能である。例えば、システムは一つの計数クロックと一つの参考クロックを提供し且つ参考クロックの周波数が計数クロックの周波数の整数倍であるものとされる。
【0016】
図7は可変除数周波数分割器のブロック図である。図示されるように、可変除数周波数分割器413は、カウンタクリア信号ジェネレータ4131、カウンタ4132、及びパルス発生器4133を具えている。該可変除数周波数分割器413はBCA再生信号を利用してサンプリングクロックの位相を調整し、発生するサンプリングクロックに良好なサンプリング位相を具備させ、且つサンプリングクロックの僅かな周波数誤差を補償できる。この可変除数周波数分割器413はカウンタクリア信号ジェネレータ4131を利用し、BCA再生信号に基づいてクリア信号を発生し、例えば、各BCA再生信号の上昇縁で一つのクリア信号のパルスを発生する。カウンタ4132は参考クロックと周波数分割値を受け取った後、計数値を発生し、並びに計数値が周波数分割値に等しい時は0にリセットされ並びに新たに計数し、或いは、クリア信号のパルスを受け取って0にリセットされ並びに新たに計数する。パルスジェネレータ4133はカウンタ4132の計数値を受け取り、並びに計数値がAに等しい時は、一つのサンプリングクロックのパルスを発生する。該サンプリングクロックのパルス幅は必要に応じて設計できる。例えば、該パルスジェネレータ4133は計数値がAとA+Bの間の時、出力信号がハイとなり、その他の時間ではローとなる。
【0017】
図8はBCA再生信号、計数値とサンプリングクロックのパルスの表示図である。図示されるように、BCA再生信号の上昇縁の時、計数値は0にクリアされる。その後、計数値がAの時、サンプリングクロックは一つのパルスを発生する。続いて、計数値がDとなる時(Dは周波数分割値)、カウンタは0にリセットされ、並びに新たに計数する。可変除数周波数分割器413はBCA再生信号により位相調整するため、周波数分割値に僅かな誤差があっても、サンプリングクロックの発生に影響を与えることはない。
【0018】
以上の実施例の説明は、本発明の実施範囲を限定するものではなく、本発明に基づきなしうる細部の修飾或いは改変は、いずれも本発明の請求範囲に属するものとする。
【0019】
【発明の効果】
本発明は、主軸モータの速度指示信号を利用してサンプリングクロックを発生するBCA信号のサンプリングクロックジェネレータを提供している。
【図面の簡単な説明】
【図1】周知の光ディスクのBCA信号の表示図である。
【図2】光ディスクよりキャプチャされるRF信号(A)とBCA信号再生装置でRF信号を処理して発生するBCA再生信号(B)の表示図である。
【図3】周知のBCA信号の取得ブロック図である。
【図4】本発明のBCA信号のサンプリングクロックジェネレータの実施構造図である。
【図5】本発明のBCA信号のサンプリングクロックジェネレータの第1実施例のブロック図である。
【図6】本発明のBCA信号のサンプリングクロックジェネレータの第2実施例のブロック図である。
【図7】本発明のBCA信号のサンプリングクロックジェネレータの可変除数周波数分割器のブロック図である。
【図8】本発明のBCA信号、計数値とサンプリングクロックのパルス表示図である。
【符号の説明】
41、41’ サンプリングクロックジェネレータ
411 周波数カウンタ
412 分割器
413 可変除数周波数分割器
4131 カウンタクリア信号ジェネレータ
4132 カウンタ
4133 パルスジェネレータ
414 周波数分割器
42 BCAチャネルビットジェネレータ
43 BCAデコーダ

Claims (9)

  1. BCA信号のサンプリングクロックジェネレータにおいて、
    光ディスクの回転速度に正比例する速度指示信号を受け取り、並びに各速度指示信号周期に対応する参考クロックを計数して計数値を発生する周波数カウンタと、
    該周波数カウンタの計数値を受け取り、並びに設定値で分割して周波数分割値を発生する分割器と、
    該参考クロック、BCA再生信号及び該周波数分割値を受け取り、サンプリングクロックを発生し、該周波数分割値を除数として該参考クロックに対する周波数分割を行い、且つ該BCA再生信号に基づきサンプリングクロックの位相調整を行う可変除数周波数分割器と、
    を具え、
    前記速度指示信号がディスクドライブの主軸モータ回転速度の速度指示信号或いはその整数倍周波数信号とされたことを特徴とする、BCA信号のサンプリングクロックジェネレータ。
  2. 請求項1に記載のBCA信号のサンプリングクロックジェネレータにおいて、前記可変除数周波数分割器が、
    BCA再生信号に基づきクリア信号を発生するカウンタクリア信号ジェネレータと、
    参考クロックと周波数分割値を受け取り計数値を出力し、該クリア信号が有効である時に計数値をクリアするカウンタと、
    該計数値を受け取り、該計数値が設定値に等しい時にサンプリングクロックのサンプリングパルスを発生するパルスジェネレータと、
    を具えたことを特徴とする、BCA信号のサンプリングクロックジェネレータ。
  3. 請求項2に記載のBCA信号のサンプリングクロックジェネレータにおいて、前記カウンタクリア信号ジェネレータが、BCA再生信号の上昇縁にある時にクリア信号をある時間有効とする、BCA信号のサンプリングクロックジェネレータ。
  4. BCA信号のサンプリングクロックジェネレータにおいて、
    参考クロックを受け取り、並びに該参考クロックを設定値で分割した後に計数クロックを発生する周波数分割器と、
    光ディスクの回転速度に正比例する速度指示信号を受け取り、並びに各速度指示信号周期に対応する前述の計数クロックのパルス数を計数して周波数分割値を発生する周波数カウンタと、
    該参考クロック、BCA再生信号及び該周波数分割値を受け取り、サンプリングクロックを発生し、該周波数分割値を除数として該参考クロックに対する周波数分割を行い、且つ該BCA再生信号に基づきサンプリングクロックの位相調整を行う可変除数周波数分割器と、
    を具えたことを特徴とする、BCA信号のサンプリングクロックジェネレータ。
  5. 請求項4に記載のBCA信号のサンプリングクロックジェネレータにおいて、前記速度指示信号がディスクドライブの主軸モータ回転速度の速度指示信号或いはその整数倍周波数信号とされたことを特徴とする、BCA信号のサンプリングクロックジェネレータ。
  6. 請求項4に記載のBCA信号のサンプリングクロックジェネレータにおいて、前記可変除数周波数分割器が、
    BCA再生信号に基づきクリア信号を発生するカウンタクリア信号ジェネレータと、
    参考クロックと周波数分割値を受け取り計数値を出力し、該クリア信号が有効である時に計数値をクリアするカウンタと、
    該計数値を受け取り、該計数値が設定値に等しい時にサンプリングクロックのサンプリングパルスを発生するパルスジェネレータと、
    を具えたことを特徴とする、BCA信号のサンプリングクロックジェネレータ。
  7. 請求項6に記載のBCA信号のサンプリングクロックジェネレータにおいて、前記カウンタクリア信号ジェネレータが、BCA再生信号の上昇縁にある時にクリア信号をある時間有効とする、BCA信号のサンプリングクロックジェネレータ。
  8. BCA信号のサンプリングクロックジェネレータにおいて、
    光ディスクの回転速度に正比例する速度指示信号を受け取り、並びに各速度指示信号周期の対応する計数クロックのパルス数を計数し、並びに周波数分割値を出力する周波数カウンタと、
    考クロック、BCA再生信号及び前述の周波数分割値を受け取り、サンプリングクロックを発生し、該周波数分割値を除数として前述の参考クロックに対して周波数分割を行い、且つBCA再生信号に基づきサンプリングクロックの位相調整を行う可変除数周波数分割器と、
    を具えたことを特徴とする、BCA信号のサンプリングクロックジェネレータ。
  9. 請求項8に記載のBCA信号のサンプリングクロックジェネレータにおいて、前記速度指示信号がディスクドライブの主軸モータ回転速度指示信号或いはその整数倍周波数信号とされたことを特徴とする、BCA信号のサンプリングクロックジェネレータ
JP2003020726A 2002-10-04 2003-01-29 Bca信号のサンプリングクロックジェネレータ Expired - Fee Related JP4336115B2 (ja)

Applications Claiming Priority (1)

Application Number Priority Date Filing Date Title
TW091123157A TWI262489B (en) 2002-10-04 2002-10-04 Sampling clock generator for BCA data decoding

Publications (2)

Publication Number Publication Date
JP2004127474A JP2004127474A (ja) 2004-04-22
JP4336115B2 true JP4336115B2 (ja) 2009-09-30

Family

ID=32041196

Family Applications (1)

Application Number Title Priority Date Filing Date
JP2003020726A Expired - Fee Related JP4336115B2 (ja) 2002-10-04 2003-01-29 Bca信号のサンプリングクロックジェネレータ

Country Status (3)

Country Link
US (1) US7006415B2 (ja)
JP (1) JP4336115B2 (ja)
TW (1) TWI262489B (ja)

Families Citing this family (17)

* Cited by examiner, † Cited by third party
Publication number Priority date Publication date Assignee Title
TW591616B (en) * 2002-07-01 2004-06-11 Mediatek Inc Method and apparatus for reproducing BCA data from optical disk
US6950379B2 (en) * 2003-03-28 2005-09-27 Mediatek Inc. Burst cutting area extraction method and device
KR20050021733A (ko) * 2003-08-25 2005-03-07 삼성전자주식회사 디스크의 복제방지를 위한 데이터를 기록한 기록매체,변조방법, 기록장치 및 재생장치
KR100603250B1 (ko) * 2004-10-28 2006-07-24 삼성전자주식회사 광디스크의 bca 정보 독출방법 및 그 방법을 사용하는광디스크장치
EP1653453A3 (en) * 2004-10-28 2009-01-07 Samsung Electronics Co., Ltd. Reading burst cutting area (BCA) data from optical disc
KR100618872B1 (ko) * 2004-11-03 2006-08-31 삼성전자주식회사 일정 각속도 모드 제어 없이 bca 데이터를 검출하는광디스크 재생장치 및 그 방법
TWI277962B (en) * 2005-02-15 2007-04-01 Mediatek Inc Method and apparatus for generating sampling clock for burst cutting area of an optical disc
JP2006351109A (ja) * 2005-06-16 2006-12-28 Matsushita Electric Ind Co Ltd 光ディスク信号処理装置及び光ディスク再生装置
JP4630334B2 (ja) * 2005-07-07 2011-02-09 パナソニック株式会社 タイミング抽出装置及び映像表示装置
US7554889B2 (en) * 2005-07-28 2009-06-30 Zoran Corporation Data sampling and extraction method and system
JP4542979B2 (ja) * 2005-10-28 2010-09-15 株式会社東芝 再生装置
US7536618B2 (en) * 2006-05-25 2009-05-19 Micron Technology, Inc. Wide frequency range signal generator and method, and integrated circuit test system using same
US8176351B2 (en) * 2006-08-21 2012-05-08 National Instruments Corporation Sampling mechanism for data acquisition counters
JP4814198B2 (ja) * 2007-10-17 2011-11-16 ルネサスエレクトロニクス株式会社 デコード装置、再生装置及びデコード方法
TWI384470B (zh) * 2008-11-28 2013-02-01 Sunplus Technology Co Ltd 偵測光碟片上群切區的方法與裝置
US8645589B2 (en) 2009-08-03 2014-02-04 National Instruments Corporation Methods for data acquisition systems in real time applications
CN107452309B (zh) * 2017-08-31 2023-04-25 深圳市明微电子股份有限公司 一种自适应数据频率的解码电路

Family Cites Families (6)

* Cited by examiner, † Cited by third party
Publication number Priority date Publication date Assignee Title
KR100472335B1 (ko) * 1996-12-19 2005-02-21 마쯔시다덴기산교 가부시키가이샤 광 디스크, 광 디스크의 추기정보 기록방법 및 재생방법, 광디스크의 재생장치, 광 디스크의 기록 재생장치, 광 디스크의추기정보 기록장치 및 광 디스크의 기록장치
JPH10198965A (ja) * 1997-01-10 1998-07-31 Sony Corp 光ディスク再生方法及び光ディスク再生装置
JP3809688B2 (ja) * 1997-02-13 2006-08-16 ソニー株式会社 ディスク再生装置
KR100362567B1 (ko) * 1998-12-24 2003-04-07 삼성전자 주식회사 버스트컷팅영역에기록되어있는정보들을디코딩하기위한동기정보검출방법
JP4348851B2 (ja) * 2000-09-21 2009-10-21 ソニー株式会社 記録媒体、ディスク記録装置および方法、並びにディスク再生装置及び方法
TW479224B (en) * 2000-11-10 2002-03-11 Via Tech Inc Method and circuit for controlling burst cutting area clock of compact disk

Also Published As

Publication number Publication date
JP2004127474A (ja) 2004-04-22
US20040066723A1 (en) 2004-04-08
US7006415B2 (en) 2006-02-28
TWI262489B (en) 2006-09-21

Similar Documents

Publication Publication Date Title
JP4336115B2 (ja) Bca信号のサンプリングクロックジェネレータ
JPH0714171A (ja) 情報記録媒体およびその再生装置
US7433286B2 (en) Jitter detection apparatus
JP4515713B2 (ja) 光記録媒体上の位相基準信号とウォッブル信号との位相差検出装置及び方法
JP3881835B2 (ja) 記録再生装置
CN100385388C (zh) 预录区信号的取样时脉产生器
JP2001357627A (ja) 情報記録方法及びその装置
TW200534251A (en) Optical disk apparatus, method of recording information, and information recording medium
US20050111318A1 (en) Optical disc apparatus, clock signal generation method, program, and control apparatus
US20030133375A1 (en) Information storage medium, information recording apparatus, and information playback apparatus
TWI277962B (en) Method and apparatus for generating sampling clock for burst cutting area of an optical disc
TW200523883A (en) Clock signal generation apparatus, apparatus for generating a clock signal using an information recording medium, integrated circuit, clock signal generation method, and method for generating a clock signal using an information recording medium
US20040264325A1 (en) Optical disk apparatus and information recording apparatus
EP1439536A1 (en) Sampling clock generator for bca data decoding
JP3998427B2 (ja) 回転制御回路及びこれを用いた記録可能な光ディスクドライブ装置並びに回転制御方法
JP2000040309A (ja) クロック再生装置及びアドレス再生装置
KR100459704B1 (ko) 광기록매체상의 위상기준신호와 워블 신호 사이의 위상차보상 장치 및 방법
JP2004046924A (ja) 記録用クロック信号発生装置およびその方法
JP2003317260A (ja) 光ディスク装置
JPH11203787A (ja) イコライザの特性制御回路を備えた光ディスク再生装置
JP2006228317A (ja) クロック発生回路、およびディスク駆動装置
JP2002050042A (ja) 光ディスク記録再生装置
JP4618454B2 (ja) タイミング信号生成装置
JPH08149418A (ja) ディスク再生装置の同期信号検出装置
JP2005158239A (ja) 光ディスク装置、クロック信号生成方法、プログラムおよび制御装置

Legal Events

Date Code Title Description
A131 Notification of reasons for refusal

Free format text: JAPANESE INTERMEDIATE CODE: A131

Effective date: 20050913

A601 Written request for extension of time

Free format text: JAPANESE INTERMEDIATE CODE: A601

Effective date: 20051213

A602 Written permission of extension of time

Free format text: JAPANESE INTERMEDIATE CODE: A602

Effective date: 20051216

A02 Decision of refusal

Free format text: JAPANESE INTERMEDIATE CODE: A02

Effective date: 20060411

A521 Written amendment

Free format text: JAPANESE INTERMEDIATE CODE: A523

Effective date: 20060809

A521 Written amendment

Free format text: JAPANESE INTERMEDIATE CODE: A523

Effective date: 20060809

A911 Transfer to examiner for re-examination before appeal (zenchi)

Free format text: JAPANESE INTERMEDIATE CODE: A911

Effective date: 20060907

A912 Re-examination (zenchi) completed and case transferred to appeal board

Free format text: JAPANESE INTERMEDIATE CODE: A912

Effective date: 20060929

A521 Written amendment

Free format text: JAPANESE INTERMEDIATE CODE: A523

Effective date: 20090527

A01 Written decision to grant a patent or to grant a registration (utility model)

Free format text: JAPANESE INTERMEDIATE CODE: A01

A61 First payment of annual fees (during grant procedure)

Free format text: JAPANESE INTERMEDIATE CODE: A61

Effective date: 20090626

FPAY Renewal fee payment (event date is renewal date of database)

Free format text: PAYMENT UNTIL: 20120703

Year of fee payment: 3

R150 Certificate of patent or registration of utility model

Ref document number: 4336115

Country of ref document: JP

Free format text: JAPANESE INTERMEDIATE CODE: R150

Free format text: JAPANESE INTERMEDIATE CODE: R150

FPAY Renewal fee payment (event date is renewal date of database)

Free format text: PAYMENT UNTIL: 20120703

Year of fee payment: 3

FPAY Renewal fee payment (event date is renewal date of database)

Free format text: PAYMENT UNTIL: 20130703

Year of fee payment: 4

R250 Receipt of annual fees

Free format text: JAPANESE INTERMEDIATE CODE: R250

R250 Receipt of annual fees

Free format text: JAPANESE INTERMEDIATE CODE: R250

R250 Receipt of annual fees

Free format text: JAPANESE INTERMEDIATE CODE: R250

R250 Receipt of annual fees

Free format text: JAPANESE INTERMEDIATE CODE: R250

R250 Receipt of annual fees

Free format text: JAPANESE INTERMEDIATE CODE: R250

R250 Receipt of annual fees

Free format text: JAPANESE INTERMEDIATE CODE: R250

R250 Receipt of annual fees

Free format text: JAPANESE INTERMEDIATE CODE: R250

LAPS Cancellation because of no payment of annual fees