JP4281069B2 - 双方向クラッチ - Google Patents

双方向クラッチ Download PDF

Info

Publication number
JP4281069B2
JP4281069B2 JP2007035277A JP2007035277A JP4281069B2 JP 4281069 B2 JP4281069 B2 JP 4281069B2 JP 2007035277 A JP2007035277 A JP 2007035277A JP 2007035277 A JP2007035277 A JP 2007035277A JP 4281069 B2 JP4281069 B2 JP 4281069B2
Authority
JP
Japan
Prior art keywords
piece
shaft member
shaft
retainer
hardness material
Prior art date
Legal status (The legal status is an assumption and is not a legal conclusion. Google has not performed a legal analysis and makes no representation as to the accuracy of the status listed.)
Active
Application number
JP2007035277A
Other languages
English (en)
Other versions
JP2008196667A (ja
JP2008196667A5 (ja
Inventor
大輔 高橋
Current Assignee (The listed assignees may be inaccurate. Google has not performed a legal analysis and makes no representation or warranty as to the accuracy of the list.)
TOK Bearing Co Ltd
Original Assignee
TOK Bearing Co Ltd
Priority date (The priority date is an assumption and is not a legal conclusion. Google has not performed a legal analysis and makes no representation as to the accuracy of the date listed.)
Filing date
Publication date
Application filed by TOK Bearing Co Ltd filed Critical TOK Bearing Co Ltd
Priority to JP2007035277A priority Critical patent/JP4281069B2/ja
Priority to CN2007101675979A priority patent/CN101245819B/zh
Publication of JP2008196667A publication Critical patent/JP2008196667A/ja
Publication of JP2008196667A5 publication Critical patent/JP2008196667A5/ja
Application granted granted Critical
Publication of JP4281069B2 publication Critical patent/JP4281069B2/ja
Active legal-status Critical Current
Anticipated expiration legal-status Critical

Links

Images

Landscapes

  • One-Way And Automatic Clutches, And Combinations Of Different Clutches (AREA)
  • Mechanical Operated Clutches (AREA)

Description

本発明は、軸部材の一方向への回転を許容して他方向への回転を阻止するも、所定以上のトルクを付与することにより、軸部材の他方向への回転を可能とし、この状態では逆に一方向への回転を阻止する、いわゆる双方向クラッチに関する。
上述したような双方向クラッチは、上下に開閉動を行なう蓋や扉、例えば、ノート型パーソナルコンピュータの蓋のヒンジ部、等で使用される。このようなパーソナルコンピュータでは、蓋の内面側には液晶パネル等の表示部があり、該蓋を開けたとき、液晶パネルを任意の角度位置で保持させることが必要である。即ち、双方向クラッチは、パーソナルコンピュータのオペレータが比較的小さな力で蓋を回動させ得るだけでなく、任意の回動位置で静止し得るようにするために使用されるものである。
双方向クラッチのその他の用途としては、水平方向の軸部材の周りで回動し得るようなった扉を持つ家具や戸棚等も挙げられる。即ち、扉を重力に抗して開けたとき、該扉を任意の回動位置で停止させるために双方向クラッチを使用することができる。
従来の双方向クラッチとしては、例えば、特許文献1、2及び3に開示されているものが知られている。
特許第2880296号公報 特許公開公報2006−052791号 特許公開公報2006−052792号
これら従来の双方向クラッチは、軸部材を挿通可能な中央開口を有する複数のプレート部材と、各プレート部材の中央開口の内端面と係止可能に軸部材の外周面に沿って等間隔で配設されたニードルローラ(以下単にニードルと称する)とを具備している。
複数のプレート部材は、互いに同じ形状を持ち、中央開口の内端面が軸部材の軸線に沿って略同一面を形成するように整列させた積層状態で使用される。双方向クラッチの軸線に直交する方向での断面において、断面円形の軸部材に対し、これを囲む各プレート部材は、軸部材に面する内端面が直線ないし略直線形で、かつ外端面が内側に湾曲した凹面形の断面形状を有する細肉部を、軸部材の外周面に沿って等間隔で複数箇所に有する。このプレート部材の細肉部は径方向への外力の作用により、僅かながら一時的に変形可能かつ原形復帰可能な弾性を備える。
従来の双方向クラッチは、更に、このプレート部材の細肉部と接する位置にニードルを保持するためのリテーナを備えている。ニードルは、リテーナにより、軸部材の外周面と
プレート部材の細肉部の内端面とリテーナの側面とにより囲まれたポケット部に保持される。ポケット部は、軸部材の円周方向の中央部に、軸部材の外周円弧とプレート部材の細肉部内端面の略直線形との関係により、軸部材の外周面とプレート部材の細肉部の内端面との距離が最も短い狭窄部を有し、この狭窄部の両側は両者間の距離が逆テーパー状に拡開して拡開部が形成されている。
狭窄部における軸部材の外周面とプレート部材の細肉部の内端面との距離は、ニードルの径よりも小さく設定されている。また、拡開部は狭窄部から最も離れた部分が、軸部材の外周面とプレート部材の細肉部の内端面との距離がニードルの径よりも大きく設定されている。なお、リテーナには、ニードルを狭窄部方向に付勢するバネ部材が備えられている。
次に、以上で述べた従来の双方向クラッチの動作について説明する。
軸部材に対してニードルをポケット部の狭窄部に向かって移動させる方向にトルクが加わると、狭窄部における軸部材の外周面とプレート部材の細肉部の内端面との間の距離がニードルの径よりも小さいため、ニードルは軸部材に制動力を付与する。即ち、ニードルは軸部材の回転に伴なって転動しつつ狭窄部に楔のように食い込み、ニードルと軸部材との間に大なる摩擦力を生ぜしめ、この摩擦力が制動力として軸部材に作用する。このとき、
ニードルを付勢するバネ部材は、ニードルによる軸部材に対する制動動作の確実性を高める作用を果たす。しかしながら、上述のトルクが所定値を超えたとき、ニードルはプレート部材の細肉部を弾性変形させ、狭窄部を押し広げて反対側に移動する。
一方、軸部材に対してニードルがポケット部の狭窄部から離れる方向にトルクが加えられたときには、ニードルはバネ部材の弾発力に抗しつつ拡開部に留まり、拡開部内で空転し、該軸部材に上述したような制動力が作用することはない。
かくして、以上に述べたような双方向クラッチが、例えばノート型パーソナルコンピュータの蓋のヒンジ部で使用された場合を想定すると、操作者が手で蓋をその閉鎖位置から開くとき、蓋の回動については比較的小さな力で行うことが可能であり、蓋が任意の角度位置まで回動させた後に操作者が蓋から手を離したとき、上述した制動力が働き、このため蓋は該角度位置に保持されることになる。また、蓋を閉鎖位置に向かって比較的大きな力で押し込むと、ニードルはプレート部材の細肉部を弾性変形させて狭窄部を押し広げて転動を開始するため、上述の制動力が解除され、これにより蓋は元の閉鎖位置に戻ることになる。
上述した従来の双方向クラッチの課題としては、先ず、長期の使用により作動信頼性が落ちるという耐久性の問題が挙げられる。即ち、プレート部材の細肉部が繰り返し弾性変形させられると、該細肉部が次第に塑性変形してポケット部の狭窄部が広がったままになってしまい、軸部材に対する制動時に、ニードルと軸部材との間に生じる摩擦力が小さくなり必要な制動が得られなくなるという、長期の使用による軸部材に対する制動力の減衰という問題があった。
また、従来の双方向クラッチの別の課題としては、軸部材に作用させる制動力の調整が難しく、製造コストが高くつく点が挙げられる。
すなわち、軸部材に作用させる制動力を変えるときは、主にプレートの枚数、プレートの形状などで調整することになるが、この場合は、プレート金型またはハウジング金型の新規作成が必要となり、製造コストの上昇を招いていた。また、プレート部材は金型を用いて鋼鈑から打抜き加工により製造されるが、一つの双方向クラッチに多数枚のプレート部材を使用するため、プレート金型の寸法精度が高くないとプレート部材毎に寸法形状の製造誤差が大きくなり、軸部材に作用させる制動力も各プレートにより異なりが生じてしまう。かくして、多数枚のプレート部材の寸法精度を確保するために、金型等に高コストがかかっていた。
本発明の課題は、従来の双方向クラッチに比べて、軸部材に作用させる制動力の長期使用による減衰が少なくて耐久性が高く、作動信頼性が高い、双方向クラッチを提供することである。
本発明の別の課題は、部品点数が少なく、また制動力の調整が容易でそれによるコストの上昇も少ない双方向クラッチを提供することである。
本発明に係る双方向クラッチは、軸部材が相対回転自在に通されたベース部材と、該ベース部材に立設され、軸部材の周方向に間隔を開けて配置された複数のリテーナ部材と、該複数のリテーナ部材間に配設され、軸部材の外周面との間に所定の距離をおいて、かつ軸部材の径方向に移動自在に配置された駒部材と、これらの軸部材、リテーナ部材および駒部材により形成される空間部に挿入された転動部材とを有する。前記空間部は、軸部材の周方向中央に形成され、軸部材と駒部材との距離が転動部材の径よりも小さい狭窄部と、該狭窄部の両側に逆テーパ状に拡開形成された軸部材と駒部材との距離が転動部材の径よりも大きい拡開部とを有する。本発明による双方向クラッチは、更に、前記駒部材を軸部材方向に付勢する第1の付勢手段を有する。
本発明に係る双方向クラッチは、更に、前記リテーナ部材に支持され、前記空間部において転動部材を狭窄部方向に付勢する第2の付勢手段を有する。
また、本発明に係る双方向クラッチにおいて、駒部材は、好ましくは、高硬度材料で形成される。また、駒部材をは樹脂材料で形成し、駒部材の転動部材と接する面に高硬度材料で形成された板部材を介設してもよい。更に、駒部材を樹脂材料と高硬度材料との複合体として構成し、駒部材の転動部材と接する面を高硬度材料で形成したものであってもよい。ここで高硬度材料には、金属、セラミック又は樹脂が含まれる。
本発明に係る双方向クラッチにおいて、前記駒部材を付勢する第1の付勢手段は、好ましくは、前記リテーナの周囲に巻回したコイルばねで構成する。また、前記駒部材を付勢する第1の付勢手段は、前記リテーナの周囲に設けた横断面C字形の略円筒形の板ばねで構成してもよい。
以上に述べたような本発明の構成によれば、転動部材が、空間部において、狭窄部の一方の拡開部から狭窄部を押し広げて他方の拡開部に移動するとき、駒部材はその外面に設けられた付勢手段の弾発力に依存して軸部材の径方向の移動を行なうため、常に安定した制動力を軸部材に作用させることが可能となり、双方向クラッチの長期の使用による耐久性と作動信頼性を大巾に向上させることができる。
また、本発明によれば、従来のプレート部材の製造に必要とされる高価な金型を用いることなく駒部材を製造することができるので、双方向クラッチの製造コストを下げることができる。
更に、本発明によれば、駒部材を付勢する付勢手段は、製造が安価なコイルばねを用いることが可能であり、しかも軸部材に作用させる制動力の調整は所望のばね定数を持つコイルばねに交換するだけで行うことができるので、双方向クラッチの製造コストをは大巾に下げることが可能となる。
従って、本発明によれば、軸部材に対する制動力を異ならせた種々の製品を製造する場合も、異なったばね定数力を持つ付勢手段を揃えればよいので、従来のように製品毎にプレート部材の製造用の金型を用意する必要がなく、双方向クラッチの製造コストを大巾に下げることができる。
次に、図1ないし図5を参照して、本発明の第1の実施形態について説明する。なお、図1は本発明に係る双方向クラッチの側面図、図2は図1の2−2線に沿う断面図、図3は図2の3−3線に沿う断面図、図4は図2の4−4線に沿う断面図、図5は図2の要部拡大図である。
図1ないし図4に示すように、双方向クラッチはベース部材10を備え、このベース部材10は適当な金属材料又は樹脂材料で作られる。ベース部材10は環状の本体10Aを有し、本体10Aの軸方向外面にはその径方向に一対の突状部10B(図1及び図3参照)が形成されている。この突状部10Bは双方向クラッチを相手機構部材に回転不能に取り付けるための突起部である。
図3に示すように、ベース部材本体10Aの中心部には軸部材12が回転自在に挿通される孔10Cが形成されている。図1に示すように、軸部材12の一方の端部側にはストッパピン12Aが貫通して設けられ、このストッパピン12Aによりベース部材本体10Aが軸部材12の該端部から脱落しないようにされている。
図1及び図3に示すように、軸部材12の他端部には、例えば、横断面がD字形になるように、平坦面部12Bが形成され、この他端部は、当該平坦面部12Bによって、例えばノート型パーソナルコンピュータの蓋のヒンジ軸と一体回転自在に連結される。
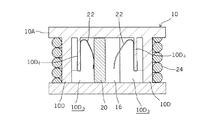
図2に示すように、環状のベース部材10は、更に本体10Aの内面側から一体的に軸部材12と平行に立設されたリテーナ部10Dを有する。このリテーナ部10Dは扇形の横断面を有して3箇所以上に形成されて成り、図示の実施形態においては、4箇所に形成されている。これらの扇形リテーナ部10Dは、軸部材12の周方向に等間隔で配置され、各リテーナ部10Dは軸部材12の外周面に沿って延びる湾曲した内面10Dと、環状のベース部材本体10Aの外面に沿って延びる湾曲し外面10Dとを備える。各湾曲内面10Dは軸部材12の外周面を画成する円よりも幾分大きな同心円によって画成され、各湾曲外面10Dは環状のベース部材本体10Aの外周面を画成する円よりも小さな同心円によって画成される。
図2に示すように、互いに隣接する2つのリテーナ部10D間には、軸部材12の径方向に延びるガイド通路14が形成され、各ガイド通路14の径方向内端の開口部には、軸部材12の外周面が露出している。
図2及び図3に示すように、本発明に係る双方向クラッチは、また、各ガイド通路14に沿って径方向に摺動自在に収容された駒部材16を備える。各駒部材16の径方向内面は、軸部材12の径方向の面に対して直交する平坦面によって構成され、軸部材12の外周面と、左右両側のリテーナ部10Dの側面と協働して空間18を形成する。
駒部材16は高硬度の金属製とされ、この実施例においては、鉄系燒結材で形成されている。高硬度の金属としては、他に浸炭焼入鋼材等も使用可能である。また、駒部材16を構成する材料は金属に限られない。高硬度材料であれば、セラミック、あるいは樹脂であっても使用に耐え得る程度に硬度の高いものは採用可能である。
双方向クラッチは、更に、空間部18内に収容された転動部材としてのニードル20を備える。このニードル20の軸部材12の軸線方向の長さは、図3に示すように駒部材16の長さと実質的に同一である。
図5に詳しく図示するように、駒部材16の径方向内面は軸部材12の径方向の面に対して直交する平坦面によって構成されるのに対して軸部材12の外周面は真円の曲面なので、空間部18は、中央部に駒部材16の径方向内面と軸部材12の外周面との距離が最も狭い狭窄部18Aを有し、狭窄部18Aの両側に軸部材12の周囲方向に沿って逆テーパ状に拡開形成された拡開部18Bを有する。狭窄部18Aにおける、駒部材16の径方向内面と軸部材12の外周面と距離はニードル20の径よりも小さい。拡開部18Bにおける、駒部材16の径方向内面と軸部材12の外周面と距離はニードル20の径よりも大きい。
図4及び図5に示すように、互いに隣接する2つの扇形リテーナ部10Dの向かい合った側面、即ちガイド通路14を形成する側面には、該側面に対して垂直に穿設された溝部10D(図4参照)が形成されている。また、図4に示すように、各溝部10D内の奥にはベース部材本体10Aと一体に隔壁部10Dが形成されている。
図2、図4及び図5に示すように、この各溝部10D内の奥に形成された隔壁部10Dには、板ばね22が取り付けられている。各板ばね22は曲げ加工されて、その一端部は隔壁部10Dの自由端に装着され、他端部は各空間部18の狭窄部18B内に伸出するように曲げられ、空間部18B内に配置されニードル20を狭窄部18Aに向かって弾性的に付勢する手段(本発明における第2の付勢手段)として機能する。この板ばね22の存在により、ニードル20の軸部材12に対する制動動作の確実性を高めることができる。
ニードル20に対する付勢手段は、板ばねに限らず、弾発力を発揮する素材であれば、当業界に現在知られている如何なるものも使用可能であることは勿論である。
図1ないし図5に示すように、双方向クラッチは、更に、4つの扇形リテーナ部10Dの外側湾曲面10Dの周囲に巻回装着されたコイルばね24を備える。このコイルばね24は4つの駒部材16を軸部材12に向かって弾性的に付勢する手段(本発明における第1の付勢手段)として機能する。
駒部材16に対する付勢手段は、コイルばねに限らず、リテーナ部10Dの外側湾曲面10Dの周囲に装着できて弾発力を発揮する素材であれば、当業界に現在知られている如何なるものも使用可能であることは勿論である。例えば、横断面C字形の略円筒形の板ばねでもよい。
また、駒部材16に対する付勢手段は、各駒部材ごとに設けることも可能である。例えば、図8に示した如く、ベース部材10、扇形リテーナ部10D、後述する保持板26の周囲を囲むように円筒形のハウジング111を設け、該ハウジング111の内周面と個々の駒部材16の外面との間のそれぞれに、波状に屈曲させた板ばね124を設け、該板ばね124により、個々の駒部材16を軸部材12に向かって弾性的に付勢するようにしてもよい。いずれにしても、駒部材16に対する付勢手段は、当業界において公知の付勢手段の中から適宜選択することができる。
図1及び図3に示すように、双方向クラッチは、更に、駒部材16、ニードル部材20及びコイルばね24をベース部材本体10Aと協働して挟持し、かつ軸方向へ抜けないようにするための保持板26を備え、この保持板26は、着脱自在のEリング等の止め具28により所定位置に保持される。
次に、図5を参照して以上で述べた双方向クラッチの動作について説明する。
以下の説明は、双方向クラッチの回転軸12がノート型パーソナルコンピュータの蓋のヒンジ軸と一体に回転するように結合されている場合について行なう。
また、図5に示された状態においては、ノート型パーソナルコンピュータの蓋が閉鎖位置にあって、双方向クラッチのニードル20が図5に示す空間部18の一方(図5中左側)の拡開部18Bにあるものとする。
図5において、蓋が閉鎖位置から矢印Aの方向に回動させられているとき、軸部材12も同じ方向に回動する。これに伴ないニードル20は図中時計方向に転動しつつ、板ばね22の付勢力に抗して、矢印Aと同方向即ち図中反時計方向に移動する。しかし、扇形リテーナ部10Dの側面により移動を妨げられ、二―ドル20の径より径方向の距離が大きい拡開部18B内で空転する。
蓋が閉鎖位置から一定の開位置まで移動して蓋の開操作が停止すると、重力の作用により、蓋を閉鎖位置方向に戻そうとする力が軸部材12に作用する。このとき、軸部材12は図5の矢印Aと反対方向に回動し、これに伴ないニードル20は図中反時計方向に転動しつつ、矢印Aと反対の方向に狭窄部18Aまで移動する。狭窄部18Aでは、軸部材12の外周面と駒部材16の径方向内面との間の距離がニードルの径よりも小さいため、ニードル20は軸部材12の回転に伴なって転動しつつ狭窄部に楔のように食い込み、軸部材12に制動力を付与する。これにより、蓋は開操作が停止した開位置に保持される。
次に、蓋を閉じるときは、蓋を所定以上の力で押し下げる操作が必要になる。この力は、駒部材16の径方向外方への移動を許容するコイルばね24の弾発力に依存して決まり、その弾発力以上の力である。このとき、軸部材12に対して図5の矢印Aと反対方向に作用するトルクが、コイルばね24の弾性力により定まる所定値以上になると、ニードル20は、コイルばね24の弾性力に抗して狭窄部18Aを押し広げ、駒部材16を軸部材12の径方向外方に移動させる。駒部材16が外方に移動すると、ニードル20は狭窄部18Aを超えた反対側(図5中右側)の拡開部18Bに移動する。この図5中右側の拡開部18Bでは、二―ドルの動きに対する抵抗は生じないため、蓋は閉鎖位置まですんなり戻ることができる。
次に、図2に対応する図6を参照して、本発明に係る双方向クラッチの第2の実施形態について説明する。
第2の実施形態は、駒部材16の構成に関する変更点を除けば第1の実施形態と同じものである。即ち、第2の実施形態では、駒部材16Aは低硬度の樹脂材料で形成されている。低硬度駒部材16Aの径方向内面とニードル20との間には高硬度材料で形成された板部材16Bが介設される。この板部材16Bは、高硬度材料、例えば鉄系燒結金属材で構成されることが好ましい。浸炭焼入鋼材を用いることも可能である。また、セラミックや、硬度が必要以上に高ければ樹脂材料を使用することも可能である。
また、この第2の実施形態において、駒部材を、低硬度の樹脂材料から形成された低硬度部16Aと、この低硬度部16Aの径方向内面側に高硬度材料で形成された高硬度部16Bとから成る複合体として一体に構成してもよい。
以上で述べた第1及び第2の実施形態において、ニードル20が軸部材12の回動に伴なって転動して狭窄部18Aに偏倚することが確実に保証される場合には、ニードル付勢手段即ち板ばね22については省いてもよい。
また、以上で述べた第1及び第2の実施形態においては、ベース部材本体10Aの内面側を、十字方向に延びるガイド通路14で四分割するように扇形リテーナ部10Dを4つ設け、各ガイド通路14に一つずつ計4つの駒部材16を使用した。しかし、扇形リテーナ部10D、ガイド通路14、駒部材16の数はこれに限られるものではない。それぞれ3つ以上の複数であれば双方向クラッチの安定した動作を得ることができる。ただ、それらは軸部材12の回りに等間隔に配置することが好ましい。
また、以上では、第1及び第2の実施形態について、双方向クラッチの回転軸12がノート型パーソナルコンピュータの蓋のヒンジ軸と一体に回転するように結合されている場合について説明したが、双方向クラッチのベース部材10がノート型パーソナルコンピュータの蓋のヒンジ軸と一体に回転するように結合されている場合も実質的に同様であることは理解できるであろう。
次に、図7を参照して、本発明に係る双方向クラッチの第3の実施形態について説明する。
第3の実施形態は、転動部材に関する変更点を除けば図3に示された実施形態と同じものである。即ち、第3の実施形態では、転動部材120は、図3の実施形態におけるニードルに代えて、軸方向に配列した複数の、図示例では2個の、ボールで構成されている。この実施形態を採用することにより製造コストをより抑えることができる利点がある。
本発明に係る双方向クラッチの第1の実施形態を示す側面図である。 図1の2−2線に沿う断面図である。 図2の3−3線に沿う断面図である。 図2の4−4線に沿う断面図である。 図2の部分拡大図である。 本発明に係る双方向クラッチの第2の実施形態を示す図2に対応する断面図である。 本発明に係る双方向クラッチの第3の実施形態を示す図3に対応する断面図である。 駒部材に対する付勢手段の変形例を示す図3に対応する断面図である。
符号の説明
10:ベース部材
10A:ベース部材本体
10B:突状部
10C:孔
10D:扇形リテーナ部
10D:内側湾曲面
10D:外側湾曲面
10D:溝部
10D:隔壁部
12:軸部材
12A:ストッパピン
12B:平坦面部
14:ガイド通路
16:駒部材
18:空間部
18A:狭窄部
18B:拡開部
20:ニードル
22:板ばね(ニードル付勢手段)
24:コイルばね(駒部材付勢手段)
26:保持板
28:保持リング

Claims (8)

  1. 軸部材が相対回転自在に通されたベース部材と、
    該ベース部材に立設され、軸部材の周方向に間隔を開けて配置された複数のリテーナ部材と、
    該複数のリテーナ部材間に配設され、軸部材の外周面との間に所定の距離をおいて、かつ軸部材の径方向に移動自在に配置された駒部材と、
    これらの軸部材、リテーナ部材および駒部材により形成される空間部と、
    該空間部に挿入された転動部材と、
    前記空間部における、軸部材の周方向中央の、軸部材と駒部材との距離が転動部材の径よりも小さい狭窄部と、該狭窄部の両側に逆テーパ状に拡開形成された軸部材と駒部材との距離が転動部材の径よりも大きい拡開部と、
    前記駒部材を軸部材方向に付勢する第1の付勢手段とを備えることを特徴とする、双方向クラッチ。
  2. 前記リテーナ部材に支持され、前記空間部において前記転動部材を前記狭窄部方向に付勢する第2の付勢手段が設けられていることを特徴とする、請求項1に記載の双方向クラッチ。
  3. 前記駒部材が高硬度材料で形成されることを特徴とする、請求項1または2に記載の双方向クラッチ。
  4. 前記駒部材が低硬度材料で形成され、該駒部材の前記転動部材と接する面に高硬度材料で形成された板部材を介設したことを特徴とする、請求項1または2に記載の双方向クラッチ。
  5. 前記駒部材が低硬度材料と高硬度材料との複合体として構成され、前記駒部材の前記転動部材と接する面を前記高硬度材料で形成したことを特徴とする、請求項1または2に記載の双方向クラッチ。
  6. 前記高硬度材料には、金属、セラミック又は樹脂が含まれることを特徴とする、請求項3乃至5のいずれか1項に記載の双方向クラッチ。
  7. 前記第1の付勢手段は、前記リテーナの周囲に巻回したコイルばねで構成されることを特徴とする、請求項1乃至6のいずれか1項に記載の双方向クラッチ。
  8. 前記第1の付勢手段は、前記リテーナの周囲に設けた横断面C字形の略円筒形の板ばねで構成されることを特徴とする、請求項1乃至6のいずれか1項に記載の双方向クラッチ。

JP2007035277A 2007-02-15 2007-02-15 双方向クラッチ Active JP4281069B2 (ja)

Priority Applications (2)

Application Number Priority Date Filing Date Title
JP2007035277A JP4281069B2 (ja) 2007-02-15 2007-02-15 双方向クラッチ
CN2007101675979A CN101245819B (zh) 2007-02-15 2007-10-29 双向离合器

Applications Claiming Priority (1)

Application Number Priority Date Filing Date Title
JP2007035277A JP4281069B2 (ja) 2007-02-15 2007-02-15 双方向クラッチ

Publications (3)

Publication Number Publication Date
JP2008196667A JP2008196667A (ja) 2008-08-28
JP2008196667A5 JP2008196667A5 (ja) 2008-10-09
JP4281069B2 true JP4281069B2 (ja) 2009-06-17

Family

ID=39755794

Family Applications (1)

Application Number Title Priority Date Filing Date
JP2007035277A Active JP4281069B2 (ja) 2007-02-15 2007-02-15 双方向クラッチ

Country Status (2)

Country Link
JP (1) JP4281069B2 (ja)
CN (1) CN101245819B (ja)

Cited By (1)

* Cited by examiner, † Cited by third party
Publication number Priority date Publication date Assignee Title
US20220195798A1 (en) * 2017-09-06 2022-06-23 Tok, Inc. Opening/closing direction restriction mechanism for manual shutter device and opening/closing direction restriction mechanism for suspended sliding door

Family Cites Families (3)

* Cited by examiner, † Cited by third party
Publication number Priority date Publication date Assignee Title
CN2077930U (zh) * 1990-05-10 1991-05-29 北京顺义潮白河节能器械制造厂 棘轮式双向超越离合器
JP2880296B2 (ja) * 1990-12-17 1999-04-05 不二精器株式会社 両方向係止クラッチ
JP2003240021A (ja) * 2002-02-19 2003-08-27 Ntn Corp 回転伝達装置

Cited By (3)

* Cited by examiner, † Cited by third party
Publication number Priority date Publication date Assignee Title
US20220195798A1 (en) * 2017-09-06 2022-06-23 Tok, Inc. Opening/closing direction restriction mechanism for manual shutter device and opening/closing direction restriction mechanism for suspended sliding door
US11512531B2 (en) * 2017-09-06 2022-11-29 Tok, Inc. Restriction mechanism for manual shutter device
US11993983B2 (en) * 2017-09-06 2024-05-28 Tok, Inc. Restriction mechanism for suspended sliding door device

Also Published As

Publication number Publication date
JP2008196667A (ja) 2008-08-28
CN101245819A (zh) 2008-08-20
CN101245819B (zh) 2011-06-08

Similar Documents

Publication Publication Date Title
JP2005207465A (ja) ニ軸ヒンジ装置
WO2002068833A1 (en) Hinge device
JP2002295446A (ja) ヒンジ装置
JP2009082241A (ja) 車両用シートリクライニング装置
JP4734283B2 (ja) 車両のチェック機能付きドアヒンジ
JPWO2008001951A1 (ja) ヒンジ装置並びにヒンジ装置を用いた電子機器
JP2005106139A (ja) チルトヒンジ
TW202122692A (zh) 可交替旋轉的雙軸式鉸鏈(二)
US20110047754A1 (en) Hinge device and apparatus using hinge device
JP5752528B2 (ja) 回転ダンパ
JP4281069B2 (ja) 双方向クラッチ
JP2012007635A (ja) 回転慣性質量ダンパー
JP2014025583A (ja) 円筒形部材固定装置
JP2002227825A (ja) 携帯用機器のヒンジ装置
JP2006046382A (ja) ヒンジ装置
JP2002005152A (ja) チルトヒンジ
JP4021175B2 (ja) ヒンジ装置
JP2008020033A (ja) チルトヒンジ及び電子機器
JP2016142005A (ja) ドアハンドルユニット
JP2012117563A (ja) 一方向移動制限機構
JP2020046015A (ja) クラッチ
CN209800640U (zh) 冷气风门
JP3979966B2 (ja) ドアヒンジユニット
JP2006307972A (ja) 直動ワンウェイクラッチ
CN101223373A (zh) 铰接组件

Legal Events

Date Code Title Description
A521 Request for written amendment filed

Free format text: JAPANESE INTERMEDIATE CODE: A523

Effective date: 20080724

A621 Written request for application examination

Free format text: JAPANESE INTERMEDIATE CODE: A621

Effective date: 20080724

A521 Request for written amendment filed

Free format text: JAPANESE INTERMEDIATE CODE: A523

Effective date: 20080818

A977 Report on retrieval

Free format text: JAPANESE INTERMEDIATE CODE: A971007

Effective date: 20090128

TRDD Decision of grant or rejection written
A01 Written decision to grant a patent or to grant a registration (utility model)

Free format text: JAPANESE INTERMEDIATE CODE: A01

Effective date: 20090203

A01 Written decision to grant a patent or to grant a registration (utility model)

Free format text: JAPANESE INTERMEDIATE CODE: A01

A61 First payment of annual fees (during grant procedure)

Free format text: JAPANESE INTERMEDIATE CODE: A61

Effective date: 20090305

R150 Certificate of patent or registration of utility model

Ref document number: 4281069

Country of ref document: JP

Free format text: JAPANESE INTERMEDIATE CODE: R150

Free format text: JAPANESE INTERMEDIATE CODE: R150

FPAY Renewal fee payment (event date is renewal date of database)

Free format text: PAYMENT UNTIL: 20120327

Year of fee payment: 3

FPAY Renewal fee payment (event date is renewal date of database)

Free format text: PAYMENT UNTIL: 20130327

Year of fee payment: 4

R250 Receipt of annual fees

Free format text: JAPANESE INTERMEDIATE CODE: R250

FPAY Renewal fee payment (event date is renewal date of database)

Free format text: PAYMENT UNTIL: 20140327

Year of fee payment: 5

R250 Receipt of annual fees

Free format text: JAPANESE INTERMEDIATE CODE: R250

R250 Receipt of annual fees

Free format text: JAPANESE INTERMEDIATE CODE: R250

R250 Receipt of annual fees

Free format text: JAPANESE INTERMEDIATE CODE: R250

R250 Receipt of annual fees

Free format text: JAPANESE INTERMEDIATE CODE: R250

R250 Receipt of annual fees

Free format text: JAPANESE INTERMEDIATE CODE: R250

S533 Written request for registration of change of name

Free format text: JAPANESE INTERMEDIATE CODE: R313533

R350 Written notification of registration of transfer

Free format text: JAPANESE INTERMEDIATE CODE: R350

R250 Receipt of annual fees

Free format text: JAPANESE INTERMEDIATE CODE: R250

S531 Written request for registration of change of domicile

Free format text: JAPANESE INTERMEDIATE CODE: R313531

R350 Written notification of registration of transfer

Free format text: JAPANESE INTERMEDIATE CODE: R350

R250 Receipt of annual fees

Free format text: JAPANESE INTERMEDIATE CODE: R250

R250 Receipt of annual fees

Free format text: JAPANESE INTERMEDIATE CODE: R250

R250 Receipt of annual fees

Free format text: JAPANESE INTERMEDIATE CODE: R250

R250 Receipt of annual fees

Free format text: JAPANESE INTERMEDIATE CODE: R250

R250 Receipt of annual fees

Free format text: JAPANESE INTERMEDIATE CODE: R250

R250 Receipt of annual fees

Free format text: JAPANESE INTERMEDIATE CODE: R250

R250 Receipt of annual fees

Free format text: JAPANESE INTERMEDIATE CODE: R250