JP4266344B2 - ガス発生器 - Google Patents

ガス発生器 Download PDF

Info

Publication number
JP4266344B2
JP4266344B2 JP2003422923A JP2003422923A JP4266344B2 JP 4266344 B2 JP4266344 B2 JP 4266344B2 JP 2003422923 A JP2003422923 A JP 2003422923A JP 2003422923 A JP2003422923 A JP 2003422923A JP 4266344 B2 JP4266344 B2 JP 4266344B2
Authority
JP
Japan
Prior art keywords
housing
annular
top plate
contact
gas
Prior art date
Legal status (The legal status is an assumption and is not a legal conclusion. Google has not performed a legal analysis and makes no representation as to the accuracy of the status listed.)
Expired - Lifetime
Application number
JP2003422923A
Other languages
English (en)
Other versions
JP2005178599A (ja
Inventor
征幸 山▲崎▼
Current Assignee (The listed assignees may be inaccurate. Google has not performed a legal analysis and makes no representation or warranty as to the accuracy of the list.)
Daicel Corp
Original Assignee
Daicel Chemical Industries Ltd
Priority date (The priority date is an assumption and is not a legal conclusion. Google has not performed a legal analysis and makes no representation as to the accuracy of the date listed.)
Filing date
Publication date
Application filed by Daicel Chemical Industries Ltd filed Critical Daicel Chemical Industries Ltd
Priority to JP2003422923A priority Critical patent/JP4266344B2/ja
Priority to FR0412813A priority patent/FR2863985B1/fr
Priority to DE102004059184A priority patent/DE102004059184A1/de
Priority to US11/011,032 priority patent/US7806435B2/en
Publication of JP2005178599A publication Critical patent/JP2005178599A/ja
Application granted granted Critical
Publication of JP4266344B2 publication Critical patent/JP4266344B2/ja
Anticipated expiration legal-status Critical
Expired - Lifetime legal-status Critical Current

Links

Images

Classifications

    • BPERFORMING OPERATIONS; TRANSPORTING
    • B60VEHICLES IN GENERAL
    • B60RVEHICLES, VEHICLE FITTINGS, OR VEHICLE PARTS, NOT OTHERWISE PROVIDED FOR
    • B60R21/00Arrangements or fittings on vehicles for protecting or preventing injuries to occupants or pedestrians in case of accidents or other traffic risks
    • B60R21/02Occupant safety arrangements or fittings, e.g. crash pads
    • B60R21/16Inflatable occupant restraints or confinements designed to inflate upon impact or impending impact, e.g. air bags
    • B60R21/26Inflatable occupant restraints or confinements designed to inflate upon impact or impending impact, e.g. air bags characterised by the inflation fluid source or means to control inflation fluid flow
    • B60R21/264Inflatable occupant restraints or confinements designed to inflate upon impact or impending impact, e.g. air bags characterised by the inflation fluid source or means to control inflation fluid flow using instantaneous generation of gas, e.g. pyrotechnic
    • B60R21/2644Inflatable occupant restraints or confinements designed to inflate upon impact or impending impact, e.g. air bags characterised by the inflation fluid source or means to control inflation fluid flow using instantaneous generation of gas, e.g. pyrotechnic using only solid reacting substances, e.g. pellets, powder
    • BPERFORMING OPERATIONS; TRANSPORTING
    • B60VEHICLES IN GENERAL
    • B60RVEHICLES, VEHICLE FITTINGS, OR VEHICLE PARTS, NOT OTHERWISE PROVIDED FOR
    • B60R21/00Arrangements or fittings on vehicles for protecting or preventing injuries to occupants or pedestrians in case of accidents or other traffic risks
    • B60R21/02Occupant safety arrangements or fittings, e.g. crash pads
    • B60R21/16Inflatable occupant restraints or confinements designed to inflate upon impact or impending impact, e.g. air bags
    • B60R21/26Inflatable occupant restraints or confinements designed to inflate upon impact or impending impact, e.g. air bags characterised by the inflation fluid source or means to control inflation fluid flow
    • B60R2021/26011Inflatable occupant restraints or confinements designed to inflate upon impact or impending impact, e.g. air bags characterised by the inflation fluid source or means to control inflation fluid flow using a filter through which the inflation gas passes

Landscapes

  • Physics & Mathematics (AREA)
  • Fluid Mechanics (AREA)
  • Engineering & Computer Science (AREA)
  • Mechanical Engineering (AREA)
  • Air Bags (AREA)

Description

本発明は、自動車両に搭載するエアバッグシステム用として適したガス発生器、およびエアバッグ装置に関する。
エアバッグ用ガス発生器は、乗員を保護するために膨張用ガスをエアバッグに送る役割をになうが、最近のコストダウンの傾向から、バッグ自体が簡素化されて薄い基布を使用する傾向にある。したがって、発生するガスの中に不純物を含んでいると、ガス発生器からのガスの噴出の勢いでバッグ基布が破損することが考えられるため、ガス発生器からの発生ガスはクリーンである必要がある。
特にガス発生器が、固形ガス発生剤を燃焼させて燃焼ガスを発生させるようなパイロ式ガス発生器の場合、燃焼残渣が発生するため、従来からパイロ式ガス発生器では、燃焼残渣を濾過冷却するためのフィルタが用いられている。
パイロ式ガス発生器の場合、軽量化の観点からハウジングをアルミニウムで形成したり、内部構造を簡素化したりすることが多いため、ガス発生剤の燃焼開始と同時にハウジング内部の圧力が上昇して、その圧力によりハウジングが変形する場合がある。ハウジングの強度が保たれている限りにおいて変形自体は問題ないが、変形することにより、フィルタとフィルタが接するハウジング壁面との間に隙間が生じて、その隙間から、十分冷却・浄化されないままの燃焼ガスがエアバッグ内に排出される、ショートパス現象が生じる恐れがある。
本発明に関連する先行技術として特許文献1がある。このガス発生器は、ベース16とキャップ14を組み合わせることで、内部に単一の空間を形成し、ガス発生剤23とフィルタ28、及び点火器18を配置している。
しかし、このガス発生器では、フィルタ28の上下端部側の外周面のそれぞれ一部が、ハウジング内周面と当接しており、この部分ではガスが通過しにくくなり、冷却・浄化の効率が低下することになるため、バッグ基布への悪影響が生じる。
米国特許公開公報 2003/0047925号
本発明が解決しようとする課題は、軽量化の観点からハウジングの構造を簡略化したり、材質を選定したりする場合であっても、エアバッグ用ガス発生器として適用したときに、エアバッグの膨張性能を損なうことのないガス発生器を提供することである。
本発明は、課題の解決手段として、
ガス排出口を有する周壁部、天板及び底板からなるハウジング、ハウジング内に収容された点火手段、点火手段により着火燃焼されるガス発生剤、点火手段及びガス発生剤を包囲するように配置された筒状フィルタとを備えたガス発生器であり、
周壁部と天板との環状接触部を含む面が上部環状斜面を形成し、周壁部と底板との環状接触部を含む面が下部環状斜面を形成しており、
筒状フィルタが、その両端面が上部環状斜面及び下部環状斜面に当接され、かつ周壁部との間に間隙を有するように配置されているガス発生器を提供する。
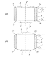
本発明の解決手段による作用効果(ショートパス現象の防止効果)を図6により説明する。図6は、本発明の作用効果を説明するためだけの図であり、ハウジングの変形状態をやや誇張して図示している。
図6(a)に示すとおり、従来技術のハウジングは、周壁部1、天板2、底板3から形成されており、内部に筒状フィルタ5が配置されている。
ガス発生器の作動時、圧力により、天板2及び底板3は軸方向に膨張し、二点鎖線で示すような天板2’及び底板3’のような状態となる。このとき、筒状フィルタ5の一端面6と天板2’の間、及び他端面7と底板3’の間には隙間ができるため、この隙間から、筒状フィルタ5を経由しない燃焼ガス(燃焼ガスのショートパス)がエアバッグ内に排出されることになる。
一方、本発明のハウジングは、図6(b)に示すとおり、周壁部1と天板2との環状接触部〔図6(a)の1a〕を含む面が上部環状斜面2aを形成し、周壁部1と底板3との環状接触部〔図6(a)の1b〕を含む面が下部環状斜面3aを形成している。
そして、筒状フィルタ5の一端面6は上部環状斜面2aに当接され、他端面7は下部環状斜面3aに当接され、周壁部1との間に間隙を有するように配置されている。上部環状斜面2aと下部環状斜面3aは、平面でもよいし、曲面でもよい。
筒状フィルタ5の一端面6及び他端面7は、上部環状斜面2aと下部環状斜面3aのみに接していることが好ましいが、一部が天板2及び底板3に接していてもよい。一端面6及び他端面7の一部が天板2及び底板3に接している場合は、一端面6及び他端面7のそれぞれの総面積の50%以上、好ましくは65%、より好ましくは80%以上が上部環状斜面2aと下部環状斜面3aと接していることが好ましい。
ガス発生器の作動時、圧力により、天板2及び底板3は軸方向に膨張し、二点鎖線で示すような天板2’及び底板3’のような状態となる。このとき、天板2’及び底板3’は、天板2の延長線と天板2’の接線とのなす角度がα、底板3の延長線と底板3’の接線とのなす角度βとなるように膨張変形している。
一方、上部環状斜面2aと下部環状斜面2bにおいて、天板2と上部環状斜面2aとのなす角度αは、前記αと同じ角度又は近似する角度になるように設定され、底板3と下部環状斜面3aのなす角度βは、前記βと同じ角度又は近似する角度になるように設定されている。
このように、図6(b)における上部環状斜面2aと下部環状斜面2bは、図6(a)に示すような膨張変形時と同様の形状(即ち、最も望ましくはα=αかつβ=β)に設定されているため(換言すれば、変形し難い形状に設定されているため)、殆ど膨張しない。
このため、ガス発生器の作動時においても、筒状フィルタ5の両端面6、7と、上部及び下部環状斜面2a、3aとの間には、隙間が生じにくくなり、従来技術のようなショートパス現象が起こるという問題が生じることがない。
また、ガス発生剤の燃焼時の圧力で、筒状フィルタ5が、半径方向外側に膨張することも考えられるが、図6(b)のとおり、筒状フィルタ5が半径方向外側に膨張したとき、両端面6、7と上部環状斜面2aと下部環状斜面3aは、ますます強固に押圧された状態で接触することになるため、ショートパス防止効果には全く影響はない。
なお、筒状フィルタは、ハウジング周壁部との間に間隙が設けられるように配置されているため、発生ガスはフィルタの全領域を通過するので、ガスの冷却・浄化効率が向上することになる。
本発明のガス発生器においては、筒状フィルタの両端面と上部及び下部環状斜面が、互いにハウジングの軸方向に圧接されていることが好ましい。
筒状フィルタの両端面と、上部及び下部環状斜面が、互いに押圧している状態になるようにすることで、接触面における密着度が高められ、ショートパス防止効果が高められるので好ましい。
筒状フィルタは、少なくとも軸方向に弾力性を有する構造のものが好ましく、例えば、平編みの金網を多層に編み上げ、型内で圧縮したものや、一本の線材を連続的に何層にも巻回したものから実質的に構成されるものが好ましい。
本発明のガス発生器においては、ハウジング内に、チューブ状の本体部と、本体部の一端側の開口部周縁からハウジングの半径方向に延ばされた環状平面とを有する、内部空間が第1燃焼室となるチューブ状部材が配置されており、
チューブ状部材が、ハウジングと同心円状に配置され、環状平面が天板に当接され、他端開口部側に点火手段が収容固定されており、
環状平面の外側周縁が、筒状フィルタの内周面に当接し、かつ天板と筒状フィルタ両端面との接触部を内側から覆っているものが好ましい。
環状平面の厚みを充分に厚くするか、又は環状平面の外周縁を底板方向に折り曲げることにより、筒状フィルタの内周面に当接し、かつ天板と筒状フィルタ両端面との接触部を内側から覆う。ただし、環状平面の折曲部の長さは、燃焼ガスがフィルタ全域を通過することを妨げない程度にする。
このようなチューブ状部材を配置して、チューブ状部材の環状平面の外側周縁により、天板と筒状フィルタ両端面との接触部を内側から覆うことで、ショートパス防止効果がより高められるので好ましい。
また、フィルタの内周面と当接させることで、組みつけ作業時にフィルタの位置決めが容易になる。
また、チューブ状部材は、本体部と環状平面は一体のものであっても、別部材であってもよいが、工数が少なくなるため、別部材にする方が好ましい。別部材にするとき、本体部の天板側端部は閉塞されていてもよい。
本発明のガス発生器においては、天板が中央部に凹部(ハウジング内側方向への凸部)を有しており、前記凹部が、チューブ状部材の一端側開口部内に存在しているものが好ましい。
このように凹部をチューブ状部材の一端側開口部内又は環状平面の中央孔内に存在させ、好ましくは凹部にチューブ状部材の一端側開口部又は環状平面の中央孔を嵌合させることにより、チューブ状部材が固定されるため、環状平面の外側周縁の位置にずれが生じにくくなるので、ショートパス防止効果がより高められる。
また、チューブ部材の位置決めが容易になるため、合わせて筒状フィルタの位置決めも容易になる。
このような作用効果を得るため、凹部の形状とューブ状部材の一端側開口部又は環状平面の中央孔の形状を一致させると共に、嵌合した場合にずれや緩みが生じないように大きさを調整することが望ましい。
本発明のガス発生器において、点火手段がガス発生剤(伝火用ガス発生剤)と点火器を有しており、点火手段の1つとして用いるガス発生剤(伝火用ガス発生剤)の燃焼温度の方が、点火手段により着火燃焼されるガス発生剤(エアバッグ膨張用のガス発生剤)の燃焼温度よりも高いものであることが好ましい。なお、伝火用ガス発生剤の一部又は全部に代えて、周知の伝火薬であるボロン硝石を用いることもできる。
燃焼温度の低いガス発生剤を使用することで、フィルタを軽量化できるため、ガス発生器の軽量化、小型化ができる。しかしながら、一方で燃焼温度の低いガス発生剤は、一般に着火性能が低く、特に構造簡略化の点から、点火器により直接ガス発生剤に着火するときなどに不利である。
そこで燃焼温度のより高いガス発生剤を点火器との間に介在させ、まずこの燃焼温度の高いガス発生剤を着火させ、そのエネルギーにより燃焼温度の低いガス発生剤を着火させることで、燃焼温度の低いガス発生剤の着火性も向上できる。
燃焼温度の高いガス発生剤としては、燃焼温度が1700〜3000℃のガス発生剤を用いることができ、例えば、燃料としてニトログアニジン、酸化剤として硝酸ストロンチウムを用い、必要に応じてバインダとしてカルボキシメチルセルロースのナトリウム塩、更に酸性白土を残渣捕集剤に添加したものを用いることができる。
燃焼温度の低いガス発生剤としては、燃焼温度が1000〜1700℃のガス発生剤を用いることができ、例えば、燃焼として硝酸グアニジン又はメラニン、酸化剤として塩基性酸化銅を用い、必要に応じてバインダとしてカルボキシメチルセルロースのナトリウム塩、その他の添加剤(水酸化アルミニウムなどの冷却剤)を用いることができる。
なお、いずれのガス発生剤の燃焼により生じたガスも、エアバッグの膨張に寄与するが、燃焼温度の低いガス発生剤の量の方が充分に多いので、燃焼ガス全体の温度は低くなるため、クーラントの量(厚さや密度)を低減することができる。
また、燃焼温度の高いガス発生剤と燃焼温度の低いガス発生剤の量を調整することにより、ガス発生器の出力を制御することにも寄与できる。
本発明のエアバッグ装置は、上記各発明のエアバッグ用ガス発生器と、衝撃を感知して前記ガス発生器を作動させる衝撃センサと、前記ガス発生器で発生するガスを導入して膨張するエアバッグと、前記エアバッグを収容するモジュールケースとを含むものである。
上記のエアバッグ用ガス発生器は、ガス発生器で発生するガスを導入して膨張するエアバッグ(袋体)と共にモジュールケース内に収容され、エアバッグ装置となる。このエアバッグ装置は、衝撃センサが衝撃を感知することに連動してガス発生器が作動し、ハウジングのガス排出口から燃焼ガスを排出する。この燃焼ガスはエアバッグ内に流入し、これによりエアバッグはモジュールカバーを破って膨出し、車両中の硬い構造物と乗員との間に衝撃を吸収するクッションを形成する。
本発明のガス発生器によれば、ガス発生剤の燃焼による発生ガスが、フィルタとハウジングの当接部分から漏れ出ることが防止されるため、エアバッグの膨張性能が損なわれない。
以下、図面により、本発明の実施の形態を説明する。図1は本発明のガス発生器の軸方向への断面図、図2は図1の部分拡大図、図3は図1とは異なる実施形態の部分拡大図、図4は図1の部分拡大図、図5は図1とは異なる実施形態の軸方向への断面図である。
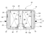
ガス発生器10は、天板12aと半分程度の周壁12bを形成するディフューザシェル12と、ディフューザシェル12と共に内部収容空間を形成する、底板13aと残余の周壁13bを形成するクロージャシェル13とを接合してなるハウジング11により、外殻容器が形成されている。
ディフューザシェル12とクロージャシェル13とは、溶接部14においてレーザー溶接等により接合されており、この溶接により、1つの周壁(周壁12bと13bの組み合わせ)が形成されている。
ディフューザシェル12の天板12aと周壁部12bとの環状接触部には、上部環状斜面14が設けられ、クロージャシェル13の底板13aと周壁部13bとの環状接触部には、下部環状斜面15が設けられている。上部環状斜面14と下部環状斜面15は、平面でも曲面でもよく、ガス発生器の作動により生じる膨張変形後と同様の形状に設定されているため(天板12aと上部環状斜面14とのなす角度αと底板13aと下部環状斜面15とのなすβが、図6(a)、(b)で説明したとおり、最も望ましくはα=αかつβ=βになる)、殆ど膨張しない。
ディフューザシェル12には、所要数のガス排出口17が設けられ、防湿のため、アルミニウムのシールテープ60で閉塞されている。図1では、ガス排出口17は単一の径を持つ複数のものであるが、異なる径を有する複数のものであってもよい。
ハウジング11内には、筒状フィルタ20が配置されている。筒状フィルタ20は、その両端面21、22が上部環状斜面14及び下部環状斜面15に当接されており、両端面21、22と上部及び下部環状斜面14、15は、ショートパス防止効果を高めるため、互いにハウジング11の軸方向に圧接されている。筒状フィルタ20は、平編みの金網を多層に編み上げ、型内で圧縮したものや、一本の線材を連続的に何層にも巻回したものから実質的に構成されるものが使用されている。
筒状フィルタ20をハウジング11内に配置するときには、予めハウジング11の内部形状と一致した形状に成形しておいたものを用いてもよいし、両端面21、22が平面であるものを用い、上部環状斜面14及び下部環状斜面15に当接したときに、図示するような形状になるように圧縮変形させてもよい。
このように上部環状斜面14及び下部環状斜面15が、ガス発生器の作動により生じる膨張変形後と同様の形状に設定されており、筒状フィルタ20の両端面21、22が上部環状斜面14及び下部環状斜面15に当接乃至圧接されているので、上部環状斜面14及び下部環状斜面15と両端面21、22との接触面からの燃焼ガスのショートパスが防止される。
図1では、端面21の一部は天板12aと接し、端面22の一部は底板13aと接しているが、ショートパス防止効果を高めるため、端面21、22のそれぞれの総面積の80%以上が上部環状斜面14及び下部環状斜面15と接するようにして配置されている。
筒状フィルタ20は、周壁部12b、13bとの間に間隙25を有するように配置されている。この間隙25の作用により、発生ガスが筒状フィルタ20の全領域を通過するようになるため、発生ガスの濾過及び冷却効果が向上される。
ハウジング11内には、ハウジング11と同心円状にチューブ状部材30が配置されており、チューブ状部材30は、チューブ状の本体部31と、本体部31と一体に形成され、一端側の開口部周縁からハウジングの半径方向に延ばされた環状平面32とを有している。
チューブ状部材30の内部空間は第1燃焼室35となり、外部空間は第2燃焼室50となる。第1燃焼室35内には、点火手段となる所要量の第1ガス発生剤(図示せず)及び点火薬を備えた点火器40が収容されている。この第1ガス発生剤は、点火器40の作動により着火燃焼して、第2ガス発生剤を着火燃焼させてエアバッグ膨張媒体となるガスを発生させるためのものであるほか、それ自体の燃焼による発生ガスもエアバッグの膨張に利用されるものである。
本体部31には、円周方向及び軸方向のそれぞれに等間隔になるように複数の連通孔34が設けられており、第1燃焼室35と第2燃焼室50は、連通孔34により連通されている。連通孔34は、本体部31の外側からアルミニウムのシールテープで閉塞されている。このような配置状態の連通孔34を有しているため、第1燃焼室35から生じた火炎及び高温ガスは、第2燃焼室50内に均等に行き渡るので、第2燃焼室50内の第2ガス発生剤の着火性が向上される。なお、同様の効果が得られるのであれば、連通孔34の大きさや配置状態は均等でなくてもよい。例えば、点火器40に近い位置の連通孔34を小さくし、逆に点火器40に遠い位置の連通孔34を大きくすることができ、また点火器40から遠い位置に連通孔34を偏在させることもできる。
チューブ状部材30は、環状平面32が天板12aに当接され、軸方向に折り曲げられた環状平面32の先端部32aは、筒状フィルタ20に当接されている。このとき、先端部32aは、筒状フィルタ20の端面21と天板12aとの接触部分を塞ぐように当接されているので、ショートパス防止効果が高められる。チューブ状部材30の他端開口部側はカラー41の外周面に嵌合され、点火器40の火炎等が直接第2燃焼室50に流入しないようになっている。
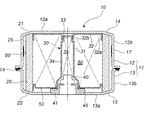
チューブ状部材30は、図5に示すように、本体部31と環状平面32を別部材にすることもできる。本体部31の開口部33側は径が小さくなるように設定され、段差が形成されている。そして、環状平面32に設けられた折曲部32b(先端部32aと対向する部分)が前記段差部に当接され、先端部32aが筒状フィルタ20に当接されるようにして、ハウジング11内に嵌め込まれている。
チューブ状部材30の一端開口部33は、図3に示すように、天板12aの中央部に設けられた凹部18に嵌め込まれた状態にすることができる。凹部18は、エンボス加工等により形成することができ、一端開口部33の形状及び大きさに合わせて、複数が形成されていてもよい。このように凹部18に開口部33を嵌め込んだ状態にすることで、チューブ状部材30を取り付ける際の位置決めが容易になるほか、先端部32aを端面21と天板12aとの接触部分に当接させることも容易になる。なお、図5の形態で凹部18を設けた場合には、環状平面32の中心孔に凹部18が位置するようにする。
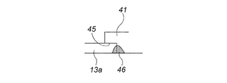
第1燃焼室35内に収容された点火器40のカラー41は、クロージャシェル13の底板13aに形成された中央孔から、チューブ状部材30内に挿入固定されている。カラー41には段付部45が形成されており、この段付部45と底板13aを重ね合わせるようにして嵌合されている。
カラー41とクロージャシェル13は、図4に示すとおり、接触部分(溶接部46)において溶接(レーザ−溶接、電子ビーム溶接、抵抗溶接等の周知の溶接方法)により固定されている。図4に示すように、段付部45と底板13aが重ね合わされ、かつ溶接された接合状態であるため、ハウジング11内部の圧力が上昇しても、点火器40を固定したカラー41がハウジング11の外部に脱落することがない。また、溶接部46は、底板13aと段付部45が重なった状態であり、肉厚になっているので、例えばレーザー溶接を適用したときでも溶接ビームが重なり部分を貫通することもないため、溶接作業も容易であり、溶接溶け込み幅を太くすることで接合面積を広くして、耐圧性能を向上させることも容易である。
第2燃焼室50は、チューブ状部材30の外部空間に設けられており、内部には所要量の第2ガス発生剤(図示せず)が収容されている。リーテーナ52は、第2燃焼室50の容量を第2ガス発生剤の充填量に応じた適切な大きさに調整するためのものである。
第2ガス発生剤(エアバッグ膨張用のガス発生剤)と第1ガス発生剤(伝火用ガス発生剤)は、第1ガス発生剤の燃焼温度が第2ガス発生剤の燃焼温度よりも高くなるように設定されている。
第1ガス発生剤としては、燃料であるニトログアニジン、酸化剤である硝酸ストロンチウムに、更にバインダとしてカルボキシメチルセルロースのナトリウム塩、残渣捕集剤として酸性白土を混合した組成のものを使用できる。第2ガス発生剤としては、燃料である硝酸グアニジン、酸化剤である塩基性酸化銅に、更にバインダーとしてカルボキシメチルセルロースのナトリウム塩、冷却剤として水酸化アルミニウムを混合した組成のものを使用できる。
第1ガス発生剤と第2ガス発生剤は、公知の形状及び寸法のものを使用でき、形状及び寸法は同一でも異なっていてもよい。例えば、第1ガス発生剤として孔を有しないペレット形状のものを使用し、第2ガス発生剤として貫通孔を有した円柱状のものを使用してもよい。
本発明のエアバッグ装置は、図1〜図5に示すガス発生器を周知のエアバッグ装置に組み込んだものであり、具体的には、ガス発生器と、衝撃を感知してガス発生器を作動させる衝撃センサと、ガス発生器で発生するガスを導入して膨張するエアバッグと、前記エアバッグを収容するモジュールケースとを含むものである。
次に、図1、図6により、本発明のガス発生器を自動車のエアバッグ装置に組み込んだ場合の動作を説明する。
自動車が衝突したとき、衝撃センサからの指令を受け、点火器40が作動して、第1燃焼室35内の第1ガス発生剤を着火燃焼させ、火炎及び高温ガスを発生させる。火炎及び高温ガスは、チューブ状部材30に設けられた複数の連通孔34(連通孔34を閉塞しているシールテープは破裂される)から第2燃焼室50内に噴射され、第2ガス発生剤を着火燃焼させ、エアバッグ膨張媒体となるガスを発生させる。
このとき、図1で示すガス発生器10は、図6(a)で示す状態から図6(b)で示す状態にハウジング11が膨張変形する。しかし、ガス発生器10が、上部環状斜面14、下部環状斜面15と、それに合致した筒状フィルタ20を有しているため、ショートパス防止効果が充分に発揮され、ハウジング11が膨張変形した場合であっても、筒状フィルタ20と、天板12a及び底板13aとの間から、筒状フィルタ20を経由しないガス(濾過及び冷却がなされていないガス)が漏れ出ることがない。筒状フィルタ30の環状平板32もショートパス防止効果の発現に寄与する。
このようなショートパス防止効果が発現されるため、発生ガスは筒状フィルタ20で濾過及び冷却された後、シールテープ60を破ってガス排出口17から排出され、エアバッグを膨張させる。
本発明のガス発生器の軸方向への断面図。 図1の部分拡大図。 図1とは異なる実施形態の部分拡大図。 図1の部分拡大図。 本発明の他実施形態であるガス発生器の軸方向への断面図。 本発明のガス発生器の作用効果を説明するための図。
符号の説明
10 ガス発生器
11 ハウジング
12 ディフューザシェル
12a 天板
13 クロージャシェル
13a 底板
12b、13b 周壁部
20 筒状フィルタ
30 チューブ状部材
35 第1燃焼室
40 点火器
50 第2燃焼室

Claims (5)

  1. ガス排出口(17)を有する周壁部(12、13)、天板(12a)及び底板(13a)からなるハウジング(11)、ハウジング(11)内に収容された点火器(40)、点火器(40)により着火燃焼されるガス発生剤、点火器及びガス発生剤を包囲するように配置された筒状フィルタ(20)とを備えたガス発生器(10)であり、
    周壁部(12)と天板(12a)との環状接触部を含む面が上部環状斜面(14)を形成し、周壁部(13)と底板(13a)との環状接触部を含む面が下部環状斜面(15)を形成しており、
    筒状フィルタ(20)が、その両端面が上部環状斜面(14)及び下部環状斜面(15)に当接され、かつ周壁部との間に間隙(25)を有するように配置されており、
    ハウジング(11)内には、ハウジング(11)と同心円状にチューブ状部材(30)が配置されており、
    チューブ状部材(30)は、チューブ状の本体部(31)と、本体部(31)の天板(12a)側の開口部周縁からハウジングの半径方向に延ばされた、本体部(31)と一体に形成された環状平面(32)とを有するものであり、
    環状平面(32)が天板(12a)に当接され、軸方向に折り曲げられた環状平面(32)の先端部(32a)は、筒状フィルタ(20)に当接されており、
    本体部(31)の底板(13a)側の開口部側は点火器(40)を固定したカラー(41)の外周面に嵌合されており、
    本体部(31)には、円周方向及び軸方向のそれぞれに複数の連通孔(34)が設けられており、チューブ状部材(30)の内部空間が第1燃焼室(35)となり、外部空間が第2燃焼室(50)となる、ガス発生器。
  2. ガス排出口(17)を有する周壁部(12、13)、天板(12a)及び底板(13a)からなるハウジング(11)、ハウジング(11)内に収容された点火器(40)、点火器(40)により着火燃焼されるガス発生剤、点火器及びガス発生剤を包囲するように配置された筒状フィルタ(20)とを備えたガス発生器(10)であり、
    周壁部(12)と天板(12a)との環状接触部を含む面が上部環状斜面(14)を形成し、周壁部(13)と底板(13a)との環状接触部を含む面が下部環状斜面(15)を形成しており、
    筒状フィルタ(20)が、その両端面が上部環状斜面(14)及び下部環状斜面(15)に当接され、かつ周壁部との間に間隙(25)を有するように配置されており、
    ハウジング(11)内には、ハウジング(11)と同心円状にチューブ状部材(30)が配置されており、
    チューブ状部材(30)は、チューブ状の本体部(31)と、本体部(31)とは別部材である環状平面(32)とを有するものであり、
    本体部(31)は、天板(12a)側は径が小さくなるように設定され、段差が形成されており、環状平面(32)が天板(12a)に当接され、環状平面(32)に設けられた折曲部(32b)が前記本体部(31)に設けられた段差部に当接され、先端部(32a)が筒状フィルタ(20)に当接されており、
    本体部(31)の底板(13a)側の開口部側は点火器(40)を固定したカラー(41)の外周面に嵌合されており、
    本体部(31)には、円周方向及び軸方向のそれぞれに複数の連通孔(34)が設けられており、チューブ状部材(30)の内部空間が第1燃焼室(35)となり、外部空間が第2燃焼室(50)となる、ガス発生器。
  3. 筒状フィルタ(20)の両端面(21、22)と上部及び下部環状斜面(14、15)が、互いにハウジングの軸方向に圧接されている、請求項1又は2記載のガス発生器。
  4. 天板(12a)が中央部に凹部(18)を有しており、前記凹部(18)が、チューブ状部材(30)のハウジング天板側の開口部(33)内に存在している、請求項1又は2記載のガス発生器。
  5. 請求項1〜4のいずれか1項に記載のガス発生器を用いたエアバッグ装置。
JP2003422923A 2003-12-19 2003-12-19 ガス発生器 Expired - Lifetime JP4266344B2 (ja)

Priority Applications (4)

Application Number Priority Date Filing Date Title
JP2003422923A JP4266344B2 (ja) 2003-12-19 2003-12-19 ガス発生器
FR0412813A FR2863985B1 (fr) 2003-12-19 2004-12-02 Generateur de gaz
DE102004059184A DE102004059184A1 (de) 2003-12-19 2004-12-08 Gaserzeuger
US11/011,032 US7806435B2 (en) 2003-12-19 2004-12-15 Gas generator

Applications Claiming Priority (1)

Application Number Priority Date Filing Date Title
JP2003422923A JP4266344B2 (ja) 2003-12-19 2003-12-19 ガス発生器

Publications (2)

Publication Number Publication Date
JP2005178599A JP2005178599A (ja) 2005-07-07
JP4266344B2 true JP4266344B2 (ja) 2009-05-20

Family

ID=34631856

Family Applications (1)

Application Number Title Priority Date Filing Date
JP2003422923A Expired - Lifetime JP4266344B2 (ja) 2003-12-19 2003-12-19 ガス発生器

Country Status (3)

Country Link
JP (1) JP4266344B2 (ja)
DE (1) DE102004059184A1 (ja)
FR (1) FR2863985B1 (ja)

Cited By (1)

* Cited by examiner, † Cited by third party
Publication number Priority date Publication date Assignee Title
DE112017006028B4 (de) 2016-11-29 2021-12-30 Daicel Corporation Zünderanordnung für Gasgenerator und Herstellungsverfahren dafür

Families Citing this family (9)

* Cited by examiner, † Cited by third party
Publication number Priority date Publication date Assignee Title
JP4970813B2 (ja) * 2006-03-22 2012-07-11 株式会社ダイセル 車両の人員拘束装置用ガス発生器
US10717032B2 (en) * 2006-09-21 2020-07-21 Acs Industries, Inc. Expanded metal filters
JP5014751B2 (ja) * 2006-11-28 2012-08-29 株式会社ダイセル ガス発生器
JP5021447B2 (ja) * 2007-12-21 2012-09-05 株式会社ダイセル ガス発生器
CN104773130A (zh) 2008-10-30 2015-07-15 奥托里夫Asp股份有限公司 安全气囊用充气器
JP2010228667A (ja) * 2009-03-27 2010-10-14 Toyoda Gosei Co Ltd エアバッグ装置
JP5795237B2 (ja) * 2011-10-24 2015-10-14 株式会社ダイセル 人員拘束装置用ガス発生器
JP5985950B2 (ja) 2012-10-04 2016-09-06 株式会社ダイセル ガス発生器とその組立方法
JP7089910B2 (ja) * 2018-03-12 2022-06-23 株式会社ダイセル 火工装置用の筒状フィルタ、前記筒状フィルタの製造方法、前記筒状フィルタを使用した火工装置

Family Cites Families (3)

* Cited by examiner, † Cited by third party
Publication number Priority date Publication date Assignee Title
US6234521B1 (en) * 1996-04-08 2001-05-22 Daicel Chemical Industries, Ltd. Airbag inflator and an airbag apparatus
WO2000048868A1 (en) * 1999-02-16 2000-08-24 Daicel Chemical Industries, Ltd. Gas generator for multi-stage air bag and air bag device
US7104569B2 (en) * 2003-05-20 2006-09-12 Trw Vehicle Safety Systems Inc. Air bag module with pressure regulator

Cited By (1)

* Cited by examiner, † Cited by third party
Publication number Priority date Publication date Assignee Title
DE112017006028B4 (de) 2016-11-29 2021-12-30 Daicel Corporation Zünderanordnung für Gasgenerator und Herstellungsverfahren dafür

Also Published As

Publication number Publication date
FR2863985B1 (fr) 2007-12-14
DE102004059184A1 (de) 2005-07-21
JP2005178599A (ja) 2005-07-07
FR2863985A1 (fr) 2005-06-24

Similar Documents

Publication Publication Date Title
JP4970813B2 (ja) 車両の人員拘束装置用ガス発生器
US6053531A (en) Air bag gas generator
JP2005239141A (ja) 二段式火工品技術エアバックインフレータ
CN102414058A (zh) 气体发生器
WO2010126056A1 (ja) ガス発生器
JP6521834B2 (ja) ガス発生器
JP4266344B2 (ja) ガス発生器
CN101267968A (zh) 气体发生器
US6899351B2 (en) Gas generator
WO2018078916A1 (ja) ガス発生器
JP2010260387A (ja) ガス発生器
US7806435B2 (en) Gas generator
US20040046374A1 (en) Inflator
JPH05123564A (ja) エアバツグ装置用ガス発生器
US20210046896A1 (en) Cylindrical filter for pyrotechnic device, manufacturing method for cylindrical filter, and pyrotechnic device using cylindrical filter
JP4912942B2 (ja) ガス発生器
JP2006306218A (ja) ガス発生器
JP5025306B2 (ja) ガス発生器
JP5545703B2 (ja) ガス発生器
JP4989916B2 (ja) 人員拘束装置用ガス発生器
JP2004189020A (ja) エアバッグ用ガス発生器
JP4533524B2 (ja) ガス発生器
JP4660018B2 (ja) ガス発生器
JP2009101806A (ja) ガス発生器
WO2004052693A1 (ja) エアバッグ用ガス発生器

Legal Events

Date Code Title Description
A621 Written request for application examination

Free format text: JAPANESE INTERMEDIATE CODE: A621

Effective date: 20060912

A977 Report on retrieval

Free format text: JAPANESE INTERMEDIATE CODE: A971007

Effective date: 20080901

A131 Notification of reasons for refusal

Free format text: JAPANESE INTERMEDIATE CODE: A131

Effective date: 20080916

A521 Request for written amendment filed

Free format text: JAPANESE INTERMEDIATE CODE: A523

Effective date: 20081030

A131 Notification of reasons for refusal

Free format text: JAPANESE INTERMEDIATE CODE: A131

Effective date: 20081202

A521 Request for written amendment filed

Free format text: JAPANESE INTERMEDIATE CODE: A523

Effective date: 20090116

TRDD Decision of grant or rejection written
A01 Written decision to grant a patent or to grant a registration (utility model)

Free format text: JAPANESE INTERMEDIATE CODE: A01

Effective date: 20090210

A01 Written decision to grant a patent or to grant a registration (utility model)

Free format text: JAPANESE INTERMEDIATE CODE: A01

A61 First payment of annual fees (during grant procedure)

Free format text: JAPANESE INTERMEDIATE CODE: A61

Effective date: 20090216

R151 Written notification of patent or utility model registration

Ref document number: 4266344

Country of ref document: JP

Free format text: JAPANESE INTERMEDIATE CODE: R151

FPAY Renewal fee payment (event date is renewal date of database)

Free format text: PAYMENT UNTIL: 20120227

Year of fee payment: 3

FPAY Renewal fee payment (event date is renewal date of database)

Free format text: PAYMENT UNTIL: 20120227

Year of fee payment: 3

S533 Written request for registration of change of name

Free format text: JAPANESE INTERMEDIATE CODE: R313533

FPAY Renewal fee payment (event date is renewal date of database)

Free format text: PAYMENT UNTIL: 20120227

Year of fee payment: 3

R350 Written notification of registration of transfer

Free format text: JAPANESE INTERMEDIATE CODE: R350

FPAY Renewal fee payment (event date is renewal date of database)

Free format text: PAYMENT UNTIL: 20120227

Year of fee payment: 3

FPAY Renewal fee payment (event date is renewal date of database)

Free format text: PAYMENT UNTIL: 20130227

Year of fee payment: 4

FPAY Renewal fee payment (event date is renewal date of database)

Free format text: PAYMENT UNTIL: 20140227

Year of fee payment: 5

S531 Written request for registration of change of domicile

Free format text: JAPANESE INTERMEDIATE CODE: R313531

R350 Written notification of registration of transfer

Free format text: JAPANESE INTERMEDIATE CODE: R350

EXPY Cancellation because of completion of term