JP4170791B2 - 陰極線管 - Google Patents

陰極線管 Download PDF

Info

Publication number
JP4170791B2
JP4170791B2 JP2003046234A JP2003046234A JP4170791B2 JP 4170791 B2 JP4170791 B2 JP 4170791B2 JP 2003046234 A JP2003046234 A JP 2003046234A JP 2003046234 A JP2003046234 A JP 2003046234A JP 4170791 B2 JP4170791 B2 JP 4170791B2
Authority
JP
Japan
Prior art keywords
panel
δhv
funnel
axis direction
cathode ray
Prior art date
Legal status (The legal status is an assumption and is not a legal conclusion. Google has not performed a legal analysis and makes no representation as to the accuracy of the status listed.)
Expired - Fee Related
Application number
JP2003046234A
Other languages
English (en)
Other versions
JP2003263963A (ja
Inventor
雄一 佐野
昌広 横田
忠洋 小島
英治 蒲原
Current Assignee (The listed assignees may be inaccurate. Google has not performed a legal analysis and makes no representation or warranty as to the accuracy of the list.)
Toshiba Corp
Original Assignee
Toshiba Corp
Priority date (The priority date is an assumption and is not a legal conclusion. Google has not performed a legal analysis and makes no representation as to the accuracy of the date listed.)
Filing date
Publication date
Application filed by Toshiba Corp filed Critical Toshiba Corp
Priority to JP2003046234A priority Critical patent/JP4170791B2/ja
Publication of JP2003263963A publication Critical patent/JP2003263963A/ja
Application granted granted Critical
Publication of JP4170791B2 publication Critical patent/JP4170791B2/ja
Anticipated expiration legal-status Critical
Expired - Fee Related legal-status Critical Current

Links

Images

Landscapes

  • Vessels, Lead-In Wires, Accessory Apparatuses For Cathode-Ray Tubes (AREA)

Description

【0001】
【発明の属する技術分野】
この発明は、カラー受像管などの陰極線管に係り、特に偏向電力および偏向ヨークカら発生する漏洩磁界を有効に低減できる陰極線管に関する。
【0002】
【従来の技術】
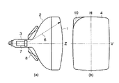
陰極線管の一例として、図10にカラー受像管を示す。このカラー受像管は、ほぼ矩形状のガラス製パネル1、このパネル1に連設された漏斗状のガラス製ファンネル2およびこのファンネル2の径小端部に連設された円筒状のガラス製ネック3からなる真空外囲器を有する。そのパネル1の内面には、青、緑、赤に発光するドット状またはストライプ状の3色蛍光体層からなる蛍光体スクリーン4が設けられ、この蛍光体スクリーン4に対向して、その内側に多数の電子ビーム通過孔の形成されたシャドウマスク5が配置されている。またネック3内に3電子ビーム6を放出する電子銃7が配設されている。さらにファンネル2のネック3側近傍の外側に偏向ヨーク8が装着されている。そして、上記電子銃7から放出される3電子ビーム6を偏向ヨーク8の発生する水平、垂直偏向磁界により水平、垂直方向に偏向し、シャドウマスク5を介して蛍光体スクリーン4を水平、垂直走査することにより、カラー画像を表示する構造に形成されている。
【0003】
このようなカラー受像管において、電子銃7を同一水平面上を通る一列配置の3電子ビーム6を放出するインライン形電子銃とし、この電子銃から放出される一列配置の3電子ビーム6を、偏向ヨーク8の発生する水平偏向磁界をピンクッション形、垂直偏向磁界をバレル形として、これら水平、垂直偏向磁界により偏向することにより、格別の補正手段を要することなく、画面全面にわたり一列配置の3電子ビーム6を集中するセルフコンバーゼンス・インライン型カラー受像管が広く実用化されている。
【0004】
このような陰極線管においては、最大の電力消費源である偏向ヨーク8の消費電力を低減することが重要な課題である。すなわち、スクリーン輝度を上げるためには、最終的に電子ビームを加速する陽極電圧を上げなければならず、またHD(High Definition )TVやPC(Personal Computer )などのOA機器に対応するためには、偏向周波数を上げなければならないが、これらは、いずれも偏向電力の増大をまねく。特に高周波による偏向についは、偏向磁界が陰極線管外に漏洩しやすくなる。そのため、オペレーターが陰極線管に接近して対応するPCについては、その漏洩磁界に対する規制が強化されている。
【0005】
この漏洩磁界の低減手段には、従来、補償コイルを付加する方法が一般に用いられている。しかしこのように補償コイルを付加すると、それにともなって、PCの消費電力が増大する。
【0006】
したがって偏向電力の低減や漏洩磁界の低減には、陰極線管のネック径を小さくし、偏向ヨークの装着されるファンネルのネック側近傍の外径を小さくして、電子ビームに対して偏向磁界が効率よく作用するようにするとよい。
【0007】
しかし従来の陰極線管では、電子ビームが偏向ヨークの装着されるファンネルのネック側近傍の内面に接近して通過するため、ネック径やファンネルのネック側近傍の外径をさらに小さくすると、図11(a)に示すように、電子ビーム6がファンネル2のネック3側近傍の内壁に衝突し、同(b)に示すように、蛍光体スクリーン4上に電子ビーム6の到達しない部分10ができる。したがって従来の陰極線管では、偏向電力を低減させることが困難である。またファンネル2のネック3側近傍の内壁に電子ビーム6が衝突し続けると、ガラスが溶けるほどその部分の温度が上昇し、爆縮する危険が生ずる。
【0008】
このような問題を解決する手段として、特公昭48−34349号公報には、蛍光体スクリーン上に矩形状のラスターを描く場合、偏向ヨークの装着されるファンネルのネック側近傍における電子ビームの通過領域もほぼ矩形状になるとの考えから、図12(a)に示す陰極線管12について、同(b)〜(f)にそのB−B乃至F−F断面を示したように、その偏向ヨークの装着されるファンネル2のネック3側近傍を、ネック3側からパネル1方向に円形から楕円形状を経て次第にほぼ矩形状に変化する形状にしたものが示されている。このように偏向ヨークの装着されるファンネルのネック側近傍の形状を構成すると、図13に示すように、ファンネル2のネック側近傍が円形である場合に対して、電子ビームが衝突しやすい対角部(対角軸近傍:D軸近傍)内径を大きくして電子ビームの衝突を避け、長軸(水平軸:H軸)および短軸(垂直軸:H軸)近傍の内径を小さくして、偏向ヨークの水平、垂直偏向コイルを電子ビームの通過領域に接近させ、電子ビームを効率よく偏向できるようにし、それにより偏向電力を低減することができる。
【0009】
しかしこのような陰極線管は、偏向ヨークの装着されるファンネルのネック側近傍を矩形に近づけるほど、耐気圧強度が低下し、安全性が損なわれる。したがって実用的には、適度な丸みをつけた形状としなければならず、偏向電力を十分に低減することができない。
【0010】
【発明が解決しようとする課題】
上記のように、近年、陰極線管の偏向電力および漏洩磁界の低減が求められているが、これをHDTVやPCなどのOA機器に要求される高輝度化、高周波化を満足させながらおこなうことは、きわめて困難である。従来、その偏向電力を低減する構造として、偏向ヨークの装着されるファンネルのネック側近傍の形状をネック側からパネル方向に円形から楕円形状を経て次第にほぼ矩形状に変化する形状にするものが提案されている。
【0011】
しかしこのようにファンネルのネック側近傍を矩形に近づけると、耐気圧強度が低下し、安全性が損なわれる。そのため、実用的には、適度な丸みをつけた形状としなければならず、偏向電力を十分に低減することができなかった。また当時は、陰極線管の外囲器形状を設定するシュミレーション技術が未発達であり、現在のように正確な電子ビームの軌道解析や偏向磁界解析ができなかったため、耐気圧強度を保持しながら偏向電力や漏洩磁界を低減する形状に設計することができなかった。
【0012】
この発明は、上記問題点を解決するためになされたものであり,高輝度化や高周波化を満足させながら、偏向電力や漏洩磁界を低減できる陰極線管を構成することを目的とする。
【0013】
【課題を解決するための手段】
本願の態様による陰極線管は、
ほぼ矩形状のパネル、このパネルに連設された漏斗状のファンネルおよびこのファンネルの径小端部に連設された円筒状のネックからなる真空外囲器を有し、上記ファンネルのネック側近傍の外側に装着される偏向ヨークの発生する偏向磁界により上記ネック内に配設された電子銃からの電子ビームを上記パネルの長軸および短軸方向に偏向する陰極線管において、
上記ファンネルのネック側近傍の外形が上記ネック側から上記パネル方向に次第に円形から上記長軸および短軸方向以外の方向に最大径をもつ非円形状に変化し、かつ上記最大径の半径をL、この最大半径Lと長軸方向半径との差をΔH、上記最大半径Lと短軸方向半径との差をΔVとし、これらΔHとΔVとの加算量をΔHVとするとき、上記偏向ヨークのパネル側端部が位置する管軸方向位置でのΔHV/Lの値は、偏向磁界がピーク値をもつ管軸方向位置でのΔHV/Lの値より大きく、かつ、
管軸方向位置に対応するΔHV/LをΔHV/L曲線で示すとき、偏向磁界がピーク値をもつ管軸方向位置でのΔHV/L曲線の傾きは、上記偏向ヨークのパネル側端部が位置する管軸方向位置でのΔHV/L曲線の傾きより大きいことを特徴とする。
【0014】
また、上記ファンネルのネック側近傍の外形が、上記偏向ヨークのパネル側端部において、
0.3≦ΔHV/L≦0.6
の関係に形成した。
【0015】
また、上記偏向ヨークのパネル側端部において、
0.35≦ΔHV/L≦0.6
の関係に形成した。
【0016】
また、上記偏向ヨークのパネル側端部において、
0.3≦ΔHV/L≦0.4
の関係に形成した。
【0017】
また、ファンネルのネック側近傍の外形が上記ネック側からパネル方向に次第に円形から長軸および短軸方向以外の方向に対角軸をもつほぼ矩形状に変化するように形成した。
【0018】
また、管軸方向位置に対応するΔHVをΔHV曲線で示すとき、ΔHVがネック側からパネル方向に次第に増加し、偏向ヨークのパネル側端部の管軸方向位置でのΔHV曲線の傾きが0.6〜1.1であるように形成した。
【0019】
また、上記偏向コイルは、サドル型水平偏向コイルを備え、この水平偏向コイルのパネル側渡り線部の径をファンネルのネック側近傍における端軸方向外径に合わせて形成した。
【0020】
さらに、ほぼ矩形状のパネル、このパネルに連設された漏斗状のファンネルおよびこのファンネルの径小端部に連設された円筒状のネックからなる真空外囲器を有し、そのファンネルのネック側近傍の外側に装着される偏向ヨークの発生する磁界によりネック内に配設された電子銃からの電子ビームを上記パネルの長軸および短軸方向に偏向する陰極線管において、ファンネルのネック側近傍の外形を、ネック側からパネル方向に次第に円形から上記長軸および短軸方向以外の方向に最大径をもつ非円形状に変化し、かつその最大径の半径をL、この最大半径Lと長軸方向半径との差をΔH、最大半径Lと短軸方向半径との差をΔVとし、これらΔHとΔVとの加算量をΔHVとするとき、偏向ヨークのパネル側端部付近において、
0.3≦ΔHV/L≦0.6
の関係に形成した。
【0021】
また、ファンネルのネック側近傍の外形を、ネック側からパネル方向に次第に円形から長軸および短軸方向以外の方向に対角軸をもつほぼ矩形状とした。
【0022】
また、ΔHVを、ネック側からパネル方向に次第に増加し、偏向ヨークのパネル側端部付近におけるΔHVの増加率を0.6〜1.1とした。
【0023】
【発明の実施の形態】
以下、図面を参照してこの発明の実施の形態について説明する。
【0024】
図1にその一形態であるカラー受像管を示す。このカラー受像管は、ほぼ矩形状のガラス製パネル20、このパネル20に連設された後述する漏斗状のガラス製ファンネル21およびこのファンネル21の径小端部に連設された円筒状のガラス製ネック22からなる真空外囲器23を有する。そのパネル20の内面には、蛍光体スクリーンが設けられ、この蛍光体スクリーンに対向して、その内側にシャドウマスクが配置されている。一方、ネック22内に電子銃が配設されている。そして上記ファンネル21のネック22側近傍24の外側に偏向ヨーク(図示せず)を装着し、この偏向ヨークの発生する磁界によりネック22内に配設された電子銃から放出される電子ビームをパネル20の長軸(水平軸:H軸)方向および短軸(垂直軸:V軸)方向に偏向し、シャドウマスクを介して蛍光体スクリーンを上記長軸および短軸方向に走査することにより、カラー画像を表示するものとなっている。
【0025】
特にこのカラー受像管においては、上記偏向ヨークの装着されるファンネル21のネック22側近傍24が、ネック22側からパネル20方向にネック22と同様の円形から次第に上記パネル20の長軸および短軸方向以外の方向に最大径をもつ非円形状(矩形状)に変化する形状に形成されている。
【0026】
すなわち、図2(a)に長軸方向外径を曲線25、短軸方向外径を曲線26、対角軸方向外径を曲線27で示すように、ネックとの連設部付近では、長軸、短軸、対角軸方向外径がそれぞれ同一の円形であるが、パネル側に近づくにしたがって、図3に示すように、対角軸(D軸)方向外径に対して、長軸および短軸方向外径が次第に小さく、非円形状(矩形状)に偏平化し、その最大外径(対角軸方向外径)の半径をLとし、この最大半径Lと長軸方向半径との差をΔH、最大半径Lと短軸方向半径との差をΔVとし、これらΔHとΔVの和(加算量)をΔHV、すなわち、
ΔHV=ΔH+ΔV
とするとき、このΔHVが、図2(b)に曲線28で示すように変化し、その非円形化(偏平化)の比率を示すΔHV/Lが、図4に曲線29で示すように変化する形状となっている。そして、このファンネルのネック側近傍に装着される偏向ヨークの前端部、たとえばサドル型水平偏向コイルを備える偏向ヨークでは、そのパネル側の渡り線部が位置する破線で示した位置付近では、その非円形化の比率ΔHV/Lが0.3〜0.6、図示例では0.4となっている。
【0027】
この偏向ヨークの装着されるファンネルのネック側近傍の形状は、真空外囲器の構成上、ネックが円筒状ガラスからなること、またファンネルは、ネック側からパネル方向に大きく広がっていく形状であるため、ネック側から急激にたとえば画面のアスペクト比に近似した矩形状とすることはできない。
【0028】
図5にこの偏向ヨークの装着される部分の形状変化、すなわちΔHVの変化を代表的な3例について示す。曲線30は、ネック側からパネル方向にΔHVが徐々に大きくなり、パネル側端部でのΔHVの増加率(曲線の傾き)が約0.7となっている場合である。また曲線31は、中間部での変化が比較的小さく、パネル側端部付近で大きくなり、そのパネル側端部でのΔHVの増加率が1.1以上となっている場合である。これに対して、曲線32は、中間部での変化が比較的大きく、パネル側端部付近で小さくなり、そのパネル側端部でのΔHVの増加率が0.6以下となっている場合である。
【0029】
これら3例のうち、曲線32で示した場合のように、中間部での変化が大きいときは、機械的強度が不足しやすく、実用的には、ΔHVがネック側からパネル方向に漸次増加し、パネル側端部付近でのΔHVの増加率が0.6〜1.1とすることにより、所望のファンネルを構成することができる。
【0030】
このように偏向ヨークの装着されるファンネルのネック側近傍を、ネック側からパネル方向に次第に円形からパネルの長軸および短軸以外の方向に最大径をもつ非円形状とし、かつ偏向ヨークの前端部が位置するパネル側端部付近での非円形化の比率を示す最大半径Lと、ΔHとΔVの和ΔHVとの比ΔHV/Lを、
0.3≦ΔHV/L≦0.6
とすると、偏向電力を低減でき、かつ図6に曲線33で示したように、漏洩磁界を直線34で示す規格値以下にすることができる。さらに、パネル側端部付近でのΔHVの増加率を0.6〜1.1とすることにより、十分な耐気圧強度をもつファンネルとすることができる。したがって上記のように構成することにより、偏向電力および漏洩磁界を低減でき、かつ十分な耐気圧強度をもつカラー受像管が得られる。
【0031】
以上の結果は、陰極線管に装着される偏向ヨークについて、詳細に磁界解析をおこなった結果得られたものである。
【0032】
すなわち、陰極線管の偏向電力を低減するためには、偏向ヨークの装着されるファンネルのネック側近傍をできるだけコンパクトにして、偏向コイルを小さくすることが必要であるが、この場合、電子ビームがファンネルのネック側近傍の内壁に衝突しないようにしなければならない。そのためには、ファンネルのネック側近傍を、画面のアスペクト比に近似した形状になると考えられる内側の電子ビームの通過領域の形状に合わせて、ネック側からパネル側になるにしたがって、外径が増大し、かつ管軸に直交する断面形状がパネルの長軸および短軸方向以外の方向に最大径をもつほぼ楕円状または矩形状などの非円形状とし、偏向コイルをこの形状に合った形状とすることが望まれる。
【0033】
この場合、一般に偏向コイルの発生する偏向磁界の強度分布は、図7に曲線36で示すように、偏向コイルの中心付近にピーク値をもち、一方、偏向ヨークの装着されるファンネルのネック側近傍は、そのピーク値からネック側にかけて外径が次第に小さくなるため、偏向電力を低減するためには、上記ピーク値からネック側にかけて、できるだけファンネルの外径を次第に小さくすることが効果的である。しかし偏向電力は、電子ビームに及ぼす偏向磁界全体の積分値であるから、ピーク値からパネル側にかけてのファンネルの外径を縮小することも重要である。
【0034】
また、偏向ヨークから発生する漏洩磁界は、主として水平偏向コイルから発生し、偏向ヨークの前端部がパネル方向に大きく開口しているために、パネル方向に強い磁界が漏洩し、その漏洩磁界が遠方まで及ぶ。したがつて偏向ヨークからの漏洩磁界を低減するためには、偏向ヨークの前端部径をできるだけ小さくすることが必要となる。
【0035】
すなわち、図8に示すように、たとえば水平偏向コイル38、垂直偏向コイル39がともにサドル型である偏向ヨークについては、その水平偏向コイル38の前端部の渡り線部の径を小さくするために、この渡り線部が位置するファンネルのネック側近傍24の短軸方向外径を小さくするとともに、垂直偏向コイル39の前端部の渡り線部の径を小さくするために、この渡り線部が位置するファンネルのネック側近傍24の長軸方向外径を小さくすることが必要である。
【0036】
つまり、偏向電力の低減と漏洩磁界の低減を同時におこなうためには、偏向ヨークの装着されるファンネルのネック側近傍をできるだけ小さくすることが必要である。しかし本発明者らの磁界解析と試作実験によれば、たとえばパソコンやコンピューターの端末に用いられるディスプレイ管においては、従来のファンネルを用いて110度偏向管を設計しても、偏向電力を十分に低減することは不可能であり、また漏洩磁界も大きく、スウェーデンの規格値をクリアできなかった。
【0037】
これに対し、前述のように偏向ヨークの装着されるファンネルのネック側近傍を、ネック側からパネル方向に次第に円形からパネルの長軸および短軸方向以外の方向に最大径をもつ非円形状とし、その最大半径Lに対して上記長軸および短軸方向の半径を小さくすることにより、偏向電力の低減に対して、その最大半径Lと長軸方向半径との差ΔH、短軸方向半径との差ΔVがともに同等に寄与するという興味深い結果が得られた。そしてその非円形化の比率の比率を示す最大半径Lと、ΔHとΔVとの和ΔHVとの比ΔHV/Lを0.3以上とすることにより、偏向電力および漏洩磁界を実用化可能なまで低減できることが判明した。
【0038】
しかしこの場合、真空外囲器構成部品として、機械的強度の低下を避け、十分な耐気圧強度を保持する形状としなけねばならない。仮に上記偏向ヨークの装着されるファンネルのネック側近傍の形状を図9に示すように、たとえばほぼ矩形状断面の各辺41の中央部が内側に凹入した形状とすると、その各辺41の中央部に加わる大気圧荷重のために、各対角部に1200psiを越えるきわめて大きなテンションが加わるので、実用化が困難である。このことから、偏向ヨークの装着されるファンネルのネック側近傍の非円形化には限界があり、ΔHV/Lとしては、画面のアスペクト比と同じ形状とした場合の0.6以下が限度であるとの結果が得られた。
【0039】
なお、上記実施の形態では、カラー受像管について説明したが、この発明は、カラー受像管以外の陰極線管にも適用可能である。
【0040】
【発明の効果】
ほぼ矩形状のパネル、このパネルに連設された漏斗状のファンネルおよびこのファンネルの径小端部に連設された円筒状のネックからなる真空外囲器を有し、そのファンネルのネック側近傍の外側にネック内に配設された電子銃から放出される電子ビームをパネルの長軸および短軸方向に偏向する磁界を発生する偏向ヨークが装着されてなる陰極線管装置において、ファンネルのネック側近傍の外側に装着される偏向ヨークの発生する磁界によりネック内に配設された電子銃からの電子ビームを上記パネルの長軸および短軸方向に偏向する陰極線管において、ファンネルのネック側近傍の外形を,ネック側からパネル方向に次第に円形から上記長軸および短軸方向以外の方向に最大径をもつ非円形に変化し、かつその最大径の半径をL、この最大半径Lと長軸方向半径との差をΔH、最大半径Lと短軸方向半径との差をΔVとし、これらΔHとΔVとの加算量をΔHVとするとき、偏向ヨークのパネル側端部付近において、
0.3≦ΔHV/L≦0.6
の関係に形成し、さらには、そのΔHVを、ネック側からパネル方向に次第に増加し、偏向ヨークのパネル側端部付近におけるΔHVの増加率を0.6〜1.1とすると、偏向ヨークをコンパクトにすることができ、偏向電力および偏向ヨークからの漏洩磁界を大幅に低減できる。さらに広偏向角管については、実用的な偏向周波数で偏向可能となり、かつ漏洩磁界についても、規格をクリアする陰極線管を構成することができる。
【図面の簡単な説明】
【図1】この発明の実施の一形態であるカラー受像管の構成を示す図である。
【図2】図2(a)は上記カラー受像管の偏向ヨークの装着されるファンネルのネック側近傍の形状を示す図、図2(b)はその最大外径と長軸および短軸方向外径との差の和の変化を示す図である。
【図3】上記偏向ヨークの装着されるファンネルのネック側近傍の最大外径に対する長軸および短軸方向外径の変化を説明するための図である。
【図4】上記偏向ヨークの装着されるファンネルのネック側近傍の非円形化の比率を示す図である。
【図5】上記偏向ヨークの装着されるファンネルのネック側近傍の形状変化を説明するための図である。
【図6】上記偏向ヨークの装着されるファンネルのネック側近傍の非円形化の比率と漏洩磁界との関係を示す図である。
【図7】偏向コイルの発生する偏向磁界の管軸上での強度分布を示す図である。
【図8】偏向ヨークの構成を示す図である。
【図9】上記偏向ヨークの装着されるファンネルのネック側近傍の非円形化の限界を説明するための図である。
【図10】従来のカラー受像管の構成を示す図である。
【図11】図11(a)および(b)はそれぞれ従来のカラー受像管において、そのネック径やファンネルのネック側近傍の径を小さくした場合に生ずる電子ビームの衝突を説明するための図である。
【図12】図12(a)乃至(f)はそれぞれ既知のカラー受像管の偏向ヨークの装着されるファンネルのネック側近傍の形状を示す図である。
【図13】偏向ヨークの装着されるファンネルのネック側近傍をほぼ矩形状にした場合の電子ビームの衝突との関係を説明するための図である。
【符号の説明】
20…パネル
21…ファンネル
22…ネック
23…真空外囲器
24…ファンネルのネック側近傍
38…水平偏向コイル
39…垂直偏向コイル

Claims (8)

  1. ほぼ矩形状のパネル、このパネルに連設された漏斗状のファンネルおよびこのファンネルの径小端部に連設された円筒状のネックからなる真空外囲器を有し、上記ファンネルのネック側近傍の外側に装着される偏向ヨークの発生する偏向磁界により上記ネック内に配設された電子銃からの電子ビームを上記パネルの長軸および短軸方向に偏向する陰極線管において、
    上記ファンネルのネック側近傍の外形が上記ネック側から上記パネル方向に次第に円形から上記長軸および短軸方向以外の方向に最大径をもつ非円形状に変化し、かつ上記最大径の半径をL、この最大半径Lと長軸方向半径との差をΔH、上記最大半径Lと短軸方向半径との差をΔVとし、これらΔHとΔVとの加算量をΔHVとするとき、上記偏向ヨークのパネル側端部が位置する管軸方向位置でのΔHV/Lの値は、偏向磁界がピーク値をもつ管軸方向位置でのΔHV/Lの値より大きく、かつ、
    管軸方向位置に対応するΔHV/LをΔHV/L曲線で示すとき、偏向磁界がピーク値をもつ管軸方向位置でのΔHV/L曲線の傾きは、上記偏向ヨークのパネル側端部が位置する管軸方向位置でのΔHV/L曲線の傾きより大きいことを特徴とする陰極線管。
  2. 上記ファンネルのネック側近傍の外形が、上記偏向ヨークのパネル側端部において、
    0.3≦ΔHV/L≦0.6
    の関係に形成されていることを特徴とする請求項1に記載の陰極線管。
  3. 上記偏向ヨークのパネル側端部において、
    0.35≦ΔHV/L≦0.6
    の関係に形成されていることを特徴とする請求項1に記載の陰極線管。
  4. 上記偏向ヨークのパネル側端部において、
    0.3≦ΔHV/L≦0.4
    の関係に形成されていることを特徴とする請求項1に記載の陰極線管。
  5. ファンネルのネック側近傍の外形が上記ネック側からパネル方向に次第に円形から長軸および短軸方向以外の方向に対角軸をもつほぼ矩形状に変化することを特徴とする請求項1に記載の陰極線管。
  6. 管軸方向位置に対応するΔHVをΔHV曲線で示すとき、ΔHVがネック側からパネル方向に次第に増加し、偏向ヨークのパネル側端部の管軸方向位置でのΔHV曲線の傾きが0.6〜1.1であることを特徴とする請求項1または4に記載の陰極線管。
  7. 上記偏向コイルは、サドル型水平偏向コイルを備え、この水平偏向コイルのパネル側渡り線部の径をファンネルのネック側近傍における端軸方向外径に合わせて形成することを特徴とする請求項1に記載の陰極線管。
  8. ほぼ矩形状のパネル、このパネルに連設された漏斗状のファンネルおよびこのファンネルの径小端部に連設された円筒状のネックからなる真空外囲器を有し、上記ファンネルのネック側近傍の外側に装着される偏向ヨークの発生する偏向磁界により上記ネック内に配設された電子銃からの電子ビームを上記パネルの長軸および短軸方向に偏向する陰極線管において、
    上記ファンネルのネック側近傍の外形が上記ネック側から上記パネル方向に次第に円形から上記長軸および短軸方向以外の方向に最大径をもつ非円形状に変化し、かつ上記最大径の半径をL、この最大半径Lと長軸方向半径との差をΔH、上記最大半径Lと短軸方向半径との差をΔVとし、これらΔHとΔVとの加算量をΔHVとするとき、上記偏向ヨークのパネル側端部において、
    上記ファンネルは、管軸方向位置に対応するΔHV/LをΔHV/L曲線で示すとき、偏向磁界がピーク値をもつ管軸方向位置からパネル側端部に向かうに従ってΔHV/Lが単調に増加し且つΔHV/L曲線の傾きが次第に小さくなるように変化する形状となっていることを特徴とする陰極線管。
JP2003046234A 2003-02-24 2003-02-24 陰極線管 Expired - Fee Related JP4170791B2 (ja)

Priority Applications (1)

Application Number Priority Date Filing Date Title
JP2003046234A JP4170791B2 (ja) 2003-02-24 2003-02-24 陰極線管

Applications Claiming Priority (1)

Application Number Priority Date Filing Date Title
JP2003046234A JP4170791B2 (ja) 2003-02-24 2003-02-24 陰極線管

Related Parent Applications (1)

Application Number Title Priority Date Filing Date
JP8118890A Division JPH09306388A (ja) 1996-05-14 1996-05-14 陰極線管

Publications (2)

Publication Number Publication Date
JP2003263963A JP2003263963A (ja) 2003-09-19
JP4170791B2 true JP4170791B2 (ja) 2008-10-22

Family

ID=29208477

Family Applications (1)

Application Number Title Priority Date Filing Date
JP2003046234A Expired - Fee Related JP4170791B2 (ja) 2003-02-24 2003-02-24 陰極線管

Country Status (1)

Country Link
JP (1) JP4170791B2 (ja)

Also Published As

Publication number Publication date
JP2003263963A (ja) 2003-09-19

Similar Documents

Publication Publication Date Title
JPH09306388A (ja) 陰極線管
JP3403005B2 (ja) 陰極線管装置
JP3415361B2 (ja) 陰極線管
JP3442975B2 (ja) 陰極線管装置
JPH10154472A (ja) 陰極線管装置
JP3376274B2 (ja) 陰極線管装置
JPH11265666A (ja) 陰極線管装置
JPH11329299A (ja) 陰極線管装置および偏向ヨ―ク
JP4170791B2 (ja) 陰極線管
JP2000113840A (ja) 陰極線管
US6771030B2 (en) Color cathode ray tube apparatus
EP0589522B1 (en) Cathode-ray tube
US6489736B1 (en) Color cathode ray tube apparatus
US5448134A (en) Cathode ray tube having improved structure for controlling image quality
US7122977B2 (en) Cathode-ray tube apparatus
KR100439266B1 (ko) 상하 주사형 음극선관
US7268478B2 (en) Electron gun assembly and cathode ray tube with the same
KR100414485B1 (ko) 상하주사형 음극선관
JP2003203582A (ja) 偏向ヨーク及び偏向ヨークを備えた陰極線管装置
JPH11273591A (ja) 陰極線管装置
JP3318169B2 (ja) カラ−受像管装置
JP2000294169A (ja) 陰極線管装置
JP2000243314A (ja) 電子ビーム偏向装置
JPH11273590A (ja) 陰極線管装置
JP2003068230A (ja) 陰極線管装置

Legal Events

Date Code Title Description
A131 Notification of reasons for refusal

Free format text: JAPANESE INTERMEDIATE CODE: A131

Effective date: 20060124

A521 Written amendment

Free format text: JAPANESE INTERMEDIATE CODE: A523

Effective date: 20060317

A02 Decision of refusal

Free format text: JAPANESE INTERMEDIATE CODE: A02

Effective date: 20060530

A521 Written amendment

Free format text: JAPANESE INTERMEDIATE CODE: A523

Effective date: 20060728

A911 Transfer of reconsideration by examiner before appeal (zenchi)

Free format text: JAPANESE INTERMEDIATE CODE: A911

Effective date: 20060809

A912 Removal of reconsideration by examiner before appeal (zenchi)

Free format text: JAPANESE INTERMEDIATE CODE: A912

Effective date: 20060929

A01 Written decision to grant a patent or to grant a registration (utility model)

Free format text: JAPANESE INTERMEDIATE CODE: A01

A61 First payment of annual fees (during grant procedure)

Free format text: JAPANESE INTERMEDIATE CODE: A61

Effective date: 20080807

FPAY Renewal fee payment (event date is renewal date of database)

Free format text: PAYMENT UNTIL: 20110815

Year of fee payment: 3

FPAY Renewal fee payment (event date is renewal date of database)

Free format text: PAYMENT UNTIL: 20110815

Year of fee payment: 3

FPAY Renewal fee payment (event date is renewal date of database)

Free format text: PAYMENT UNTIL: 20110815

Year of fee payment: 3

FPAY Renewal fee payment (event date is renewal date of database)

Free format text: PAYMENT UNTIL: 20120815

Year of fee payment: 4

LAPS Cancellation because of no payment of annual fees