JP4130065B2 - 超電導量子干渉素子及び超電導回路 - Google Patents

超電導量子干渉素子及び超電導回路 Download PDF

Info

Publication number
JP4130065B2
JP4130065B2 JP2001082755A JP2001082755A JP4130065B2 JP 4130065 B2 JP4130065 B2 JP 4130065B2 JP 2001082755 A JP2001082755 A JP 2001082755A JP 2001082755 A JP2001082755 A JP 2001082755A JP 4130065 B2 JP4130065 B2 JP 4130065B2
Authority
JP
Japan
Prior art keywords
superconducting
circuit
signal
josephson
squid
Prior art date
Legal status (The legal status is an assumption and is not a legal conclusion. Google has not performed a legal analysis and makes no representation as to the accuracy of the status listed.)
Expired - Fee Related
Application number
JP2001082755A
Other languages
English (en)
Japanese (ja)
Other versions
JP2001345488A5 (enExample
JP2001345488A (ja
Inventor
一正 ▲高▼木
良信 樽谷
和夫 齊藤
悦久 五月女
徳海 深沢
塚本  晃
Current Assignee (The listed assignees may be inaccurate. Google has not performed a legal analysis and makes no representation or warranty as to the accuracy of the list.)
International Superconductivity Technology Center
Hitachi Ltd
Original Assignee
International Superconductivity Technology Center
Hitachi Ltd
Priority date (The priority date is an assumption and is not a legal conclusion. Google has not performed a legal analysis and makes no representation as to the accuracy of the date listed.)
Filing date
Publication date
Application filed by International Superconductivity Technology Center, Hitachi Ltd filed Critical International Superconductivity Technology Center
Priority to JP2001082755A priority Critical patent/JP4130065B2/ja
Publication of JP2001345488A publication Critical patent/JP2001345488A/ja
Publication of JP2001345488A5 publication Critical patent/JP2001345488A5/ja
Application granted granted Critical
Publication of JP4130065B2 publication Critical patent/JP4130065B2/ja
Anticipated expiration legal-status Critical
Expired - Fee Related legal-status Critical Current

Links

Images

Landscapes

  • Superconductor Devices And Manufacturing Methods Thereof (AREA)
JP2001082755A 2000-03-27 2001-03-22 超電導量子干渉素子及び超電導回路 Expired - Fee Related JP4130065B2 (ja)

Priority Applications (1)

Application Number Priority Date Filing Date Title
JP2001082755A JP4130065B2 (ja) 2000-03-27 2001-03-22 超電導量子干渉素子及び超電導回路

Applications Claiming Priority (5)

Application Number Priority Date Filing Date Title
JP2000090735 2000-03-27
JP2000-90735 2000-03-27
JP2000-90734 2000-03-27
JP2000090734 2000-03-27
JP2001082755A JP4130065B2 (ja) 2000-03-27 2001-03-22 超電導量子干渉素子及び超電導回路

Publications (3)

Publication Number Publication Date
JP2001345488A JP2001345488A (ja) 2001-12-14
JP2001345488A5 JP2001345488A5 (enExample) 2005-07-14
JP4130065B2 true JP4130065B2 (ja) 2008-08-06

Family

ID=27342854

Family Applications (1)

Application Number Title Priority Date Filing Date
JP2001082755A Expired - Fee Related JP4130065B2 (ja) 2000-03-27 2001-03-22 超電導量子干渉素子及び超電導回路

Country Status (1)

Country Link
JP (1) JP4130065B2 (enExample)

Families Citing this family (25)

* Cited by examiner, † Cited by third party
Publication number Priority date Publication date Assignee Title
JP4113076B2 (ja) 2003-08-28 2008-07-02 株式会社日立製作所 超電導半導体集積回路
US7724083B2 (en) * 2008-08-05 2010-05-25 Northrop Grumman Systems Corporation Method and apparatus for Josephson distributed output amplifier
US9948254B2 (en) 2014-02-21 2018-04-17 Yale University Wireless Josephson bifurcation amplifier
EP3262697B1 (en) * 2015-02-27 2021-10-13 Yale University Techniques for producing quantum amplifiers and related systems and methods
SG11201708202TA (en) 2015-04-17 2017-11-29 Univ Yale Wireless josephson parametric converter
US10122350B2 (en) 2015-11-17 2018-11-06 Northrop Grumman Systems Corporation Josephson transmission line (JTL) system
WO2017123940A1 (en) 2016-01-15 2017-07-20 Yale University Techniques for manipulation of two-quantum states and related systems and methods
CN109478255B (zh) * 2016-05-03 2023-10-27 D-波系统公司 用于超导电路和可扩展计算中使用的超导装置的系统和方法
US10978425B2 (en) 2016-09-13 2021-04-13 Google Llc Reducing loss in stacked quantum devices
US10236869B2 (en) 2016-11-18 2019-03-19 Northrop Grumman Systems Corporation Superconducting transmission driver system
US11211722B2 (en) 2017-03-09 2021-12-28 Microsoft Technology Licensing, Llc Superconductor interconnect system
US10122351B1 (en) * 2017-07-25 2018-11-06 Northrop Grumman Systems Corporation Superconducting bi-directional current driver
US10491178B2 (en) 2017-10-31 2019-11-26 Northrop Grumman Systems Corporation Parametric amplifier system
WO2019118442A1 (en) 2017-12-11 2019-06-20 Yale University Superconducting nonlinear asymmetric inductive element and related systems and methods
US10122352B1 (en) 2018-05-07 2018-11-06 Northrop Grumman Systems Corporation Current driver system
JP7381495B2 (ja) 2018-05-16 2023-11-15 ディー-ウェイブ システムズ インコーポレイテッド 超伝導回路内において装置をアドレス指定するシステム及び方法。
US11105866B2 (en) 2018-06-05 2021-08-31 D-Wave Systems Inc. Dynamical isolation of a cryogenic processor
US10367483B1 (en) * 2018-12-20 2019-07-30 Northrop Grumman Systems Corporation Josephson current source system
WO2020150348A1 (en) 2019-01-17 2020-07-23 Yale University Josephson nonlinear circuit
US11839164B2 (en) 2019-08-19 2023-12-05 D-Wave Systems Inc. Systems and methods for addressing devices in a superconducting circuit
US11094873B2 (en) * 2019-11-14 2021-08-17 International Business Machines Corporation Transmon qubits with self defined junctions
US11545974B2 (en) * 2020-09-24 2023-01-03 International Business Machines Corporation Current biased tunable qubit
US12388452B2 (en) 2021-11-03 2025-08-12 1372934 B.C. Ltd. Systems and methods for duty cycle compensation of a digital to analog converter (DAC)
CN115271081B (zh) * 2022-08-17 2024-06-18 本源量子计算科技(合肥)股份有限公司 一种控制线路、版图结构以及倒装芯片
WO2025037381A1 (ja) * 2023-08-15 2025-02-20 富士通株式会社 量子デバイス及び量子デバイスの製造方法

Also Published As

Publication number Publication date
JP2001345488A (ja) 2001-12-14

Similar Documents

Publication Publication Date Title
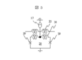
JP4130065B2 (ja) 超電導量子干渉素子及び超電導回路
US6486756B2 (en) Superconductor signal amplifier
US11133805B2 (en) Superconducting logic circuits
US7095227B2 (en) Superconducting driver circuit
US6518673B2 (en) Capacitor for signal propagation across ground plane boundaries in superconductor integrated circuits
US8330145B2 (en) Superconducting junction element and superconducting junction circuit
US6580310B2 (en) Double flux quantum superconductor driver
US20090267635A1 (en) Method and apparatus for high density superconductor circuit
US6483339B1 (en) Single flux quantum series biasing technique using superconducting DC transformer
CN113257987B (zh) 一种集成超导器件及其制备方法
JP2001345488A5 (enExample)
EP4128373A1 (en) Operating a superconducting channel by electron injection
JP4066012B2 (ja) 超電導ドライバ回路及び超電導機器
Tarutani et al. Interface circuit using JTLs as control lines of SQUID array
JP3737980B2 (ja) 超電導接合線路
JP3669891B2 (ja) 超電導単一磁束量子回路
US5146119A (en) Switching circuit and its signal transmission method
JP2879010B2 (ja) 超電導素子
JP2004015151A (ja) 集積単一磁束量子回路
JP2003031861A (ja) 電源線回路
JP3082667B2 (ja) 超電導信号出力装置
JPH08316536A (ja) 超電導装置
JP3550649B2 (ja) 極短パルス発生器
Temmyo et al. Characteristic Impedance Design Considerations for a High-Speed Superconducting Packaging System (Short Papers)
JPS6139998A (ja) 超伝導遅延線メモリ装置

Legal Events

Date Code Title Description
A521 Request for written amendment filed

Free format text: JAPANESE INTERMEDIATE CODE: A523

Effective date: 20041112

A621 Written request for application examination

Free format text: JAPANESE INTERMEDIATE CODE: A621

Effective date: 20041112

RD02 Notification of acceptance of power of attorney

Free format text: JAPANESE INTERMEDIATE CODE: A7422

Effective date: 20070518

A131 Notification of reasons for refusal

Free format text: JAPANESE INTERMEDIATE CODE: A131

Effective date: 20080311

A521 Request for written amendment filed

Free format text: JAPANESE INTERMEDIATE CODE: A523

Effective date: 20080402

TRDD Decision of grant or rejection written
A01 Written decision to grant a patent or to grant a registration (utility model)

Free format text: JAPANESE INTERMEDIATE CODE: A01

Effective date: 20080422

A01 Written decision to grant a patent or to grant a registration (utility model)

Free format text: JAPANESE INTERMEDIATE CODE: A01

A61 First payment of annual fees (during grant procedure)

Free format text: JAPANESE INTERMEDIATE CODE: A61

Effective date: 20080520

R150 Certificate of patent or registration of utility model

Free format text: JAPANESE INTERMEDIATE CODE: R150

FPAY Renewal fee payment (event date is renewal date of database)

Free format text: PAYMENT UNTIL: 20110530

Year of fee payment: 3

FPAY Renewal fee payment (event date is renewal date of database)

Free format text: PAYMENT UNTIL: 20110530

Year of fee payment: 3

S531 Written request for registration of change of domicile

Free format text: JAPANESE INTERMEDIATE CODE: R313531

FPAY Renewal fee payment (event date is renewal date of database)

Free format text: PAYMENT UNTIL: 20110530

Year of fee payment: 3

R371 Transfer withdrawn

Free format text: JAPANESE INTERMEDIATE CODE: R371

FPAY Renewal fee payment (event date is renewal date of database)

Free format text: PAYMENT UNTIL: 20110530

Year of fee payment: 3

S531 Written request for registration of change of domicile

Free format text: JAPANESE INTERMEDIATE CODE: R313531

FPAY Renewal fee payment (event date is renewal date of database)

Free format text: PAYMENT UNTIL: 20110530

Year of fee payment: 3

R350 Written notification of registration of transfer

Free format text: JAPANESE INTERMEDIATE CODE: R350

FPAY Renewal fee payment (event date is renewal date of database)

Free format text: PAYMENT UNTIL: 20110530

Year of fee payment: 3

FPAY Renewal fee payment (event date is renewal date of database)

Free format text: PAYMENT UNTIL: 20120530

Year of fee payment: 4

FPAY Renewal fee payment (event date is renewal date of database)

Free format text: PAYMENT UNTIL: 20120530

Year of fee payment: 4

S533 Written request for registration of change of name

Free format text: JAPANESE INTERMEDIATE CODE: R313533

R350 Written notification of registration of transfer

Free format text: JAPANESE INTERMEDIATE CODE: R350

FPAY Renewal fee payment (event date is renewal date of database)

Free format text: PAYMENT UNTIL: 20130530

Year of fee payment: 5

FPAY Renewal fee payment (event date is renewal date of database)

Free format text: PAYMENT UNTIL: 20130530

Year of fee payment: 5

S531 Written request for registration of change of domicile

Free format text: JAPANESE INTERMEDIATE CODE: R313531

R350 Written notification of registration of transfer

Free format text: JAPANESE INTERMEDIATE CODE: R350

LAPS Cancellation because of no payment of annual fees