JP4100768B2 - 浮体係留装置 - Google Patents
浮体係留装置 Download PDFInfo
- Publication number
- JP4100768B2 JP4100768B2 JP22064498A JP22064498A JP4100768B2 JP 4100768 B2 JP4100768 B2 JP 4100768B2 JP 22064498 A JP22064498 A JP 22064498A JP 22064498 A JP22064498 A JP 22064498A JP 4100768 B2 JP4100768 B2 JP 4100768B2
- Authority
- JP
- Japan
- Prior art keywords
- floating body
- anchor
- mooring device
- fence
- tension member
- Prior art date
- Legal status (The legal status is an assumption and is not a legal conclusion. Google has not performed a legal analysis and makes no representation as to the accuracy of the status listed.)
- Expired - Fee Related
Links
- XLYOFNOQVPJJNP-UHFFFAOYSA-N water Substances O XLYOFNOQVPJJNP-UHFFFAOYSA-N 0.000 claims description 6
- 230000002265 prevention Effects 0.000 claims description 4
- 239000013535 sea water Substances 0.000 claims description 4
- 238000004519 manufacturing process Methods 0.000 description 5
- 239000000463 material Substances 0.000 description 3
- 230000006378 damage Effects 0.000 description 2
- 208000018747 cerebellar ataxia with neuropathy and bilateral vestibular areflexia syndrome Diseases 0.000 description 1
- 230000007547 defect Effects 0.000 description 1
- 238000009792 diffusion process Methods 0.000 description 1
- 230000000694 effects Effects 0.000 description 1
- 239000004744 fabric Substances 0.000 description 1
- 239000002184 metal Substances 0.000 description 1
- 230000003014 reinforcing effect Effects 0.000 description 1
- 150000003839 salts Chemical class 0.000 description 1
Images
Classifications
-
- Y—GENERAL TAGGING OF NEW TECHNOLOGICAL DEVELOPMENTS; GENERAL TAGGING OF CROSS-SECTIONAL TECHNOLOGIES SPANNING OVER SEVERAL SECTIONS OF THE IPC; TECHNICAL SUBJECTS COVERED BY FORMER USPC CROSS-REFERENCE ART COLLECTIONS [XRACs] AND DIGESTS
- Y02—TECHNOLOGIES OR APPLICATIONS FOR MITIGATION OR ADAPTATION AGAINST CLIMATE CHANGE
- Y02A—TECHNOLOGIES FOR ADAPTATION TO CLIMATE CHANGE
- Y02A20/00—Water conservation; Efficient water supply; Efficient water use
- Y02A20/20—Controlling water pollution; Waste water treatment
- Y02A20/204—Keeping clear the surface of open water from oil spills
Landscapes
- Cleaning Or Clearing Of The Surface Of Open Water (AREA)
Description
【発明の属する技術分野】
この発明は、オイルフェンス、汚濁防止幕、海水と河川水の分離(拡散防止)用若しくは混合用のフェンスなどの浮体に主係留索を取り付けた浮体係留装置に関するものである。
【0002】
【従来の技術】
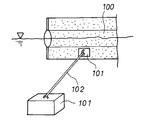
従来のオイルフェンスやシルトフェンス等としては、例えば図5に示すように、長手方向に繋がって延びるフェンス本体100と、このフェンス本体100に定間隔で設けたアンカ取付部101に先端を固定したロープ102と、このロープ102の基端部分に取り付けたアンカーブロック101とを備えたものが知られており、このアンカーブロック101の重量を利用してフェンスを固定している。
【0003】
【発明が解決しようとする課題】
このような構成のオイルフェンスにあっては、例えば図6に示すように、波や風或いは潮流などの外力が作用すると、フェンス本体100やロープ102部分は、その外力を受けて下流側や風下側に向けて湾曲した形状等に撓んでしまうような張力が発生する。従って、フェンス本体やロープの強度が不足していると、或いはフェンス本体やロープの強度を上回る強い波や風等を受けると、これらの破損、切断等に繋がる虞れがある。
【0004】
このような事情から、海象条件の厳しい海域等で使用する場合には、それに応じて強度的な配慮が必要となる。特に、フェンス本体がゴムベルト状のもので形成されている場合には、内部に入れ込む補強用の帆布の強度を高めたり、入れ込む帆布の枚数を増大したりするといった措置を講じる必要がある。
しかしながら、このような措置を取る場合には、工場での製造工数の増大を招くとともに、その分製造コストの増大を招く虞れがある。
【0005】
そこで、この発明は、上記した欠点に鑑み、製造コストや製造工数の増大を伴わずにフェンス本体の破損や切断等のトラブルの発生を防止することができる浮体係留装置を提供することを目的とするものである。
【0006】
【課題を解決するための手段】
即ち、この発明は、シルトフェンス、オイルフェンス、汚濁防止幕、海水と河川水の分離用若しくは混合用のフェンスなどの垂下型の浮体にアンカ取付部を設け、このアンカ取付部に一端を固定したアンカロープを介してアンカブロックを海底、湖底、川床等に沈めて固定した浮体係留装置であって、前記浮体の帯状部の長さ方向に沿って耐高張力で長尺状のテンションメンバを外付けして取り付け、このテンションメンバはワイヤ又はチェーンであって、浮体の各アンカ取付部の間の帯状部の長さと等しいか、若干短い長さであり、隣同士のアンカ取付部間に架設されているものである。
【0007】
【発明の実施の形態】
以下、この発明の実施例について添付図面を参照しながら説明する。なお、この実施例において、従来技術と同一部分には、同一符号を付して重複説明を避ける。
図1は、この発明に係る浮体係留装置を示すものであり、この浮体係留装置には、本体部(通常はゴムベルト状のものからなる)10の上下に帯状部11、12を形成した浮体膜構造物(以下、浮体とよぶ)1が使用されており、また水中に沈んだ浮体1の帯状部12には、浮体1の長さ方向に沿って高張力に耐える長尺状のテンションメンバ2を取り付けている。
なお、図中符号13はアンカ取付部、3はロープ、4はアンカブロックを示すものである。
【0008】
アンカ取付部13は、厚手の帆布等のような生地で形成されたものを使用して帯状部12に定間隔で形成されており、この実施例では例えば図2に示すように、帯状部12の表裏に取り付けて適宜の手段(例えばリベット、アイボルト、アイナット等)で堅固に固定されている。また、この実施例のアンカ取付部13には、下方向にロープ3を止め付けるとともに左右方向に伸びるテンションメンバ2を止め付けることができるようにするため、アンカ取付けフック13Aを有しており、このフック13Aに各テンションメンバ2の両端部に固着したリング2Aをシャックル13Bを介して取付けてある。なお、ロープ3についても同様である。
【0009】
テンションメンバ2は、本体部10の強度を高めるためのものであって、浮体の帯状部12に外付けで取り付けており、この実施例ではワイヤが使用されているが、チェーンやその他の高強度(耐高張力性)のものであれば使用可能である。また、このテンションメンバ2は、隣同士のアンカ取付部13間に架設させているが、その長さはアンカ取付部13間の帯状部(若しくは本体部10)の長さと等しいか、それよりも若干短い長さのものが使用されている。また、このテンションメンバ2は、外付けのために撓み防止を目的として図3に示すように浮体1の帯状部12に係止部材14が数カ所適宜の間隔で取り付けられている。例えばこの実施例では、帯状部12にしっかりと取付けたアイボルト(又はアイナット)14を使用しており、このアイボルト14に、シャックル15を介してテンションメンバ2が係止されているが、特にこれに限定されているものではなく、例えば塩水に強くて強度的に丈夫な金属からなる適宜のフック等を使用してもよい。なお、この実施例では、テンションメンバ2を帯状体12の両面に取り付けているが、これに限定されるものではなく、片面側のみであってもよい。
【0010】
従って、この実施例によれば、図4に示すように、ある程度強い風や波が発生してこの浮体1に作用すると、その風や波が作用する面が凸状に大きく湾曲して伸びようとする。ところが、この場合伸縮性の小さなもので構成されたテンションメンバ、即ちワイヤが最初にその力を受け止め、浮体1やロープ3にその力が直接作用するのを阻止するから、浮体やロープ3が大きな外力を受けて破損したり切断したりするのが防止される。
【0011】
【発明の効果】
以上説明してきたように、この発明によれば、シルトフェンス、オイルフェンス、汚濁防止幕、海水と河川水の分離用若しくは混合用のフェンスなどの垂下型の浮体にアンカ取付部を設け、このアンカ取付部に一端を固定したアンカロープを介してアンカブロックを海底、湖底、川床等に沈めて固定した浮体係留装置であって、前記浮体の帯状部の長さ方向に沿って耐高張力で長尺状のテンションメンバを外付けして取り付け、このテンションメンバはワイヤ又はチェーンであって、浮体の各アンカ取付部の間の帯状部の長さと等しいか、若干短い長さであり、隣同士のアンカ取付部間に架設されているので、譬え本体部がゴムベルト状のようにある程度屈曲性や伸縮性のあるものを使用している場合であって、例えば海象条件の厳しい海域や天候が悪く強風や強い波が浮体に作用する場合でも、テンションメンバが最初にその外力を受け止めて、吸収するようになっているから、浮体の損傷や破壊が防止できる。
【0012】
また、この発明によれば、浮体の強度はあるスペックに固定しておき、外付けテンションメンバのスペックを適宜変更することにより、各種強度の異なるタイプの浮体係留装置が形成でき、例えばテンションメンバを高強度のもので形成すれば容易に高強度タイプの浮体係留装置が提供できる。しかも、この発明によれば、テンションメンバが浮体に外付けされているから、工数の増大を招くこともなく、その分製造コストも抑えられるから経済的でもある。
【図面の簡単な説明】
【図1】この発明に係る浮体係留装置を示す概略図。
【図2】同装置の要部を示す拡大図。
【図3】同装置の係止部材等を示す説明図。
【図4】同装置の作用を示す説明図。
【図5】従来例を示す概略図。
【図6】従来の欠点を示す説明図。
【符号の説明】
1 浮体
12 帯状部
13 アンカ取付部
2 テンションメンバ
3 ロープ
4 アンカブロック
Claims (3)
- シルトフェンス、オイルフェンス、汚濁防止幕、海水と河川水の分離用若しくは混合用のフェンスなどの垂下型の浮体(1)にアンカ取付部(13)を設け、このアンカ取付部(13)に一端を固定したアンカロープ(3)を介してアンカブロック(4)を海底、湖底、川床等に沈めて固定した浮体係留装置であって、
前記浮体(1)の帯状部(12)の長さ方向に沿って耐高張力で長尺状のテンションメンバ(2)を外付けして取り付け、
このテンションメンバ(2)はワイヤ又はチェーンであって、浮体(1)の各アンカ取付部(13)の間の帯状部(12)の長さと等しいか、若干短い長さであり、隣同士のアンカ取付部(13)間に架設されていることを特徴とする浮体係留装置。 - 前記浮体(1)の帯状部(12)のアンカ取付部(13)間の数ヶ所適宜の間隔で係止部材(14)を取り付け、これら係止部材(14)にテンションメンバ(2)を係止したことを特徴とする請求項1に記載の浮体係留装置。
- 前記テンションメンバ(2)を浮体(1)の帯状部(12)の両面に取り付けたことを特徴とする請求項1又は2に記載の浮体係留装置。
Priority Applications (1)
| Application Number | Priority Date | Filing Date | Title |
|---|---|---|---|
| JP22064498A JP4100768B2 (ja) | 1998-08-04 | 1998-08-04 | 浮体係留装置 |
Applications Claiming Priority (1)
| Application Number | Priority Date | Filing Date | Title |
|---|---|---|---|
| JP22064498A JP4100768B2 (ja) | 1998-08-04 | 1998-08-04 | 浮体係留装置 |
Publications (2)
| Publication Number | Publication Date |
|---|---|
| JP2000054353A JP2000054353A (ja) | 2000-02-22 |
| JP4100768B2 true JP4100768B2 (ja) | 2008-06-11 |
Family
ID=16754209
Family Applications (1)
| Application Number | Title | Priority Date | Filing Date |
|---|---|---|---|
| JP22064498A Expired - Fee Related JP4100768B2 (ja) | 1998-08-04 | 1998-08-04 | 浮体係留装置 |
Country Status (1)
| Country | Link |
|---|---|
| JP (1) | JP4100768B2 (ja) |
Families Citing this family (1)
| Publication number | Priority date | Publication date | Assignee | Title |
|---|---|---|---|---|
| CN103435121B (zh) * | 2013-07-23 | 2014-11-05 | 于月光 | 一种用于河流污水应急处理的污水吸收装置 |
-
1998
- 1998-08-04 JP JP22064498A patent/JP4100768B2/ja not_active Expired - Fee Related
Also Published As
| Publication number | Publication date |
|---|---|
| JP2000054353A (ja) | 2000-02-22 |
Similar Documents
| Publication | Publication Date | Title |
|---|---|---|
| US3357192A (en) | Breakwaters | |
| JP5745905B2 (ja) | 浮体係留装置 | |
| US4864956A (en) | Yieldable mooring line for a boat | |
| US20110011322A1 (en) | Variable-rate spring marine docking cable | |
| JP2026500633A (ja) | 浮体構造のための係留システム及び設置方法 | |
| KR102348737B1 (ko) | 부력을 이용한 타이케이블 설치장치 | |
| US3775982A (en) | Anti-pollution barrier | |
| JP4100768B2 (ja) | 浮体係留装置 | |
| JP2010159563A (ja) | オイルフェンス | |
| KR100523238B1 (ko) | 앵커를 이용한 오탁방지막의 설치방법 | |
| JP2001310793A (ja) | 船舶係留装置 | |
| EP1913201A1 (en) | An artificial reef and a method of constructing an artificial reef | |
| KR100225025B1 (ko) | 오탁방지장치 | |
| US8439601B2 (en) | Containment boom mooring system | |
| JPS5932272Y2 (ja) | 集魚装置等の碇結装置 | |
| JPH09125338A (ja) | 消波装置および方法,ならびにその係留構造および方法 | |
| JPH11140856A (ja) | 浮体構造物 | |
| US8291846B2 (en) | Boat mooring assembly | |
| JPH11222838A (ja) | 汚濁防止膜 | |
| US20070039538A1 (en) | Connection device of an end of a mooring line for a recreational craft and the like to a fastening element fixed onto a quay | |
| JP7137601B2 (ja) | 移送物落下防止具及び移送物落下防止方法 | |
| KR200393313Y1 (ko) | 오탁방지막의 설치구조 | |
| KR200221964Y1 (ko) | 자력을 이용한 오일펜스 | |
| JP3175243U (ja) | オイルフェンスの展張構造 | |
| US12319386B2 (en) | Apparatus for securing watercraft against tidal action |
Legal Events
| Date | Code | Title | Description |
|---|---|---|---|
| A621 | Written request for application examination |
Free format text: JAPANESE INTERMEDIATE CODE: A621 Effective date: 20050801 |
|
| A131 | Notification of reasons for refusal |
Free format text: JAPANESE INTERMEDIATE CODE: A131 Effective date: 20070829 |
|
| A521 | Written amendment |
Free format text: JAPANESE INTERMEDIATE CODE: A523 Effective date: 20070920 |
|
| A131 | Notification of reasons for refusal |
Free format text: JAPANESE INTERMEDIATE CODE: A131 Effective date: 20071210 |
|
| A521 | Written amendment |
Free format text: JAPANESE INTERMEDIATE CODE: A523 Effective date: 20080129 |
|
| TRDD | Decision of grant or rejection written | ||
| A01 | Written decision to grant a patent or to grant a registration (utility model) |
Free format text: JAPANESE INTERMEDIATE CODE: A01 Effective date: 20080221 |
|
| A61 | First payment of annual fees (during grant procedure) |
Free format text: JAPANESE INTERMEDIATE CODE: A61 Effective date: 20080318 |
|
| FPAY | Renewal fee payment (event date is renewal date of database) |
Free format text: PAYMENT UNTIL: 20110328 Year of fee payment: 3 |
|
| R150 | Certificate of patent or registration of utility model |
Free format text: JAPANESE INTERMEDIATE CODE: R150 |
|
| LAPS | Cancellation because of no payment of annual fees |