JP4098552B2 - 光ファイバーケーブルの架空布設用吊線支持金具 - Google Patents
光ファイバーケーブルの架空布設用吊線支持金具 Download PDFInfo
- Publication number
- JP4098552B2 JP4098552B2 JP2002116496A JP2002116496A JP4098552B2 JP 4098552 B2 JP4098552 B2 JP 4098552B2 JP 2002116496 A JP2002116496 A JP 2002116496A JP 2002116496 A JP2002116496 A JP 2002116496A JP 4098552 B2 JP4098552 B2 JP 4098552B2
- Authority
- JP
- Japan
- Prior art keywords
- suspension
- optical fiber
- fiber cable
- hanging
- line
- Prior art date
- Legal status (The legal status is an assumption and is not a legal conclusion. Google has not performed a legal analysis and makes no representation as to the accuracy of the status listed.)
- Expired - Fee Related
Links
- 239000000725 suspension Substances 0.000 title claims description 81
- 239000013307 optical fiber Substances 0.000 title claims description 38
- 238000009434 installation Methods 0.000 title description 2
- 239000002184 metal Substances 0.000 claims description 13
- 238000005452 bending Methods 0.000 claims description 10
- 238000004804 winding Methods 0.000 description 16
- 238000004891 communication Methods 0.000 description 6
- 230000005540 biological transmission Effects 0.000 description 3
- 239000004033 plastic Substances 0.000 description 3
- 238000004519 manufacturing process Methods 0.000 description 2
- 238000000926 separation method Methods 0.000 description 2
- 239000004743 Polypropylene Substances 0.000 description 1
- 229910000831 Steel Inorganic materials 0.000 description 1
- 238000007796 conventional method Methods 0.000 description 1
- 238000010586 diagram Methods 0.000 description 1
- 230000000694 effects Effects 0.000 description 1
- 238000001746 injection moulding Methods 0.000 description 1
- 238000000465 moulding Methods 0.000 description 1
- -1 polypropylene Polymers 0.000 description 1
- 229920001155 polypropylene Polymers 0.000 description 1
- 239000002994 raw material Substances 0.000 description 1
- 238000007493 shaping process Methods 0.000 description 1
- 229910001220 stainless steel Inorganic materials 0.000 description 1
- 239000010935 stainless steel Substances 0.000 description 1
- 239000010959 steel Substances 0.000 description 1
- 229920003002 synthetic resin Polymers 0.000 description 1
- 239000000057 synthetic resin Substances 0.000 description 1
Images
Landscapes
- Light Guides In General And Applications Therefor (AREA)
- Electric Cable Installation (AREA)
- Suspension Of Electric Lines Or Cables (AREA)
Description
【発明の属する技術分野】
この発明は、送電線などの架空線に沿って設けられた光ファイバーケーブルを戸建住宅などに引込む際に、光ファイバーケーブルのケーブル本体に、不要な張力が掛からないように、ケーブル本体に沿って設けられたメッセンジャーワイヤー、即ち吊線を支持するために使用する架空布設用吊線支持金具に関する。
【0002】
【従来の技術】
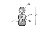
通信線などの架空線に沿って設けられる架空用の光ファイバーケーブルは、図4に一例を示すように、光ファイバーケーブル11のケーブル本体12に沿ってメッセンジャーワイヤー、即ち鋼製の吊線13を一体化した自己支持型の構造になっており、前記ケーブル本体12の内部には、2芯テープ光ファイバー心線15が、テンションメンバ14の内側に配置されており、引込み工事の際に、吊線13の方を引張って支持することにより、ケーブル本体12に不要な張力が掛かったり、ケーブル本体12が折れ曲がったりすることを防止して、光ファイバーケーブル11を布設できるようにしている。
【0003】
従来の試験的な通信サービスの例では、住宅等への宅内引込み用の光ファイバーケーブル11は、図5に示すように、既設の通信線16からの引込み位置で、通信線16に沿って架けられたハンガー金具17に掛け止めた吊線支持金具18を介して、住宅19等の宅内へ引込まれている。
【0004】
前記吊線支持金具18は、前述のように、引込みの際に、光ファイバーケーブル11の吊線13の方を支持して、ケーブル本体12に不要な張力や曲げが掛からないようにするためのもので、図6に示すように、基台20の両端側に、前記吊線13の巻掛け部21と案内部22が設けられ、これらの間の中央部に、前記吊線13の巻き付け部23が設けられ、前記巻掛け部21側の基台20の端部に、掛け部24が設けられている。
【0005】
図5に示したように、光ファイバーケーブル11は、その引込み位置で、吊線13とケーブル本体12とが分離され、その分離点には、止め具25、26がそれぞれ嵌め込まれている。そして、分離した吊線13を、吊線支持金具18に巻き付けて支持することにより、ケーブル本体12に不要な張力が掛かったり、その折れ曲がりなどが発生しないようにして、光ファイバーケーブル11が、住宅19等に引込まれる。
【0006】
そして、図7に示すように、住宅の壁面などの宅内への引込みの中継位置においても、光ファイバーケーブル11に嵌め込まれた止め具28、29間で、ケーブル本体12から分離した吊線13を吊線支持金具18、18にそれぞれ巻き付け、この吊線支持金具18、18を、前記壁面などの固定部27にねじ36a、36aにより取り付けたフック30に掛け止めて、吊線13の方を支持することにより、ケーブル本体12に、不要な張力が掛かったり、折れ曲がりなどが発生したりせずに、光ファイバーケーブル11が宅内へ引込まれる。
【0007】
前記吊線13の吊線支持金具18への取付けを、図7に示した、宅内への引込みの中継位置について示せば、まず、吊線13を、引込み側の吊線支持金具18の案内部22の案内溝22aに嵌め込み、次いで、巻き付け部23の周りに巻き付け、さらに、巻掛け部21の溝部21aに巻き掛ける。そして、巻掛け部21から、出された吊線13を、宅内側の吊線支持金具18の巻掛け部21の溝部21aに巻き掛け、次いで、巻き付け部23の周りに巻き付け、案内部22の案内溝22aに嵌め込む。
【0008】
このようにして、吊線13が、引込み側および宅内側の吊線支持金具18、18に、それぞれ取り付けられて支持され、その各掛け部24を、前記フック30に掛け止めることにより、ケーブル本体12を、不要な張力や折れ曲がりから保護して、光ファイバーケーブル11を宅内に引込むことができる。
【0009】
図5に示した、光ファイバーケーブル11の引込み位置での、吊線13の吊線支持金具18への取付けについても、図7に示した場合と同様である。
【0010】
【発明が解決しようとする課題】
しかし、光ファイバーケーブル11の吊線13を、吊線支持金具18、18に取り付ける従来の方法では、可塑性はあるものの、柔軟ではない吊線13を、支持金具18の巻掛け部21の溝部21aに巻掛け、巻き付け部23の周りに巻き付ける作業が煩雑であり、引込み工事を多数行う場合には、作業負荷が著しく増大する。
【0011】
また、前述の、送電線から引込む場合、および宅内へ中継する場合のいずれの場合も、吊線13の吊線支持金具18への巻き付け代が必要であり、この巻き付け代に相当する長さ分だけ、ケーブル本体12に弛みが生じ、とくに、図7に示した宅内への中継位置では、ケーブル本体12の弛みが大きくなって、布設後に、この弛み部分に、風圧等による不要な外力が作用するおそれもあって、ケーブル本体の保護上好ましくない。
【0012】
そこで、この発明の課題は、光ファイバーケーブルを宅内へ引込む際に、その吊線の支持が容易で、かつ、ケーブル本体の弛みを少なくできる光ファイバーケーブルの架空布設用吊線支持金具を提供することである。
【0013】
【課題を解決するための手段】
前記の課題を解決するために、この発明では以下の構成を採用したのである。
【0014】
即ち、光ファイバーケーブルの架空布設用吊線支持金具を、並列する複数本の吊線支持部と、その一端側に掛け部とを有し、前記の複数本の吊線支持部がその一方の端部で交互に繋がり、この繋がり部の反対側の各吊線支持部の端部間に、光ファイバーケーブル本体から分離した吊線の出し入れ口が交互に形成され、この出し入れ口から吊線を、各吊線支持部に、その表面と裏面に交互に位置するように挿入して支持するように形成したのである。
【0015】
このようにすれば、前記吊線を、巻き付けずに、直線状の形態で少し曲げる程度で、前記の吊線の出し入れ口から、吊線支持部間に挿入した吊線を、吊線支持部に、その表面と裏面に交互に位置するように掛け止めて支持できるため、可塑性はあるものの、柔軟性に欠ける吊線を、吊線支持金具に巻き付けずに済む。それにより、光ファイバーケーブルの引込み作業が従来に比べて著しく容易となり、布設作業能率が向上する。
【0016】
また、前記吊線支持金具に掛け止められる吊線の長さは、巻き付けが不要な分だけ短くできるため、前記の引込みおよび中継位置で、吊線と分離したケーブル本体の長さも短くなるため、その弛みを少なくして、引込み用の光ファイバーケーブルを布設することができる。
【0017】
さらに、複数本の吊線支持部がその一方の端部で交互に繋がっているため、吊線が各吊線支持部間でいずれの方向に片寄っても、この繋ぎ部で駐止することができ、外れを防止できる。
【0018】
前記吊線支持金具を、金属線を屈曲させて複数段の吊線支持部と、掛け部とを有するように形成することが望ましい。
【0019】
金属線を用いると、吊線支持金具を塑性加工により形成することができ、疲労強度が向上し、安全上好ましく、また、成形時間が短縮されて製作効率が向上し、製作コストの低減に繋がる。
【0020】
【発明の実施の形態】
以下に、この発明の実施形態を添付の図1から図3に基づいて説明する。
【0021】
図1(a)から(c)は、この発明の実施形態の吊線支持金具1を示したもので、前記吊線支持金具1は、直線状の吊線支持部2a〜2eが、その一方の端部で円弧状の折り返し部3a〜3dで交互に繋がり、この折り返し部3a〜3dと反対側の吊線支持部2a〜2eの端部間に、吊線の出し入れ口E1〜E4が交互に形成されたジグザグ状の吊線支持体2と、その一端側に、吊線支持部2eに引き続いた直線部4の先端側を環状に曲げて設けた掛け部5とを有し、この吊線支持金具1は、1本のステンレス鋼の金属線から形成されている。
【0022】
前記吊線支持体2の一端側の吊線支持部2aの先端部2fは、光ファイバーケーブルの吊線が、前記出し入れ口E1から外れにくくするために、吊線支持部2bの方に曲げられている。掛け部5の先端部5aと直線部4との間にはハンガー金具17に掛け止めるための隙間sが設けられている。
【0023】
図1(a)〜(c)に示した吊線支持金具1は、その掛け部5で、図2に示すように、既設の通信線16に吊り下げたハンガー金具17に掛け止められ、引込み位置で、引込み用の光ファイバーケーブル11に嵌め込まれた止め具25、26間で、ケーブル本体12と分離した吊線13が、前記出し入れ口E1〜E4から、吊線支持部2a〜2e間に、各吊線支持部2a〜2eに対して、その表面と裏面に交互に位置するように挿入されて掛け止められる。このようにして、吊線13が吊線支持金具1に支持され、ケーブル本体12が吊線13から分離しているため、不要な張力を受けず、折れ曲がりなどが生じずに、光ファイバーケーブル11が、住宅19の壁面などに引込まれる。
【0024】
そして、図3に示すように、住宅の壁面などの固定部27に吊線支持金具1、1を掛け止める架空布設用受け具31をねじ36により取付けた中継位置で、光ファイバーケーブル11に嵌め込まれた止め具28、29間で、再度、吊線13とケーブル本体12とが分離され、分離された吊線13が上述のようにして引込み側および宅内側の吊線支持金具1、1にそれぞれ支持され、この吊線支持金具1、1の各掛け部5が、架空布設用受け具31の両側板33a、33aに回動自在に支持された引掛け部材32、32に掛け止められて、ケーブル本体12に不要な張力が掛からず、折れ曲がりなどが生じずに、光ファイバーケーブル11が中継され、住宅内に引込まれる。
【0025】
この発明の実施形態は以上のような構成であり、以下にその機能について説明する。
【0026】
図1から図3に示したように、可塑性はあるものの、柔軟性に欠ける吊線13を、吊線支持金具1の吊線支持部2a〜2eに、その表面と裏面に交互に位置するように容易に掛け止めることができる。その際に、折り返し部3a〜3dが円弧状に形成されているために、吊線13を出し入れ口E1〜E4から各吊線支持部2a〜2e間に、スムーズに嵌め込むことができる。
【0027】
また、吊線13が各吊線支持部2a〜2e間でいずれの方向に片寄っても、折り返し部3a〜3dで駐止することができ、各吊線支持部2a〜2e間から外れることがない。さらに、吊線13を吊線支持金具1に巻き付けずにすむため、分離させる吊線13およびケーブル本体12の長さを、図5から図7に示した従来の吊線支持金具18を用いる場合よりも短くできるため、ケーブル本体12の弛みも少なくなり、風圧等による不要な外力の影響を小さくでき、ケーブル本体12の保護上の利点もある。
【0028】
そして、柔軟性に欠ける吊線13を、巻き付けずに、吊線支持金具1で支持できるため、多数にわたる光ファイバーケーブル11の引込み作業が従来に比べて格段に容易となり、作業能率が向上する。
【0029】
なお、前記吊線支持金具1は、金属線を用いる代わりに、ポリプロピレンなどの合成樹脂を素材として、射出成形機などを用いた金型成形によっても、製作することができる。
【0030】
【発明の効果】
以上のように、この発明の吊線支持金具を用いれば、送電線などの架空線に沿って設けられた光ファイバーケーブルを戸建住宅などに引込む際に、引込み用の光ファイバーケーブルの吊線を、吊線支持金具に巻き付ける必要がなく、その吊線支持部の一方の端部間に交互に設けた出し入れ口から、吊線を、各吊線支持部に、その表面と裏面に交互に位置するように挿入するだけで、掛け止めて支持できるので、多数にわたる光ファイバーケーブルの引込み作業が従来に比べて格段に容易となり、作業能率が向上する。
【0031】
また、前記吊線支持金具に掛け止める吊線の長さは、巻き付けが不要な分だけ短くできるため、吊線から分離したケーブル本体の長さも短くなり、ケーブル本体を必要以上に弛ませずに住宅内に引込むことができるため、風圧等による不要な外力から保護する上でも利点がある。
【図面の簡単な説明】
【図1】(a)この発明の実施形態の吊線支持金具の斜視図
(b)同上の正面図
(c)同上の側面図
【図2】同上の吊線支持金具を用いて、光ファイバーケーブルを宅内へ引込んだ状態を示す説明図
【図3】同上の吊線支持金具を用いて、光ファイバーケーブルを配線用受け具を介して軒下等で中継した状態を示す説明図
【図4】光ファイバーケーブルの構造を示す縦断正面図
【図5】従来の吊線支持金具を用いて、光ファイバーケーブルを宅内へ引込んだ状態を示す説明図
【図6】従来の吊線支持金具の斜視図
【図7】同上の吊線支持金具を用いて、光ファイバーケーブルをフックを介して軒下等で中継した状態を示す説明図
【符号の説明】
1 吊線支持金具
2 吊線支持体
2a、2b、2c、2d、2e 吊線支持部
2f 先端部
3a、3b、3c、3d 折り返し部
4 直線部
5 掛け部
5a 先端部
11 光ファイバーケーブル
12 ケーブル本体
13 吊線
14 テンションメンバ
15 2芯テープ光ファイバー心線
16 通信線
17 ハンガー金具
18 吊線支持金具
19 住宅
20 基台
21 巻掛け部
21a 溝部
22 案内部
22a 案内溝
23 巻き付け部
24 掛け部
25、26、28、29 止め具
27 固定部
30 フック
31 架空布設用受け具
32 引掛け部材
33a 側板
36、36a ねじ
E1、E2、E3、E4 出し入れ口
s ギャップ
Claims (1)
- 直線状の吊線支持部(2a〜2e)が、その一方の端部で円弧状の折り返し部(3a〜3d)で交互に繋がり、この折り返し部(3a〜3d)と反対側の吊線支持部(2a〜2e)の端部間に、吊線の出し入れ口(E1〜E4)が交互に形成されたジグザグ状の吊線支持体(2)と、その一端側に、吊線支持部(2e)に引き続いた直線部(4)の先端側を環状に曲げて設けた掛け部(5)とを、金属線によって形成し、掛け部(5)の先端部(5a)と直線部(4)との間に、ハンガー金具(17)に掛け止めるための隙間(s)を設けたことを特徴とする光ファイバーケーブルの架空布設用吊線支持金具。
Priority Applications (1)
| Application Number | Priority Date | Filing Date | Title |
|---|---|---|---|
| JP2002116496A JP4098552B2 (ja) | 2002-04-18 | 2002-04-18 | 光ファイバーケーブルの架空布設用吊線支持金具 |
Applications Claiming Priority (1)
| Application Number | Priority Date | Filing Date | Title |
|---|---|---|---|
| JP2002116496A JP4098552B2 (ja) | 2002-04-18 | 2002-04-18 | 光ファイバーケーブルの架空布設用吊線支持金具 |
Publications (2)
| Publication Number | Publication Date |
|---|---|
| JP2003319540A JP2003319540A (ja) | 2003-11-07 |
| JP4098552B2 true JP4098552B2 (ja) | 2008-06-11 |
Family
ID=29534052
Family Applications (1)
| Application Number | Title | Priority Date | Filing Date |
|---|---|---|---|
| JP2002116496A Expired - Fee Related JP4098552B2 (ja) | 2002-04-18 | 2002-04-18 | 光ファイバーケーブルの架空布設用吊線支持金具 |
Country Status (1)
| Country | Link |
|---|---|
| JP (1) | JP4098552B2 (ja) |
Families Citing this family (4)
| Publication number | Priority date | Publication date | Assignee | Title |
|---|---|---|---|---|
| JP4653677B2 (ja) * | 2005-03-09 | 2011-03-16 | 東神電気株式会社 | Ftth端末引留具 |
| JP4849904B2 (ja) * | 2006-02-09 | 2012-01-11 | 中国電力株式会社 | メッセンジャーワイヤーの架設方法 |
| JP5114220B2 (ja) * | 2008-01-10 | 2013-01-09 | 株式会社中電工 | 光ドロップケーブル引留具 |
| US10064810B2 (en) | 2014-05-01 | 2018-09-04 | Avon Products, Inc. | Matte cosmetic compositions |
-
2002
- 2002-04-18 JP JP2002116496A patent/JP4098552B2/ja not_active Expired - Fee Related
Also Published As
| Publication number | Publication date |
|---|---|
| JP2003319540A (ja) | 2003-11-07 |
Similar Documents
| Publication | Publication Date | Title |
|---|---|---|
| JP4098552B2 (ja) | 光ファイバーケーブルの架空布設用吊線支持金具 | |
| US6325338B1 (en) | Bridle ring saddle | |
| WO2014204907A1 (en) | Conductor spool and optical fiber / electrical composite cable with conductor spool assembly | |
| KR101421942B1 (ko) | 광케이블용 인입선 행거 | |
| US20050224615A1 (en) | Flexible cable container payout tube | |
| US11768344B2 (en) | Cable wiring method | |
| CN101855801B (zh) | 张力传递工具 | |
| CN215752257U (zh) | 一种自动报警功能的汽车线束 | |
| CA3152670C (en) | Cable wiring method | |
| JP3989207B2 (ja) | 牽引線入りケーブル保護管、多条管路システム、および牽引線通線方法 | |
| CN219505946U (zh) | 一种嵌入式车载显示屏 | |
| IT202000014977A1 (it) | Dispositivo per posare cavi all'interno di un condotto per cavi | |
| KR101008559B1 (ko) | 통신케이블 고정용 클램프 | |
| KR20170041551A (ko) | 케이블 권취방법과 그 권취된 케이블의 포설방법 및 그에 사용되는 케이블 권취드럼 | |
| CN210864132U (zh) | 光纤配线器 | |
| JP2003319541A (ja) | 光ファイバーケーブルの架空布設用受け具 | |
| KR200294305Y1 (ko) | 케이블용 클램핑기구 | |
| JP3484635B2 (ja) | 通線工法および障害物の乗り越え工具 | |
| JP3350663B2 (ja) | 移動金車 | |
| CN209961982U (zh) | 一种光缆架空敷设特制组件 | |
| JP4273477B2 (ja) | ドロップケーブルコイルおよびドロップケーブル引き落とし方法 | |
| JPH08240753A (ja) | 自己支持型光ケーブルおよび引き落とし方法 | |
| JPH10243510A (ja) | ケーブル案内用具 | |
| JP3359597B2 (ja) | 引込線引留具 | |
| JPH0716516U (ja) | 架空送電線用線状体巻付機 |
Legal Events
| Date | Code | Title | Description |
|---|---|---|---|
| A621 | Written request for application examination |
Free format text: JAPANESE INTERMEDIATE CODE: A621 Effective date: 20050325 |
|
| A977 | Report on retrieval |
Free format text: JAPANESE INTERMEDIATE CODE: A971007 Effective date: 20070518 |
|
| A131 | Notification of reasons for refusal |
Free format text: JAPANESE INTERMEDIATE CODE: A131 Effective date: 20070703 |
|
| A521 | Written amendment |
Free format text: JAPANESE INTERMEDIATE CODE: A523 Effective date: 20070831 |
|
| TRDD | Decision of grant or rejection written | ||
| A01 | Written decision to grant a patent or to grant a registration (utility model) |
Free format text: JAPANESE INTERMEDIATE CODE: A01 Effective date: 20080219 |
|
| A61 | First payment of annual fees (during grant procedure) |
Free format text: JAPANESE INTERMEDIATE CODE: A61 Effective date: 20080313 |
|
| R150 | Certificate of patent or registration of utility model |
Ref document number: 4098552 Country of ref document: JP Free format text: JAPANESE INTERMEDIATE CODE: R150 Free format text: JAPANESE INTERMEDIATE CODE: R150 |
|
| FPAY | Renewal fee payment (event date is renewal date of database) |
Free format text: PAYMENT UNTIL: 20110321 Year of fee payment: 3 |
|
| R250 | Receipt of annual fees |
Free format text: JAPANESE INTERMEDIATE CODE: R250 |
|
| R250 | Receipt of annual fees |
Free format text: JAPANESE INTERMEDIATE CODE: R250 |
|
| R250 | Receipt of annual fees |
Free format text: JAPANESE INTERMEDIATE CODE: R250 |
|
| R250 | Receipt of annual fees |
Free format text: JAPANESE INTERMEDIATE CODE: R250 |
|
| R250 | Receipt of annual fees |
Free format text: JAPANESE INTERMEDIATE CODE: R250 |
|
| R250 | Receipt of annual fees |
Free format text: JAPANESE INTERMEDIATE CODE: R250 |
|
| LAPS | Cancellation because of no payment of annual fees |