JP4044244B2 - 窒化ケイ素セラミックヒータ - Google Patents
窒化ケイ素セラミックヒータ Download PDFInfo
- Publication number
- JP4044244B2 JP4044244B2 JP21812599A JP21812599A JP4044244B2 JP 4044244 B2 JP4044244 B2 JP 4044244B2 JP 21812599 A JP21812599 A JP 21812599A JP 21812599 A JP21812599 A JP 21812599A JP 4044244 B2 JP4044244 B2 JP 4044244B2
- Authority
- JP
- Japan
- Prior art keywords
- layer
- connection terminal
- silicon nitride
- ceramic heater
- lead wire
- Prior art date
- Legal status (The legal status is an assumption and is not a legal conclusion. Google has not performed a legal analysis and makes no representation as to the accuracy of the status listed.)
- Expired - Fee Related
Links
Images
Landscapes
- Resistance Heating (AREA)
Description
【発明の属する技術分野】
本発明は、一般家庭用、電子部品用、産業機械用および自動車用等の広範囲に利用し得るセラミックヒータ、特にその接続端子部の構造に関する。
【0002】
【従来の技術】
従来から、酸素センサー等に用いられるセラミックヒータは、アルミナセラミックスを主成分とする基体中にW,Mo等の高融点金属から成る発熱体を埋設して成り、その接続端子部では、リード引き出し用導通部上にメタライズ層を施し、この上に外部接続用接続端子を設ける構造になっている。また、より高温用のヒータとして窒化ケイ素質セラミックスも使用されている。この構造は、高融点金属線等から成る発熱体、リード線を埋設し、リード線端部よりこれを外表面に露出させて、これを導通部としてメタライズを施し、この上に、接続端子を設ける。さらに、この外部接続用接続端子は、セラミックス基体に同一曲率を持った金属製のパッド等であって、その上に金属リード端子を接続した形状を呈しており、このリード端子より電流を流し、抵抗発熱体を発熱させる構造である。特に、窒化ケイ素質セラミックヒータは、常温強度、高温強度が高く、熱膨張率が小さく、高温用途のヒータとして利用価値が高く、ディーゼルエンジンの始動用グロープラグや燃焼器の点火ヒータ、酸素センサー用ヒータ等に用いられている(たとえば特公昭62−19034号、特公昭63−51356号公報参照)。
【0003】
ところで、酸素センサー、グロープラグ等に代表されるセラミックヒータにおいては、その急速昇温性能を向上させるために、窒化ケイ素材料が、耐熱性、耐熱衝撃性等に優れることから急速昇温可能で、耐久性に優れるセラミックヒータ支持体として有望視されている。この接続端子においてもアルミナセラミックスのセラミックヒータ等と同様に、露出したリード引き出し用導通部上にメタライズを施し、この上に外部接続用接続端子を設ける構造になっている。
【0004】
メタライズ層、および接続端子は、発熱体であるヒータに通電させるため、導電率の高い材料が使用されるが、金属材料、およびメタライズ層組成物は窒化ケイ素に比べて、熱膨張率が大きい。このため要求される繰り返し通電時に熱膨張差による熱応力が発生する。このようなヒータにおいては、これらの材料との熱膨張差による熱応力によって磁器、およびメタライズ層中にクラックが生じやすい。窒化ケイ素材料は、アルミナセラミックス等に代表される他のセラミックスに比べて、さらに熱膨張率の低い特徴を有している。具体的には、窒化ケイ素基体の熱膨張率はアルミナセラミックスの半分以下の3*E−6/℃(*E−6は、×10-6を表す、以下同じ)である。したがって、アルミナセラミックス等と比較して、使用する外部接続用接続端子として用いられるインバール合金KV−6(商品名)などの金属端子(その熱膨張率はE−5レベルである)との熱膨張差が大きく、使用時の熱サイクル時に高応力が発生し、セラミックス基体、およびメタライズ層中にクラックが発生して耐久性が劣化してまう問題点がある。
【0005】
【発明が解決しようとする課題】
本発明の目的は、窒化ケイ素質セラミックスの外周部に取付けられる接続端子部付近における熱膨張に起因したクラックの発生を抑制して耐久性能を向上した窒化ケイ素セラミックヒータを提供することである。
【0006】
【課題を解決するための手段】
本発明は、窒化ケイ素質セラミックスから成る棒状基体内に、抵抗発熱体およびリード線を埋設し、基体の外周部にリード線と電気的に接続された接続端子部を形成した窒化ケイ素セラミックヒータにおいて、
接続端子部は、
(a)基体の外周面上に形成されるメタライズ層であって、
リード線に接続され、V,Ti,Mo,Mnの少なくとも1つを主成分として含む第1層と、
第1層上に形成され、Au,Niを主成分とし、Niシリサイドを5〜20vol%含む第2層とを有するメタライズ層と、
(b)このメタライズ層の第2層上に形成される少なくともFe,Niを含む合金から成る接続端子と、
(c)接続端子に固定されるリード端子と、
を具備することを特徴とする窒化ケイ素セラミックヒータである。
【0007】
また本発明は、接続端子は、Fe−Ni−Co合金であり、
その熱膨張率(室温〜500℃)が、6.0×10-6/℃以下であることを特徴とする。
【0008】
本発明に従えば、室温から高温まで使用されれるセラミックヒータの接続端子部において脆性化合物の生成を抑制しつつ、接続端子部の基体への密着性を高めることで、発生する応力集中によるクラックの進展による耐久性能の劣化を防ぎ、耐久性能に優れた窒化ケイ素質セラミックスの特性を充分に発揮させる。
【0009】
そのために、本発明では、メタライズ層12を窒化ケイ素基体界面側にV、Ti、Mo、Mnを主成分とする第1層15と、接続端子側にAuおよびNiを主成分とする第2層16とを含む2層構造とするとともに、第2層中のNiシリサイドの析出量を5vol%以上、20vol%以下になるようにする。また、好適には、外部接続用接続端子14のメタライズ層界面側に白金などの介在層13を形成させる。接続端子14の材質を、Fe−Niを含む合金とし、好ましくはFe−Ni−Co合金であって、熱膨張率(室温RT〜500℃、以下同じ)が6.0*E−6/℃以下とし、好ましくは、3*E−6/℃〜5*E−6/℃である。
【0010】
メタライズ層、窒化ケイ素基体、接続端子は異なった熱膨張率を有するので、使用時の降昇温過程に、異なった伸縮挙動を示す。これによって熱応力が発生し、耐久性劣化の原因となる。ここで、窒化ケイ素はこれ自体では難焼結性を呈するため、希土類酸化物、アルミナ、マグネシア等の焼結助剤を添加して緻密体を得る。この助剤量は材料によって異なるが、これら助剤合計で5〜25重量%の割合で含まれ、その熱膨張はその粒界相の量比で多少異なるが、ほぼ3*E−6/℃〜4*E−6/℃である。また、外部接続用接続端子は、F−Ni−Co合金にすることで6*E−6/℃であるが、メタライズ層はいずれも10*E−6/℃以上の高熱膨張となり、接続端子と磁器である基体との間に挟まれており、応力が集中する構造となっている。
【0011】
この熱応力の緩和のためにメタライズ層のヤング率を低下させて熱応力の吸収を図る。具体的には、メタライズ層中の組成を制御する。メタライズ層のAu/Ni系の第2層はNiの含有量によってそのヤング率が異なり、Auマトリックス中にNi化合物が析出した組織からなる。このNi化合物はメタライズ形成過程で窒化ケイ素の分解やSiの拡散によってシリサイド化している。このNiシリサイドは脆性化合物であり、応力集中時に選択的にクラックが進展し、電極部の耐久劣化の原因となる。本件発明者の検討の結果、Ni化合物の量比の制御によってクラックの進展を抑えることができることが判った。Auマトリックス中のNi化合物の析出量、すなわちNiシリサイドの含有量を20vol%以下にすることが必要である。20vol%よりも大きいと、第2層のヤング率が大きくなり、クラック抑制効果が不充分である。このNiシリサイドの含有量は、15vol%以下にすることが望ましい。
【0012】
しかしながらAu/Ni合金ロウ材である第2層は、Auリッチ組成となると、ヤング率が低下する反面、Ni量が少ないと、窒化ケイ素との濡れ性が悪く、また変質して鱗片状になって剥離しやすくなってしまうことから、Ni−Si合金は、5vol%以上存在することが必要である。また、メタライズ層のAu,Niを主成分とする第2層と磁器との界面濡れ改善層となる第1層を設けることで濡れ性をさらに改善できる。具体的には、V,Ti,Mo,Mn等の活性金属を主成分とする第1層を形成する。この第1層は、スパッタリング、溶射等によって形成してもよい。
【0013】
また本発明は、メタライズ層の第2層と接続端子との間に、白金Pt、またはパラジウムPdから成る介在層が設けられることを特徴とする。
【0014】
本発明に従えば、外部接続用接続端子のメタライズ層界面側に白金などの介在層を形成させる。接続端子は、Fe,Niを含有する合金からなるので、第2層に接続端子をロウ付けした際に、接続端子中のNi成分が第2層中に拡散し、第2層中にNi−Si合金が多量に析出してしまい、耐久性が劣化してしまう。本発明によると、第2層の外部接続用接続端子との界面に、Niの第2層への拡散によるNiシリサイドの生成防止のために白金などの介在層13を設けることで第2層中のNi−Si合金量を前記の割合に安定に制御し、耐久性の維持が可能となる。具体的にはメッキ処理等によって白金を成膜する。この介在層の厚みは3μm以上がよく、特に20μm以上が望ましい。3μmより薄いとロウ付け時に白金などと金の反応による白金などの介在層の溶出が起こり、Niの拡散を有効に防止できないためである。
【0015】
【発明の実施の形態】
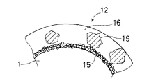
図1は、本発明の実施の一形態の窒化ケイ素セラミックヒータにおける接続端子部4を示す軸線に直角な拡大断面図である。窒化ケイ素質セラミックスから成る棒状の電気絶縁性基体1には、後述のスルーホール導体6が半径方向に延びて形成される。この導体6には、本発明に従う接続端子部4が接続され、ここにおいてメタライズ層12と接続端子14とがこの順序で下から上に配置されて接続される。この接続端子14には、リード端子7が溶接されて固定される。メタライズ層12は、基体1の外周面上に形成される第1層15と、その第1層15上に形成される第2層16とを含む。
【0016】
図2は図1に示される接続端子部4を備える窒化ケイ素セラミックヒータの全体の構成を示す斜視図であり、図3はそのセラミックヒータの一部を切欠いて示す断面図である。これらの図面を参照して、基体1の内部に、抵抗発熱体2および一対のリード線3が埋設されており、基体1の外周部には、リード線3と電気的に接続された一対の接続端子部4が形成されている。
【0017】
図4は図2のセラミックヒータの抵抗発熱体2形成部(Y1−Y1)の横断面図、図5はリード線3形成部(Y2−Y2)の横断面図、図6は接続端子部(Y3−Y3)の横断面図である。セラミックヒータにおける基体1は、セラミックスコア部1aとそのシェル部1bによって構成されており、抵抗発熱体2、リード線3は、いずれも少なくとも一対の配線としてセラミックスコア部1aの周囲に埋設された構造から成ることから、セラミックヒータの各横断面において抵抗発熱体2またはリード線3が棒状体の中心20からそれぞれr1,r2,r3の同心円領域に形成されている。このように、抵抗発熱体2やリード線3を同心円領域に形成することにより、局所的な応力の発生を防止し、過酷な熱サイクル印加時においても歪みの発生を抑制し耐久性を高めることができる。なお、同心円領域とは、各横断面内における中心からの距離の差が±0.2mm程度まで許容し得ることを意味する。
【0018】
抵抗発熱体2、リード線3は、図4〜図6の各横断面において偶数個(図5では4本)形成し、これらはそれぞれ同心円領域において等間隔にて形成することによって、さらに歪みの発生を抑制することができる。
【0019】
シェル部1bは、その厚みが0.3〜1.5mmであることが望ましい。これは、上記厚みが1.5mmよりも厚いと、ヒータ表面の昇温速度が遅くなり、0.3mmよりも薄いと、熱衝撃により磁器破壊が生じてしまうためである。
【0020】
上記構成のセラミックヒータにおいては、抵抗発熱体2およびリード線3は、いずれも導体材料によって形成されるものであるが、抵抗発熱体2のみによる加熱効率を高めるために抵抗発熱体2とリード線3との抵抗比率(抵抗発熱体/リード線)が大きいことが望まれている。
【0021】
かかる抵抗調整にあたり、抵抗発熱体2およびリード線3がたとえば、導電性成分と絶縁性成分との含有比率を変えた異なる導体材料によって形成した場合、つまり、抵抗発熱体2を高抵抗導体によって、またリード線3を低抵抗導体によって形成した場合、それぞれの導体材料自体の熱膨張特性や焼成収縮挙動、導電成分の粒径が異なるなどの他の物性が異なるために、基体との同時焼成時、または熱サイクルが印加された場合にヒータ全体として歪みなどが生じやすくなり耐久性が低下してしまう。
【0022】
そこで本件実施の形態では、抵抗発熱体2およびリード線3がいずれも同一組成の導体材料によって形成されている。抵抗発熱体2およびリード線3との抵抗比率を高めるために、それぞれの導体の膜厚や線幅によって調整する。抵抗発熱体2とリード線3との膜厚差が大きくなると、その段差部が異常加熱によって応力集中が発生し、断線や基体の破壊などが生じてしまうおそれがあるので、この問題を解決するために、抵抗発熱体2およびリード線3との間に抵抗発熱体2の膜厚よりも大きく、リード線3の膜厚よりも小さい中間的の膜厚を有する接続用配線5を配設する。
【0023】
前記導体材料の同一性については、導体中における金属成分の含有比率によって定め、その含有量が±5vol%以内までが許容でき、その差が5vol%を超えると導体間の特性が変わり、耐久性が低下する。
【0024】
リード線3と、基体1の外周部に形成された接続端子部4とは、図1に示すように、基体1に形成されたスルーホール導体6によって電気的に接続されており、接続端子部4には、メタライズ層12の第1層15が電気的に接続される。
【0025】
このように構成されたセラミックヒータには、2本の金属製リード端子7を介して図示しない電源から抵抗発熱体2へと電流が供給され、電流が抵抗発熱体2を通過する際に電気エネルギが熱エネルギに変換され、ヒータの先端部の温度が上昇するようになっている。
【0026】
(基体1)
本発明の窒化ケイ素製セラミックヒータにおける基体1は、耐熱衝撃性および高強度を有し、かつ耐久性を高めるために窒化ケイ素を主成分とするセラミックスから構成されるものである。
【0027】
この窒化ケイ素質セラミックスは、β型窒化ケイ素を主結晶相とするものであり、その粒界相には、焼結助剤成分として、希土類元素、酸素およびケイ素を少なくとも含む結晶相あるいはガラス相により構成される。望ましくは、粒界には結晶相が存在していることが望ましく、特にダイシリケート(RE2 Si2 O7)結晶相を主相して析出させるのがよい。粒界結晶相としてダイシリケート相を主相として析出させることにより、絶縁体が発熱時に外気の酸素と接触した場合においても高い耐酸化性を有することになり、母材の酸化による腐食を防止し母材の長期安定を高めることができるのである。
【0028】
また、絶縁体の焼結体粒界にダイシリケート相を析出させることに関連して、焼結体中の全希土類元素の酸化物換算と、不純物的酸素のSiO2換算量とのSiO2/RE2O3で表されるモル比が2以上であることが望ましい。
【0029】
この不純物的酸素量とは、全酸素量から焼結助剤等として添加した希土類元素酸化物やその他の酸化物(SiO2を除く)に化学量論比率で結合する酸素を差引いた残りの不純物酸素量であり、具体的には窒化ケイ素粉末中に含まれる不純物酸素、あるいはSiO2粉末として添加された酸素から成るものである。また、焼結体の粒界は、完全に結晶化させることによりさらに耐久性を向上させることができる。
【0030】
なお、上記SiO2/RE2O3比が2より小さいと、粒界相に窒素成分を多く含むYAM相やアパタイト相等の窒素を含む結晶相が主として生成しこれにより耐酸化性が劣化してしまう。ただし、SiO2/RE2 O3比が過度に高くなると緻密化を阻害するため、上記モル比は5以下に制御することが望ましい。
【0031】
窒化ケイ素質セラミックス中に含まれる希土類元素としては、Y,Er,Yb,Lu,Smなどが望ましい。これらの元素間での室温特性は大きな有意差はないが、高温特性は生成する粒界相の融点に依存する。したがって、生成するダイシリケートの融点がより高いことから判断すると、Lu,Yb,Erが好ましい。この希土類元素は焼結体中に酸化物換算で1〜10モル%、特に2〜5モル%の割合で存在することが望ましい。
【0032】
上記窒化ケイ素質セラミックス中には、周期律表第IVa,Va,VIa族元素金属や、それらの炭化物、窒化物、ケイ化物、またはSiCなどの分散粒子やウィスカを適量添加分散させて複合化し特性の改善を行うことも当然可能である。
【0033】
(導体材料)
また、抵抗発熱体2、リード線3、接続用配線5は、基体1と同時焼成によって形成されていることが望ましい。基体1として窒化ケイ素質セラミックスを用いる場合には、W,Ta,Moおよびその炭化物、窒化物の群から選ばれる少なくとも1種を主成分とするものであって、さらにこの主成分に対して、分散物質として、窒化ケイ素、窒化ホウ素および炭化ケイ素のうちの少なくとも1種を含有させることが望ましい。
【0034】
この分散物質は、抵抗発熱体2の抵抗を調整するための助剤、熱膨張特性を基体と近似させるための助剤、基体1との同時焼結性と、基体1への密着性を高めるための助剤、さらには抵抗発熱体の粒成長を制御するためのものであり、上記主成分100重量部に対して窒化ホウ素は1〜10重量部、窒化ケイ素は5〜30重量部、炭化ケイ素は2〜15重量部の割合でそれぞれ分散させることが望ましい。
【0035】
また、上記の導体から成る抵抗発熱体2、リード線3、接続用配線5の基体1との接触界面には、導体中の主たる金属のケイ化物相、たとえば、WSi2,TaSi,MoSi2等のケイ化物相が存在する場合があるが、その場合、ケイ化物相の厚さは10μm以下、特に5μm以下であることが望ましい。
【0036】
(製造方法)
本発明の窒化ケイ素製セラミックヒータを製造するための一例について、具体的に説明する。
【0037】
(a)まず、棒状の基体を形成する主原料として、陽イオン不純物量が10000ppm以下のα型またはβ型の窒化ケイ素粉末を用いる。そして、この窒化ケイ素粉末に対して、焼結助剤として、希土類元素酸化物を1〜10モル%、特に2〜5モル%の割合で添加する。また、添加成分として、他にSiO2を添加して酸素量を調整することもできる。
【0038】
前述したように焼結体粒界をダイシリケート結晶相を析出させる上で成形後の成形体中の不純物酸素のSiO2換算量と、周期律表第IIIa族元素の酸化物換算量とのSiO2/RE2 O3モル比率を2以上となるように調整する。
【0039】
そして、これらをボールミル等により混合粉砕する。このようにして得られた混合粉末を公知の成形方法、たとえば、押出成形法によって棒状成形体を作製し、これを乾燥後、必要な長さに切断して、コア成形体を作製する。このコア成形体は、押出成形法以外に、射出成形法、鋳込成形法によっても作製することができる。
【0040】
こうして作製したコア成形体は、後述する導体パターン形成前に、脱脂、仮焼工程を施しておくことが望ましい。これは、コア部の脱バインダ時にパターン部に脱ガスに伴う積層欠陥が生じやすくなるためである。
【0041】
(b)次に、得られた棒状の成形体の表面に、平均粒径が0.1〜10μmの前述したようなタングステンW、モリブデンMoの導体成分に対して、窒化ケイ素などの絶縁成分を添加して抵抗調整し、導体ペーストを調製する。そして、この導体ペーストを用いて抵抗発熱体、リード線の導体パターンを被着形成する。
【0042】
この抵抗発熱体およびリード線のパターンの形成には、転写法を用いることが望ましい。この転写法によれば、まず、転写シートとして樹脂フィルムを用意する。このフィルムはPET(ポリエチレンテレフタレート)、PP(ポリプロピレン)、PTFE(ポリテトラフロロエチレン)等が好適に用いられる。
【0043】
この樹脂フィルムの離型面を上側にし、スキージを駆動させることにより、タングステンなどの導体材料と窒化ケイ素などの絶縁材料などによって抵抗調整された導体ペーストを抵抗発熱体パターン、リード線パターンにスクリーン厚膜印刷する。抵抗発熱体パターン、リード線パターンの膜厚が異なる場合には、数回に分けて転写シートにスクリーン厚膜印刷する。
【0044】
そして、充分に乾燥後、一軸プレス機等によって転写シート、各導体パターンを圧着する。
【0045】
上記のようにして転写シート表面に形成された抵抗発熱体パターンおよびリード線パターンを前記(a)工程によって作製されたコア成形体の表面に転写する。
【0046】
(c)その後、抵抗発熱体、リード線のパターンが転写されたコア成形体の表面に、シェルとなる絶縁層を形成してヒータ成形体を作製する。この絶縁層の形成にあたっては、コア成形体を、前記窒化ケイ素質のセラミックス組成物を含むスラリーを調製し、このスラリー中に浸漬後、乾燥して、前記棒状のコア成形体の前記抵抗発熱体パターンおよび前記リード線パターンの表面に絶縁性のシェルを形成することができる。
【0047】
(d)そして、上記のようにして作製したヒータ成形体を1700〜1900℃の窒素含有雰囲気中で焼成する。この時、焼成温度によっては窒化ケイ素が分解する場合があるために、窒素圧1.5気圧以上の加圧窒素雰囲気中で焼成することが望ましい。特に、窒素ガス加圧焼成では、1700〜1800℃、1.5〜30気圧の窒素圧力中で焼成した後、1800〜1900℃、30気圧以上の窒素圧力中で焼成することにより、緻密化とともに、抵抗発熱体などの導体のケイ化相の形成を抑制できる。
【0048】
(e)接続用端子部およびリード線と接続するためのスルーホール導体6は、焼成後に、レーザーやマイクロドリルによって棒状の焼結体の所定箇所にスルーホールを形成し、そのスルーホー内にAu、Pd、Ptのうち少なくとも1種を主成分とする導体ペーストを充填した後、さらに棒状焼結体の表面に上記組成の導体ペーストを接続用端子部のパターンに印刷塗布し、1100〜1200℃で焼き付け処理することによって形成できる。
【0049】
また、他の方法としては、(c)工程後のヒータ成形体に対して、同様にスルーホールを形成した後、抵抗発熱体などを形成したペーストを充填し、また接続用端子部のパターンを印刷した後、前述した焼成条件で焼成してもよい。
【0050】
(f)基体1の外周面上にメタライズ層12を形成する。メタライズ層12を構成する第1層15は、スパッタリング、溶射などによってV,Ti,Mo.Mnの少なくとも1つを主成分とし、基体1との濡れ改善を行う働きをする。こうして第1層とスルーホール導体6とが電気的に接続される。第1層15の厚みは、0.3〜3μmである。
【0051】
第1層15の上に、第2層16を形成する。この第2層16は、Au,Niを主成分として含むAu/Ni系ロウ材である。第2層16の厚みは、5〜20μmである。
【0052】
(g)図7はリード端子7と接続端子14とを示す断面図である。接続端子14には、リード端子7がスポット溶接などによって固定され、これらのリード端子7と接続端子14の全外周面に、厚さ3mm以上の白金PtやパラジウムPtから成るメッキ層17を形成する。接続端子14は、Fe−Ni系合金から成り、その組成によって特性が異なる。具体的には、29Ni−16Co−55Fe組成のKOVAR(商品名:KV−2、住友特殊金属(株)社製)、32Ni−17Co−51Fe組成のTHERLO(商品名:KV−4、住友特殊金属(株)社製)36Ni−4Co−60Fe組成のスーパーインバー合金等の低熱膨張Fe−Ni−Co基合金が挙げられる。熱膨張はできるだけ低い方が好ましく、一番適している金属はKOVAR合金であり、500℃までの熱膨張率は6.0*E−6/℃である。
【0053】
ここで、KOVAR合金は所定の形状に打ち抜いた後、セラミックス基体の形状に応じた曲面加工が施される。図1〜図7に示される基体1の円柱形では、基体の曲率に合わせたダイスにてプレスして形状加工される。さらに、この接続端子14にメツキ処理、もしくはスパッタリング、溶射等によって白金のメッキ層17から成る成膜を行う。この成膜は、メタライズ層12の第2層16に臨むメタライズ界面のみでよく、図7ではこのメタライズ界面側の部分が介在層18として示される。工程の簡略化には、特にメッキ処理が望ましい。
【0054】
(h)第2層16上に、接続端子14の介在層18をロウ付けする。こうして接続端子部4が完成する。
【0055】
図8は、メタライズ層12の簡略化した組織図である。第1層15によって基体1との濡れ性が前述のように改善されることになる。第2層16では、Niシリサイド19がAuマトリックス中に析出している。本発明では、このようなNiシリサイド19は、第2層16において5〜20vol%含まれ、これによってクラック進展を抑制し、耐久性の劣化を防ぎ、耐久性の向上を図ることができる。
【0056】
図9は、本発明の実施の他の形態の断面図である。この実施の形態は、前述の図1〜図8の実施の形態に類似し、対応する部分には同一の参照符を付す。図9は、前述の実施の形態における図6に対応する。セラミックヒータ用の接続端子部4は、窒化ケイ素を主成分とする円柱形状、もしくは角柱形状の焼結体上に形成される。ここで、窒化ケイ素を主成分とした基体1は、窒化ケイ素原料に所定の割合の焼結剤を添加し、混合撹拌後一般的に知られている手法であるホットプレス法で得られる。熱衝撃、強度の観点から、平均粒径を3μm以下にし、さらに、水分等の侵入を防止し、滑らかな表面粗さを得るために緻密体とすることが望ましい。基体1中のリード線3は基体1である芯材の中心20より当間隔、もしくは円周方向に配置されている。このリード線3はWに代表される周期律表IVa、Va、VIa族の高融点金属、もしくはその炭化物、窒化物等であり、印刷もしくは金属線、成形体の埋め込み等によって形成され、窒化ケイ素の熱膨張率に近似するために、窒化ケイ素、窒化ホウ素等を添加してもよい。さらに、このリード線3と接続端子部4のメタライズ層12の第1層15に接続するために、スルーホール導体6が形成される。
【0057】
ホットプレス法では、2枚の板状のセラミックグリーンシート(未焼成体)の間に、発熱体2とリード線3などを挟み込み、密着させた後、ホットプレス焼成(上下からパンチで圧力を印加しながら、焼成する方法)して緻密化する。その後、棒状体に研削加工するものである。そのほかの構成は、前述の実施の形態と同様である。
【0058】
本件発明者の実験結果を述べる。
実施例1
図1〜図7に示すように円柱形セラミックヒータを先ず、製造する。導体パターンをロッドに転写し、その上部をスラリーディッピングにて外層を形成した後、脱脂して、窒素ガス加圧下にて焼成し、抵抗発熱体2、リード線3、接続用配線5とを形成する。その後、外周を研削し、レーザー加工にてスルーホール状導通孔にメタライズ組成物を充填し、真空加熱炉中にて焼き付ける。このスルーホール導体6を覆って基体1の外周面上に、メタライズ層12を形成する。先ず第1層15としてスパッタリング、溶射などによってV,Ti,Mo,Mnの少なくとも1つ、たとえばTiで形成する。次に第2層16として、Au/Vにアクリルバインダーとテルピネオールを添加して作製されたペーストをスクリーン印刷にて曲面印刷した後、真空加熱炉中にて1180℃にて焼き付けて形成して、10μmの厚みに形成した。さらに、その上に外部接続用接続端子14を接合する。この接続端子14は、KOVAR合金製パッド(6*E−6/℃)である接続端子14にNiリード端子7を抵抗溶接にて接合させており、パッドをメタライズ組成物上に乗せて1000℃にてロウ付けした。このとき、接続端子14とリード端子7とには前もって白金Ptのメッキが施されており、メタライズ界面には白金から成る介在層13が存在する。
【0059】
得られたセラミックヒータを室温から所定の温度まで外部加熱によるサイクル試験を実施した。具体的には、セラミックヒータの最高発熱部が1250℃になる電圧を負荷し、外部加熱にて接続端子部4の温度が500℃になるように設定した。温度は接続端子部4に熱電対を埋め込んで測定した。サイクル条件は2分ON、1分OFFとした。実施例1〜6では、メッキによる介在層13は存在せず、実施例7〜11において介在層13が形成される。
【0060】
こうして得られた窒化ケイ素セラミックヒータの実験結果を表1に示す。表1における実施例2〜11は、実施例1と同様な手法で製造し、実験を行った。比較例1〜9でもまた、上述の実施例1と同様な手順で製造し、実験を行った。
【0061】
【表1】
【0062】
表1における「なし」は、Ptから成る介在層13が形成されていないことを表す。メタライズ層12の第2層16はAu/Niの出発組成の重量比wt%を示す。厚みの単位はいずれもμm。断面写真より実測にて判定する。熱膨張は室温より500℃の値を示す。熱膨張率の単位は*E−6/℃である。析出Ni量は断面の顕微鏡写真より画像処理にて判定し、vol%に換算した値である。耐久性能はサイクル数と抵抗変化2%の値を示す。この抵抗変化はヒータ全体抵抗に対する割合である。表1における「メタ不良」は、メタライズ層12が形成されなかったことを表す。「メタライズ剥がれ」は、メタライズ層12が基体1から剥離したことを表す。
【0063】
実施例12,13
図9に示すように円柱形セラミックヒータを先ず製造する。ホットプレスにて焼成後樹脂モールドして円柱形に研削し、スルーホール状導通孔を露出させた。このスルーホール導体6を覆って基体1の外周面に、メタライズ層12を形成する。メタライズ層12として、Au/Ni/Vにアクリルバインダーとテルピネオールを添加して作製されたペーストをスクリーン印刷にて曲面印刷した後、真空加熱炉中にて1180℃にて焼き付けて形成する。
【0064】
さらに、その上に外部接続用接続端子14を、図7に示されるようにして固定する。この接続端子14は、KOVAR合金製パッドであり、ここにNiリード線7を抵抗溶接にて接合させており、パッドをメタライズ層12上に乗せて1000℃にてロウ付けする。また白金から成るメッキが施され、介在層13が形成されるものもある。各実施例12,13および比較例10,11において、Au/Ni混合比を変えたもの、また、接続端子14の白金メッキ処理の有無品を作成し、得られたヒータを室温から所定の温度まで外部加熱によるサイクル試験を実施例1と同様な方法で実施した。そのほかの構成と実験の状態は、前述の実施例1と同様である。
【0065】
実施例14,15
図9に示すように円柱形セラミックヒータを先ず製造する。ホットプレスにて焼成後樹脂モールドして円柱形状に研削し、スルーホール状導通孔を露出させた。このスルーホール導体6を覆って基体1の外周面上にCVD(化学的気相成長法)にてTi膜をスパッタリングしてメタライズ層12の第1層15を形成する。この第1層15の上に、第2層16を形成する。第2層16は、Auにアクリルバインダーとテルピネオールを添加して作製されたペーストをスクリーン印刷にて曲面印刷した後、真空加熱炉中にて1180℃にて焼き付けて形成される。
【0066】
さらに、その上に外部接続用接続端子14を、図7に示されるようにして固定する。この接続端子14は、KOVAR合金製パッド(6*E−6/℃)であり、ここにNiリード線7を抵抗溶接にて接合させており、パッドをメタライズ組成物上に乗せて1000℃にてロウ付けする。接続端子14のメタライズ層12に臨むパッド内面には、CVD法による白金スパッタが施されて介在層13が形成される。各実施例14,15および比較例12において、Au/Ni混合比を変えたもの、また、接続端子の白金メッキ処理の有無品を作成した。
【0067】
得られたヒータを室温から所定の温度まで外部加熱によるサイクル試験を実施例1と同様な方法で実施した。
【0068】
表1の結果から明らかなように、本発明に従い、接続端子上の熱膨張率が6*E−6/℃以下で、かつ濡れ改善のための第1層を有する2層構造メタライズ層12で、第2層16中のNi成分が20vol%以下の試料を用いる実施例1〜15はいずれも電極の耐久試験において、抵抗変化率が2%以下の保持サイクル数が優れた値を示した。
【0069】
これに対して、メタライズ層12の第2層16中のNi成分が20vol%よりも多い試料の比較例1,2では、メタライズ層12中にクラックが発生し、あるサイクル数にて急激な抵抗変化が認められた。
【0070】
また、濡れ改善の第1層15を形成しない試料を用いる比較例5,6においては、メタライズ層12の濡れ性が不充分であり、評価に至っていない。
【0071】
これに対し、白金コートの介在層13を有してかつ第1層を有する2層構造メタライズでも、メタライズ中のNiシリサイドが20vol%より多い試料を用いる比較例7,8,10では、メタライズ中にクラックが発生し、あるサイクル数にて急激な抵抗変化が認められた。
【0072】
さらに、かつ濡れ改善層を有する2層構造メタライズであって、メタライズ層12中のNiシリサイドが15vol%より少ない比較例3,4,9,11,12では、第2層が鱗片状に剥がれ、耐久性能の劣るものであった。
【0073】
【発明の効果】
請求項1の本発明によれば、窒化ケイ素セラミックスから成る基体の接続端子部付近におけるクラックを抑制し、これによって耐久性能を向上することができるようになる。基体の外周面上に窒化ケイ素との濡れ性を確保するために、V,Ti,Mo,Mnを主成分とする濡れ改善の第1層を設けることで、第2層のロウ付け時に悪影響を与えない滑らかなメタライズ面を得ることができる。第1層の上に第2層を形成し、第2層中のNiシリサイドの生成量を抑制することで、メタライズ中への応力集中に伴うクラックの進展を制御して耐久性能の劣化を防止して向上することができる。
【0074】
接続端子には、窒化ケイ素質セラミックス基体との熱膨張差が小さい、少なくともFe,Niを含む合金製とし、昇温時の熱応力を緩和させることができる。
【0075】
請求項2の本発明によれば、接続端子は、窒化ケイ素質セラミックス基体との熱膨張差がさらに小さいFe−Ni−Co合金を用いることによって、昇温時の熱応力をさらに緩和させることができるようになる。
【0076】
請求項3の本発明によれば、外部接続用接続端子のパッド内面に、白金などの介在層を設けることによって、ロウ付け時の接続端子からNiの第2層への拡散を防止し、メタライズの脆化を抑制でき、耐久性能の劣化を防止することができる。
【図面の簡単な説明】
【図1】本発明の実施の一形態の窒化ケイ素セラミックヒータにおける接続端子部4を示す軸線に直角な拡大断面図である。
【図2】図1に示される接続端子部4を備える窒化ケイ素セラミックヒータの全体の構成を示す斜視図である。
【図3】図2のセラミックヒータの一部を切欠いて示す断面図である。
【図4】図2のセラミックヒータの抵抗発熱体2形成部(Y1−Y1)の横断面図である。
【図5】リード線3形成部(Y2−Y2)の横断面図である。
【図6】接続端子部(Y3−Y3)の横断面図である。
【図7】リード端子7と接続端子14とを示す断面図である。
【図8】メタライズ層12の簡略化した組織図である。
【図9】本発明の実施の他の形態の断面図である。
【符号の説明】
1 基体
2 抵抗発熱体
3 リード線
4 接続端子部
5 接続用配線
6 スルーホール導体
7 リード端子
12 メタライズ層
13 介在層
14 接続端子
Claims (3)
- 窒化ケイ素質セラミックスから成る棒状基体内に、抵抗発熱体およびリード線を埋設し、基体の外周部にリード線と電気的に接続された接続端子部を形成した窒化ケイ素セラミックヒータにおいて、
接続端子部は、
(a)基体の外周面上に形成されるメタライズ層であって、
リード線に接続され、V,Ti,Mo,Mnの少なくとも1つを主成分として含む第1層と、
第1層上に形成され、Au,Niを主成分とし、Niシリサイドを5〜20vol%含む第2層とを有するメタライズ層と、
(b)このメタライズ層の第2層上に形成される少なくともFe,Niを含む合金から成る接続端子と、
(c)接続端子に固定されるリード端子と、
を具備することを特徴とする窒化ケイ素セラミックヒータ。 - 接続端子は、Fe−Ni−Co合金であり、
その熱膨張率(室温〜500℃)が、6.0×10-6/℃以下であることを特徴とする請求項1記載の窒化ケイ素セラミックヒータ。 - メタライズ層の第2層と接続端子との間に、白金またはパラジウムから成る介在層が設けられることを特徴とする請求項1または2に記載の窒化ケイ素セラミックヒータ。
Priority Applications (1)
| Application Number | Priority Date | Filing Date | Title |
|---|---|---|---|
| JP21812599A JP4044244B2 (ja) | 1999-07-30 | 1999-07-30 | 窒化ケイ素セラミックヒータ |
Applications Claiming Priority (1)
| Application Number | Priority Date | Filing Date | Title |
|---|---|---|---|
| JP21812599A JP4044244B2 (ja) | 1999-07-30 | 1999-07-30 | 窒化ケイ素セラミックヒータ |
Publications (2)
| Publication Number | Publication Date |
|---|---|
| JP2001043962A JP2001043962A (ja) | 2001-02-16 |
| JP4044244B2 true JP4044244B2 (ja) | 2008-02-06 |
Family
ID=16715037
Family Applications (1)
| Application Number | Title | Priority Date | Filing Date |
|---|---|---|---|
| JP21812599A Expired - Fee Related JP4044244B2 (ja) | 1999-07-30 | 1999-07-30 | 窒化ケイ素セラミックヒータ |
Country Status (1)
| Country | Link |
|---|---|
| JP (1) | JP4044244B2 (ja) |
Families Citing this family (4)
| Publication number | Priority date | Publication date | Assignee | Title |
|---|---|---|---|---|
| JP4673503B2 (ja) * | 2001-06-07 | 2011-04-20 | 日本特殊陶業株式会社 | グロープラグ |
| WO2005117492A1 (ja) * | 2004-05-27 | 2005-12-08 | Kyocera Corporation | セラミックヒータ及びそれを用いたグロープラグ |
| JP5019545B2 (ja) * | 2008-10-24 | 2012-09-05 | 日本特殊陶業株式会社 | セラミック接合体、セラミックヒータおよびガスセンサ |
| DE102015200778A1 (de) * | 2015-01-20 | 2016-07-21 | Robert Bosch Gmbh | Glühstiftkerze |
-
1999
- 1999-07-30 JP JP21812599A patent/JP4044244B2/ja not_active Expired - Fee Related
Also Published As
| Publication number | Publication date |
|---|---|
| JP2001043962A (ja) | 2001-02-16 |
Similar Documents
| Publication | Publication Date | Title |
|---|---|---|
| KR100841271B1 (ko) | 세라믹 히터 및 그 제조방법 | |
| US8471179B2 (en) | Ceramic heater | |
| JP2000340350A (ja) | 窒化ケイ素製セラミックヒータおよびその製造方法 | |
| TW200541377A (en) | Supporting unit for semiconductor manufacturing device and semiconductor manufacturing device with supporting unit installed | |
| JP4044244B2 (ja) | 窒化ケイ素セラミックヒータ | |
| JP4768185B2 (ja) | 静電チャック、サセプタおよびその製造方法 | |
| JPH10144459A (ja) | 通電発熱体 | |
| JPH06151044A (ja) | セラミックスヒーター及びその製造方法 | |
| JP4044245B2 (ja) | 窒化ケイ素セラミックヒータ | |
| JP3078418B2 (ja) | セラミック発熱体 | |
| CN100596248C (zh) | 陶瓷加热器及其制造方法 | |
| JP3612086B2 (ja) | セラミック発熱体 | |
| KR101201388B1 (ko) | 세라믹 히터 및 그것을 사용한 가열용 인두 | |
| JP2004259610A (ja) | セラミックヒータとその製造方法、およびグロープラグ | |
| JP2000340349A (ja) | セラミックヒータ | |
| JP7576413B2 (ja) | 接合体および基板保持部材 | |
| JP7621073B2 (ja) | 接合体 | |
| CN101588655B (zh) | 陶瓷加热器及采用它的加热用烙铁 | |
| JP3588227B2 (ja) | セラミックヒータ | |
| JPH09245946A (ja) | セラミックヒータ | |
| JP2646083B2 (ja) | セラミツクヒータ | |
| JP2004281369A (ja) | セラミックヒータおよびそれを用いた流体加熱装置 | |
| JP2537606B2 (ja) | セラミツクヒ−タ | |
| JPH04129189A (ja) | セラミックヒータ | |
| JP3466399B2 (ja) | セラミック発熱体 |
Legal Events
| Date | Code | Title | Description |
|---|---|---|---|
| A621 | Written request for application examination |
Free format text: JAPANESE INTERMEDIATE CODE: A621 Effective date: 20060210 |
|
| TRDD | Decision of grant or rejection written | ||
| A01 | Written decision to grant a patent or to grant a registration (utility model) |
Free format text: JAPANESE INTERMEDIATE CODE: A01 Effective date: 20071113 |
|
| A61 | First payment of annual fees (during grant procedure) |
Free format text: JAPANESE INTERMEDIATE CODE: A61 Effective date: 20071115 |
|
| R150 | Certificate of patent or registration of utility model |
Free format text: JAPANESE INTERMEDIATE CODE: R150 |
|
| FPAY | Renewal fee payment (event date is renewal date of database) |
Free format text: PAYMENT UNTIL: 20101122 Year of fee payment: 3 |
|
| FPAY | Renewal fee payment (event date is renewal date of database) |
Free format text: PAYMENT UNTIL: 20101122 Year of fee payment: 3 |
|
| FPAY | Renewal fee payment (event date is renewal date of database) |
Free format text: PAYMENT UNTIL: 20111122 Year of fee payment: 4 |
|
| FPAY | Renewal fee payment (event date is renewal date of database) |
Free format text: PAYMENT UNTIL: 20111122 Year of fee payment: 4 |
|
| FPAY | Renewal fee payment (event date is renewal date of database) |
Free format text: PAYMENT UNTIL: 20121122 Year of fee payment: 5 |
|
| FPAY | Renewal fee payment (event date is renewal date of database) |
Free format text: PAYMENT UNTIL: 20121122 Year of fee payment: 5 |
|
| FPAY | Renewal fee payment (event date is renewal date of database) |
Free format text: PAYMENT UNTIL: 20131122 Year of fee payment: 6 |
|
| LAPS | Cancellation because of no payment of annual fees |
