JP4012002B2 - 電解生成酸性水の処理装置 - Google Patents
電解生成酸性水の処理装置 Download PDFInfo
- Publication number
- JP4012002B2 JP4012002B2 JP2002218439A JP2002218439A JP4012002B2 JP 4012002 B2 JP4012002 B2 JP 4012002B2 JP 2002218439 A JP2002218439 A JP 2002218439A JP 2002218439 A JP2002218439 A JP 2002218439A JP 4012002 B2 JP4012002 B2 JP 4012002B2
- Authority
- JP
- Japan
- Prior art keywords
- water
- treatment
- acidic water
- pipe
- tank
- Prior art date
- Legal status (The legal status is an assumption and is not a legal conclusion. Google has not performed a legal analysis and makes no representation as to the accuracy of the status listed.)
- Expired - Fee Related
Links
- XLYOFNOQVPJJNP-UHFFFAOYSA-N water Substances O XLYOFNOQVPJJNP-UHFFFAOYSA-N 0.000 title claims description 211
- 230000002378 acidificating effect Effects 0.000 title claims description 75
- ZAMOUSCENKQFHK-UHFFFAOYSA-N Chlorine atom Chemical compound [Cl] ZAMOUSCENKQFHK-UHFFFAOYSA-N 0.000 claims description 30
- 239000000460 chlorine Substances 0.000 claims description 30
- 229910052801 chlorine Inorganic materials 0.000 claims description 30
- 238000001514 detection method Methods 0.000 claims description 14
- 230000003472 neutralizing effect Effects 0.000 claims description 11
- 239000002253 acid Substances 0.000 claims description 8
- 238000005868 electrolysis reaction Methods 0.000 claims description 4
- 238000004519 manufacturing process Methods 0.000 claims description 3
- 238000004070 electrodeposition Methods 0.000 claims 1
- 239000003610 charcoal Substances 0.000 description 14
- 238000006386 neutralization reaction Methods 0.000 description 10
- 229910001610 cryolite Inorganic materials 0.000 description 9
- 238000006298 dechlorination reaction Methods 0.000 description 7
- 239000004575 stone Substances 0.000 description 7
- 238000003860 storage Methods 0.000 description 7
- 230000000149 penetrating effect Effects 0.000 description 6
- 238000009423 ventilation Methods 0.000 description 6
- 238000009795 derivation Methods 0.000 description 4
- 230000007935 neutral effect Effects 0.000 description 4
- 230000000694 effects Effects 0.000 description 3
- 239000012528 membrane Substances 0.000 description 3
- 238000000034 method Methods 0.000 description 3
- VTYYLEPIZMXCLO-UHFFFAOYSA-L Calcium carbonate Chemical compound [Ca+2].[O-]C([O-])=O VTYYLEPIZMXCLO-UHFFFAOYSA-L 0.000 description 2
- KZBUYRJDOAKODT-UHFFFAOYSA-N Chlorine Chemical compound ClCl KZBUYRJDOAKODT-UHFFFAOYSA-N 0.000 description 2
- 238000010586 diagram Methods 0.000 description 2
- 238000012423 maintenance Methods 0.000 description 2
- 230000001954 sterilising effect Effects 0.000 description 2
- 230000002159 abnormal effect Effects 0.000 description 1
- 230000000844 anti-bacterial effect Effects 0.000 description 1
- 239000007864 aqueous solution Substances 0.000 description 1
- 229910000019 calcium carbonate Inorganic materials 0.000 description 1
- 238000004140 cleaning Methods 0.000 description 1
- 238000007599 discharging Methods 0.000 description 1
- 239000000945 filler Substances 0.000 description 1
- 239000010977 jade Substances 0.000 description 1
- 230000007257 malfunction Effects 0.000 description 1
- 239000008239 natural water Substances 0.000 description 1
- 239000011347 resin Substances 0.000 description 1
- 229920005989 resin Polymers 0.000 description 1
- 150000003839 salts Chemical class 0.000 description 1
- 230000000007 visual effect Effects 0.000 description 1
Images
Landscapes
- Water Treatment By Sorption (AREA)
Description
【発明の属する技術分野】
本発明は、電解槽にて生成される電解生成酸性水を処理して排水するための電解生成酸性水の処理装置に関する。
【0002】
【従来の技術】
有隔膜電解槽を有する電解水生成装置は、電解生成酸性水と電解生成アルカリ性水を独立的に生成させるもので、電解生成酸性水は高い殺菌能を有することから各種の分野で殺菌用水として広く利用され、また、電解生成アルカリ性水は高い洗浄能を有することから各種の分野で洗浄用水として広く利用される。すなわち、電解生成水における電解生成酸性水と電解生成アルカリ性水は、用途に応じて使い分けされる。
【0003】
しかしながら、有隔膜電解槽においては、電解生成酸性水と電解生成アルカリ性水が同時にほぼ同量生成されるため、電解生成酸性水と電解生成アルカリ性水を用途に応じて使い分する場合にはその消費量に差が生じ、電解生成酸性水と電解生成アルカリ性水のうちの消費量が少ない方、または消費されない方の電解生成水を直接、または、一旦貯留タンクに貯留させた後にオーバフローして排水する手段が採られている。
【0004】
また、無隔膜電解槽を有する電解水生成装置は、酸性水およびアルカリ性水が混在する中性に近い電解生成水を生成させるものであるが、一方の電極の近傍では酸性に富む電解生成水の濃度が高く、かつ、他方の電極の近傍ではアルカリ性に富む電解生成水の濃度が高い。このため、無隔膜電解槽で生成される電解生成水においても、酸性に富む電解生成水を抽出して電解生成酸性水として利用し、かつ、アルカリ性に富む電解生成水を抽出して電解生成アリカリ性水として利用することがある。電解生成水をこのように使い分けする場合においても、上記したごとき消費量の差が生じ、消費されない方の電解生成水は排出されることになる。
【0005】
【発明が解決しようとする課題】
ところで、電解生成酸性水は、相当程度の酸性度を有することは勿論であるが、相当量の塩素成分を含有するもので、電解生成酸性水を排出する場合には、排出途中の電解生成酸性水から塩素ガスが発生する。発生する塩素ガスは、周辺の機械、機器等にさびを発生させるおそれがあるとともに、衛生上も好ましいとはいえない。従って、本発明の目的は、電解生成酸性水の排水における塩素成分および酸性度に起因する問題に対処することにある。
【0006】
【課題を解決するための手段】
本発明は電解生成酸性水の処理装置に関するものであって、本発明に係る処理装置は、電解槽にて生成される電解生成酸性水を処理して排水するための処理装置である。
【0007】
しかして、本発明に係る第1の処理装置は、電解生成酸性水中の塩素成分を除去する塩素除去能および電解生成酸性水を中和する中和能を一体に有する処理槽と、前記電解槽にて生成された電解生成酸性水を前記処理槽内へ導入する導入管路と、前記処理槽で処理された処理済み水を外部へ導出する導出管路を備えるとともに、前記導入管路と前記導出管路を連結する流水バイパス管路と、前記導入管路と前記導出管路を連結する通気管路を備えていることを特徴とするものである。
【0008】
また、本発明に係る第2の処理装置は、電解生成酸性水中の塩素成分を除去する塩素除去能を有する第1の処理槽と、電解生成酸性水を中和する中和能を有する第2の処理槽と、これら両処理槽を互いに連結する連結管路と、前記電解槽にて生成された電解生成酸性水を前記両処理槽のいずれか一方の処理槽内へ導入する導入管路と、前記両処理槽のいずれか他方の処理槽で処理された処理済み水を外部へ導出する導出管路を備えるとともに、前記導入管路と前記連結管路を連結する第1の流水バイパス管路と、前記連結管路と前記導出管路を連結する第2の流水バイパス管路と、前記導入管路と前記導出管路を連結する通気管路を備えていることを特徴とするものである。
【0009】
本発明に係る第1の処理装置においては、前記導入管路は前記処理槽の底部に臨んで開口し、かつ、前記導出管路は前記処理槽の上方空間部に臨んで開口する構成とすることができる。
【0010】
本発明に係る第2の電解生成酸性水の処理装置においては、前記導入管路は前記両処理槽のいずれか一方の処理槽の底部に臨んで開口し、前記連結管路は同一方の処理槽の上方空間部に臨んで開口し、かつ、前記導出管路は前記両処理槽のいずれか他方の処理槽の上方空間部に臨んで開口する構成とすることができる。
【0011】
本発明に係るこれらの処理装置においては、前記導入管路および前記導出管路における上方の水平部位は、流水層の上方に空気層が存在する流水量に設定するようにすることができる。
【0012】
また、本発明に係るこれらの処理装置においては、前記流水バイパス管路には同流水バイパス管路内を視認できる検出部位を設ける構成とすることができる。
【0013】
【発明の作用・効果】
本発明に係る第1の処理装置においては、電解槽にて生成された電解生成酸性水は排出時には、一旦、塩素成分を除去する塩素除去能および中和能を一体に有する処理槽に導入される。当該処理槽内に導入された電解生成酸性水は、処理槽内で脱塩素処理と中和処理がなされ、略中性で安全な処理済み水となって処理槽の外部へ導出されて排水される。
【0014】
また、本発明に係る第2の処理装置においては、電解槽にて生成された電解生成酸性水は排出時には、先ず、第1の処理槽および第2の処理槽のいずれか一方の処理槽に導入され、次いで、第1の処理槽および第2の処理槽のいずれか他方の処理槽に導入される。この場合、第1の処理槽は塩素成分を除去する塩素除去能を有しかつ第2の処理槽は中和能を有することから、電解生成酸性水の脱塩素処理と中和処理が並列的になされ、電解生成酸性水は略中性で安全な処理済み水となて外部へ導出されて排水される。
【0017】
本発明に係るこれらの各処理装置において、導入管路と導出管路を連結する流水バイパス管路と、導入管路と導出管路を連結する通気管路を備える構成としているので、導入管路および/または導出管路が詰まって処理槽内での流水の流動が停止しても、流水をバイパス管路を通して排水することが可能であるとともに、処理槽内からの流水の漏洩が防止される。この場合、導入管路および導出管路における上方の水平部位では、流水層の上方に空気層が存在している流水量に設定するようにすることができ、これにより、被処理水である電解生成酸性水の導入流れ、および、処理済み水の導出流れを円滑にすることができる。
【0018】
本発明に係る各処理装置において、導入管路を処理槽の底部に延ばして開口し、かつ、導出管路を処理槽の上方空間部に臨ませて開口するように構成すれば、非処理水である電解生成酸性水の処理槽内での滞留時間を増大させることができて、電解生成酸性水の脱塩素処理および/または中和処理をより効果的に行うことができる。
【0019】
本発明に係る各処理装置において、流水バイパス管路に、同流水バイパス管路内を視認できる検出部位を設けるようにすれば、流水バイパス管路内における流水の流れの状況を視認することによって処理装置の作動状態を確認することができて、当該処理装置の保守管理が容易になる。
【0020】
【発明の実施の形態】
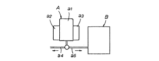
本発明は、電解生成酸性水の処理装置に関するもので、図1には、本発明に係る電解生成酸性水の処理装置を、有隔膜電解槽を有する電解水生成装置に接続した状態を概略的に示している。図1において、符号Aは電解水生成装置、符号Bは本発明に係る電解生成酸性水の処理装置である。当該電解水生成装置Aは、有隔膜電解槽a1と、一対の貯留タンクa2,a3を有するものである。当該電解水生成装置Aにおいては、例えば、食塩等の希薄水溶液を被電解水として、有隔膜電解槽a1の陽極室にて酸性水である電解生成酸性水を生成し、また、陰極室にてアルカリ性水である電解生成アルカリ性水を生成するものである。
【0021】
電解生成酸性水は、例えばpHが2.5〜3.5の強酸性の電解生成水であって、相当量の塩素成分(有効塩素)を含有する殺菌能が高いものである。また、電解生成アルカリ性水は、例えばpHが9.5〜11.0の強アリカリ性の電解生成水であって、アルカリ性特有の洗浄能が高いものである。当該電解水生成装置Aにおいては、左側の貯留タンクa2に電解生成アルカル水が貯留され、右側の貯留タンクa3に電解生成酸性水が貯留される。
【0022】
貯留タンクa2に一旦貯留された電解生成アルカル水は、電解水生成装置Aの電解運転時または必要時に使用場所へ供給されるとともに、不要時には、排出管路a4を通して選択的に排出される。排出される電解生成アルカル水は、排出途中に、図示しない処理装置で中和処理等に付されて外部へ排水される。また、貯留タンクa3に一旦貯留された電解生成酸性水は、電解水生成装置Aの電解運転時または必要時に使用場所へ供給されるとともに、不要時には、排出管路a5を通して選択的に排出される。排出される電解生成酸性水は、排出途中に、本発明に係る処理装置Bにおいて脱塩素処理、中和処理等に付されて外部へ排水される。
【0023】
本発明に係る処理装置Bは、電解水生成装置Aから排出される電解生成酸性水を処理して排出するための電解生成酸性水の処理装置であり、図2には第1の実施形態に係る第1処理装置10を示し、図3には第2の実施形態に係る第2処理装置20を示している。図2に示す第1処理装置10は、本発明に係る第1の処理装置に該当するものであり、また、図3に示す第2処理装置20は、本発明に係る第2の処理装置に該当するものである。
【0024】
第1処理装置10は、処理槽11、導入管路12、導出管路13、流水バイパス管路14、および通気管路15にて構成されているものである。処理槽11は、塩素除去能および中和能を有するもので、処理槽11内には、粒子状の木炭11aおよび粒子状の寒水石11bがこの順序で所定高さまで充填されていて、上方開口部は蓋体11cにて密閉されている。この状態では、処理槽11内における寒水石11b上には、所定の高さの空間部(上方空間部11d)が形成されている。処理槽11内に充填されている木炭11aは、塩素成分を吸着除去する機能を有している。また、寒水石11bは、炭酸カルシウムを主要成分とするもので、酸性水を中和する機能を有している。
【0025】
導入管路12は、略n字状に屈曲しているもので、処理槽11の側壁を気密的に貫通した状態で、その一端が処理槽11内の底部に臨み、その他端は電解水生成装置Aにおける排出管路a5に接続されている。導入管路12においては、その一端が処理槽11内の底部近傍にて開口している。導出管路13は、略L字状に屈曲しているもので、処理槽11の側壁を気密的に貫通した状態で、その一端が処理槽11内の上方空間部11dに臨んで開口し、その他端は外部の排出溝に臨んで開口している。
【0026】
当該処理装置10においては、導入管路12の途中で分岐して上方へ延びる分岐管路12a、および、導出管路13の途中で分岐して上方へ延びる分岐管路13aを備えていて、両分岐管路12a,13aを互いに2段に接続することにより、下方の接続部位にて流水バイパス管路14が形成され、上方の接続部位にて通気管路15が形成されている。
【0027】
かかる構成の当該処理装置10においては、電解水生成装置Aから排出管路a5を経て排出される電解生成酸性水は、導入管路12を通って処理槽11内の底部に導入される。処理槽11内の底部に導入された電解生成酸性水は、処理槽11内に充填されている木炭11aの層内を拡散しつつ乱流となって上昇して寒水石11bの層内に至り、さらに寒水石11bの層内を乱流となって上昇し、処理済み水となって上方空間部11dに至る。処理済み水は、上方空間部11d内に開口する導出管路13を経て外部に導出される。
【0028】
この間、電解生成酸性水は、木炭11aの層内で塩素成分を除去されるとともに寒水石11bの層内で中和され、塩素成分が皆無または皆無に近い状態の略中性の水となって導出管路13を通って導出される。
【0029】
このように、当該処理装置10によれば、電解生成酸性水を、処理槽11内にて塩素成分を除去しかつ酸性を中和することにより、塩素成分が皆無または皆無に近い状態の略中性の処理済み水として排水することができて、電解生成酸性水の酸性や塩素成分を含有することに起因する、排水時の不具合を解消することができる。
【0030】
ところで、当該処理装置10においては、導入管路12を処理槽11内の底部に延ばして開口し、かつ、導出管路13を処理槽11内の上方空間部11dに臨ませて開口するように構成している。これにより、被処理水である電解生成酸性水の処理槽11内での滞留時間を増大させて、木炭11aの層内や寒水石11bの層内での木炭11aや寒水石11bとの接触時間を増大させることができて、電解生成酸性水の脱塩素処理および/または中和処理をより効果的に行うことができる。
【0031】
また、当該処理装置10においては、導入管路12と導出管路13を連結する流水バイパス管路14と、導入管路12と導出管路13を連結する通気管路15を備える構成としている。これにより、導入管路12および/または導出管路13が詰まって処理槽11内での流水の流動が停止しても、流水を、バイパス管路14を通して排出することが可能であるとともに、処理槽11内からの流水の漏洩が防止される。
【0032】
この場合、導入管路12および導出管路13における上方の水平部位では、図4に示すように、流水層の上方に空気層が存在している流水量に設定するようにすることができ、これにより、被処理水である電解生成酸性水の導入流れ、および、処理済み水の導出流れを円滑にすることができる。
【0033】
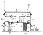
図3に示す第2の実施形態である第2処理装置20は、一対の第1,第2処理槽21,22、一対の第1,第2導入管路23,24、一対の第1,第2導出管路25,26、一対の第1,第2流水バイパス管路27,28、および通気通路29にて構成されている。第1処理槽21と第2処理槽22は、互いに充填剤の種類を異にしているが同一の構造のもので、第1導出管路25と第2導入管路24を互いに接続することによって直列的に接続されている。第1導出管路25と第2導入管路24は、互いに接続された状態で、第1処理槽21と第2処理槽22を連結する連結管路を構成している。
【0034】
第1処理槽21は、塩素除去能を有するもので、処理槽21内には、玉砂利21a、粒状の木炭21b、および玉砂利21aがこの順序で所定高さまで充填されていて、上方開口部は蓋体21cにて密閉されている。この状態では、処理槽21内における玉砂利21a上には、所定の高さの空間部(上方空間部21d)が形成されている。処理槽21内に充填されている木炭21bは、塩素成分を吸着除去する機能を有している。
【0035】
第1導入管路23は、略n字状に屈曲しているもので、第1処理槽21の側壁を気密的に貫通した状態で、その一端が第1処理槽21内の底部の玉砂利21a層内に臨んで開口し、その他端は電解水生成装置Aにおける排出管路a5に接続されている。第1導出管路25は直線状のもので、第1処理槽21の側壁を気密的に貫通した状態で、その一端が第1処理槽21内の上方空間部21dに臨んで開口し、その他端は槽外にて第2導入管路24に接続されている。
【0036】
第2処理槽22は中和能を有するもので、処理槽22内には、粒子状の寒水石22aが所定高さまで充填されていて、上方開口部は蓋体22bにて密閉されている。この状態では、第2処理槽22内における寒水石22a上には、所定の高さの空間部(上方空間部22c)が形成されている。第2処理槽22内に充填されている寒水石22aは、電解生成水を中和する機能を有している。
【0037】
第2導入管路24は、略L字状に屈曲しているもので、第2処理槽22の側壁を気密的に貫通した状態で、その一端が第2処理槽22内の底部の空間部22d内に臨んで開口し、その他端は第1導出管路25に接続されている。第2導出管路26は略L字状のもので、第2処理槽22の側壁を気密的に貫通した状態で、その一端が第2処理槽22内の上方空間部22cに臨んで開口し、その他端は槽外に延びて排出溝に臨んで開口している。
【0038】
当該処理装置20においては、第1導入管路23の途中で分岐して上方へ延びる分岐管路23a、および、第2導出管路26の途中で分岐して上方へ延びる分岐管路26aを備えていて、両分岐管路23a,26aを互いに接続することにより通気管路29が形成されている。また、分岐管路23aと第1導出管路25を接続して第1流水バイパス管路27が形成され、かつ、第2導入管路24と分岐管路26aを接続して第2流水バイパス管路28が形成されている。
【0039】
かかる構成の当該処理装置20においては、電解水生成装置Aから排出管路a5を経て排出される電解生成酸性水は、第1導入管路23を通って第1処理槽21内の底部に導入される。第1処理槽21内の底部に導入された電解生成酸性水は、第1処理槽21内に充填されている木炭21aの層内を拡散しつつ乱流となって上昇して上方空間部11dに至る。この間、電解生成酸性水は、木炭21aの層内で塩素成分を除去される。
【0040】
塩素成分の除去処理を受けた処理済み水は、次いで、第1導出管路25から第2導入管路24を通って第2処理槽22内の底部に導入される。第2処理槽22内の底部に導入された処理済み水は、第2処理槽22内に充填されている寒水石22aの層内を拡散しつつ乱流となって上昇して上方空間部22cに至る。この間、電解生成酸性水は、寒水石22aの層内で中和される。
【0041】
このように、当該処理装置20によれば、電解生成酸性水は、第1処理槽21内にて塩素成分が除去され、かつ、第2処理槽22内にて酸性が中和されて、第2処理槽22から導出された際には、塩素成分が皆無または皆無に近い状態の略中性の処理済み水となって排水される。これにより、電解生成酸性水の酸性や塩素成分を含有することに起因する、排水時の不具合を解消することができる。
【0042】
ところで、当該処理装置20においては、第1導入管路23を第1処理槽21内の底部に延ばして開口し、かつ、第1導出管路24を第1処理槽21内の上方空間部21dに臨ませて開口するように構成している。また、第2導入管路25を第2処理槽22内の底部に延ばして開口し、かつ、第2導出管路26を上方空間部22cに臨ませて開口するように構成している。これにより、被処理水である電解生成酸性水の第1処理槽21および第2処理槽22内での滞留時間を増大させて、木炭21aの層内や寒水石22aの層内での木炭21aや寒水石22aとの接触時間を増大させることができて、電解生成酸性水の脱塩素処理および/または中和処理をより効果的に行うことができる。
【0043】
また、当該処理装置20においては、各導入管路23,24と各導出管路25,26を連結する流水バイパス管路27,28と、第1導入管路23と第2導出管路26を連結する通気管路29を備える構成としている。これにより、各導入管路23,24および/または各導出管路25,26が詰まって処理槽21,221内での流水の流動が停止しても、流水を流水バイパス管路27,28を通して排出することが可能であるとともに、処理槽21,22内からの流水の漏洩が防止される。
【0044】
この場合、各導入管路23,24および各導出管路25,26における上方の水平部位では、図4に示すように、流水層の上方に空気層が存在している流水量に設定するようにすることができ、これにより、被処理水である電解生成酸性水の導入流れ、および、処理済み水の導出流れを円滑にすることができる。
【0045】
また、当該処理装置20においては、流水バイパス管路に、同流水バイパス管路内を視認できる検出部位を設けるようにすることができる。図5には、視認検出部位の廉価な一例を示しており、当該検出部位20aは、第1流水バイパス管路27の一部を透明管路部27aに形成して構成されているものである。透明管路部27aは、透明な樹脂製のパイプまたはホースからなり、透明管路部27aを透して、第1流水バイパス管路27内での流水が流れる状況を視認することができる。
これにより、当該検出部位20aは、第1流水バイパス管路27内における流水の状況を視認できる検出手段として機能し、第1流水バイパス管路27内における流水の状況から、当該処理装置20での異常事態の発生を容易に確認することができる。この結果、当該処理装置20の保守管理を容易かつ迅速に行うことができる。
【0046】
なお、当該検出部位20aに関しては、当該処理装置20における第2流水バイパス管路28に設けても同様の作用効果を奏することができる。この場合には、第1,第2流水バイパス管路27,28の両方に設けるようにすることも好ましい。さらには、当該検出部位20aに相当する検出部位を第1処理装置10における流水バイパス管路14に設けるようにすることも好ましく、これによって、第1処理装置10に対して、当該検出部位20aが奏すると同様の作用効果を付与することができる。
【0047】
また、当該処理装置20においては、第1処理槽21および第2処理槽22を機能の異なる処理槽に構成して、電解生成酸性水の脱塩素処理と中和処理を互いに別の処理槽で行う構成としているが、これら両処理槽21,22を塩素除去能および中和能を有する構成として、脱塩素処理と中和処理の両処理を2回行うようにしてもよい。
【図面の簡単な説明】
【図1】本発明に係る処理装置を備えた電解水生成装置を概略的に示す説明図である。
【図2】本発明の一例に係る処理装置を示す全体の構成図である。
【図3】本発明の他の一例に係る処理装置を示す全体の構成図である。
【図4】処理装置における導入管路および導出管路の一部を縦断して示す縦断面図である。
【図5】検出部位を設けた流水バイパス管路の側面図である。
【符号の説明】
10…第1処理装置、11…処理槽、11a…木炭、11b…寒水石、11c…蓋体、11d…上方空間部、12…導入管路、13…導出管路、12a,13a…分岐管路、14…流水バイパス管路、15…通気管路、20…第2処理装置、20a…検出部位、21,22…処理槽、21a…玉砂利、21b…木炭、21c…蓋体、21d…上方空間部、22a…寒水石、22b…蓋体、22c…上方空間部、22d…下方空間部、23,24…導入管路、23a…分岐管路、25,26…導出管路、26a…分岐管路、27,28…流水バイパス管路、27a…透明管路部、29…通気管路、A…電解水生成装置、a1…有隔膜電解槽、a2,a3…貯留タンク、a4,a5…排出管路。
Claims (6)
- 電解槽にて生成される電解生成酸性水を処理して排水するための電解生成酸性水の処理装置であり、当該処理装置は、電解生成酸性水中の塩素成分を除去する塩素除去能および電解生成酸性水を中和する中和能を一体に有する処理槽と、前記電解槽にて生成された電解生成酸性水を前記処理槽内へ導入する導入管路と、前記処理槽で処理された処理済み水を外部へ導出する導出管路を備えるとともに、前記導入管路と前記導出管路を連結する流水バイパス管路と、前記導入管路と前記導出管路を連結する通気管路を備えていることを特徴とする電解生成酸性水の処理装置。
- 請求項1に記載の電解生成酸性水の処理装置において、前記導入管路は前記処理槽の底部に臨んで開口し、かつ、前記導出管路は前記処理槽の上方空間部に臨んで開口していることを特徴とする電解生成酸性水の処理装置。
- 電解槽にて生成される電解生成酸性水を処理して排水するための電解生成酸性水の処理装置であり、当該処理装置は、電解生成酸性水中の塩素成分を除去する塩素除去能を有する第1の処理槽と、電解生成酸性水を中和する中和能を有する第2の処理槽と、これら両処理槽を互いに連結する連結管路と、前記電解槽にて生成された電解生成酸性水を前記両処理槽のいずれか一方の処理槽内へ導入する導入管路と、前記両処理槽のいずれか他方の処理槽で処理された処理済み水を外部へ導出する導出管路を備えるとともに、前記導入管路と前記連結管路を連結する第1の流水バイパス管路と、前記連結管路と前記導出管路を連結する第2の流水バイパス管路と、前記導入管路と前記導出管路を連結する通気管路を備えていることを特徴とする電解生成酸性水の処理装置。
- 請求項3に記載の電解生成酸性水の処理装置において、前記導入管路は前記両処理槽のいずれか一方の処理槽の底部に臨んで開口し、前記連結管路は同一方の処理槽の上方空間部に臨んで開口し、かつ、前記導出管路は前記両処理槽のいずれか他方の処理槽の上方空間部に臨んで開口していることを特徴とする電解生成酸性水の処理装置。
- 請求項1〜4のいずれか一項に記載の電解生成酸性水の処理装置において、前記導入管路および前記導出管路における上方の水平部位は、流水層の上方に空気層が存在する流水量に設定されることを特徴とする電解生成酸性水の処理装置。
- 請求項1〜4のいずれか一項に記載の電解生成酸性水の処理装置において、前記流水バイパス管路には、同流水バイパス管路内を視認できる検出部位を備えていることを特徴とする電解生成酸性水の処理装置。
Priority Applications (1)
| Application Number | Priority Date | Filing Date | Title |
|---|---|---|---|
| JP2002218439A JP4012002B2 (ja) | 2002-07-26 | 2002-07-26 | 電解生成酸性水の処理装置 |
Applications Claiming Priority (1)
| Application Number | Priority Date | Filing Date | Title |
|---|---|---|---|
| JP2002218439A JP4012002B2 (ja) | 2002-07-26 | 2002-07-26 | 電解生成酸性水の処理装置 |
Publications (2)
| Publication Number | Publication Date |
|---|---|
| JP2004057907A JP2004057907A (ja) | 2004-02-26 |
| JP4012002B2 true JP4012002B2 (ja) | 2007-11-21 |
Family
ID=31939629
Family Applications (1)
| Application Number | Title | Priority Date | Filing Date |
|---|---|---|---|
| JP2002218439A Expired - Fee Related JP4012002B2 (ja) | 2002-07-26 | 2002-07-26 | 電解生成酸性水の処理装置 |
Country Status (1)
| Country | Link |
|---|---|
| JP (1) | JP4012002B2 (ja) |
Families Citing this family (3)
| Publication number | Priority date | Publication date | Assignee | Title |
|---|---|---|---|---|
| JP2005288393A (ja) * | 2004-04-02 | 2005-10-20 | Takeshi Sasaki | 強酸化電位水の排水処理方法 |
| US20050247644A1 (en) * | 2004-05-10 | 2005-11-10 | Chapple Everett P | Method and apparatus for treatment of wastewater |
| JP4596989B2 (ja) * | 2005-06-08 | 2010-12-15 | 三洋電機株式会社 | 電解水生成装置 |
-
2002
- 2002-07-26 JP JP2002218439A patent/JP4012002B2/ja not_active Expired - Fee Related
Also Published As
| Publication number | Publication date |
|---|---|
| JP2004057907A (ja) | 2004-02-26 |
Similar Documents
| Publication | Publication Date | Title |
|---|---|---|
| JPS6320496A (ja) | 自動化塩素発生装置 | |
| JPWO2004103168A1 (ja) | 内視鏡カメラ機器等の洗浄殺菌方法及び装置 | |
| KR101271179B1 (ko) | 차아염소산수를 이용한 관로 소독 시스템 및 세척 방법 | |
| CN110540310A (zh) | 一种全自动循环水处理装置 | |
| JP4012002B2 (ja) | 電解生成酸性水の処理装置 | |
| KR100910943B1 (ko) | 마을 상수도 여과장치 | |
| CN105502696B (zh) | 一种定压补水脱气机组的控制方法 | |
| EP3169830B1 (en) | An electrochlorination apparatus | |
| KR102406461B1 (ko) | 전해 살균 소독수를 이용한 세척장치 | |
| CN107540052B (zh) | 一种含消毒装置的软水处理系统 | |
| JP4182190B1 (ja) | 電解水処理方法および電解水処理装置 | |
| CN205590472U (zh) | 一种酸性氧化电位消毒水生产系统 | |
| JP2576033B2 (ja) | 内視鏡の洗浄方法とその装置 | |
| JP7180008B2 (ja) | 塩素消毒水生成装置 | |
| KR20130066084A (ko) | 전해 살균제 발생장치용 기액분리기 | |
| JP3347643B2 (ja) | 脱酸素脱気装置 | |
| CN207062056U (zh) | 一种工业污水处理设备 | |
| NO742297L (ja) | ||
| JP3495632B2 (ja) | 洗浄機 | |
| JP4506915B2 (ja) | 脱酸素脱気装置 | |
| CN204607771U (zh) | 一种电解水机 | |
| RU156852U1 (ru) | Мобильная станция очистки воды | |
| CN206616276U (zh) | 一种电解法二氧化氯发生器 | |
| CN220714492U (zh) | 一种血液透析用水处理消毒装置 | |
| CN204801734U (zh) | 节能杀菌洗车行设备 |
Legal Events
| Date | Code | Title | Description |
|---|---|---|---|
| A621 | Written request for application examination |
Free format text: JAPANESE INTERMEDIATE CODE: A621 Effective date: 20050622 |
|
| A977 | Report on retrieval |
Free format text: JAPANESE INTERMEDIATE CODE: A971007 Effective date: 20070323 |
|
| A131 | Notification of reasons for refusal |
Free format text: JAPANESE INTERMEDIATE CODE: A131 Effective date: 20070403 |
|
| A521 | Written amendment |
Free format text: JAPANESE INTERMEDIATE CODE: A523 Effective date: 20070604 |
|
| TRDD | Decision of grant or rejection written | ||
| A01 | Written decision to grant a patent or to grant a registration (utility model) |
Free format text: JAPANESE INTERMEDIATE CODE: A01 Effective date: 20070828 |
|
| A61 | First payment of annual fees (during grant procedure) |
Free format text: JAPANESE INTERMEDIATE CODE: A61 Effective date: 20070906 |
|
| R150 | Certificate of patent or registration of utility model |
Free format text: JAPANESE INTERMEDIATE CODE: R150 |
|
| FPAY | Renewal fee payment (event date is renewal date of database) |
Free format text: PAYMENT UNTIL: 20100914 Year of fee payment: 3 |
|
| A521 | Written amendment |
Free format text: JAPANESE INTERMEDIATE CODE: A523 Effective date: 20070604 |
|
| FPAY | Renewal fee payment (event date is renewal date of database) |
Free format text: PAYMENT UNTIL: 20110914 Year of fee payment: 4 |
|
| FPAY | Renewal fee payment (event date is renewal date of database) |
Free format text: PAYMENT UNTIL: 20110914 Year of fee payment: 4 |
|
| FPAY | Renewal fee payment (event date is renewal date of database) |
Free format text: PAYMENT UNTIL: 20120914 Year of fee payment: 5 |
|
| FPAY | Renewal fee payment (event date is renewal date of database) |
Free format text: PAYMENT UNTIL: 20120914 Year of fee payment: 5 |
|
| FPAY | Renewal fee payment (event date is renewal date of database) |
Free format text: PAYMENT UNTIL: 20130914 Year of fee payment: 6 |
|
| S533 | Written request for registration of change of name |
Free format text: JAPANESE INTERMEDIATE CODE: R313533 |
|
| R350 | Written notification of registration of transfer |
Free format text: JAPANESE INTERMEDIATE CODE: R350 |
|
| LAPS | Cancellation because of no payment of annual fees |