JP3966552B2 - ソレノイド装置 - Google Patents

ソレノイド装置 Download PDF

Info

Publication number
JP3966552B2
JP3966552B2 JP2004122395A JP2004122395A JP3966552B2 JP 3966552 B2 JP3966552 B2 JP 3966552B2 JP 2004122395 A JP2004122395 A JP 2004122395A JP 2004122395 A JP2004122395 A JP 2004122395A JP 3966552 B2 JP3966552 B2 JP 3966552B2
Authority
JP
Japan
Prior art keywords
operation shaft
spring member
shaft
plunger
distal end
Prior art date
Legal status (The legal status is an assumption and is not a legal conclusion. Google has not performed a legal analysis and makes no representation as to the accuracy of the status listed.)
Expired - Lifetime
Application number
JP2004122395A
Other languages
English (en)
Other versions
JP2005310850A (ja
Inventor
美保 柳川
Current Assignee (The listed assignees may be inaccurate. Google has not performed a legal analysis and makes no representation or warranty as to the accuracy of the list.)
Takigen Manufacturing Co Ltd
Original Assignee
Takigen Manufacturing Co Ltd
Priority date (The priority date is an assumption and is not a legal conclusion. Google has not performed a legal analysis and makes no representation as to the accuracy of the date listed.)
Filing date
Publication date
Application filed by Takigen Manufacturing Co Ltd filed Critical Takigen Manufacturing Co Ltd
Priority to JP2004122395A priority Critical patent/JP3966552B2/ja
Publication of JP2005310850A publication Critical patent/JP2005310850A/ja
Application granted granted Critical
Publication of JP3966552B2 publication Critical patent/JP3966552B2/ja
Anticipated expiration legal-status Critical
Expired - Lifetime legal-status Critical Current

Links

Images

Landscapes

  • Electromagnets (AREA)

Description

本発明は、コイルへの通電によってプランジャーがコイルの中心軸線方向に駆動され、プランジャーの先端部に捻じ込み連結された操作軸によって、所定のスイッチ動作、検出動作、制御動作あるいはロック動作等がなされるソレノイド装置に関する。
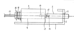
図3に示したように一般のソレノイド装置では、ベース板1にコイル3が固定され、長さ方向の中心軸線をコイル3の中心軸線に整列させてプランジャー4がコイル4の中央空洞部に配置され、プランジャー4の先端部に連結された操作軸5の先端部がベース板1のガイド板部2の軸孔11に嵌挿されている(特許文献1参照)。
比較的小型タイプのソレノイド装置では、プランジャー4と操作軸5の相互連結は捻じ込みによってなされており、典型的にはプランジャー4の先端部に中心軸線方向に螺子棒受孔13を形成し、操作軸6の基端部に中心軸線方向に螺子孔14を形成し、プランジャーの螺子棒受孔13に螺子孔12の基端部をに挿入固着し、螺子棒12の先端部の螺子部15を操作軸5の螺子孔14に捻じ込んでいる。
このような捻じ込み連結式のソレノイド装置では、加工誤差によって、螺子棒受孔13がプランジャー4の中心軸線上に正確に形成されていないとき、あるいは、螺子孔14が操作軸5の中心軸線上に正確に形成されていないとき、もしくは、組付け誤差によって操作軸5の中心軸線がコイル3及びプランジャー4の中心軸線と正しく整列していないときには、軸孔11の内周面と操作軸5の外周面との間に擦れや齧りが発生してしまい、操作軸5とプランジャー4がスムーズに作動しなくなることがある。
特開2003−197420号公報
本発明の課題は、加工誤差や組付け誤差によって操作軸の中心軸線がコイル及びプランジャーの中心軸線と正しく整列していない場合であっても、軸孔の内周面と操作軸の外周面との間に擦れや齧りが発生しないため、操作軸とプランジャーがスムーズに作動するソレノイド装置を提供することである。
本発明の主たる特徴は、コイル3の中心軸線上にプランジャー4が配置され、前記プランジャー4の先端部に操作軸5が捻じ込み連結され、前記操作軸5ガイド板部2軸孔11に嵌挿されたソレノイド装置において、
前記操作軸5前記軸孔11に嵌挿される先端側部分7と、前記プランジャー4に捻じ込み連結される基端側部分6とに分割して構成し、操作軸5の前記基端側部分6の先端面中央にバネ部材受孔9を中心軸線方向に形成し、操作軸5の前記先端側部分7の基端面中央にバネ部材受孔10を中心軸線方向に形成し、前記プランジャー4の中心軸線に対して撓曲変位可能なコイルバネ部材8の基端部を操作軸5の基端側部分6の前記バネ部材受孔9に挿入して、前記コイルバネ部材8を前記操作軸5の基端側部分6に固着し、前記コイルバネ部材8の先端部を操作軸の先端側部分7の前記バネ部材受孔10に挿入して、前記コイルバネ部材8を前記操作軸5の先端側部分7に固着したことである。
本発明のソレノイド装置では、操作軸5が前記軸孔11に嵌挿される先端側部分7と前記プランジャー4に捻じ込み連結される基端側部分6に分割して構成されており、操作軸5の前記基端側部分6の先端面中央にバネ部材受孔9を中心軸線方向に形成し、操作軸5の前記先端側部分7の基端面中央にバネ部材受孔10を中心軸線方向に形成し、前記プランジャー4の中心軸線に対して撓曲変位可能なコイルバネ部材8の基端部を操作軸5の基端側部分6の前記バネ部材受孔9に挿入して、前記コイルバネ部材8を前記操作軸5の基端側部分6に固着し、前記コイルバネ部材8の先端部を操作軸の先端側部分7の前記バネ部材受孔10に挿入して、前記コイルバネ部材8を前記操作軸5の先端側部分7に固着してあるため、前記した加工誤差や組付け誤差によって操作軸5の中心軸線がコイル3及びプランジャー4の中心軸線と正しく整列していない状況であっても、ガイド板部2軸孔11の内周面と操作軸5の外周面との間に無用の擦れや齧りが発生することがなく、操作軸5プランジャー4がスムーズに作動する。
前記コイルバネ部材8としては、通常は圧縮コイルバネを使用する。圧縮コイルバネとしては、プランジャー4が動作方向に移動したときの操作軸5の即時応答性を考慮すれば、密に巻かれたコイルバネ(無負荷時において隣り合う線部分同士が密接しているもの)が望ましい。
図1から図3に示した実施例では、所要回数及び長さに巻かれたコイル線と、これを支持するヨーク体との集合体であるコイル3は、目的の機器への装着に使用されるベース板1の主体部分に固着されている。ベース板1の一端にはガイド板部2が主体部分に直角に立ち上げられており、ガイド板部2の中央部には、コイル3の中心軸線の延長上に中心を合わせて軸孔11が形成されている。
長さ方向の中心軸線をコイル3の中心軸線に整列させてコイル3の中央空洞部に挿入されたプランジャー4には、その先端部に螺子棒受孔13がプランジャー4の中心軸線方向に形成されている。螺子棒受孔13には、螺子棒12の基端部が挿入され、加締め固定または溶接、接着などの適宜方法によって固着されている。なお、螺子棒12部分をプランジャー4と一体物に形成することもできる。
操作軸5は、相対的に短い基端側部分6と長い先端側部分7とに分割して構成されている。操作軸5の基端側部分6の基端面中央には、螺子孔14が中心軸線方向に形成されている。螺子孔14には、前記螺子棒12の螺子部15が捻じ込まれる。
操作軸5の基端側部分の先端面中央には、バネ部材受孔が中心軸線方向に形成されている。操作軸5の先端側部分7の基端面中央にはバネ部材受孔10が中心軸線方向に形成されている。
コイルバネ部材8は密に巻かれた圧縮コイルバネによって構成されており、コイルバネ部材8の基端部
は、操作軸5の基端側部分6のバネ部材受孔9に密に挿入され、溶接や接着などの適宜方法によって基端側部分6に固着される。バネ部材8の先端部は、操作軸5の先端側部分7のバネ部材受孔10に密に挿入され、溶接や接着などの適宜方法によって先端側部分6に固着される。
プランジャー4の基端部には圧縮コイルバネよりなる復帰用バネ16が嵌められており、プランジャー4が動作方向に移動したとき、復帰用バネ16はバネ受体18とコイル3のヨーク部と間において圧縮される。給電線17からなされるコイル3への通電が遮断されたとき、プランジャー4と操作軸5は原位置に復帰させられる。
本発明の一実施例に係るソレノイド装置の一部縦断正面図である。 図1のソレノイド装置に使用した操作軸の構成を示す正面図であり、(a)は操作軸が撓曲変位していない状態を示し、(b)は操作軸がバネ部材の接続部位において撓曲変位した状態を極端に示したものである。 従来のソレノイド装置の正面図である。
符号の説明
1 ベース板
2 ガイド板部
3 コイル
4 プランジャー
5 操作軸
6 操作軸の基端側部分
7 操作軸の先端側部分
8 バネ部材
9 バネ部材受孔
10 バネ部材受孔
11 軸孔
12 螺子棒
13 螺子棒受孔
14 螺子孔
15 螺子部
16 復帰用バネ
17 給電線
18 バネ受体

Claims (1)

  1. コイル3の中心軸線上にプランジャー4が配置され、前記プランジャー4の先端部に操作軸5が捻じ込み連結され、前記操作軸5ガイド板部2軸孔11に嵌挿されたソレノイド装置において、
    前記操作軸5前記軸孔11に嵌挿される先端側部分7と、前記プランジャー4に捻じ込み連結される基端側部分6とに分割して構成し、操作軸5の前記基端側部分6の先端面中央にバネ部材受孔9を中心軸線方向に形成し、操作軸5の前記先端側部分7の基端面中央にバネ部材受孔10を中心軸線方向に形成し、前記プランジャー4の中心軸線に対して撓曲変位可能なコイルバネ部材8の基端部を操作軸5の基端側部分6の前記バネ部材受孔9に挿入して、前記コイルバネ部材8を前記操作軸5の基端側部分6に固着し、前記コイルバネ部材8の先端部を操作軸の先端側部分7の前記バネ部材受孔10に挿入して、前記コイルバネ部材8を前記操作軸5の先端側部分7に固着したことを特徴とするソレノイド装置。
JP2004122395A 2004-04-19 2004-04-19 ソレノイド装置 Expired - Lifetime JP3966552B2 (ja)

Priority Applications (1)

Application Number Priority Date Filing Date Title
JP2004122395A JP3966552B2 (ja) 2004-04-19 2004-04-19 ソレノイド装置

Applications Claiming Priority (1)

Application Number Priority Date Filing Date Title
JP2004122395A JP3966552B2 (ja) 2004-04-19 2004-04-19 ソレノイド装置

Publications (2)

Publication Number Publication Date
JP2005310850A JP2005310850A (ja) 2005-11-04
JP3966552B2 true JP3966552B2 (ja) 2007-08-29

Family

ID=35439297

Family Applications (1)

Application Number Title Priority Date Filing Date
JP2004122395A Expired - Lifetime JP3966552B2 (ja) 2004-04-19 2004-04-19 ソレノイド装置

Country Status (1)

Country Link
JP (1) JP3966552B2 (ja)

Also Published As

Publication number Publication date
JP2005310850A (ja) 2005-11-04

Similar Documents

Publication Publication Date Title
US8264313B2 (en) Linear solenoid for vehicle
JP4924519B2 (ja) 駆動装置、駆動装置の製造方法
JP6265943B2 (ja) 流体制御弁
WO2010088932A1 (en) Assembling procedure for a piezoelectric motor
US20090032752A1 (en) Linear solenoid
US9145957B2 (en) Motor having screw joint
WO2010107053A1 (ja) 自在締結工具、及びこれを用いた締結装置
JP3966552B2 (ja) ソレノイド装置
CN105990950B (zh) 具有开关磁阻电动机的直接驱动致动器
KR102832513B1 (ko) 센서 부착도구 및 유체압 실린더
JP2003148298A (ja) 電磁弁
KR20170030026A (ko) 솔레노이드 밸브
JP4237114B2 (ja) 電磁弁
KR100346969B1 (ko) 미끄럼제어기능을구비한차량브레이크용전기유압식조압장치
JP6163336B2 (ja) アクチュエータ装置
JP2011061895A (ja) 超音波モータ機構
JP6503033B2 (ja) 電動弁
JP2008016281A (ja) マグネットスイッチ
JP2011112187A (ja) 無励磁作動型電磁ブレーキ及びその製造方法
JP2010116935A (ja) 電磁ブレーキの手動解放機構
JP4587983B2 (ja) ソレノイドバルブの取付構造
WO2011058609A1 (ja) 連結構造
JP2007100841A (ja) スプール弁装置
JP6614490B2 (ja) 位置検出センサ
JP6579823B2 (ja) ばね荷重調整装置とばね荷重調整方法

Legal Events

Date Code Title Description
A977 Report on retrieval

Free format text: JAPANESE INTERMEDIATE CODE: A971007

Effective date: 20060811

A131 Notification of reasons for refusal

Free format text: JAPANESE INTERMEDIATE CODE: A131

Effective date: 20060825

A02 Decision of refusal

Free format text: JAPANESE INTERMEDIATE CODE: A02

Effective date: 20061215

A521 Request for written amendment filed

Free format text: JAPANESE INTERMEDIATE CODE: A523

Effective date: 20070104

A911 Transfer to examiner for re-examination before appeal (zenchi)

Free format text: JAPANESE INTERMEDIATE CODE: A911

Effective date: 20070220

TRDD Decision of grant or rejection written
A01 Written decision to grant a patent or to grant a registration (utility model)

Free format text: JAPANESE INTERMEDIATE CODE: A01

Effective date: 20070528

A61 First payment of annual fees (during grant procedure)

Free format text: JAPANESE INTERMEDIATE CODE: A61

Effective date: 20070528

R150 Certificate of patent or registration of utility model

Free format text: JAPANESE INTERMEDIATE CODE: R150

Ref document number: 3966552

Country of ref document: JP

Free format text: JAPANESE INTERMEDIATE CODE: R150

FPAY Renewal fee payment (event date is renewal date of database)

Free format text: PAYMENT UNTIL: 20110608

Year of fee payment: 4

FPAY Renewal fee payment (event date is renewal date of database)

Free format text: PAYMENT UNTIL: 20110608

Year of fee payment: 4

FPAY Renewal fee payment (event date is renewal date of database)

Free format text: PAYMENT UNTIL: 20120608

Year of fee payment: 5

FPAY Renewal fee payment (event date is renewal date of database)

Free format text: PAYMENT UNTIL: 20130608

Year of fee payment: 6

EXPY Cancellation because of completion of term