JP3914552B2 - 容器 - Google Patents

容器 Download PDF

Info

Publication number
JP3914552B2
JP3914552B2 JP2004280214A JP2004280214A JP3914552B2 JP 3914552 B2 JP3914552 B2 JP 3914552B2 JP 2004280214 A JP2004280214 A JP 2004280214A JP 2004280214 A JP2004280214 A JP 2004280214A JP 3914552 B2 JP3914552 B2 JP 3914552B2
Authority
JP
Japan
Prior art keywords
container
cartridge
container according
tip
pipette tip
Prior art date
Legal status (The legal status is an assumption and is not a legal conclusion. Google has not performed a legal analysis and makes no representation as to the accuracy of the status listed.)
Expired - Fee Related
Application number
JP2004280214A
Other languages
English (en)
Other versions
JP2004361422A (ja
Inventor
秀二 田島
Current Assignee (The listed assignees may be inaccurate. Google has not performed a legal analysis and makes no representation or warranty as to the accuracy of the list.)
Precision System Science Co Ltd
Original Assignee
Precision System Science Co Ltd
Priority date (The priority date is an assumption and is not a legal conclusion. Google has not performed a legal analysis and makes no representation as to the accuracy of the date listed.)
Filing date
Publication date
Application filed by Precision System Science Co Ltd filed Critical Precision System Science Co Ltd
Priority to JP2004280214A priority Critical patent/JP3914552B2/ja
Publication of JP2004361422A publication Critical patent/JP2004361422A/ja
Application granted granted Critical
Publication of JP3914552B2 publication Critical patent/JP3914552B2/ja
Anticipated expiration legal-status Critical
Expired - Fee Related legal-status Critical Current

Links

Images

Landscapes

  • Automatic Analysis And Handling Materials Therefor (AREA)

Description

容器 技術分野 この発明は、厳密な定量精度が要求される分析検査に好適な容器に係り、特に、容器の内底面にピペットチップの先端部が当接しても該容器内の試料をほぼ全量吸引することができると共に、容器内に吸引した試料を吐出するときの試料の拡散を平均化して撹拌効率を大幅に向上させることができる容器に関する。
周知のように、分析精度をハイレベルで保持するためには、分注装置による定量精度を厳密に維持する必要があるが、従来の容器の場合、内底部が平面的に形成され、或は、断面形状が半円形または略U字状に形成されているため、分注装置のピペットチップ先端部を容器の内底部に当接させた状態では試料・試薬の吸引・吐出ができず、その結果、上記ピペットチップの先端部は必ず容器の内底部から若干浮かせた状態で試料・試薬の吸引を行なわなければならないため、容器側には常に僅かな試料・試薬が残留することとなり、これを補うためには、実際の吸引量より多めの試料・試薬をピペットチップで吸引・吐出しなければならず、容器内に吸引されない試料・試薬が残ってしまうことはやむを得ず、その結果、厳密な定量分析を行なうことができない、という問題を有していた。
このような問題を解決するための従来の手段としては、例えば、第16図に示すように、ピペットチップ1の先端部2を斜めにカットし、該ピペットチップ1の先端部2を容器3の内底部4に当接させた状態のまま試料Sの吸引・吐出ができるように構成したものや、第18図に示すように、ピペットチップ1の下端部に1個以上の横穴5を開設したものも提案されており、ピペットチップ1の先端開口部が容器3の内底部4によって閉塞されないような工夫が施されている。
しかしながら、ピペットチップ1の先端部2を斜めにカットした場合であっても、斜めにカットされた先端開口部の上端部よりやや下方の水位Wから下の部分を完全に吸引することができず、また、吸引された試料・試薬を容器3内に吐出した場合には、第17図に示すように、容器3の一方側が吐出圧力によって撹拌されるが、上記斜めにカットされた先端部の開口側と反対側は、試料・試薬の吐出圧力の影響を直接受けないため、撹拌効率が低く、このため、均一な撹拌効果、即ち、均一な反応状態を得にくく、さらには、ピペットチップの成形も難しくなりコスト高となる、という問題を有していた。
同様に、ピペットチップ1の下端部に横穴5を開設したものも、該横穴5の開設部位から下方部分の液体Sを吸引することができず、また、吸引した液体を吐出するときも、上記横穴5の開設方向からしか液体が吐出されないので、均一な撹拌効果が得にくく、しかも、1個以上の横穴5を開設する、という工程が加わるので、成形が複雑化してコスト高となる、という問題を有していた。
また、ピペットチップの先端部を容器の内底部から浮かせた状態で液体を吸引し吐出する場合、該ピペットチップの外表面に試料・試薬が滴着し易く、この滴着した試料・試薬によって試料濃度が変動するため、高精度な分析結果が得にくい、という問題も有していた。
この発明は、かかる現状に鑑み創案されたものであって、その目的とするところは、収容部間のクロスコンタミネーションを確実に防止して信頼性のある容器を提供することである。
上記目的を達成するため、第一の発明に係る容器は、マイクロプレートであって、収容部等が各列毎又は各行毎に列状に設けられている複数のカートリッジ容器と、カートリッジ容器間を相互に隔てるため、当該マイクロプレートが載置されるステージに略平行の所定間隔に配列された各隔壁が嵌挿可能な幅の間隔を隣接カートリッジ容器間に空けて当該カートリッジ容器をその一端で結合して略クシ歯状に形成する結合部とを有するものである。
ここで、「所定間隔」は、前記マイクロプレートのカートリッジ及び多連の分注ノズルが隔壁間に1つずつ、一定の余裕をもって隔てられる幅が必要である。
隔壁の高さは、分注等によって生ずる液体の飛沫等の混入を防止するのに十分な高さである。
また、隔壁の代わりに、前記カートリッジ間の間隙にエアカーテンを設けることによって、液体の飛沫等の混入防止を図るようにしても良い。
本発明によって、隣接するカートリッジ間を隔壁で隔てることができるので、異なるカートリッジ間の目的物質以外の物質の混入(クロスコンタミネーション)を有効に防止して、信頼性のある処理を行うことが可能である。
第二の発明に係る容器は、第一の発明において、前記結合部が、カートリッジ容器毎に容易に切断可能な強度で形成されているものである。
本発明によれば、結合部はカートリッジ毎に切断可能なので、処理の内容に応じて必要な数のカートリッジのみを結合部から切り取って用いることができるので、カートリッジを無駄なく、効率良く使用することができる。
尚、第一の発明及び本発明において、前記カートリッジ及び結合部を一体に成型するようにすれば、製造が簡単化され、安価に製造することができる。
「容易に切断可能」とするには、例えば、結合部を細く成型することによって達成することができる。
第三の発明に係る容器は、第一の発明又は第二の発明のいずれかにおいて、分注ノズルから脱着されたピペットチップを保持するピペットチップ保持用収容部を有するとともに、前記カートリッジ容器に設けられた収容部は、処理に必要な本数が直列状に、移動する前記分注ノズルの移動軌跡に沿って配置され、前記マイクロプレートに設けられた収容部は、処理毎に必要な本数が直列状に、移動する前記分注ノズルの移動軌跡に沿って並列に配置されているものである。
第四の発明に係る容器は、第一の発明において、前記収容部の内底部が、その中央近傍に該収容部内に挿脱されるピペットチップの先端部の口径よりも幅が狭くかつ該先端部の口径よりも長い長さをもつ断面略凹状の溝を形成するとともに、収容部壁から該溝の縁に至る一様な下がり勾配の傾斜面を形成したものである。
第五の発明に係る容器は、第一の発明ないし第四の発明のいずれかにおいて、前記収容部の少なくとも1つが、内部を電気的に温度調節が可能な恒温槽内に挿入可能に形成されたものである。
第六の発明に係る容器は、第五の発明において、前記恒温槽内に挿入可能に形成した収容部について、分注ノズルに装着されたピペットチップが進入可能なスリットを設けた蓋体が設けられたものである。
第七の発明に係る容器は、第一の発明乃至第三の発明のいずれかにおいて、前記収容部が、夫々楕円形の平面形状を有して構成されているものである。
第八の発明に係る容器は、第一の発明乃至第三の発明のいずれかにおいて、各列のカートリッジが、その一端にDNAの測定を行うために用いるPCR用チューブを保持する保持用穴部が設けられ、PCR用チューブには、開閉自在の蓋体が設けられたものである。
以下、添付図面に示す実施例に基づき、この発明を詳細に説明する。
図1乃至図6は、この発明の第1実施例に係る容器を示しており、この実施例に係る容器10は、ガラスやプラスチック等で一体形成された容器本体11と、この容器本体11の一端に形成された摘み12とを有して構成されてなるカートリッジ容器で構成されており、上記容器本体11には、複数個(図示の例では9個)の液体収容部13A乃至13Iと、測定用容器14を着脱自在に保持する容器保持穴13Jと、が形成されている。
上記液体収容部13A乃至13I内は、この実施例では、収容物を外部から透視できるように透明なプラスチックまたはガラスで形成されているため、上記容器保持穴13Jに着脱自在に保持される透明体で形成された上記測定用容器14の内壁および底部は、微弱な化学発光を確実に測定できるように、遮光膜でコーティングされて形成されている。即ち、この実施例に係る容器10は、透明体である容器本体11と測定用容器14との2パーツで形成されている。
勿論、上記測定用容器14を、微弱な化学発光を確実に測定できるように構成する他の手段としては、その内壁および底部に遮光膜や遮光板を張る等の処理を施して一体にアッセンブリーして3パーツで構成し、或は、容器本体11自体を遮光性に優れた材質で不透明に形成し、或は、黒色や白色等の遮光性に優れた彩色を施して一体形成しても良い。
また、上記測定用容器14を透明体のままで用いる場合には、上記容器保持穴13Jを有底状に形成し、該容器保持穴13Jの内面に遮光膜をコーティングして一体成形し、または、遮光板を張る等して一体にアッセンブリーし、或は、黒色や白色等の遮光性に優れた彩色を施して形成するのが望ましい。
勿論、測定用容器14は、図7に示すように、測定用容器穴部14Aとして上記容器本体11に形成された液体収容部列と一体に形成してもよく、この場合には、該測定用容器穴部14Aの内壁および底部に、遮光膜をコーティングして一体成形し、または、遮光板を張る等して一体にアッセンブリーし、或は、黒色や白色等の遮光性に優れた彩色を施して遮光層14Bを形成するのが望ましい。
このように測定用容器14または測定用容器穴部14Aを形成することで、例えば、化学発光の測定に該測定用容器14を用いたときに、反応によって生じた光以外の光を遮断することができる。勿論、透過測定法や分光測定法或は比濁法等のような測定法によっては遮光を施す必要がない場合があり、この場合には、透明なままで使用する。
尚、上記測定用容器14または測定用容器穴部14Aの配置部位は、図示の実施例に限定されるものではなく、測定項目の反応工程数等に対応させて適宜の位置に形成できることは勿論である。
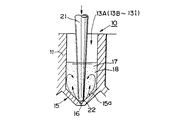
上記9個の液体収容部13A乃至13Iは、平面形状が略楕円形に形成されていると共に、各底部15が断面略V字状(図示の例では交差角度が90°)に形成され、かつ、図1に示すように、上記各底部15の内底部15aには、断面略凹状の一条の溝16が各内底部15aの傾斜面に沿って形成されている。
この溝16は、その幅寸法dが、図8と第9図に示すように、ピペットチップ21の先端部22の口径寸法Dよりも小さく形成されている(D>d)と共に、該溝16の長さは、上記先端部22の口径寸法よりも長く形成されているので、ピペットチップ21の先端部22が上記各内底部15aに当接しても、図8に示すように、各液体収容部13A乃至13I内に収容された試料・試薬が、該溝16を流れて全量吸引することができ、この種の装置における厳密な定量性を確実に保証することができ、また、試料・試薬の無駄も排除することができる。
尚、この実施例では、CLIA検査法やCLEIA検査法等の化学発光法の分析検査で用いられる磁性体微粒子17が含有されている試料・試薬18が図示されているが、この発明に用いられる試料・試薬はこれに限定されるものではなく、例えば、抗原−抗体を上記液体収容部13の内壁面に固相してEIA検査にも用いることもできる。勿論、例示した検査法に限定されるものではなく、他の検査にも適用することもできる。
さらに、上記溝16の存在により、試料・試薬を各液体収容部13A乃至13I内に吐出するときに、上記ピペットチップ21の先端部22を各液体収容部13A乃至13Iの内底部15aに当接させたとしても、図9に示すように、吐出される試料・試薬は上記溝16から各液体収容部13A乃至13I内へと左右方向にほぼ平均して流出するので、試料・試薬の吐出による撹拌流が液体収容部13A乃至13I内で平均化されるので、均一な反応状態を得ることができる。
尚、上記液体収容部13A乃至13Iの数は、図示の実施例に限定されるものではなく、測定項目の反応工程数等に対応させて適宜の数に形成できることは勿論である。
図10は、この発明の第2実施例に係る容器10の液体収容部13の平面図であり、この実施例では、前記第1実施例の溝16と同様に形成されてなる溝16Aを放射状に形成することで、液体収容部13内の試料・試薬の全量吸引・吐出をより迅速に、かつ、確実に行なうように構成されている他は、他の構成・作用は、前記第1実施例と同様であるので、その詳細な説明をここでは省略する。
図11は、この発明の第3実施例に係る容器10の液体収容部13の平面図であり、この実施例では、前記第1・第2実施例の溝16,16Aに代えて多数の突起または凹孔16Bを形成し、これら各突起または凹孔16B間の寸法をピペットチップ21の先端部22の口径寸法よりも小さく、かつ、ピペットチップ21の先端部22の開口寸法よりも若干大きく形成することで、試料・試薬の全量吸引・吐出を実現できるように構成した他は、他の構成・作用は、前記第1実施例と同様であるので、その詳細な説明をここでは省略する。
次に、本発明の第4の実施例として、各液体収容部をマトリクス状(行列状)に配列したマイクロプレート30について、図12及び第13図に基づいて説明する。
マイクロプレート30は、複数の並設された液体吸引・吐出ラインで処理する場合に、各ラインとも同じタイミングで目的高分子物質等の分離・分取・分注・清澄・濃縮・希釈等の作業または/および捕獲・抽出・単離・増幅・標識・測定等の作業を行う場合に用いる。
図12及び第13図に示すように、本実施例に係るマイクロプレート30は、透明又は半透明物質で形成された略板状の基部35と、当該基部35にマトリクス状に設けられた複数の収容部31A〜31K、32A〜32K、33A〜33K,34A〜34Kとを有する。複数個の収容部は、各行(列)毎に区分した4個の収容部群31A〜31K、32A〜32K、33A〜33K,34A〜34Kからなる。
各行(列)毎に区分した各収容部群の内、一端にある収容部31K,32K,33K,34Kは、光学測定用の測定器又は受光部(図示せず)と遮光状態で連結可能な測定用の収容部である。
当該測定用の収容部31K,32K,33K,34Kは、遮光された測定用容器331を着脱可能に保持する容器保持用穴部330と、遮光性のある測定用容器331から成っている。これは、基部35自体に遮光性がないのに対し、測定用の収容部は遮光性を必要とするため、測定用の収容部を含めて一度に成型するよりも製造が容易だからである。
測定用容器331は、外部が黒色の遮光性物質で形成され、内部は白色の遮光性且つ反射性の高い物質で形成されている。
測定用容器331の上端は、光学測定用の測定器又は受光部と遮光状態で連結する環状の凸部からなる連結部332が設けられ、測定器又は受光部に設けられた弾性体のパッキンを押圧することによって遮光を完全にしている。
測定用容器331は、これによって、遮光物質で形成された黒色の測定用容器331を予め基部35に一体で形成するよりも製造が容易で安価に形成することができる。
図12に示すように、好ましくは、当該マイクロプレート30の上表面は、各収容部を覆うため、分注チップの先端が容易に侵入可能な透明薄膜でできたシール300を熱溶着又は超音波溶着によって設ける。これによって、各収納部に予め収容されている液体の蒸発を防止するとともに、外部からの雑菌の侵入を防止することができるので、信頼性の高い処理を効率よく行うことができる。
図13に示すように、マイクロプレート30は、基部35の周縁から下方に向けて前記各収容部の外底部39よりも突出して基部35を支える脚壁部36が設けられている。また、隣接する各収容部間には、補強用のリブ38が設けられている。
これによって、マイクロプレートを分注装置のステージ上に安定して載置することができる。
図14は、本発明の第5の実施例を示す。
本実施例に係るマイクロプレート40は、8列の収容部群41A〜41H、…48A〜48Hが設けられている。
各収容部群の一端は、8連の分注ノズルに装着して用いるピペットチップ51を脱着した場合に保持するチップ保持用収容部41A〜48Aであり、他端は、前述した測定用の収容部41H〜48Hである。また、両端を除いた各収容部41B〜41G、…、48B〜48Gは、処理に応じて必要となる液体(試薬等)の必要量に対応する種々の容量をもつように形成されている。
図14(a)中、左端にあるのは、当該マイクロプレート40の各処理用の収容部に対して分注動作を行うための8連の分注ノズルに装着された8個の連動するピペットチップ51と、各ピペットチップ51に対し、一斉に近接又は離間することによって、ピペットチップ51の太径の貯溜部と先端とを結ぶ中径の液通路内に対し磁場を及ぼし又は磁場を除去することによって、同時に磁性体粒子53の反応、攪拌、分離、洗浄及び移送等の制御を行う8個の永久磁石52と、当該8個の永久磁石52を保持して移動する移動体50とが示されている。
8個の隣接する各永久磁石間では、そのSN極性を相互に反転させた状態で配列する。
これによって、隣接する磁石に対する磁場の干渉を防止して、安定した制御を行うことができる。
本実施例でも、図14に示すように各収容部の内底部には、断面略凹状の一条の溝が傾斜面に沿って形成されている点については図1等で説明したのと同様である。
続いて、図15に基づいて、第6の実施例について説明する。
当該実施例は、DNAの検査の処理に適した容器である。
図15(a)に示すように、本実施例に係るマイクロプレート60は、収容部が列(行)毎に設けられた複数のカートリッジ61,62,63,64と、隣接するカートリッジ間を所定間隔を空けて並べその一端で略クシ歯状に結合する結合部66とを有する。
当該結合部66には、マイクロプレート60を掴むためのツマミ67が設けられている。
本実施例では、各カートリッジ及び結合部等は金型によって、一体に成型される。
ここで、「所定間隔」としては、当該マイクロプレート60が載置されるステージに設けられた隔壁65が挿入可能なように、隔壁65の厚みよりもやや広めに設定される。隔壁65がカートリッジ間の間隙に挿入されると隣接するカートリッジが隔てられる。
同図(b)に示すように、本実施例では、各列毎のカートリッジ63等は、その一端は、分注ノズルから脱着された分注チップ69を保持する分注チップ保持用収容部63Aが設けられ、他端には、DNAの測定を行うために用いるPCR用チューブ635を保持する保持用穴部63Iが設けられている。
PCR用チューブ635は、その上端に、液体の蒸発を防ぐための開閉自在の蓋体633がPCR用チューブ本体と一体に成型され、PCR用チューブ635に設けられたフランジ634によって前記保持用穴部63Iに支持されている。
さらに、本実施例にあっては、処理用の収容部63B,63C,63D,63E,63F,63G,63Hを有する。
この内、収容部63G,63Hは、恒温手段である恒温容器631,632に収納可能な位置及び大きさに設けられ、当該恒温容器631、632によって一定の温度、例えば、60°C、90°C等に保たれている。当該収容部は、熱伝導の影響を与えないように他の収容部とはある程度離れた位置に設けられている。また、恒温状態を長時間保持させる間の液体の蒸発を防ぐため、収容部63G,63Hは十字状にスリットが入れられた弾性体で形成された蓋体630によって覆われている。十字状のスリットは、蓋をしたままで、分注チップの先端が収容部61G,61Hに進入可能である。
本実施例に係る容器60を使用するには、分注ユニットのステージに設けられた隔壁65の上方から、クシ歯状の容器60の間隙から隔壁65が屹立するようにして容器60をステージ上に設置する。
当該隔壁65は、所定間隔で平行に設置されており、マイクロプレート60のカートリッジ61〜64が隔壁65間の空隙に位置する。その際、図15(b)に示すように、前記収容部63G及び63H等は恒温手段631、632の所定位置に設置される。
すると、4連の分注ノズルに装着された分注チップは、隔壁65に沿って動作し、4つ同時に吸引・吐出等を行う。
尚、図15(b)中、符号70は、フィルタである。また、本実施例でも、図15(a)に示すように、各収容部61B〜61F等の内底部には、断面略凹状の一条の溝が傾斜面に沿って形成されている。
本実施例によれば、各カートリッジ61〜64は各々隔壁65で隔てられているために、各処理ラインの各カートリッジ61〜64間では、目的DNA等以外のものの混入によるクロスコンタミネーションを防止することができる。
また、本実施例では、隔壁として、矩形状の板体を用いたものを説明したが、この隔壁に代わるものとして、上記各ライン間に、ライン方向に長い空気吸入口を有する空気吸入器を設けてエアー吸引を行うこともできる。
これによって、各ラインに下方向の空気流の幕が発生し、上記隔壁を設けた場合と同様に隣のラインとの間での空気等の出入りが遮断され、他のラインからの液体等の混入を防止することができる。
尚、以上説明した実施例において、上記各容器10は、直列状に液体収容部13A乃至13Iを設ける場合のみならず、マイクロプレート状に形成する場合のみならず、ループ状又はジグザグ状等の列状に構成されてもよい。或は、単体の容器を上記液体収容部と同様に構成してもよい。
また、以上の実施例において、各マイクロプレート及びカートリッジに設けられた各収容部の数又は種類は上記の例に限定されるものではなく、必要に応じて増減することができることは言うまでもない。
この発明の第1実施例に係るカートリッジ容器の平面図である。 同カートリッジ容器の正面図である。 同カートリッジ容器の底面図である。 同カートリッジ容器の左側面図である。 同カートリッジ容器の右側面図である。 同カートリッジ容器の断面図である。 同カートリッジ容器の他の構成例を示す部分拡大断面図である。 同カートリッジ容器の液体収納部における試料・試薬の吸引状態を示す拡大断面図である。 同カートリッジ容器の液体収納部における試料・試薬の吐出状態を示す拡大断面図である。 この発明の第2実施例に係るカートリッジ容器の液体収容部の構成を拡大して示す平面図である。 この発明の第3実施例に係るカートリッジ容器の液体収容部の構成を拡大して示す平面図である。 この発明の第4の実施例に係るマイクロプレートの斜視図である。 この発明の第4の実施例に係るマイクロプレートの平面図及びAA線視断面図である。 この発明の第5の実施例に係るマイクロプレートの平面図及びBB線視断面図である。 この発明の第6の実施例に係るマイクロプレートの平面図及びCC線視断面図である。 従来の容器における試料・試薬の吸引状態例を示す断面図である。 従来の容器における試料・試薬の吐出状態例を示す断面図である。 従来の他の容器における試料・試薬の吸引状態例を示す断面図である。
符号の説明
10 カートリッジ容器
13A乃至13I 液体収容部
14 測定用容器
14A 測定用容器穴部
15 液体収容部の底部
15a 液体収容部の内底部
16,16A 溝
16B 突起または凹孔
21 ピペットチップ
22 ピペットチップの先端部
d 溝の幅寸法
D ピペットチップの先端部の口径寸法
30,40 マイクロプレート
31A乃至34K 収容部
35 基部
36 脚壁部
300 シール
41A乃至48H 収容部
51 ピペットチップ
52 永久磁石
53 磁性体粒子
60 マイクロプレート
61乃至64 カートリッジ
65 隔壁
66 結合部
635 PCR用チューブ

Claims (8)

  1. マイクロプレートは、収容部等が各列毎又は各行毎に列状に設けられている複数のカートリッジ容器と、カートリッジ容器間を相互に隔てるため、当該マイクロプレートが載置されるステージに略平行の所定間隔に配列された各隔壁が嵌挿可能な幅の間隔を隣接カートリッジ容器間に空けて当該カートリッジ容器をその一端で結合して略クシ歯状に形成する結合部とを有することを特徴とする容器。
  2. 前記結合部は、カートリッジ容器毎に容易に切断可能な強度で形成されていることを特徴とする請求項に記載された容器。
  3. 前記容器は、分注ノズルから脱着されたピペットチップを保持するピペットチップ保持用収容部を有するとともに、前記カートリッジ容器に設けられた収容部は、処理に必要な本数が直列状に、移動する前記分注ノズルの移動軌跡に沿って配置され、前記マイクロプレートに設けられた収容部は、処理毎に必要な本数が直列状に、移動する前記分注ノズルの移動軌跡に沿って並列に配置されていることを特徴とする請求項又は請求項のいずれかに記載された容器。
  4. 前記収容部の内底部は、その中央近傍に該収容部内に挿脱されるピペットチップの先端部の口径よりも幅が狭くかつ該先端部の口径よりも長い長さをもつ断面略凹状の溝を形成するとともに、収容部壁から該溝の縁に至る一様な下がり勾配の傾斜面を形成したことを特徴とする請求項1に記載の容器。
  5. 前記収容部の少なくとも1つは、内部を電気的に温度調節が可能な恒温槽内に挿入可能に形成されたことを特徴とする請求項1ないし請求項4のいずれかに記載された容器。
  6. 前記恒温槽内に挿入可能に形成した収容部について、分注ノズルに装着されたピペットチップが進入可能なスリットを設けた蓋体が設けられたことを特徴とする請求項5に記載された容器。
  7. 前記収容部は、夫々楕円形の平面形状を有して構成されていることを特徴とする請求項1乃至請求項3のいずれかに記載された容器。
  8. 各列のカートリッジは、その一端にDNAの測定を行うために用いるPCR用チューブを保持する保持用穴部が設けられ、PCR用チューブには、開閉自在の蓋体が設けられた請求項1乃至請求項3のいずれかに記載の容器。
JP2004280214A 1995-07-31 2004-09-27 容器 Expired - Fee Related JP3914552B2 (ja)

Priority Applications (1)

Application Number Priority Date Filing Date Title
JP2004280214A JP3914552B2 (ja) 1995-07-31 2004-09-27 容器

Applications Claiming Priority (2)

Application Number Priority Date Filing Date Title
JP21305195 1995-07-31
JP2004280214A JP3914552B2 (ja) 1995-07-31 2004-09-27 容器

Related Parent Applications (1)

Application Number Title Priority Date Filing Date
JP50747497A Division JP3985872B2 (ja) 1995-07-31 1996-07-31 容器

Publications (2)

Publication Number Publication Date
JP2004361422A JP2004361422A (ja) 2004-12-24
JP3914552B2 true JP3914552B2 (ja) 2007-05-16

Family

ID=34066710

Family Applications (1)

Application Number Title Priority Date Filing Date
JP2004280214A Expired - Fee Related JP3914552B2 (ja) 1995-07-31 2004-09-27 容器

Country Status (1)

Country Link
JP (1) JP3914552B2 (ja)

Families Citing this family (3)

* Cited by examiner, † Cited by third party
Publication number Priority date Publication date Assignee Title
JP2007189964A (ja) * 2006-01-20 2007-08-02 Toppan Printing Co Ltd 検査基板
EP1839756A1 (en) * 2006-03-31 2007-10-03 F.Hoffmann-La Roche Ag Apparatus for separating magnetic particles from liquids containing said particles, and an array of vessels suitable for use with such an apparatus
US11376598B2 (en) * 2017-05-12 2022-07-05 Universal Bio Research Co., Ltd. Cartridge for nucleic acid detection

Also Published As

Publication number Publication date
JP2004361422A (ja) 2004-12-24

Similar Documents

Publication Publication Date Title
JP3927570B2 (ja) 容器
JP3923968B2 (ja) 容器使用方法
JP3985872B2 (ja) 容器
JPWO1997005492A1 (ja) 容 器
AU2016201604B2 (en) Unitized reagent strip
JP3340995B2 (ja) マルチチャンバ構造においてサンプルを処理するためのシステム
EP1120164B1 (en) Fluid flow control in curved capillary channels
US5503985A (en) Disposable device for diagnostic assays
US7387898B1 (en) Apparatus and method for conducting assays
KR100866016B1 (ko) 시약 배급 시스템
US6063341A (en) Disposable process device
US3986534A (en) Device for measuring and dispensing fractionary volumes of liquid samples
US4673653A (en) Method of performing biological analyses using immunological reactions, and apparatus for performing the method
EP1547686A1 (en) Microtiter plate, system and method for processing samples
JP2005502034A (ja) 試薬カートリッジ
JP2010518401A (ja) 試薬カートリッジ混合管
JP3914552B2 (ja) 容器
EP1785725A2 (en) Fluid handling apparatus and fluid handling unit for use therein
US20050013743A1 (en) I-shaped slit in a lidstock covering an array of aliquot vessels
JP2009002927A (ja) 流体取扱ユニットおよびそれを用いた流体取扱装置

Legal Events

Date Code Title Description
A521 Written amendment

Free format text: JAPANESE INTERMEDIATE CODE: A523

Effective date: 20041026

A621 Written request for application examination

Free format text: JAPANESE INTERMEDIATE CODE: A621

Effective date: 20041026

A977 Report on retrieval

Free format text: JAPANESE INTERMEDIATE CODE: A971007

Effective date: 20051021

A131 Notification of reasons for refusal

Free format text: JAPANESE INTERMEDIATE CODE: A131

Effective date: 20060919

A521 Written amendment

Free format text: JAPANESE INTERMEDIATE CODE: A523

Effective date: 20061120

A131 Notification of reasons for refusal

Free format text: JAPANESE INTERMEDIATE CODE: A131

Effective date: 20061219

A521 Written amendment

Free format text: JAPANESE INTERMEDIATE CODE: A523

Effective date: 20061222

TRDD Decision of grant or rejection written
A01 Written decision to grant a patent or to grant a registration (utility model)

Free format text: JAPANESE INTERMEDIATE CODE: A01

Effective date: 20070130

A61 First payment of annual fees (during grant procedure)

Free format text: JAPANESE INTERMEDIATE CODE: A61

Effective date: 20070202

R150 Certificate of patent or registration of utility model

Free format text: JAPANESE INTERMEDIATE CODE: R150

FPAY Renewal fee payment (event date is renewal date of database)

Free format text: PAYMENT UNTIL: 20110209

Year of fee payment: 4

FPAY Renewal fee payment (event date is renewal date of database)

Free format text: PAYMENT UNTIL: 20110209

Year of fee payment: 4

FPAY Renewal fee payment (event date is renewal date of database)

Free format text: PAYMENT UNTIL: 20120209

Year of fee payment: 5

FPAY Renewal fee payment (event date is renewal date of database)

Free format text: PAYMENT UNTIL: 20120209

Year of fee payment: 5

FPAY Renewal fee payment (event date is renewal date of database)

Free format text: PAYMENT UNTIL: 20130209

Year of fee payment: 6

FPAY Renewal fee payment (event date is renewal date of database)

Free format text: PAYMENT UNTIL: 20140209

Year of fee payment: 7

R250 Receipt of annual fees

Free format text: JAPANESE INTERMEDIATE CODE: R250

LAPS Cancellation because of no payment of annual fees