JP3912640B2 - 船外機用エンジンにおける高圧燃料ポンプ駆動装置 - Google Patents
船外機用エンジンにおける高圧燃料ポンプ駆動装置 Download PDFInfo
- Publication number
- JP3912640B2 JP3912640B2 JP24454798A JP24454798A JP3912640B2 JP 3912640 B2 JP3912640 B2 JP 3912640B2 JP 24454798 A JP24454798 A JP 24454798A JP 24454798 A JP24454798 A JP 24454798A JP 3912640 B2 JP3912640 B2 JP 3912640B2
- Authority
- JP
- Japan
- Prior art keywords
- engine
- fuel pump
- pressure fuel
- pressure
- drive pulley
- Prior art date
- Legal status (The legal status is an assumption and is not a legal conclusion. Google has not performed a legal analysis and makes no representation as to the accuracy of the status listed.)
- Expired - Fee Related
Links
- 239000000446 fuel Substances 0.000 title claims description 68
- 238000002347 injection Methods 0.000 description 7
- 239000007924 injection Substances 0.000 description 7
- 230000036316 preload Effects 0.000 description 5
- 238000010586 diagram Methods 0.000 description 3
- 238000000034 method Methods 0.000 description 3
- 235000014676 Phragmites communis Nutrition 0.000 description 2
- 239000002828 fuel tank Substances 0.000 description 2
- 230000002000 scavenging effect Effects 0.000 description 2
- 238000002485 combustion reaction Methods 0.000 description 1
- 238000001816 cooling Methods 0.000 description 1
- 230000000694 effects Effects 0.000 description 1
- 239000007788 liquid Substances 0.000 description 1
- 239000000203 mixture Substances 0.000 description 1
- 238000012986 modification Methods 0.000 description 1
- 230000004048 modification Effects 0.000 description 1
- 238000005192 partition Methods 0.000 description 1
- 230000035485 pulse pressure Effects 0.000 description 1
- 238000011144 upstream manufacturing Methods 0.000 description 1
Images
Classifications
-
- F—MECHANICAL ENGINEERING; LIGHTING; HEATING; WEAPONS; BLASTING
- F02—COMBUSTION ENGINES; HOT-GAS OR COMBUSTION-PRODUCT ENGINE PLANTS
- F02B—INTERNAL-COMBUSTION PISTON ENGINES; COMBUSTION ENGINES IN GENERAL
- F02B75/00—Other engines
- F02B75/16—Engines characterised by number of cylinders, e.g. single-cylinder engines
- F02B75/18—Multi-cylinder engines
- F02B75/22—Multi-cylinder engines with cylinders in V, fan, or star arrangement
-
- F—MECHANICAL ENGINEERING; LIGHTING; HEATING; WEAPONS; BLASTING
- F02—COMBUSTION ENGINES; HOT-GAS OR COMBUSTION-PRODUCT ENGINE PLANTS
- F02B—INTERNAL-COMBUSTION PISTON ENGINES; COMBUSTION ENGINES IN GENERAL
- F02B61/00—Adaptations of engines for driving vehicles or for driving propellers; Combinations of engines with gearing
- F02B61/04—Adaptations of engines for driving vehicles or for driving propellers; Combinations of engines with gearing for driving propellers
- F02B61/045—Adaptations of engines for driving vehicles or for driving propellers; Combinations of engines with gearing for driving propellers for marine engines
Landscapes
- Engineering & Computer Science (AREA)
- Chemical & Material Sciences (AREA)
- Combustion & Propulsion (AREA)
- Mechanical Engineering (AREA)
- General Engineering & Computer Science (AREA)
- Ocean & Marine Engineering (AREA)
- Fuel-Injection Apparatus (AREA)
- Lubrication Of Internal Combustion Engines (AREA)
Description
【発明の属する技術分野】
本発明は、船外機における高圧燃料ポンプ駆動装置の技術分野に属する。
【0002】
【従来の技術及び発明が解決しようとする課題】
従来、自動車用エンジンにおいては、カムシャフトの回転により高圧燃料ポンプを駆動させ、高圧燃料を筒内に直接噴射する方式が知られているが、船外機用エンジンでは未だ開発されていない。そこで、この方式を船外機用エンジンに採用することが考えられ、その場合、クランク軸に駆動プーリを取り付けるとともに、高圧燃料ポンプの回転軸に従動プーリを取り付け、駆動プーリの回転をベルトを介して従動プーリに伝達させる方式が考えられる。
【0003】
ところで、船外機用エンジンにおいては、エンジンがカウリング(ハウジング)という制約されたスペースの中に配置されており、自動車のような大がかりな冷却系を設けることが困難なため、エンジンの雰囲気温度が高く燃料中に気泡が発生し易くなり、この気泡が燃料噴射弁に流入すると燃料供給にばらつきが生じてしまう。そのため、高圧燃料供給系に必要以上の燃料が流れると、燃料が高圧のため燃料供給系の配管抵抗、フィルタによる圧力損失が増大するため、燃料温度が上昇し気泡が発生してしまい、この気泡が燃料噴射弁に流入すると燃料供給にバラツキが生じてしまう。従って、高圧燃料供給系に適正な燃料を供給するためには、クランク軸と高圧燃料ポンプの回転軸の間で適切な減速比が得られるように、駆動プーリと従動プーリの径を設定する必要がある。一方で、船外機用エンジンは、エンジンがカウリング(ハウジング)という制約されたスペースの中に配置されており、エンジンのコンパクト化が課題となっている。従って、所望の減速比を確保しつつ駆動プーリの径を小さくすることができれば、従動プーリの径も小さくなり、その分だけエンジンのコンパクト化を図ることができる。また、駆動プーリの径を小さくして減速比を大きくすることができれば、出力が異なるエンジンにも同一の高圧燃料ポンプを使用して部品の共通化を図ることができる。
【0004】
本発明は、上記課題を解決するものであって、所望の減速比を確保しつつエンジンのコンパクト化を図ることができる船外機における高圧燃料ポンプ駆動装置を提供することを目的とする。
【0005】
【課題を解決するための手段】
上記目的を達成するために請求項1記載の発明は、クランク軸12bが縦置きに配置された船外機用エンジン2において、エンジンボディ7上に固定された高圧燃料ポンプ37と、前記クランク軸の上端に固定された駆動プーリ43と、前記高圧燃料ポンプの回転軸に固定された従動プーリ44と、前記駆動プーリ及び従動プーリ間に張設された駆動ベルト45とを備え前記駆動プーリ43の下部にフライホイール46を配設したことを特徴とし、請求項2記載の発明は、請求項1において、前記エンジンは、複数の気筒7a〜7fをVバンクをなすように2列に配設しており、前記高圧燃料ポンプ37を前記Vバンクの間に配設したことを特徴とし、請求項3記載の発明は、請求項1または2において、前記エンジンが2サイクルエンジンであることを特徴とし、請求項4記載の発明は、請求項1または2において、前記エンジンが4サイクルエンジンであることを特徴とする。なお、上記構成に付加した番号は、本発明の理解を容易にするために図面と対比させるもので、これにより本発明が何ら限定されるものではない。
【0006】
【発明の実施の形態】
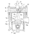
以下、本発明の実施の形態を図面を参照しつつ説明する。図1は本発明が適用される船外機用エンジンの縦断面図、図2は図1の要部断面図、図3は図1の要部模式図である。
【0007】
図1において、1は船外機であり、クランク軸が縦置状態で搭載されるエンジン2と、エンジン2の下端面に接続されるガイドエキゾースト部3と、ガイドエキゾースト部3の下端面に接続されるアッパケース4、ロアケース5及びスクリュー6からなる。上記エンジン2は、筒内噴射式V型6気筒2サイクルエンジンであり、6つの気筒7a〜7fが平面視でVバンクをなすように形成されたエンジンボディ7に、図2に示すシリンダヘッド8及びヘッドカバー9が図1の紙面垂直方向手前側に順次積層接続し、ヘッドボルト10により固定されている。また、エンジンボディ7の図1裏面側には図3に示すクランクケース23が形成されている。
【0008】
上記気筒7a〜7f内にはピストン11が摺動自在に嵌合配置され、各ピストン11はコンロッド12aを介してクランク軸12bに連結されている。ピストン11の頭部には、窪み状のキャビティ11aが形成されており、キャビティ11aは、シリンダヘッド8側に形成された窪み状の凹部8aとで燃焼室を構成している。上記シリンダヘッド8には、燃料噴射弁13及び点火プラグ14が挿入配置されている。燃料噴射弁13は磁力で開閉作動されるソレノイド開閉式であり、その噴射軸線はシリンダボア軸線aと一致しており、また、点火プラグ14の電極14aは前記凹部8a内に突出されている。
【0009】
気筒7a〜7fは、それぞれ掃気ポート17a、17bによりクランク室7gに連通され、また、気筒7a〜7fには、排気ポート18a〜18fが掃気ポート17aに対向するように接続されている。図1の左バンクの排気ポート18a〜18cは左集合ポート19aに、右バンクの排気ポート18d〜18fは右集合ポート19bに合流されており、左集合ポート19a及び右集合ポート19bの下流端にはそれぞれガイドエキゾースト部3内の左排気通路3a及び右排気通路3bを介してアッパケース4内の左排気管20a及び右排気管20bが接続されている。
【0010】
左右の排気管20a、20bは、アッパケース4内のマフラー21内に配置されており、このマフラー21は隔壁22により左右の排気管20a、20bが開口する左膨張室21a及び右膨張室21bを備えている。この膨張室21a、21bは、左右バンクの気筒7a〜7c、7〜7fからの排気ガスの圧力波が略大気圧状態に解放されるのに必要な容積を有している。また、マフラー21の下端には、ロアケース5内に形成された排気通路5aが接続されており、この排気通路5aは、左右の排気管20a、20bからの排気を合流させている。
【0011】
図3に示すように、エンジン2のクランクケース23には吸気マニホールド25の各分岐吸気管25aが接続されており、該分岐吸気管25aのクランクケース23への接続部には、逆流防止用のリード弁24が配設され、また、リード弁24の上流側には、分岐吸気管25aにオイルを供給するためのオイルポンプ27および吸気量を制御するためのスロットル弁26が配設されている。
【0012】
図4〜図6は、本発明の船外機における高圧燃料ポンプ駆動装置の1実施形態を示し、図4は燃料供給系の全体構成図、図5及び図6は、図4の燃料供給装置の具体的配置例を示す模式図であり、図5は側面図、図6は平面図である。
【0013】
図4には、図1で説明したV型6気筒エンジン2の左バンクの気筒7a〜7cのみが示され、クランク軸12b、気筒7a〜7c及び燃料供給レール40が縦置状態に配置された構成が示されている。30、31は船体側に配設された主燃料タンク及び第1の低圧燃料ポンプであり、ベーパーセパレータタンク35、予圧燃料ポンプ36、高圧燃料ポンプ37、高圧圧力調整弁38、燃料供給レール40及びこれらを接続する配管は、船外機のカウリング32内に配設されている。
【0014】
主燃料タンク30内の燃料は、手動式の第1の低圧燃料ポンプ31によりフィルタ33を経て第2の低圧燃料ポンプ34に送られる。この第2の低圧燃料ポンプ34は、エンジン2のクランク室7gのパルス圧により駆動されるダイヤフラム式ポンプであり、燃料を気液分離装置であるベーパーセパレータタンク35に送る。該ベーパーセパレータタンク35内には、電動モータにより駆動される予圧燃料ポンプ36が配設されており、燃料を加圧し予圧配管Cを経て高圧燃料ポンプ37に送る。高圧燃料ポンプ37の吐出側は、高圧配管A、高圧圧力調整弁38、リターン配管Bを介してベーパーセパレータタンク35に接続されると共に、高圧配管Aは燃料供給レール40に接続されている。
【0015】
燃料供給レール40の上部終端は閉口されており、高圧燃料を各気筒7a〜7cに装着した燃料噴射弁13に供給するように構成している。また、高圧配管Aの途中にはフィルタ39が配設され、さらに、配管Cには燃料冷却器41の一端が接続され、その他端はリターン配管C′、予圧圧力調整弁42を介してベーパーセパレータタンク35に接続されている。図5及び図6にも示すように、クランク軸12bの上部にはフライホイール46が配設され、さらにその上部、すなわちクランク軸12bの上端に駆動プーリ43が固定されている。また、高圧燃料ポンプ37の回転軸37aには従動プーリ44が固定され、駆動プーリ43と従動プーリ44間には駆動ベルト45が張設され、高圧燃料ポンプ37がクランク軸12bの回転により駆動される構成となっている。
以上
【0016】
図5において、船体51の後部には船の駆動装置である船外機1が着脱自在に装着されている。船外機1は、船体51の後部に着脱自在に取り付けられるクランプブラケット52と、クランプブラケット52に枢支軸53を介して上下回動自在に枢支されるスイベルブラケット54と、このスイベルブラケット54を上下方向に回動させる油圧シリンダ55と、スイベルブラケット54に支持される推進ユニット56とを備えている。前記推進ユニット56は、スイベルブラケット54に支持されるケース4を有し、このケース4の上部にエンジン2が取り付けられ、エンジン2をその上方から覆うカウリング32が設けられている。
【0017】
図6において、エンジン2の側面には、ベーパーセパレータタンク35、予圧燃料ポンプ36、低圧燃料ポンプ34、フィルタ33、燃料冷却器41が配置され、エンジン2の後面に燃料供給レール40、フィルタ39、高圧圧力調整弁38が配置され、エンジンボディ7の上面でVバンクの間に高圧燃料ポンプ37が配置、固定されている。
【0018】
以上、本発明の実施の形態について説明したが、本発明はこれに限定されるものではなく種々の変更が可能である。例えば、上記実施形態においては、6気筒エンジンに適用した例について説明しているが、これに限定されるものではなく単気筒以上の気筒を有するものであればよい。また、上記実施形態においては、2サイクルエンジンに適用した例について説明しているが、4サイクルエンジンへの適用も可能である。
【0019】
【発明の効果】
以上の説明から明らかなように、請求項1、4、5記載の発明によれば、駆動プーリをクランク軸の上端に固定したので、所望の減速比を確保しつつ駆動プーリの径を小さくすることができ、従って、従動プーリの径も小さくなり、その分だけエンジンのコンパクト化を図ることができる。また、駆動プーリの径を自由に変更することにより、出力が異なるエンジンにも同一の高圧燃料ポンプを使用して部品の共通化を図ることができる。
【0020】
また、請求項2記載の発明によれば、駆動プーリをフライホイールの下部に設けるものと比較して、駆動ベルトの交換を容易に行うことができ、
請求項3記載の発明によれば、高圧燃料ポンプをVバンクの間に配設することにより、よりエンジンのコンパクト化を図ることができる。
【図面の簡単な説明】
【図1】本発明が適用される船外機用エンジンの縦断面図である。
【図2】図1の要部断面図である。
【図3】図1の要部模式図である。
【図4】本発明の船外機における高圧燃料ポンプ駆動装置の1実施形態を示す燃料供給系の全体構成図である。
【図5】図4の燃料供給系の具体的配置例を示す模式的側面図である。
【図6】図4の燃料供給系の具体的配置例を示す模式的平面図である。
【符号の説明】
2…エンジン
7…エンジンボディ、7a〜7c…気筒
12b…クランク軸
37…高圧燃料ポンプ
43…駆動プーリ
44…従動プーリ
45…駆動ベルト
46…フライホイール
Claims (4)
- クランク軸が縦置きに配置された船外機用エンジンにおいて、エンジンボディ上に固定された高圧燃料ポンプと、前記クランク軸の上端に固定された駆動プーリと、前記高圧燃料ポンプの回転軸に固定された従動プーリと、前記駆動プーリ及び従動プーリ間に張設された駆動ベルトとを備え、前記駆動プーリの下部にフライホイールを配設したことを特徴とする高圧燃料ポンプ駆動装置。
- 前記エンジンは、複数の気筒をVバンクをなすように2列に配設しており、前記高圧燃料ポンプを前記Vバンクの間に配設したことを特徴とする請求項1記載の高圧燃料ポンプ駆動装置。
- 前記エンジンが2サイクルエンジンであることを特徴とする請求項1または2に記載の高圧燃料ポンプ駆動装置。
- 前記エンジンが4サイクルエンジンであることを特徴とする請求項1または2に記載の高圧燃料ポンプ駆動装置。
Priority Applications (1)
| Application Number | Priority Date | Filing Date | Title |
|---|---|---|---|
| JP24454798A JP3912640B2 (ja) | 1997-08-20 | 1998-08-31 | 船外機用エンジンにおける高圧燃料ポンプ駆動装置 |
Applications Claiming Priority (2)
| Application Number | Priority Date | Filing Date | Title |
|---|---|---|---|
| JP9223822A JPH1172052A (ja) | 1996-09-17 | 1997-08-20 | 筒内燃料噴射式エンジンの燃料供給装置 |
| JP24454798A JP3912640B2 (ja) | 1997-08-20 | 1998-08-31 | 船外機用エンジンにおける高圧燃料ポンプ駆動装置 |
Related Parent Applications (1)
| Application Number | Title | Priority Date | Filing Date |
|---|---|---|---|
| JP9223822A Division JPH1172052A (ja) | 1996-09-17 | 1997-08-20 | 筒内燃料噴射式エンジンの燃料供給装置 |
Publications (2)
| Publication Number | Publication Date |
|---|---|
| JPH11132126A JPH11132126A (ja) | 1999-05-18 |
| JP3912640B2 true JP3912640B2 (ja) | 2007-05-09 |
Family
ID=17120334
Family Applications (1)
| Application Number | Title | Priority Date | Filing Date |
|---|---|---|---|
| JP24454798A Expired - Fee Related JP3912640B2 (ja) | 1997-08-20 | 1998-08-31 | 船外機用エンジンにおける高圧燃料ポンプ駆動装置 |
Country Status (1)
| Country | Link |
|---|---|
| JP (1) | JP3912640B2 (ja) |
-
1998
- 1998-08-31 JP JP24454798A patent/JP3912640B2/ja not_active Expired - Fee Related
Also Published As
| Publication number | Publication date |
|---|---|
| JPH11132126A (ja) | 1999-05-18 |
Similar Documents
| Publication | Publication Date | Title |
|---|---|---|
| JP3450026B2 (ja) | 船舶推進機 | |
| JPH0988623A (ja) | 船外機用直列多気筒エンジン | |
| JPH06264757A (ja) | V型エンジンの吸排気構造 | |
| US4932367A (en) | Four-stroke V-engine with central exhaust and intake manifolds | |
| JPH1061446A (ja) | 船外機の吸気構造 | |
| JPH11280540A (ja) | 筒内燃料噴射式エンジン | |
| US5803050A (en) | Fuel injected induction system for marine engine | |
| US6736100B2 (en) | Compact tuned air induction system for engine | |
| US6125820A (en) | Throttle control for outboard motor | |
| JP3422811B2 (ja) | 燃料噴射式エンジン | |
| US6637396B2 (en) | Air induction system for multi-cylinder engine | |
| US5207190A (en) | V-type fuel injection two cycle engine | |
| US7296552B2 (en) | Air intake structure for engine | |
| JP3912640B2 (ja) | 船外機用エンジンにおける高圧燃料ポンプ駆動装置 | |
| JPH07224669A (ja) | V型多気筒2サイクルエンジン | |
| US5623895A (en) | V-type, multi-cylinder, two-cycle engine | |
| US6588388B2 (en) | Air induction system for engine | |
| JPH1172052A (ja) | 筒内燃料噴射式エンジンの燃料供給装置 | |
| JP2729686B2 (ja) | 2サイクル内燃機関のクランク室構造 | |
| JP3879954B2 (ja) | 筒内燃料噴射式エンジン | |
| US20020043252A1 (en) | Sensor arrangement for engine | |
| JP2986996B2 (ja) | V型2サイクルエンジン | |
| US5348499A (en) | Outboard motor | |
| JP3871155B2 (ja) | 高圧燃料ポンプの駆動装置 | |
| JP2794751B2 (ja) | 燃料噴射式多気筒エンジンの吸気装置 |
Legal Events
| Date | Code | Title | Description |
|---|---|---|---|
| A621 | Written request for application examination |
Free format text: JAPANESE INTERMEDIATE CODE: A621 Effective date: 20040428 |
|
| A131 | Notification of reasons for refusal |
Free format text: JAPANESE INTERMEDIATE CODE: A131 Effective date: 20060607 |
|
| A521 | Written amendment |
Free format text: JAPANESE INTERMEDIATE CODE: A523 Effective date: 20060721 |
|
| TRDD | Decision of grant or rejection written | ||
| A01 | Written decision to grant a patent or to grant a registration (utility model) |
Free format text: JAPANESE INTERMEDIATE CODE: A01 Effective date: 20070124 |
|
| A61 | First payment of annual fees (during grant procedure) |
Free format text: JAPANESE INTERMEDIATE CODE: A61 Effective date: 20070125 |
|
| R150 | Certificate of patent or registration of utility model |
Free format text: JAPANESE INTERMEDIATE CODE: R150 |
|
| FPAY | Renewal fee payment (event date is renewal date of database) |
Free format text: PAYMENT UNTIL: 20100209 Year of fee payment: 3 |
|
| S111 | Request for change of ownership or part of ownership |
Free format text: JAPANESE INTERMEDIATE CODE: R313111 |
|
| FPAY | Renewal fee payment (event date is renewal date of database) |
Free format text: PAYMENT UNTIL: 20100209 Year of fee payment: 3 |
|
| R371 | Transfer withdrawn |
Free format text: JAPANESE INTERMEDIATE CODE: R371 |
|
| S111 | Request for change of ownership or part of ownership |
Free format text: JAPANESE INTERMEDIATE CODE: R313111 |
|
| FPAY | Renewal fee payment (event date is renewal date of database) |
Free format text: PAYMENT UNTIL: 20100209 Year of fee payment: 3 |
|
| R350 | Written notification of registration of transfer |
Free format text: JAPANESE INTERMEDIATE CODE: R350 |
|
| FPAY | Renewal fee payment (event date is renewal date of database) |
Free format text: PAYMENT UNTIL: 20100209 Year of fee payment: 3 |
|
| FPAY | Renewal fee payment (event date is renewal date of database) |
Free format text: PAYMENT UNTIL: 20110209 Year of fee payment: 4 |
|
| FPAY | Renewal fee payment (event date is renewal date of database) |
Free format text: PAYMENT UNTIL: 20110209 Year of fee payment: 4 |
|
| FPAY | Renewal fee payment (event date is renewal date of database) |
Free format text: PAYMENT UNTIL: 20120209 Year of fee payment: 5 |
|
| FPAY | Renewal fee payment (event date is renewal date of database) |
Free format text: PAYMENT UNTIL: 20120209 Year of fee payment: 5 |
|
| FPAY | Renewal fee payment (event date is renewal date of database) |
Free format text: PAYMENT UNTIL: 20130209 Year of fee payment: 6 |
|
| FPAY | Renewal fee payment (event date is renewal date of database) |
Free format text: PAYMENT UNTIL: 20130209 Year of fee payment: 6 |
|
| FPAY | Renewal fee payment (event date is renewal date of database) |
Free format text: PAYMENT UNTIL: 20140209 Year of fee payment: 7 |
|
| R250 | Receipt of annual fees |
Free format text: JAPANESE INTERMEDIATE CODE: R250 |
|
| R250 | Receipt of annual fees |
Free format text: JAPANESE INTERMEDIATE CODE: R250 |
|
| LAPS | Cancellation because of no payment of annual fees |