JP3855352B2 - 電子写真複写装置 - Google Patents

電子写真複写装置 Download PDF

Info

Publication number
JP3855352B2
JP3855352B2 JP09547797A JP9547797A JP3855352B2 JP 3855352 B2 JP3855352 B2 JP 3855352B2 JP 09547797 A JP09547797 A JP 09547797A JP 9547797 A JP9547797 A JP 9547797A JP 3855352 B2 JP3855352 B2 JP 3855352B2
Authority
JP
Japan
Prior art keywords
roller
paper
transfer
sheet
pair
Prior art date
Legal status (The legal status is an assumption and is not a legal conclusion. Google has not performed a legal analysis and makes no representation as to the accuracy of the status listed.)
Expired - Lifetime
Application number
JP09547797A
Other languages
English (en)
Other versions
JPH10291670A (ja
Inventor
典行 伏谷
Current Assignee (The listed assignees may be inaccurate. Google has not performed a legal analysis and makes no representation or warranty as to the accuracy of the list.)
Panasonic Corp
Panasonic Holdings Corp
Original Assignee
Panasonic Corp
Matsushita Electric Industrial Co Ltd
Priority date (The priority date is an assumption and is not a legal conclusion. Google has not performed a legal analysis and makes no representation as to the accuracy of the date listed.)
Filing date
Publication date
Application filed by Panasonic Corp, Matsushita Electric Industrial Co Ltd filed Critical Panasonic Corp
Priority to JP09547797A priority Critical patent/JP3855352B2/ja
Publication of JPH10291670A publication Critical patent/JPH10291670A/ja
Application granted granted Critical
Publication of JP3855352B2 publication Critical patent/JP3855352B2/ja
Anticipated expiration legal-status Critical
Expired - Lifetime legal-status Critical Current

Links

Images

Landscapes

  • Feeding Of Articles By Means Other Than Belts Or Rollers (AREA)
  • Accessory Devices And Overall Control Thereof (AREA)
  • Paper Feeding For Electrophotography (AREA)

Description

【0001】
【発明の属する技術分野】
本発明は電子写真複写装置の紙搬送における紙粉除去に関するものである。
【0002】
【従来の技術】
一般的に電子写真複写装置においては、転写紙が給紙ユニット部から転写部へと搬送されるのであるが、その間に給紙ローラ、中間ローラやレジストローラあるいは給紙ガイド板や搬送ガイド板との摩擦接触などによって転写紙表面やエッジに紙粉が発生する。
【0003】
このような紙粉の付着した転写紙をそのまま転写部にまで搬送すると、紙粉が感光体表面に転移し、その紙粉がクリーニングブレードのエッジと感光体表面との間に蓄積し、クリーニング不良や感光体表面キズを発生させたり、またトナーリサイクルタイプの装置ではクリーニング部から回収されたトナーにより現像剤中に紙粉が混入し、画像欠陥を発生させる原因になるなどの問題が生じる。
【0004】
このような問題を解決するために、従来、紙搬送ローラの上ローラのみにクリーニング部材を取り付け、ローラに付着した紙粉を除去していたものや、紙搬送ローラの上ローラを双極帯電する高価な帯電ローラを用いて紙粉を除去していたものが提案されていた。
【0005】
【発明が解決しようとする課題】
しかしながら上記従来の構成では、転写紙が感光体に接触する転写紙上面に対応する紙搬送ローラの上ローラのみにクリーニング部材や帯電ローラが取り付けてあるので、下ローラに付着した紙粉や上ローラから転移した紙粉が再度上ローラに再転移して効果的な除去が期待できなかった。また、小径の双極帯電する高価な帯電ローラでは紙粉を除去するための電界効果が減少する方向にあり効果的な除去が期待できなかった。加えて、紙粉のクリーニング部材の押圧の仕方では、クリーニングニップの有効な幅が期待できないし、ローラとクリーニング部材との間に蓄積し擦り逃げていくことがあり効果的な除去ができないといった課題を有していた。
【0006】
本発明は上記従来の課題を解決するもので、さらに確実に紙粉を吸着除去することのできる電子写真複写装置を提供することを目的とする。
【0007】
【課題を解決するための手段】
この課題を解決するために本発明の電子写真複写装置は、給紙部から感光体上の画像を転写紙表面側に転写する転写部へ至る転写紙搬送経路上に配置した一対の紙搬送ローラと、この一対の紙搬送ローラそれぞれに接触するシート状の非導電性のクリーニング部材とを有し、前記一対の紙搬送ローラで転写紙表面側に当接する第1ローラの帯電極性が紙搬送時に転写紙が帯電する極性と逆極性になり、前記一対の紙搬送ローラで他方の第2ローラの帯電極性が紙搬送時に転写紙が帯電する極性と同極性になるように、前記一対の紙搬送ローラのそれぞれを非導電性の異なる材質で構成したものである。
【0008】
また、前記第1ローラに押し付けて当接配設するシート状の非導電性の第1クリーニング部材は前記第1ローラとの接触点を前記第1ローラの中心を通る水平線よりも前記第1ローラの回転下流側で、かつ前記一対の紙搬送ローラの接触点より上流側とし、前記第2ローラに押し付けて当接配設するシート状の非導電性の第2クリーニング部材は前記第2ローラとの接触点を前記第2ローラの中心より垂下した垂直軸線よりも前記第2ローラの回転下流側で、かつ前記第2ローラの中心を通る水平線より回転上流側としたものである。
【0009】
【発明の実施の形態】
本発明の請求項1に記載の発明は、給紙部から感光体上の画像を転写紙表面側に転写する転写部へ至る転写紙搬送経路上に配置した一対の紙搬送ローラと、この一対の紙搬送ローラそれぞれに接触するシート状の非導電性のクリーニング部材とを有し、前記一対の紙搬送ローラで転写紙表面側に当接する第1ローラの帯電極性が紙搬送時に転写紙が帯電する極性と逆極性になり、前記一対の紙搬送ローラで他方の第2ローラの帯電極性が紙搬送時に転写紙が帯電する極性と同極性になるように、前記一対の紙搬送ローラのそれぞれを非導電性の異なる材質で構成したものである。これにより、転写紙表面側に付着している紙粉は、第1ローラ、第2ローラおよび紙粉自身による電界により、第1ローラへと確実に静電吸着され、第1ローラに吸着した紙粉はシート状のクリーニング部材によって第1ローラの表面から分離除去される。従って、転写紙から生じた紙粉を効率よく吸着して確実に転写紙表面から除去することができるという作用を有する。
【0010】
本発明の請求項2に記載の発明は、前記第1ローラに押し付けて当接配設するシート状の非導電性の第1クリーニング部材は前記第1ローラとの接触点を前記第1ローラの中心を通る水平線よりも前記第1ローラの回転下流側で、かつ前記一対の紙搬送ローラの接触点より上流側とし、前記第2ローラに押し付けて当接配設するシート状の非導電性の第2クリーニング部材は前記第2ローラとの接触点を前記第2ローラの中心より垂下した垂直軸線よりも前記第2ローラの回転下流側で、かつ前記第2ローラの中心を通る水平線より回転上流側とするものである。これにより、押し付けて取付けてある薄いシートとローラ自身の回転力利用という簡単な構成で、紙粉を除去するための十分なニップ幅を確保できるとともに、除去された紙粉が自重でニップ位置より吐き出され、取り除かれた紙粉が溜り過ぎないようになる。従って、紙搬送ローラそれぞれの表面に付着した紙粉を確実に除去分離することができるという作用を有する。
【0011】
以下、本発明の一実施例について図面を参照しながら説明する。図1は電子写真複写装置の構成の概略を示すもので、この図にもとづいて装置の動作の概略を説明する。
【0012】
原稿台ガラス1の上に被複写書類(以下原画という)が載置され、露光ランプ2により露光され、レンズ3よりなる光学系により原画が感光体ドラム4の上に投影される。感光体ドラム4は帯電器5により所定の値に帯電され矢印の方向に回転している。原画の光学像が投影され、投影された原画に相当する静電潜像が感光体ドラム4の上に形成され、ついで現像器6の現像ローラにより静電潜像は現像剤で現像され、感光体ドラム4上でトナーにより可視化された複写画像となる。一方、給紙カセット7より給紙された転写紙8は給紙ローラ9、10、11、12および紙搬送ガイド板13、14を経て、紙搬送ローラ15により感光体ドラム4上でトナーにより可視化された複写画像と同期されて転写部16に送り出される。転写部16にて転写紙8にトナーが転写され、定着器17により定着され、コピー画像として完成する。また、トナー転写後に感光体ドラム4の表面に付着している残留トナーはクリーニング装置18により排除され、引き続き行われる静電潜像形成に備える。
【0013】
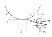
図2は本発明の構成を示したもので、一対の紙搬送ローラ15a、15bは転写部16直前に位置し、転写紙8の表面側すなわち感光体ドラム4に接する側に位置する紙搬送ローラの第1ローラ15aと反対側に位置する第2ローラ15bとからなる。第1ローラ15aと第2ローラ15bはそれぞれ体積抵抗が1×1010Ω・cm以上を有する材質で構成されていて、かつ転写紙8と第1ローラ15aの帯電極性が逆極で、転写紙8と第2ローラ15bの帯電極性が同極で、さらに第1ローラ15aと第2ローラ15bの帯電極性では第1ローラ15aが転写紙8と逆極性になるもので構成する。すなわち本実施例では、第1ローラ15aをポリアセタール(商品名ジュラコン)のプラスチックローラで、第2ローラ15bをエチレン−プロピレンのゴムローラで構成している。そして、第1ローラ15aと第2ローラ15bとはそれぞれ図中の矢印方向に互いに圧接しながら強制的に回転駆動されて、転写紙8を転写部16へと搬送するべく構成されている。
【0014】
したがって、本実施例では転写紙8が一対の紙搬送ローラ15a、15bを通過する時には、転写紙8は正極性の比較的低い帯電位に帯電し、第1ローラ15aは負極性の比較的高い帯電位に帯電し、第2ローラ15bは正極性の比較的高い帯電位に帯電する。その結果転写紙8の表面側に付着している正極性の紙粉は第1ローラ15a、第2ローラ15bおよび紙粉自身による上向きの電界により第1ローラ15aへと確実に静電吸着される。第1ローラ15aに吸着した紙粉はシート状の第1クリーニング部材19aによって第1ローラ15aの表面から分離され除去されるのである。
【0015】
なお、本実施例では第1ローラ15aをポリアセタール(商品名ジュラコン)のプラスチックローラで、第2ローラ15bをエチレン−プロピレンのゴムローラで構成しているが、複写装置の紙搬送ガイド板13、14の使用する材質により転写紙8の帯電極性が逆になった場合には第1ローラ15a、第2ローラ15bの材質を入れ換えるように設計すればよい。
【0016】
また、前述したように第1ローラ15aにはシート状の第1クリーニング部材19aが取り付けてあり、転写紙8の裏面にある紙粉は直接的には感光体4への影響を与えないが、第2ローラ15bに付着した若干の紙粉が第1ローラ15aに転移し、第1ローラ15aが紙粉で汚染するのを防止するためにシート状の第2クリーニング部材19bを取り付けてある。クリーニング部材19a、19bは厚さ1mm程度のシート状の非導電性の不織布(フェルトなど)であり、第1ローラ15a、第2ローラ15bにニップ幅(ローラとの接触幅)3mm程度確保できるよう押しつけて取り付けてある。クリーニング部材19a、19bで取り除かれた紙粉が溜り過ぎて擦り抜けないように、第1クリーニング部材19aは第1ローラ15aとはローラ中心を通る水平線より下にあると共に第1ローラ15aの中心を通る水平線よりも第1ローラ15aの回転下流側でかつ第1と第2ローラ接触点より回転上流側の位置に取り付けてあり、第2クリーニング部材19bは第2ローラ15bとは第2ローラ15b中心を通る水平線より下にあるとともに第2ローラ15bの中心より垂下した垂直軸線よりも回転下流側でかつ第2ローラ15b中心を通る水平線より回転上流側の位置に取り付けてある。これにより、薄いシートの取り付けとローラ自身の回転力利用という簡単な構成で、紙粉を除去するための十分なニップ幅を確保できるとともに、除去された紙粉が自重でニップ位置より吐き出され、取り除かれた紙粉が溜り過ぎないようにすることができる。
【0017】
【発明の効果】
以上詳述しましたように本発明は、転写紙から生じた紙粉を効率よく吸着して確実に転写紙表面および紙搬送ローラ表面から除去することができる。そのために、紙粉がクリーニングブレードのエッジと感光体表面の間に噛み込む量が激減し、クリーニング不良や感光体表面キズの発生をなくせることができ、さらにトナーリサイクルタイプの装置での紙粉混入による画像欠陥の発生を減らすことができ、安価で簡便なかつコンパクトな構成で使用者に長期間かつ高画質の画像を提供することができるといったような効果が得られる。
【図面の簡単な説明】
【図1】本発明の一実施例における電子写真複写装置に関する概略図
【図2】本発明の一実施例における電子写真複写装置に関する構成図
【符号の説明】
4 感光体ドラム
6 現像器
7 給紙カセット
8 転写紙
15 紙搬送ローラ
15a 第1ローラ
15b 第2ローラ
16 転写部
19a 第1クリーニング部材
19b 第2クリーニング部材

Claims (2)

  1. 給紙部から感光体上の画像を転写紙表面側に転写する転写部へ至る転写紙搬送経路上に配置した一対の紙搬送ローラと、この一対の紙搬送ローラそれぞれに接触するシート状の非導電性のクリーニング部材とを有し、前記一対の紙搬送ローラで転写紙表面側に当接する第1ローラの帯電極性が紙搬送時に転写紙が帯電する極性と逆極性になり、前記一対の紙搬送ローラで他方の第2ローラの帯電極性が紙搬送時に転写紙が帯電する極性と同極性になるように、前記一対の紙搬送ローラのそれぞれを非導電性の異なる材質で構成したことを特徴とする電子写真複写装置。
  2. 前記第1ローラに押し付けて当接配設するシート状の非導電性の第1クリーニング部材は前記第1ローラとの接触点を前記第1ローラの中心を通る水平線よりも前記第1ローラの回転下流側で、かつ前記一対の紙搬送ローラの接触点より上流側とし、前記第2ローラに押し付けて当接配設するシート状の非導電性の第2クリーニング部材は前記第2ローラとの接触点を前記第2ローラの中心より垂下した垂直軸線よりも前記第2ローラの回転下流側で、かつ前記第2ローラの中心を通る水平線より回転上流側としたことを特徴とする請求項1に記載の電子写真複写装置。
JP09547797A 1997-04-14 1997-04-14 電子写真複写装置 Expired - Lifetime JP3855352B2 (ja)

Priority Applications (1)

Application Number Priority Date Filing Date Title
JP09547797A JP3855352B2 (ja) 1997-04-14 1997-04-14 電子写真複写装置

Applications Claiming Priority (1)

Application Number Priority Date Filing Date Title
JP09547797A JP3855352B2 (ja) 1997-04-14 1997-04-14 電子写真複写装置

Publications (2)

Publication Number Publication Date
JPH10291670A JPH10291670A (ja) 1998-11-04
JP3855352B2 true JP3855352B2 (ja) 2006-12-06

Family

ID=14138712

Family Applications (1)

Application Number Title Priority Date Filing Date
JP09547797A Expired - Lifetime JP3855352B2 (ja) 1997-04-14 1997-04-14 電子写真複写装置

Country Status (1)

Country Link
JP (1) JP3855352B2 (ja)

Families Citing this family (2)

* Cited by examiner, † Cited by third party
Publication number Priority date Publication date Assignee Title
JP3401520B2 (ja) * 1999-08-11 2003-04-28 京セラミタ株式会社 電子写真装置に用いる転写方法
JP4726745B2 (ja) * 2006-08-29 2011-07-20 リコーエレメックス株式会社 搬送・排紙装置

Also Published As

Publication number Publication date
JPH10291670A (ja) 1998-11-04

Similar Documents

Publication Publication Date Title
US4750018A (en) Pre-transfer copy sheet cleaning apparatus
JPS62153849A (ja) 複写機
US4302093A (en) Combined transfer and registration system for electrophotographic copier
US4533235A (en) Cleaning device for use in an image forming apparatus
US4899198A (en) Dual purpose cleaning apparatus
JP3231486B2 (ja) クリーニング装置
JP2001175142A (ja) 感光体ベルトの非像形成表面から粒子を除去する装置
JP3855352B2 (ja) 電子写真複写装置
JP3576894B2 (ja) 画像形成装置におけるシート部材搬送装置
JP3839969B2 (ja) 画像形成装置
JPH07261519A (ja) 画像形成装置
JP2001142366A (ja) 画像形成装置及びそのクリーニング方法
JP2630785B2 (ja) 静電記録装置の画像形成方法
JPS6221691B2 (ja)
JPS63289574A (ja) クリ−ニング装置
JPH11265136A (ja) クリーニング装置
JP3256000B2 (ja) 画像形成装置
JPH08160779A (ja) 画像形成装置
JPS6139420Y2 (ja)
JP2002154699A (ja) 画像形成装置
JPS6263979A (ja) クリ−ニング装置
JP2002182490A (ja) 転写装置
JPH05224555A (ja) 電子写真装置
JPH05165375A (ja) 搬送ローラのクリーニング装置
JP3418117B2 (ja) 画像形成装置

Legal Events

Date Code Title Description
A621 Written request for application examination

Free format text: JAPANESE INTERMEDIATE CODE: A621

Effective date: 20040216

RD01 Notification of change of attorney

Free format text: JAPANESE INTERMEDIATE CODE: A7421

Effective date: 20040312

RD01 Notification of change of attorney

Free format text: JAPANESE INTERMEDIATE CODE: A7421

Effective date: 20050623

A977 Report on retrieval

Free format text: JAPANESE INTERMEDIATE CODE: A971007

Effective date: 20060130

A131 Notification of reasons for refusal

Free format text: JAPANESE INTERMEDIATE CODE: A131

Effective date: 20060328

A521 Written amendment

Free format text: JAPANESE INTERMEDIATE CODE: A523

Effective date: 20060523

TRDD Decision of grant or rejection written
A01 Written decision to grant a patent or to grant a registration (utility model)

Free format text: JAPANESE INTERMEDIATE CODE: A01

Effective date: 20060822

A61 First payment of annual fees (during grant procedure)

Free format text: JAPANESE INTERMEDIATE CODE: A61

Effective date: 20060904

FPAY Renewal fee payment (event date is renewal date of database)

Free format text: PAYMENT UNTIL: 20090922

Year of fee payment: 3

FPAY Renewal fee payment (event date is renewal date of database)

Free format text: PAYMENT UNTIL: 20100922

Year of fee payment: 4

FPAY Renewal fee payment (event date is renewal date of database)

Free format text: PAYMENT UNTIL: 20110922

Year of fee payment: 5

FPAY Renewal fee payment (event date is renewal date of database)

Free format text: PAYMENT UNTIL: 20120922

Year of fee payment: 6