JP3827552B2 - ガイド付きシームレスベルト - Google Patents
ガイド付きシームレスベルト Download PDFInfo
- Publication number
- JP3827552B2 JP3827552B2 JP2001326504A JP2001326504A JP3827552B2 JP 3827552 B2 JP3827552 B2 JP 3827552B2 JP 2001326504 A JP2001326504 A JP 2001326504A JP 2001326504 A JP2001326504 A JP 2001326504A JP 3827552 B2 JP3827552 B2 JP 3827552B2
- Authority
- JP
- Japan
- Prior art keywords
- guide
- seamless belt
- bonded
- adhesive layer
- peripheral surface
- Prior art date
- Legal status (The legal status is an assumption and is not a legal conclusion. Google has not performed a legal analysis and makes no representation as to the accuracy of the status listed.)
- Expired - Fee Related
Links
- 239000012790 adhesive layer Substances 0.000 claims description 24
- 230000002093 peripheral effect Effects 0.000 claims description 18
- 229920005989 resin Polymers 0.000 claims description 11
- 239000011347 resin Substances 0.000 claims description 11
- 230000003014 reinforcing effect Effects 0.000 claims description 5
- 238000004519 manufacturing process Methods 0.000 description 5
- 239000002390 adhesive tape Substances 0.000 description 4
- 230000000694 effects Effects 0.000 description 4
- 238000010008 shearing Methods 0.000 description 4
- 238000012360 testing method Methods 0.000 description 4
- 229920005992 thermoplastic resin Polymers 0.000 description 3
- 229920001187 thermosetting polymer Polymers 0.000 description 3
- 239000004962 Polyamide-imide Substances 0.000 description 2
- 239000003522 acrylic cement Substances 0.000 description 2
- 230000000052 comparative effect Effects 0.000 description 2
- 238000009499 grossing Methods 0.000 description 2
- 238000000465 moulding Methods 0.000 description 2
- 229920002312 polyamide-imide Polymers 0.000 description 2
- 239000000843 powder Substances 0.000 description 2
- 229920002803 thermoplastic polyurethane Polymers 0.000 description 2
- 238000012546 transfer Methods 0.000 description 2
- 239000004925 Acrylic resin Substances 0.000 description 1
- 229920000178 Acrylic resin Polymers 0.000 description 1
- OKTJSMMVPCPJKN-UHFFFAOYSA-N Carbon Chemical compound [C] OKTJSMMVPCPJKN-UHFFFAOYSA-N 0.000 description 1
- 229920000459 Nitrile rubber Polymers 0.000 description 1
- 239000004642 Polyimide Substances 0.000 description 1
- 239000004820 Pressure-sensitive adhesive Substances 0.000 description 1
- 230000005856 abnormality Effects 0.000 description 1
- 238000005299 abrasion Methods 0.000 description 1
- NIXOWILDQLNWCW-UHFFFAOYSA-N acrylic acid group Chemical group C(C=C)(=O)O NIXOWILDQLNWCW-UHFFFAOYSA-N 0.000 description 1
- 239000000853 adhesive Substances 0.000 description 1
- 230000001070 adhesive effect Effects 0.000 description 1
- 239000002313 adhesive film Substances 0.000 description 1
- 230000002411 adverse Effects 0.000 description 1
- 229910052782 aluminium Inorganic materials 0.000 description 1
- XAGFODPZIPBFFR-UHFFFAOYSA-N aluminium Chemical compound [Al] XAGFODPZIPBFFR-UHFFFAOYSA-N 0.000 description 1
- 239000002216 antistatic agent Substances 0.000 description 1
- 239000006229 carbon black Substances 0.000 description 1
- 239000000919 ceramic Substances 0.000 description 1
- 238000011161 development Methods 0.000 description 1
- 239000003822 epoxy resin Substances 0.000 description 1
- 238000011156 evaluation Methods 0.000 description 1
- 239000010439 graphite Substances 0.000 description 1
- 229910002804 graphite Inorganic materials 0.000 description 1
- 239000010410 layer Substances 0.000 description 1
- 239000002184 metal Substances 0.000 description 1
- 229910052751 metal Inorganic materials 0.000 description 1
- 238000000034 method Methods 0.000 description 1
- 108091008695 photoreceptors Proteins 0.000 description 1
- 229920000515 polycarbonate Polymers 0.000 description 1
- 239000004417 polycarbonate Substances 0.000 description 1
- 229920000647 polyepoxide Polymers 0.000 description 1
- 229920001721 polyimide Polymers 0.000 description 1
- 229920000642 polymer Polymers 0.000 description 1
- 230000002787 reinforcement Effects 0.000 description 1
- 239000000758 substrate Substances 0.000 description 1
- 229920002725 thermoplastic elastomer Polymers 0.000 description 1
- 229920006337 unsaturated polyester resin Polymers 0.000 description 1
Images
Landscapes
- Electrostatic Charge, Transfer And Separation In Electrography (AREA)
- Structure Of Belt Conveyors (AREA)
- Belt Conveyors (AREA)
- Electrophotography Configuration And Component (AREA)
Description
【発明の属する技術分野】
本発明は、電子写真複写機、レーザープリンタ、ファクシミリ、あるいはこれらを複合したOA機器に使用されるガイド付きシームレスベルトに関するものである。
【0002】
【従来の技術】
従来のガイド付きシームレスベルトは、図3に示すように、シームレスベルト1と、このシームレスベルト1の内周面一側部に周方向に向けて貼着されるガイド2とを備え、複数のロール10間に巻架して中間転写ベルト等として利用される。
シームレスベルト1は屈曲可能な可撓性のエンドレスに成形される。また、ガイド2は、細長い線条に形成され、両端部が隙間を介し近接対向して継目を形成しており、各ロール10の一側部にエンドレスに形成された嵌合溝11に嵌合する。
【0003】
以上のように構成されたガイド付きシームレスベルトは、複数のロール10の回転に伴い循環する。この際、ガイド2には、嵌合溝11の内外周差等によりせん断力等が否応なく作用するが、ガイド2の非端部に関しては作用と反作用の相殺により特に悪影響を受けることがない。したがって、ガイド2は、シームレスベルト1の蛇行を有効に規制する。
【0004】
【発明が解決しようとする課題】
従来のガイド付きシームレスベルトは、以上のように構成され、例えガイド2にせん断力等が作用しても、ガイド2の非端部に関しては特に大きな問題の生じることはない。
しかしながら、ガイド2の端部はなんら連続しないので、ここにせん断力が作用すると、ガイド2の端部が隅から徐々に剥がれることとなる。これをそのまま放置すると、剥離が拡大してガイド2が短期間のうちにロール10の嵌合溝11から外れたり、シームレスベルト1とロール10の間にガイド2の端部が挟まれてシームレスベルト1が破損したり、あるいは装置が停止してしまうという問題がある。
【0005】
本発明は上記に鑑みなされたもので、例えガイドの端部が剥がれても、ガイドがロール等から外れたり、シームレスベルトとロール等の間にガイドの端部が挟まれてシームレスベルトが破損等するのを有効に抑制防止することのできるガイド付きシームレスベルトを提供することを目的としている。
【0006】
【課題を解決するための手段】
本発明においては上記課題を解決するため、エンドレスに成形されて複数のロール間に巻き掛け渡される可撓性のシームレスベルトと、このシームレスベルトの少なくとも内周面一側部に接着され、ロールの一側部に形成されたエンドレスの嵌合溝に嵌め合わされる略線条のガイドとを備え、このガイドを、シームレスベルトの内周面に粘接着層を介して接着される樹脂フィルムと、この樹脂フィルムに接着されるガイド本体とから構成してシームレスベルトの周方向に向けて接着し、このガイドの両端部間を隙間を介して対向させたものであって、
ガイドの両端部間に、シームレスベルトの内周面に隙間を介して対向する可撓性の片面当て板を架設して当て板継ぎし、この片面当て板を、ガイド本体の両端部間に橋架して接着され、シームレスベルトの内周面に隙間を介して対向する粘接着層と、この粘接着層に積層して接着される補強フィルムとから構成したことを特徴としている。
【0007】
ここで、特許請求の範囲におけるガイドは、シームレスベルトの内周面一側部に接着されるものでも良いし、シームレスベルトの内周面両側部にそれぞれ接着されるものでも良い。この接着には粘着が含まれる。また、本発明に係るガイド付きシームレスベルトは、OA機器の中間転写ベルトとして主に利用されるが、感光体基体用、用紙搬送用、現像用、定着用等の用途でも良い。
【0008】
【発明の実施の形態】
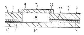
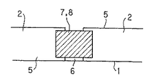
以下、図面を参照して本発明の好ましい実施形態を説明すると、本実施形態におけるガイド付きシームレスベルトは、図1、図2に示すように、シームレスベルト1の内周面一側部に、ガイド2を接着層である粘接着層3により周方向に接着してその両端部を隙間を介して突き合わせ、このガイド2の両端部間に、可撓性・柔軟性の片面当て板7を架設して当て板継ぎするようにしている。
【0009】
シームレスベルト1は、所定の熱硬化性樹脂や熱可塑性樹脂を材料とする遠心成形法により可撓性を有するエンドレスの円筒形に成形され、複数のロール10間に屈曲して巻架される。熱硬化性樹脂としては、エポキシ樹脂、アクリル樹脂、不飽和ポリエステル樹脂等があげられる。また、熱可塑性樹脂としては、ポリイミド、ポリアミドイミド、ポリカーボネート等があげられる。これら熱硬化性樹脂や熱可塑性樹脂には、カーボンブラック、グラファイト、金属粉、導電性セラミック粉、ポリマー型帯電防止剤が分散混合され、静電付着に必要な半導電性が付与された樹脂が適宜使用される。
【0010】
ガイド2は、シームレスベルト1の内周面に両面粘着テープ等からなる粘接着層3を介して接着されるPET等の樹脂フィルム4と、この樹脂フィルム4に両面粘着テープからなる粘接着層3Aを介して接着される弾性のガイド本体5とから断面略矩形の細長い帯形、線条に形成され、両端部が隙間を介し近接対向して継目6を形成しており、各ロール10の一側部にエンドレスに形成された嵌合溝11に嵌合してシームレスベルト1の蛇行を規制する。ガイド本体5は、機械的強度や耐磨耗性に優れるウレタン樹脂、NBR、熱可塑性エラストマー等を使用して硬度(JIS A)50〜80°に形成される。
【0011】
さらに、片面当て板7は、ガイド本体5の両端部間に橋架して接着される両面粘着テープからなる粘接着層3Bと、この粘接着層3Bに積層して接着される補強フィルム8とから断面略矩形の長方形に形成される。補強フィルム8としては、例えば寸法安定性、引張り強さ、機械特性、耐磨耗性等に優れるPET等が好適に使用される。
【0012】
上記構成によれば、例えロール10の回転によりせん断力が作用してガイド2の端部が剥がれても、ガイド2の端部を橋かけ構造の片面当て板7で補強してガイド2の端部が自由に揺れ動くのを規制するので、簡易な構成でガイド2がロール10の嵌合溝11から外れるおそれをきわめて有効に抑制することができる。また、片面当て板7が剥離するガイド2の両端部を接続して押さえ付けるので、シームレスベルト1とロール10との間にガイド2が挟まれ、シームレスベルト1が破損したり、装置が停止するのを有効に抑制防止することができる。また、粘接着層3によりシームレスベルト1の内周面にガイド2を接着するので、製造作業の円滑化、簡素化、迅速化、容易化が大いに期待できる。同様に、粘接着層3Bによりガイド本体5に片面当て板7を接着するので、製造作業の円滑化、簡素化、迅速化、容易化が大いに期待できる。
【0013】
なお、片面当て板7は、正方形、台形、楕円形、小判形等の形状でも良い。また、ガイド2の端部の剥離を減少させるため、ガイド2の端部の面積を広くしたり、剛性を増したり、あるいは端部を薄くしても良い。
【0014】
【実施例】
以下、本発明に係るガイド付きシームレスベルトの実施例を比較例と共に説明する。
ガイド付きシームレスベルトの作製
先ず、ポリアミドイミドを使用した遠心成形法によりシームレスベルトをL230mm、φ250mm、t0.10mmの大きさに成形し、このシームレスベルトの内周面一側部に線条のガイドをアクリル系粘着剤からなる粘接着層により周方向に接着し、L782mm、幅5mmにカットした。
ガイドについては、粘接着層により接着されるPET(t75μm)からなる樹脂フィルムと、この樹脂フィルムに両面粘着テープからなる粘接着層を介して接着されるガイド本体とから形成した。ガイド本体としては、ウレタン樹脂(t1.0mm、JIS A硬度75)を使用し、アクリル系粘着剤はt15μmとした。
【0015】
シームレスベルトの内周面にガイドを接着したら、ガイドの両端部を隙間を介して突き合わせ、このガイドの内周面両端部間に、幅4mm×長さ5mmの片面当て板を架設して当て板継ぎし、その後、この片面当て板を幅方向、長手方向共、略対称になるよう位置合わせしてガイド付きシームレスベルトを作製した。
片面当て板については、ガイド本体の両端部間に橋架して接着されるアクリル系粘着剤からなる粘接着層(t15μm)と、この粘接着層に接着されるPET(t75μm)からなる補強フィルムとから形成した。
【0016】
耐久性試験
ガイド付きシームレスベルトを作製したら、従来のガイド付きシームレスベルトと共に耐久性試験を実施し、実施例と従来の比較例の効果を検討評価した。この耐久性試験の具体的な内容としては、一対のロール間にガイド付きシームレスベルトを懸架して5kgfの荷重を加え、ガイド付きシームレスベルトを回転速度15回転/分で循環させた。各ロールはφ25mmのアルミニウム製とした。このロールの嵌合溝は、ロールの端部から15mmの個所を中心に、幅5.2mm、深さ1.1mmに形成した。
効果の検討に際しては、1万回転までは1000回転毎に、1万回転からは1万回転毎にそれぞれ状態を確認し、異常があれば、前回確認した回転数をもって評価結果とした。
【0017】
耐久性試験の結果、実施例のガイド付きシームレスベルトの場合には、60万回転でガイドの端部に微小な剥離が生じ、80万回転でガイドの端部が2cm程度まで剥離した。しかしながら、100万回転まではガイドがロールの嵌合溝から外れることがなく、シームレスベルトとロールとの間にガイドが挟まれ、シームレスベルトが破損したり、装置の停止を招くことがなかった。
これに対し、片面当て板を有しない従来のガイド付きシームレスベルトの場合、3万回転でガイドの端部に剥離が生じ、4万回転で剥離したガイドの端部がロールの嵌合溝から外れ、シームレスベルトとロールとの間にガイドが挟まれてシームレスベルトが破損した。
【0018】
【発明の効果】
以上のように本発明によれば、例えガイドの端部が剥がれても、ガイドがロール等から外れたり、シームレスベルトとロール等の間にガイドの端部が挟まれてシームレスベルトが破損等するのを有効に抑制防止することができるという効果がある。具体的には、片面当て板が剥離するガイドの両端部を接続して押さえ付けるので、シームレスベルトとロールとの間にガイドが挟まれ、シームレスベルトが破損したり、装置が停止するのを有効に抑制することができる。また、粘接着層によりシームレスベルトの内周面にガイドを接着するので、製造作業の円滑化、簡素化、迅速化、容易化を図ることができる。同様に、粘接着層によりガイド本体に片面当て板を接着するので、製造作業の円滑化、簡素化、迅速化、容易化が期待できる。
【図面の簡単な説明】
【図1】本発明に係るガイド付きシームレスベルトの実施形態を示す要部断面側面図である。
【図2】本発明に係るガイド付きシームレスベルトの実施形態を示す平面図である。
【図3】ガイド付きシームレスベルトの使用状態を示す斜視説明図である。
【符号の説明】
1 シームレスベルト
2 ガイド
3 粘接着層
3A 粘接着層
3B 粘接着層
4 樹脂フィルム
5 ガイド本体
7 片面当て板
8 補強フィルム
10 ロール
11 嵌合溝
Claims (1)
- エンドレスに成形されて複数のロール間に巻き掛け渡される可撓性のシームレスベルトと、このシームレスベルトの少なくとも内周面一側部に接着され、ロールの一側部に形成されたエンドレスの嵌合溝に嵌め合わされる略線条のガイドとを備え、このガイドを、シームレスベルトの内周面に粘接着層を介して接着される樹脂フィルムと、この樹脂フィルムに接着されるガイド本体とから構成してシームレスベルトの周方向に向けて接着し、このガイドの両端部間を隙間を介して対向させたガイド付きシームレスベルトであって、
ガイドの両端部間に、シームレスベルトの内周面に隙間を介して対向する可撓性の片面当て板を架設して当て板継ぎし、この片面当て板を、ガイド本体の両端部間に橋架して接着され、シームレスベルトの内周面に隙間を介して対向する粘接着層と、この粘接着層に積層して接着される補強フィルムとから構成したことを特徴とするガイド付きシームレスベルト。
Priority Applications (1)
| Application Number | Priority Date | Filing Date | Title |
|---|---|---|---|
| JP2001326504A JP3827552B2 (ja) | 2001-10-24 | 2001-10-24 | ガイド付きシームレスベルト |
Applications Claiming Priority (1)
| Application Number | Priority Date | Filing Date | Title |
|---|---|---|---|
| JP2001326504A JP3827552B2 (ja) | 2001-10-24 | 2001-10-24 | ガイド付きシームレスベルト |
Publications (2)
| Publication Number | Publication Date |
|---|---|
| JP2003131458A JP2003131458A (ja) | 2003-05-09 |
| JP3827552B2 true JP3827552B2 (ja) | 2006-09-27 |
Family
ID=19142872
Family Applications (1)
| Application Number | Title | Priority Date | Filing Date |
|---|---|---|---|
| JP2001326504A Expired - Fee Related JP3827552B2 (ja) | 2001-10-24 | 2001-10-24 | ガイド付きシームレスベルト |
Country Status (1)
| Country | Link |
|---|---|
| JP (1) | JP3827552B2 (ja) |
Families Citing this family (3)
| Publication number | Priority date | Publication date | Assignee | Title |
|---|---|---|---|---|
| JP5067920B2 (ja) * | 2006-05-26 | 2012-11-07 | 信越ポリマー株式会社 | ガイド部材付き無端ベルト、その製造方法及び画像形成装置 |
| JP5129030B2 (ja) * | 2007-06-11 | 2013-01-23 | 京セラドキュメントソリューションズ株式会社 | ベルト体、ベルト搬送装置および画像形成装置 |
| JP6169824B2 (ja) * | 2012-06-06 | 2017-07-26 | 新日鉄住金マテリアルズ株式会社 | 突合せ接着継手構造、構造物の補強方法、及び、補強構造を有する構造物 |
-
2001
- 2001-10-24 JP JP2001326504A patent/JP3827552B2/ja not_active Expired - Fee Related
Also Published As
| Publication number | Publication date |
|---|---|
| JP2003131458A (ja) | 2003-05-09 |
Similar Documents
| Publication | Publication Date | Title |
|---|---|---|
| JP5088567B2 (ja) | ウェブ状物巻取り用巻芯およびウェブ状物巻き取り方法 | |
| JP3827552B2 (ja) | ガイド付きシームレスベルト | |
| JP3740887B2 (ja) | 蛇行防止ガイド及びエンドレスベルト | |
| JP2008170715A (ja) | 無端ベルト及びその製造方法、ベルト保持装置、並びに、画像形成装置 | |
| JP2848224B2 (ja) | 蛇行防止ガイド | |
| JP3544192B2 (ja) | ガイド付きシームレスベルト | |
| JP3953296B2 (ja) | ガイド付きシームレスベルト | |
| JP2910304B2 (ja) | 端面処理シームレスベルト | |
| JP3768403B2 (ja) | ベルト駆動装置およびこれを用いた画像形成装置 | |
| EP2065764A1 (en) | Endless belt with meandering preventive guide | |
| JP2005010220A (ja) | 電子写真装置用無端ベルト | |
| JP2000289822A (ja) | 蛇行防止ガイド及びエンドレスベルト | |
| JP5120095B2 (ja) | 画像形成装置用ベルト、ベルト張架装置及び画像形成装置 | |
| JP3104547B2 (ja) | 蛇行防止ガイド | |
| JP2005234445A (ja) | 蛇行防止ガイド付エンドレスベルト | |
| JP2002145429A (ja) | ガイド付シームレスベルト | |
| JPH04362980A (ja) | 転写搬送ベルト | |
| JP5201772B2 (ja) | 搬送装置および画像形成装置 | |
| JP2006267807A (ja) | 蛇行防止ガイド付エンドレスベルト | |
| JP2699159B2 (ja) | ゴムローラー | |
| JP2002072768A (ja) | ガイド付きシームレスベルト | |
| JP2008122580A (ja) | エンドレスベルト、定着装置、及び画像形成装置 | |
| JP2005084182A (ja) | 蛇行防止ガイド付エンドレスベルト | |
| KR20090057260A (ko) | 사행 방지 가이드를 갖는 엔드리스 벨트 | |
| JP2009139583A (ja) | 蛇行防止ガイド付エンドレスベルト |
Legal Events
| Date | Code | Title | Description |
|---|---|---|---|
| A621 | Written request for application examination |
Free format text: JAPANESE INTERMEDIATE CODE: A621 Effective date: 20040708 |
|
| A977 | Report on retrieval |
Free format text: JAPANESE INTERMEDIATE CODE: A971007 Effective date: 20060227 |
|
| A131 | Notification of reasons for refusal |
Free format text: JAPANESE INTERMEDIATE CODE: A131 Effective date: 20060307 |
|
| A521 | Written amendment |
Free format text: JAPANESE INTERMEDIATE CODE: A523 Effective date: 20060418 |
|
| TRDD | Decision of grant or rejection written | ||
| A01 | Written decision to grant a patent or to grant a registration (utility model) |
Free format text: JAPANESE INTERMEDIATE CODE: A01 Effective date: 20060704 |
|
| A61 | First payment of annual fees (during grant procedure) |
Free format text: JAPANESE INTERMEDIATE CODE: A61 Effective date: 20060704 |
|
| R150 | Certificate of patent or registration of utility model |
Free format text: JAPANESE INTERMEDIATE CODE: R150 |
|
| FPAY | Renewal fee payment (event date is renewal date of database) |
Free format text: PAYMENT UNTIL: 20120714 Year of fee payment: 6 |
|
| S531 | Written request for registration of change of domicile |
Free format text: JAPANESE INTERMEDIATE CODE: R313531 |
|
| FPAY | Renewal fee payment (event date is renewal date of database) |
Free format text: PAYMENT UNTIL: 20120714 Year of fee payment: 6 |
|
| R350 | Written notification of registration of transfer |
Free format text: JAPANESE INTERMEDIATE CODE: R350 |
|
| FPAY | Renewal fee payment (event date is renewal date of database) |
Free format text: PAYMENT UNTIL: 20120714 Year of fee payment: 6 |
|
| FPAY | Renewal fee payment (event date is renewal date of database) |
Free format text: PAYMENT UNTIL: 20150714 Year of fee payment: 9 |
|
| LAPS | Cancellation because of no payment of annual fees |