JP3756370B2 - パージ空気流量を自動調整する膜式エアドライヤ - Google Patents

パージ空気流量を自動調整する膜式エアドライヤ Download PDF

Info

Publication number
JP3756370B2
JP3756370B2 JP2000046449A JP2000046449A JP3756370B2 JP 3756370 B2 JP3756370 B2 JP 3756370B2 JP 2000046449 A JP2000046449 A JP 2000046449A JP 2000046449 A JP2000046449 A JP 2000046449A JP 3756370 B2 JP3756370 B2 JP 3756370B2
Authority
JP
Japan
Prior art keywords
air
flow rate
air flow
hollow fiber
membrane
Prior art date
Legal status (The legal status is an assumption and is not a legal conclusion. Google has not performed a legal analysis and makes no representation as to the accuracy of the status listed.)
Expired - Fee Related
Application number
JP2000046449A
Other languages
English (en)
Other versions
JP2001232137A (ja
Inventor
須 一 文 那
Current Assignee (The listed assignees may be inaccurate. Google has not performed a legal analysis and makes no representation or warranty as to the accuracy of the list.)
SMC Corp
Original Assignee
SMC Corp
Priority date (The priority date is an assumption and is not a legal conclusion. Google has not performed a legal analysis and makes no representation as to the accuracy of the date listed.)
Filing date
Publication date
Application filed by SMC Corp filed Critical SMC Corp
Priority to JP2000046449A priority Critical patent/JP3756370B2/ja
Publication of JP2001232137A publication Critical patent/JP2001232137A/ja
Application granted granted Critical
Publication of JP3756370B2 publication Critical patent/JP3756370B2/ja
Anticipated expiration legal-status Critical
Expired - Fee Related legal-status Critical Current

Links

Images

Landscapes

  • Drying Of Gases (AREA)
  • Safety Valves (AREA)
  • Separation Using Semi-Permeable Membranes (AREA)

Description

【0001】
【発明の属する技術分野】
本発明は、中空糸膜を使用した膜式エアドライヤに関するものであり、更に具体的には、出口空気流量に応じてパージ空気流量を自動調整する機能を備えた膜式エアドライヤに関するものである。
【0002】
【従来の技術】
本体ケース内に多数の中空糸膜を束ねて収容し、これらの中空糸膜に高湿の空気を供給してその除湿を行うと共に、除湿した空気の一部を、分離した水分を排出するパージ空気として中空糸膜の間に流すようにした膜式エアドライヤでは、その除湿の原理上、乾燥空気の一部をパージ空気として大気に放出することになる。通常、このパージ空気は、本体ケースの出口側に内蔵している固定オリフィスを介して中空糸膜間に導出しているため、圧力に対応して一定であり、それを出口の空気流量に対応させて所定の露点性能が得られるようにしている。
【0003】
しかしながら、用途によっては出口の空気流量を複数段に変更したいという要求があり、その場合に、上述の固定オリフィスを持つものでは、例えば出口空気を全く流していない場合でも、圧力がかかっていれば常時ほぼ一定流量のパージ空気を排出することになる。そのため、少なくとも出口空気の流量に変動がある場合にはパージ空気の一部が無駄になる。
【0004】
これを更に具体的に説明すると、膜式エアドライヤは、性能的には、出口空気流量が少なければパージ空気流量を少なくしても所定の露点性能を得ることができ、そのため、出口空気流量が一定でなく、例えば入口空気圧力が0.7MPaで、フル稼働時における最大出口空気流量1000L/min(ANR)に対して、パージ空気流量として190L/min(ANR)が必要とされる場合に、部分稼働時における最小出口空気流量300L/min(ANR)に対しては、パージ空気量として50L/min(ANR)程度を流せばよい。そのため、出口空気流量に応じてパージ空気流量を複数段に切換えできるようにすることが望まれる。
【0005】
このような問題に対処し、出口側に設けた複数の固定オリフィス(穴)を手動の回転式コックで選択することによりパージ空気流量を可変にしたものが、特開平6−238119号公報に開示されているが、手動操作で流量を設定するものであるため、出口の空気流量を監視してその設定を行う必要があり、パージ空気の無駄をなくすことができても、操作に手数がかかるため、自動的に調整可能にすることが望まれる。
【0006】
また、このパージ空気流量を自動的に可変にしたものも、特開平9−57043号公報や特開平11−33338号公報によって提案されている。これらは、乾燥空気の流量に応じて変位する受圧板を用い、乾燥空気の流量に応じて変化する中空糸膜での圧力降下の変化を利用して、空気流量を調整可能にしたものである。しかしながら、中空糸膜での圧力降下は小さく、また中空糸膜内径のばらつきによっても圧力降下が変化するので、乾燥空気の流量変化を受圧板変位量にそのまま変換して利用すると、動作が非常に不安定になる。
【0007】
【発明が解決しようとする課題】
本発明の技術的課題は、膜式エアドライヤのパージ空気流量を、出口空気流量に応じて自動的且つ安定的に変化させるようにし、不必要にパージ空気を消費しないようにした膜式エアドライヤを提供することにある。
本発明のさらに具体的な技術的課題は、フロースイッチなどのセンサを用いることなく、異なる出口空気流量時における除湿空気の圧力降下の差異を利用し、簡単な手段でその圧力降下を増幅させたうえで、確実な作動で除湿空気流量に応じたパージ空気流量が得られるようにした膜式エアドライヤを提供することにある。
本発明の他の技術的課題は、異なる出口空気流量時おける圧力降下の違いによってオン−オフするプロセスバルブを用い、それにより、第2のパージ空気流路の流れをオン−オフ制御して、所要のパージ空気流量を得るようにした膜式エアドライヤを提供することにある。
【0008】
【課題を解決するための手段】
上記課題を解決するため、本発明の膜式エアドライヤは、本体ケース内に多数の中空糸膜を束ねて収容し、これらの中空糸膜に高圧の空気を供給してその除湿を行うと共に、上記除湿した空気の一部を、中空糸膜で分離した水分を排出するためのパージ空気として中空糸膜の低圧側に流す膜式エアドライヤにおいて、上記除湿した空気の一部を中空糸膜の低圧側に送る第1のパージ空気流路に第1のオリフィスを設けると共に、除湿した空気の一部を中空糸膜の低圧側に送る第2のパージ空気流路に、除湿した空気の流路に設けた圧力降下増幅用絞りの下流側と中空糸膜へ空気を供給する高圧側との間の差圧に基づいて動作するプロセスバルブ及び第2のオリフィスを設けたことを特徴とするものである。
【0009】
上記膜式エアドライヤにおいては、第1のオリフィスを、最少の除湿空気流量に対応する流量のパージ空気を第1のパージ空気流路に流すものとし、第2のオリフィスを、前記第1のオリフィスを通して流すパージ空気との合流により、最多の除湿空気流量に対応するパージ空気の流量が得られるものとするのが一般的であるが、諸条件に応じてパージ空気流量を増減することができる。
また、本発明に係る上記膜式エアドライヤは、本体ケースに第1及び第2のオリフィスを組込み、圧力降下増幅用絞り及びプロセスバルブを本体ケースとは別体に形成したものとし、或いは、本体ケースに、第1及び第2のオリフィス、圧力降下増幅用絞り並びにプロセスバルブを組込んだものとすることができる。
【0010】
上記構成を有する膜式エアドライヤにおいては、本体ケースの入口から供給された高湿の空気が多数の中空糸膜内を流れ、そこを流れる間に水分が膜を通して外側の低圧側に浸透分離され、その水分が中空糸膜間を流れるパージ空気によって外部に搬出される。一方、除湿された圧縮空気は本体ケースの出口から所要の流体機器に供給される。
この場合に、上記パージ空気は、本体ケースの出口の除湿空気流量に変動があったとき、その空気流量に応じて、少なくとも所定の露点性能を得ることができる流量に自動調整され、不必要にパージ空気が消費されることはない。
【0011】
即ち、上記本体ケースの出口の除湿空気は、その一部がパージ空気として、該出口から直接的に第1のパージ空気流路における第1のオリフィスを通して中空糸膜の周囲の低圧側に流れるが、この第1のオリフィスは、最少の除湿空気流量に対応する流量のパージ空気を流すように設定されたものである。そして、除湿空気流量が少ない場合には、この第1パージ空気流路を通じて送られる除湿空気のみにより、中空糸膜の低圧側水分のパージが行われる。
【0012】
一方、第2のパージ空気流路における第2のオリフィスは、それを通じてパージ空気が流れたときに、第1のオリフィスを通して常に流されるパージ空気との合流により、本体ケースの除湿空気流量が最多になった場合に対応するパージ空気流量が得られるように設定されたものであり、この第2のパージ空気流路は、本体ケースの出口に設けた除湿空気流量に応じて自動的に開閉するプロセスバルブによって通断される。
【0013】
上記プロセスバルブは、中空糸膜における圧力降下を利用して動作させるものであるが、その圧力降下は一般的に比較的小さくて不安定なものであるため、本体ケースの出口側における除湿した空気の流路に圧力降下増幅用絞りを設け、この圧力降下増幅用絞りの下流側と中空糸膜へ空気を供給する高圧側との間の差圧に基づいて、プロセスバルブを安定的に動作させる。
従って、上記プロセスバルブの確実で安定的な動作に基づき、第2のパージ空気流路における第2のオリフィスを通して、本体ケースの出口における除湿空気の流路に応じたパージ空気を中空糸膜の低圧側に送ることが可能になる。
【0014】
【発明の実施の形態】
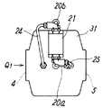
図1は、本発明に係るパージ空気流量を自動調整可能にした膜式エアドライヤの全体的な構成(回路構成)を概念的に示している。
この膜式エアドライヤは、本体ケース2内に多数の中空糸膜3(図2及び図3参照)を束ねて収容したドライヤ本体部1を備え、その中空糸膜3内に本体ケース2の圧縮空気入口4から高圧で高湿の空気(圧力P、流量Q)を供給し、多数の中空糸膜3内を流れる間に膜を通して水分を外側の低圧側に浸透分離してその除湿を行い、除湿した空気(圧力P、流量Q)をドライヤ本体部1の出口5を通して所要の流体機器に供給するように接続されるものである。
【0015】
また、上記高湿空気の除湿を行うに際し、中空糸膜3によって分離された水分を外部に排出するため、除湿された空気の一部を、出口5の除湿空気流量に応じた流量で、中空糸膜3の周囲(低圧側)にパージ空気として流すように構成している。その構成の概要は、上記出口5における除湿した空気の一部を中空糸膜3の周囲(低圧側)に送る第1のパージ空気流路10に、第1のオリフィス11を設けると共に、除湿した空気の一部を上記出口5から中空糸膜3側に送る第2のパージ空気流路20の導入部20aに、エアオペレート型のプロセスバルブ21を、更に、該バルブ21から中空糸膜3に至る第2のパージ空気流路20の連通部20bに、第2のオリフィス22を設けたものであり、上記プロセスバルブ21は、除湿した空気の流路に設けた圧力降下増幅用絞り23の下流側から連通路25を通して導入される圧力PB と、中空糸膜3へ空気を供給する入口4の高圧側から連通路24を通して導入される圧力PA との間の差圧に基づいて、動作させるようにしたものである。
【0016】
即ち、本体ケース2における入口4の空気流量がQ1 、出口空気流量がQ0 であって、その出口空気流量Q0 が最少である場合には、第1のオリフィス11を通過するパージ空気(流量Q2 )のみが中空糸膜3の水分のパージに供され、空気流量の関係は、Q1 =Q0 +Q2 (Q4 =Q2 )となる。
一方、出口空気流量Q0 が最多の場合には、プロセスバルブ21が開くため、第1のオリフィス11を通過するパージ空気(流量Q2 )及び第2のオリフィス22を通過するパージ空気(流量Q3 )が中空糸膜3の水分のパージに供され、空気流量の関係は、Q1 =Q0 +Q2 +Q3 (Q4 =Q2 +Q3 )となる。
【0017】
上記プロセスバルブ21の動作は、本体ケース2の入口4における高圧空気の圧力PA が一定であるとした場合、出口空気流量の最多及び最少の場合における圧力降下の違いがわずかであるため、前記圧力降下増幅用絞り23を設けることにより圧力降下の違いを増幅させるが、それによりプロセスバルブ21に導入される入口空気圧力PA と出口空気圧力PB の差が増幅されるので、該バルブ21のオン−オフが安定的に切換えられ、それが開位置にあるときに前記パージ空気流量Q3 が流される。
なお、図1において、符号6は圧力空気源、7は圧力降下増幅用絞り23による圧力降下を補償する圧力調整弁である。
【0018】
図2ないし図4は、上記図1の構成を、本体ケース2に上記第1及び第2のオリフィス11,22を組込み、圧力降下増幅用絞り23及びプロセスバルブ21を本体ケースとは別体に形成して本体ケース上に搭載した第1実施例の具体的構成を示し、また、図5及び図6は、本体ケース2に、第1及び第2のオリフィス11,22、圧力降下増幅用絞り23並びにプロセスバルブ21を組込んだ第2実施例の具体的構成を示している。以下にこれらの実施例の構成及び作用について説明する。
【0019】
図2ないし図4に示す第1実施例において、本体ケース2は、除湿すべき高圧空気の入口4及び除湿した空気の出口5を設けたキャップ31と、それに一体的に連結した筒状ケース32とを備え、上記入口4は、キャップ31内の中央の嵌着壁33内の空間に連通させ、上記出口5は嵌着壁33の外側の空間に連通させている。そして、上記本体ケース2内には、高分子浸透膜からなる多数本の中空糸膜3を筒状に束ねて収容し、これらの中空糸膜3の両端においては、束ねた中空糸膜3の相互間をシール部材35,36の充填によって気密に固結し、中空糸膜3の束及び上記シール部材35,36の中心部分に遮蔽円筒37を挿入すると共に、周囲にも導気円筒38を嵌着し、それらの遮蔽円筒37及び導気円筒38の両端をシール部材35,36に気密に取付けている。
【0020】
上記中空糸膜3は、遮蔽円筒37の上部シール部材35側端を上記嵌着壁33に気密に外嵌させると共に、導気円筒38をキャップ31内に気密に嵌入し、また、導気円筒38の下部シール部材36側端を筒状ケース32の内周に気密に嵌着することによって、本体ケース2内に固定したもので、筒状ケース32の下端は、シール部材36との間に空間39を介在させて、端蓋40により閉鎖している。
従って、キャップ31の空気入口4を通して供給される多湿の空気は、上記遮蔽円筒37内を通して中空糸膜3の他端の空間39に導びかれ、そこから中空糸膜3内を通して嵌着壁33の周囲に至り、その間に水分を浸透分離させて除湿され、出口5から所要の流体機器に送られる。
【0021】
一方、上記キャップ31には、導気円筒38の外側に開口するパージ空気の流通路45を設けている。また、上記導気円筒38と筒状ケース32との間の中間部分には、両者間の空間を遮断するシール部材46を介装すると共に、導気円筒38における該シール部材46の流通路45側とその反対側に、それぞれ複数の通気孔38a,38bを開設し、更に、筒状ケース32の下部にも外部に通じる通気孔32aを開設している。
従って、キャップ31の流通路45から筒状ケース32と導気円筒38との間に流入したパージ空気は、導気円筒38の通気孔38aから、該導気円筒38と遮蔽円筒37との間における中空糸膜3間に流入し、浸透分離された水分を保持して導気円筒38の通気孔38bから筒状ケース32内に流入し、該筒状ケース32の通気孔32aから外部に排出される。
【0022】
本体ケース2の一部を構成する上記キャップ31には、第1のオリフィス11及び第2のオリフィス22を組み込んだオリフィス組立体47を装着している。上記第1のオリフィス11は、嵌着壁33の外側の空間から流通路45を経て中空糸膜3の周囲に至る第1のパージ空気流路10に配設され、上記第2のオリフィス22は、プロセスバルブ21の出力口から流通路45に至るパージ空気通路20の連通部20bに配設されるものである。また、嵌着壁33の外側の空間を出口5に連通させる流路に圧力降下増幅用絞り23を設けている。
【0023】
プロセスバルブ21は、そのバルブボディ内にバネ51で閉弁方向に付勢されたピストン52と軸により一体化されている弁体50を備え、ピストン52におけるバネ51を収容した側の圧力室に連通路25を通して出口5側の除湿空気圧力PB を、ピストン52の反対側の圧力室に連通路24を通して入口4側の空気圧力PA を導入するように配管している。また、弁体50によって開閉される弁座54を備えた弁室の入力口にはパージ空気流路20の導入部20aを、同出力口には前記オリフィス組立体47に通じるパージ空気流路20の連通部20bを連結している。
【0024】
従って、上記プロセスバルブ21は、圧力降下増幅用絞り23の下流側から連通路25を通して導入される圧力P とバネ51の付勢力が、入口4側から連通路24を通して導入される圧力P による付勢力よりも小さくなったときに開弁し、第2のオリフィス22を通してパージ空気が流通路45に導入される。
具体的には、出口空気流量が最少の場合、中空糸膜3及び圧力降下増幅用絞り23による圧力降下が小さくなり、圧力P が大きな値になるので、その圧力とバネ51の付勢力で弁体50が閉じ、逆に、出口空気流量が最多の場合には、上記圧力降下が大きくなるために圧力P は小さな値になり、圧力P による付勢力で弁体50が開くことになる。
【0025】
このようにして、本体ケース2の出口5側の除湿空気の一部で、該出口5における最少の除湿空気流量に対応する流量のパージ空気が第1のオリフィス11を通して中空糸膜3の周囲の低圧側に流れ、そして上記除湿空気流量が少ない場合には、この第1パージ空気流路10を通じて送られる除湿空気のみにより、中空糸膜の低圧側水分のパージが行われる。
一方、第2のオリフィス22は、プロセスバルブ21を通じてパージ空気が流れたときに、第1のオリフィス11を通して常に流される上記パージ空気との合流により、除湿空気流量が最多になった場合に対応するパージ空気流量を流すものであり、この第2のオリフィス22を通じて流れるパージ空気は、上記プロセスバルブ21により本体ケースの出口5の除湿空気流量によって自動的に制御される。
【0026】
上記第1実施例では、プロセスバルブ21を本体ケース2のキャップ31上に搭載し、プロセスバルブ21と本体ケース2との間を必要な配管によって接続しているが、図5及び図6に示す第2実施例では、本体ケース2内に、第1及び第2のオリフィス11,22、圧力降下増幅用絞り23並びにプロセスバルブ21を組込んでいる。従って、プロセスバルブ21と各部とを配管によって接続する必要はなく、本体ケース2内にその配管に対応する通孔を穿設し、また、その通行を設ける関係で第2のオリフィス22をプロセスバルブ21の出力口に設けているが、その他の構成及び作用は、上記第1実施例の場合と実質的に変わるところがない。
従って、図中の第1実施例と同一または相当部分に同一の符号を付して、その詳細な説明は省略する。
【0027】
【発明の効果】
以上に詳述した本発明の膜式エアドライヤによれば、パージ空気流量を、出口空気流量に応じて自動的且つ安定的に変化させるようにし、不必要なパージ空気の消費を抑制することができ、特に、フロースイッチなどのセンサを用いることなく、異なる出口空気流量時における除湿空気の圧力降下の差異を利用し、簡単な手段でその圧力降下を増幅させて、確実な作動で除湿空気流量に応じたパージ空気流量を得ることができる。
【図面の簡単な説明】
【図1】図1は、本発明に係るパージ空気流量を自動調整可能にした膜式エアドライヤの全体的な構成(回路構成)を概念的に示している。
【図2】図1の構成を具体化した第1実施例の断面図である。
【図3】図2におけるA−A位置での部分拡大断面図である。
【図4】第1実施例の平面図である。
【図5】図1の構成を具体化した第2実施例の断面図である。
【図6】図5におけるB−B位置での部分拡大断面図である。
【符号の説明】
2 本体ケース
3 中空糸膜
10 第1のパージ空気流路
11 第1のオリフィス
20 第2のパージ空気流路
23 圧力降下増幅用絞り
21 プロセスバルブ
22 第2のオリフィス

Claims (4)

  1. 本体ケース内に多数の中空糸膜を束ねて収容し、これらの中空糸膜に高圧の空気を供給してその除湿を行うと共に、除湿した空気の一部を、中空糸膜で分離した水分を排出するためのパージ空気として中空糸膜の低圧側に流す膜式エアドライヤにおいて、
    上記除湿した空気の一部を中空糸膜の低圧側に送る第1のパージ空気流路に第1のオリフィスを設けると共に、
    上記除湿した空気の一部を中空糸膜の低圧側に送る第2のパージ空気流路に、除湿した空気の流路に設けた圧力降下増幅用絞りの下流側と中空糸膜へ空気を供給する高圧側との間の差圧に基づいて動作するプロセスバルブ及び第2のオリフィスを設けた、
    ことを特徴とするパージ空気流量を自動調整する膜式エアドライヤ。
  2. 第1のオリフィスを、最少の除湿空気流量に対応する流量のパージ空気を第1のパージ空気流路に流すものとし、
    第2のオリフィスを、前記第1のオリフィスを通して流すパージ空気との合流により、最多の除湿空気流量に対応するパージ空気の流量が得られるものとした、
    ことを特徴とする請求項1に記載のパージ空気流量を自動調整する膜式エアドライヤ。
  3. 本体ケースに第1及び第2のオリフィスを組込み、圧力降下増幅用絞り及びプロセスバルブを本体ケースとは別体に形成した、
    ことを特徴とする請求項1または2に記載のパージ空気流量を自動調整する膜式エアドライヤ。
  4. 本体ケースに、第1及び第2のオリフィス、圧力降下増幅用絞り並びにプロセスバルブを組込んだ、
    ことを特徴とする請求項1または2に記載のパージ空気流量を自動調整する膜式エアドライヤ。
JP2000046449A 2000-02-23 2000-02-23 パージ空気流量を自動調整する膜式エアドライヤ Expired - Fee Related JP3756370B2 (ja)

Priority Applications (1)

Application Number Priority Date Filing Date Title
JP2000046449A JP3756370B2 (ja) 2000-02-23 2000-02-23 パージ空気流量を自動調整する膜式エアドライヤ

Applications Claiming Priority (1)

Application Number Priority Date Filing Date Title
JP2000046449A JP3756370B2 (ja) 2000-02-23 2000-02-23 パージ空気流量を自動調整する膜式エアドライヤ

Publications (2)

Publication Number Publication Date
JP2001232137A JP2001232137A (ja) 2001-08-28
JP3756370B2 true JP3756370B2 (ja) 2006-03-15

Family

ID=18568853

Family Applications (1)

Application Number Title Priority Date Filing Date
JP2000046449A Expired - Fee Related JP3756370B2 (ja) 2000-02-23 2000-02-23 パージ空気流量を自動調整する膜式エアドライヤ

Country Status (1)

Country Link
JP (1) JP3756370B2 (ja)

Families Citing this family (8)

* Cited by examiner, † Cited by third party
Publication number Priority date Publication date Assignee Title
US6830730B2 (en) * 2001-09-11 2004-12-14 Spectrolanalytical Instruments Method and apparatus for the on-stream analysis of total sulfur and/or nitrogen in petroleum products
US7153341B2 (en) * 2003-04-04 2006-12-26 Parker-Hannifin Corporation Processes for controlling regenerative sweep air for membrane systems
CN101346173A (zh) * 2005-12-27 2009-01-14 国际壳牌研究有限公司 气体分离方法和装置
KR100733084B1 (ko) 2006-11-24 2007-06-28 주식회사 지에프지 멤브레인 드라이어의 재생공기 조절기
KR101328447B1 (ko) * 2012-06-21 2013-11-14 한국에너지기술연구원 중공사막 모듈을 이용한 제습덕트
KR101389371B1 (ko) * 2012-08-23 2014-04-28 한국에너지기술연구원 제습 및 가습을 이용한 냉각덕트
DE102015104154B4 (de) * 2015-03-19 2022-11-24 Beko Technologies Gmbh Drucktaupunktgesteuerte Spülluftregeleinheit
CN116966729A (zh) * 2023-09-07 2023-10-31 上海利氪科技有限公司 一种空气干燥器壳体及成型方法

Also Published As

Publication number Publication date
JP2001232137A (ja) 2001-08-28

Similar Documents

Publication Publication Date Title
CN106163638B (zh) 具有扫气调节器的壳体头
JP3756370B2 (ja) パージ空気流量を自動調整する膜式エアドライヤ
US20090151557A1 (en) Dehumidification system and dehumidification method in booster piping
CA2554514A1 (en) A fluid operated position regulator
US6540817B1 (en) Hollow fiber membrane dehumidification device
JP5707608B2 (ja) 空気圧駆動機器用調湿エアシステム
US20030047077A1 (en) Hollow fiber membrane system assembly with an internal reflux system
US10449496B2 (en) Pressure dew point-controlled purge air regulating unit
KR100632792B1 (ko) 중공사 막식 에어 드라이어
US4657224A (en) Pneumatically actuated valve
JP2010517748A (ja) 気体膜分離装置の一体型掃気制御装置
US7153341B2 (en) Processes for controlling regenerative sweep air for membrane systems
US5375620A (en) Self-adjusting flow metering device
JPH09168716A (ja) 除湿装置
JP2001219026A (ja) 除湿装置
JPH11226345A (ja) 除湿装置
CN110546390B (zh) 电气动的控制仪器和装备有此的过程控制装置
JP2008057947A (ja) 気体加湿装置
JPH11309331A (ja) 中空糸膜式ドライヤ
JPH08155245A (ja) 空気乾燥装置
JP2502135Y2 (ja) 空気圧システム
JPS62273034A (ja) オリフイス調整弁付きヒ−トレスエアドライヤ
JPH0929050A (ja) 除湿装置
JP2971874B1 (ja) 圧力調整器
JP2024158575A (ja) 除湿装置

Legal Events

Date Code Title Description
A131 Notification of reasons for refusal

Free format text: JAPANESE INTERMEDIATE CODE: A131

Effective date: 20050913

A521 Written amendment

Free format text: JAPANESE INTERMEDIATE CODE: A523

Effective date: 20051111

TRDD Decision of grant or rejection written
A01 Written decision to grant a patent or to grant a registration (utility model)

Free format text: JAPANESE INTERMEDIATE CODE: A01

Effective date: 20051213

A61 First payment of annual fees (during grant procedure)

Free format text: JAPANESE INTERMEDIATE CODE: A61

Effective date: 20051221

R150 Certificate of patent or registration of utility model

Free format text: JAPANESE INTERMEDIATE CODE: R150

Ref document number: 3756370

Country of ref document: JP

Free format text: JAPANESE INTERMEDIATE CODE: R150

FPAY Renewal fee payment (event date is renewal date of database)

Free format text: PAYMENT UNTIL: 20100106

Year of fee payment: 4

R250 Receipt of annual fees

Free format text: JAPANESE INTERMEDIATE CODE: R250

FPAY Renewal fee payment (event date is renewal date of database)

Free format text: PAYMENT UNTIL: 20110106

Year of fee payment: 5

R250 Receipt of annual fees

Free format text: JAPANESE INTERMEDIATE CODE: R250

FPAY Renewal fee payment (event date is renewal date of database)

Free format text: PAYMENT UNTIL: 20120106

Year of fee payment: 6

R250 Receipt of annual fees

Free format text: JAPANESE INTERMEDIATE CODE: R250

FPAY Renewal fee payment (event date is renewal date of database)

Free format text: PAYMENT UNTIL: 20130106

Year of fee payment: 7

R250 Receipt of annual fees

Free format text: JAPANESE INTERMEDIATE CODE: R250

FPAY Renewal fee payment (event date is renewal date of database)

Free format text: PAYMENT UNTIL: 20140106

Year of fee payment: 8

R250 Receipt of annual fees

Free format text: JAPANESE INTERMEDIATE CODE: R250

R250 Receipt of annual fees

Free format text: JAPANESE INTERMEDIATE CODE: R250

R250 Receipt of annual fees

Free format text: JAPANESE INTERMEDIATE CODE: R250

R250 Receipt of annual fees

Free format text: JAPANESE INTERMEDIATE CODE: R250

R250 Receipt of annual fees

Free format text: JAPANESE INTERMEDIATE CODE: R250

R250 Receipt of annual fees

Free format text: JAPANESE INTERMEDIATE CODE: R250

R250 Receipt of annual fees

Free format text: JAPANESE INTERMEDIATE CODE: R250

LAPS Cancellation because of no payment of annual fees