JP3696367B2 - バーナ装置 - Google Patents
バーナ装置 Download PDFInfo
- Publication number
- JP3696367B2 JP3696367B2 JP09560797A JP9560797A JP3696367B2 JP 3696367 B2 JP3696367 B2 JP 3696367B2 JP 09560797 A JP09560797 A JP 09560797A JP 9560797 A JP9560797 A JP 9560797A JP 3696367 B2 JP3696367 B2 JP 3696367B2
- Authority
- JP
- Japan
- Prior art keywords
- burner
- dark
- light
- flame
- unit
- Prior art date
- Legal status (The legal status is an assumption and is not a legal conclusion. Google has not performed a legal analysis and makes no representation as to the accuracy of the status listed.)
- Expired - Lifetime
Links
- 239000007789 gas Substances 0.000 claims description 94
- 239000002737 fuel gas Substances 0.000 claims description 6
- MWUXSHHQAYIFBG-UHFFFAOYSA-N Nitric oxide Chemical compound O=[N] MWUXSHHQAYIFBG-UHFFFAOYSA-N 0.000 description 30
- 238000002485 combustion reaction Methods 0.000 description 25
- 238000010586 diagram Methods 0.000 description 14
- 230000003247 decreasing effect Effects 0.000 description 3
- 238000003916 acid precipitation Methods 0.000 description 1
- 238000009833 condensation Methods 0.000 description 1
- 230000005494 condensation Effects 0.000 description 1
- 230000000694 effects Effects 0.000 description 1
- 230000007613 environmental effect Effects 0.000 description 1
- 239000000446 fuel Substances 0.000 description 1
- 238000000034 method Methods 0.000 description 1
- XLYOFNOQVPJJNP-UHFFFAOYSA-N water Substances O XLYOFNOQVPJJNP-UHFFFAOYSA-N 0.000 description 1
Images
Landscapes
- Gas Burners (AREA)
Description
【発明の属する技術分野】
本発明は、燃料ガスと一次空気とを混合させて噴出するバーナ装置に係り、特に、ガス濃度が高い濃炎バーナとガス濃度が低い淡炎バーナとを交互に配置した濃淡バーナユニット間の火移りを容易にした構成を有するバーナ装置に関する。
【0002】
【従来の技術】
給湯器や風呂釜装置等の燃焼装置の燃焼運転を行うバーナ装置は、例えば、図7に示される通り、複数のブンゼンタイプのバーナ34を配列した構成が一般的である。このバーナ34は、図示しない燃焼ファンから供給される空気とガスノズル35から供給される燃料ガスとをガス取り込み口36にて所定の比率(例えば空気比0. 3〜0. 4)に混合し、その予め空気と混合したガスを混合ガス供給管37を経由してバーナ口に噴出させ、燃焼させる構成をとる。
【0003】
ところが、かかるブンゼンタイプのバーナ装置は、一般に燃焼温度が約1700℃と高く、窒素酸化物(NOx)を多く発生するという問題がある。窒素酸化物は、酸性雨の発生を招くなどの環境問題上好ましくなく、窒素酸化物濃度をできるだけ低くし、且つ燃焼能力を大きくすることができるバーナ装置が望まれる。
【0004】
かかるバーナ装置として、図8に示される通り、理論空気量よりも空気比が低い(ガス濃度が高い)混合ガスを噴出する濃炎バーナ6と、理論空気量よりも空気比が高い(ガス濃度が低い)混合ガスを噴出する淡炎バーナ5とを交互に配置した濃淡バーナ装置7が提案されている。この濃淡バーナでは、濃炎バーナは空気が不足していているので淡炎バーナ側が噴出する空気の一部を用いて燃焼し、淡炎バーナは温度が低いので濃炎バーナ側の燃焼による熱の一部を用いて燃焼する。
【0005】
このような濃淡バーナ装置では、濃炎バーナからは燃焼温度が高いため窒素酸化物が発生するが、淡炎バーナからは燃焼温度が低いので窒素酸化物がほとんど発生しない。したがって、濃炎バーナと淡炎バーナを同数配置し、全体としてブンゼンタイプの燃焼装置の燃焼と同じ熱量を得るようにすると、全体として窒素酸化物の発生量をほぼ半分にすることができる。更に、淡炎バーナ側のガス量を多めにし、濃炎バーナ側のガス量を少なめにすることにより、全体では同じ熱量であっても、全体として窒素酸化物の発生量を半分より少なくすることができる。
【0006】
一般的に、淡炎バーナ5は燃焼に必要な熱を隣接する濃炎バーナ6から供給されなければならないので、その両側に濃炎バーナ6が配置される。したがって、この濃淡バーナ装置7は、濃炎バーナ6と淡炎バーナ5とを交互に配置し、その両端には濃炎バーナ6が配置される構成を持つ。
【0007】
図9は、上記の濃淡バーナ装置を利用した、能力切り替えが可能なバーナ装置の概略的構成を示す図である。このバーナ装置は、バーナユニットを段階的に切り換えることで、ガス比例弁だけでは制御できない範囲の燃焼能力を実現するものである。即ち、バーナ装置7が3つのバーナユニット3A,3B,3Cに分割され、それぞれのバーナユニット3A,3B,3Cにガス供給通路8a,8b,8cとガス電磁弁2a,2b,2cが設けられる。それぞれのバーナユニットは、濃炎バーナ6と淡炎バーナ5が交互に配置され、バーナユニット3A,3B,3Cの境界部分でも両バーナ5,6が交互に配置される。ガス供給通路8a,8b,8cは、ガス比例弁9とガス元弁10に接続される。
【0008】
そして、濃淡バーナユニット3Aが燃焼する第一の燃焼能力と、濃淡バーナユニット3Aと3Bとが燃焼する第二の燃焼能力と、濃淡バーナユニット3A、3B及び3Cとが燃焼する第三の燃焼能力とを可能にする。それぞれの燃焼状態では、常に両端のバーナが濃炎バーナになるように構成される。
【0009】
【発明が解決しようとする課題】
しかしながら、上記の能力切り替え可能なバーナ装置では、3つのバーナユニットを有するにもかかわらず、3種類の能力しか実現できない。逆に言えば、3段階の能力切り替えを実現するには、バーナの構成が複雑過ぎる。
【0010】
そこで、本発明者らは、両端に濃炎バーナを配置した濃淡バーナユニットを複数ユニット配置することで、より構成が簡単なバーナ装置を提案した。例えば、特願平8-48354 号などである。
【0011】
しかしながら、かかる構成にすると、濃淡バーナユニットの境界部分では、濃炎バーナが隣接する配置となる。上記した通り、濃炎バーナのガス量をできるだけ少なくして窒素酸化物の量を極力抑える構成とすると、隣接する濃淡バーナユニット間での火移りを容易に行なうことができないという新たな問題を招くことになった。
【0012】
そこで、本発明の目的は、簡単な構成で能力切り替えが可能であり、火移りを容易に行うことができるバーナ装置を提供することにある。
【0013】
【課題を解決するための手段】
上記の目的を達成するために、本発明は、第一のガス濃度を有する混合ガスを噴出する濃炎バーナと、該第一のガス濃度より低い第二のガス濃度を有する混合ガスを噴出する淡炎バーナとを交互に配置した濃淡バーナユニットを有するバーナ装置において、
少なくとも一端が前記濃炎バーナからなる第一の濃淡バーナユニットと、
前記第一の濃淡バーナユニットに隣接して設けられ、少なくとも一端が前記濃炎バーナからなり、当該一端の濃淡バーナが前記第一の濃淡バーナユニットの一端の濃淡バーナと隣接する様に配置された第二の濃淡バーナユニットとを有し、
前記第一の濃淡バーナユニットの一端の濃炎バーナまたは前記第二の濃淡バーナユニットの一端の濃炎バーナのうち少なくとも一方が、それぞれの濃淡バーナユニット内の他の濃炎バーナに比較して、大きいサイズの炎で燃焼する構成を有することを特徴とする。
【0014】
濃淡バーナユニットの境界に配置される濃炎バーナに対しては、その炎のサイズが同じ濃淡バーナユニット内の他の濃炎バーナよりも大きくなる構成にする。
かかる構成にすることで、一方の濃淡バーナユニットが燃焼している時、境界に配置される濃炎バーナの炎のサイズが大きいので、他方の濃淡バーナユニットに着火するとき容易に火移りを起こさせることができる。その結果、一方の濃淡バーナユニット側にのみイグナイタなどの着火手段を設けるだけでよい。
【0015】
炎のサイズを大きくするためには、境界部の濃炎バーナへのガス濃度を高くする、ガス量を多くする、空気比を少なくするなどの方法が適用される。一般的には、境界部の濃炎バーナに対応する燃料ガスのノズル径を大きくすることで一次空気率を下げることが好ましい。
【0016】
【発明の実施の形態】
以下、本発明の実施の形態の例を図面に従って説明する。しかしながら、本発明の技術的範囲はその実施の形態に限定されるものではない。
【0017】
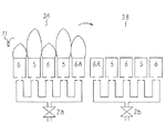
図1は、本発明の実施の形態例の濃淡バーナ装置の概略図である。この例では、濃炎バーナ6と淡炎バーナ5とを交互に配置したサイズが異なる濃淡バーナユニット3Aと3Bが併設される。それぞれの濃淡バーナユニットには、その両端に濃炎バーナ6,6Aが配置され、それぞれ単独で燃焼することができる。尚、濃炎バーナ6Aの間は、空気層12が形成されるようにバーナの間隔が他の間隔よりも大きくされている。そうすることにより、濃炎バーナ6Aは、両側から空気を供給されることになる。
【0018】
それぞれの濃淡バーナユニット3A,3Bにはガス電磁弁2a,2bからガス燃料が供給され、ガス電磁弁2a,2bの切り換えにより、濃淡バーナユニット3Aのみが燃焼する場合、濃淡バーナユニット3Bだけが燃焼する場合、そして両濃淡バーナユニット3A,3Bが同時に燃焼する場合の3段階の燃焼能力切り換えを可能にする。従って、濃淡バーナユニット3Bのほうがユニット3Aよりも大きい構成である。図中、9はガス比例弁、10はガス元弁である。
【0019】
着火用のイグナイタ11が、濃淡バーナユニット3A側に配置され、上記の燃焼能力の切り換えは、例えば、イグナイタ11により濃淡バーナユニット3Aを着火させ、その燃焼による火を濃淡バーナユニット3Bに移した後に濃淡バーナユニット3Aの燃焼を停止し、更に、濃淡バーナユニット3Bの燃焼による火を濃淡バーナユニット3Aに移して両バーナユニット3A,3Bの同時燃焼にすることで行われる。従って、両バーナユニット間での火移りを容易にしておくことが必要である。
【0020】
図1に示したバーナ装置7では、それぞれの濃淡バーナユニット3A,3Bの境界に配置された濃炎バーナ6Aの構成を、他の濃炎バーナ6に比較してより大きい炎で燃焼するようにしている。既に説明した通り、発生する窒素酸化物の量を抑える為に、燃焼温度が高い濃炎バーナでのガス量をできるだけ少なくし、その分燃焼温度が低い淡炎バーナでのガス量を多くして、全体で熱量を確保している。その結果、濃炎バーナの炎のサイズが小さくなる傾向にある。
【0021】
一方、図1のバーナ装置7では、濃淡バーナユニット3A、3Bの両端に濃炎バーナを配置することで、それぞれのバーナユニットの単独燃焼を可能にしている。その結果、燃焼能力切り換えのためには、バーナユニット間で火移りをさせることが必要になる。ところが、炎のサイズが小さい濃炎バーナ6Aどうしでは、火移りが容易に行われなくなる。更に、上記した通り濃炎バーナ6Aの間は、他のバーナ間よりも広い間隔に構成され、空気層12が形成される。この空気層12の存在も、バーナユニット間での火移りを困難にしている。
【0022】
そこで、本実施の形態例では、バーナユニット3A,3Bの境界に配置される濃炎バーナ6Aの炎のサイズを、他の濃炎バーナ6よりも大きくする構成をとる。
【0023】
図2は、炎の長さと一次空気率及びガス量の関係を示す図である。この図は、縦軸に炎の長さ、横軸に一次空気率をとり、ガス量毎の一次空気率と炎の長さの関係を示す。この図に示される通り、炎の長さは、理論空気率(1. 0)のときに最も小さくなり、一次空気率を上げるか或いは下げると大きくなる傾向にある。一般に、濃炎バーナではガス濃度が高く、一次空気率は理論空気率よりも低いところに設定される。また、淡炎バーナでは、ガス濃度が低く、一次空気率は理論空気率よりも高いところに設定されている。しかも、淡炎バーナでは、ガス量が濃炎バーナよりも多く設定されているので、発生する炎のサイズは濃炎バーナのそれよりも大きくなる。図示される通り、同じ一次空気率であってものガス量が多くなると炎のサイズは大きくなる。
【0024】
上記の関係から、炎のサイズを大きくするためには、ガス濃度を上げる、ガス量を増やす、一次空気率を下げるなどの手段が必要であることが理解される。従って、図1に示された濃淡バーナ装置7の各バーナは、淡炎バーナ5は、ガス量は多いが一次空気率が高く設定され、濃炎バーナ6は、それよりガス量が少なく一次空気量が低く設定される。そして、境界部分にある濃炎バーナ6Aは、他の濃炎バーナ6に比較して、ガス濃度を上げる、ガス量を増やす、一次空気率を下げるなどの構成を持つ。
【0025】
図3は、上記構成を概念的に示す濃淡バーナ装置の図である。便宜上、両バーナユニットのサイズが同じに表されているが、実際には、図1の如く異なる大きさで構成される。この例では、淡炎バーナ5は、ガス取り込み口36Tは比較的大きなサイズを有し、それに対応するガスのノズル径35Tも比較的大きなサイズを有する。そして、両者のサイズは、一次空気率が高くなるように設定される。従って、淡炎バーナ5では、ガス量が多く且つ一次空気率が高くなるような構成になる。
【0026】
更に、濃炎バーナ6は、ガス取り込み口36Tは比較的小さなサイズを有し、それに対応するガスのノズル径35Nも比較的小さなサイズを有する。そして、両者のサイズは、一次空気率が低くなるように設定される。その結果、バーナユニットの境界部分以外の濃炎バーナ6は、ガス量が少なく且つ一次空気率が低くなるような構成になる。
【0027】
そして、バーナユニットの境界部分にある濃炎バーナ6Aは、他の濃炎バーナ6に比較して、ガスのノズル径35NAが大きくなるように構成される。そうすることで、境界部分での濃炎バーナ6Aは、他の濃炎バーナ6に比較して、ガス量が多く、ガス濃度が高く、一次空気率が低くなるような構成になる。従って、境界部分での濃炎バーナ6Aの炎のサイズは、他の濃炎バーナ6よりも大きくなる。また、淡炎バーナ5は、ガス量が多く濃炎バーナ6,6Aよりも大きい炎のサイズを有する。
【0028】
図4は、境界部の濃炎バーナ6Aとそれ以外の濃炎バーナ6の関係を示す図である。図4(a)は、濃炎バーナ6の構成を示す。ガス取り込み口36Nに対向して設けられるガス供給部38のノズル35Nの径またはサイズは、比較的小さく設定される。それに対して、境界部での濃炎バーナ6Aは、図4(b)に示される通り、ガス取り込み口36Nは、境界部以外の濃炎バーナ6と同じであるが、それに対応して設けられるガス供給部38のノズル35NAの径またはサイズは、上記ノズル35Nよりも大きく形成される。
【0029】
図5は、両バーナユニット間の火移りを示す図である。この例では、イグナイタ11によりバーナユニット3A側が着火されて燃焼をしている状態を示す。上記した通り、境界部に配置された濃炎バーナ6Aは、その炎のサイズが大きくなるように構成され、隣接するバーナユニット3B側の炎は揺らいでいることが理解される。このような炎の大きな揺らぎが、隣接するバーナユニット3Bのガス電磁弁2bを開いた時の図中の矢印の如き火移りを容易にする。
【0030】
図6は、火移りを容易にすることができる別の構成例を示す図である。この例では、バーナユニット3A,3Bの境界部に、火移りを容易にするための火移り板20を設ける。かかる火移り板20を設けることにより、境界部の濃炎バーナ6Aの炎が隣のバーナユニットの濃炎バーナ6A側に誘導される。従って、隣の濃炎バーナ6Aの着火が容易に行われる。
【0031】
本実施の形態例においては、更に、バーナ装置7の両端に配置される濃炎バーナ6に対して、ガス量を少なくする構成がとられても良い。バーナ装置7の両端には、それぞれのバーナユニット3A,3Bの両端の濃炎バーナ6が配置されるが、その燃焼温度が高いので、バーナ装置を収納する熱交換器の内壁に損傷を与えることが予想される。従って、その損傷を防止する意味で、バーナ装置7の両端の濃炎バーナ6のガス量を少なくすることが有効である。その場合でも、境界部の濃炎バーナ6Aのガス量を多くすることで、上記した火移りの容易性は確保される。
【0032】
【発明の効果】
以上説明した通り、本発明によれば、単独で燃焼可能な濃淡バーナユニットを複数隣接させたバーナ装置において、境界部の濃炎バーナの炎のサイズを他の濃炎バーナよりも大きくなるように構成したので、濃淡バーナユニット間での火移りを容易に行わせることができる。
【図面の簡単な説明】
【図1】本発明の実施の形態例の濃淡バーナ装置の概略図である。
【図2】炎の長さと一次空気率及びガス量の関係を示す図である。
【図3】本発明の実施の形態例の濃淡バーナ装置の図である。
【図4】境界部の濃炎バーナとそれ以外の濃炎バーナの関係を示す図である。
【図5】両バーナユニット間の火移りを示す図である。
【図6】火移りを容易にすることができる別の構成例を示す図である。
【図7】ブンゼンタイプのバーナ装置の構成を示す図である。
【図8】濃淡バーナ装置の構成を示す図である。
【図9】濃淡バーナ装置を利用した、能力切り替えが可能なバーナ装置の概略的構成を示す図である。
【符号の説明】
3A、3B 濃淡バーナユニット
5 淡炎バーナ
6、6A 濃炎バーナ
35T 淡炎バーナのガスノズル
35N,35NA 濃炎バーナのガスノズル
Claims (9)
- 第一のガス濃度を有する混合ガスを噴出する濃炎バーナと、該第一のガス濃度より低い第二のガス濃度を有する混合ガスを噴出する淡炎バーナとを交互に配置した濃淡バーナユニットを有するバーナ装置において、
少なくとも一端が前記濃炎バーナからなる第一の濃淡バーナユニットと、
前記第一の濃淡バーナユニットに隣接して設けられ、少なくとも一端が前記濃炎バーナからなり、当該一端の濃淡バーナが前記第一の濃淡バーナユニットの一端の濃淡バーナと隣接する様に配置された第二の濃淡バーナユニットとを有し、
前記第一の濃淡バーナユニットの一端の濃炎バーナまたは前記第二の濃淡バーナユニットの一端の濃炎バーナのうち少なくとも一方が、それぞれの濃淡バーナユニット内の他の濃炎バーナに比較して、大きいサイズの炎で燃焼する構成を有することを特徴とするバーナ装置。 - 第一のガス濃度を有する混合ガスを噴出する濃炎バーナと、該第一のガス濃度より低い第二のガス濃度を有する混合ガスを噴出する淡炎バーナとを交互に配置した濃淡バーナユニットを有するバーナ装置において、
少なくとも一端が前記濃炎バーナからなる第一の濃淡バーナユニットと、
前記第一の濃淡バーナユニットに隣接して設けられ、少なくとも一端が前記濃炎バーナからなり、当該一端の濃淡バーナが前記第一の濃淡バーナユニットの一端の濃淡バーナと隣接する様に配置された第二の濃淡バーナユニットとを有し、
前記第一の濃淡バーナユニットの一端の濃炎バーナまたは前記第二の濃淡バーナユニットの一端の濃炎バーナのうち少なくとも一方が、それぞれの濃淡バーナユニット内の他の濃炎バーナに比較して、ガス濃度が高い構成を有することを特徴とするバーナ装置。 - 第一のガス濃度を有する混合ガスを噴出する濃炎バーナと、該第一のガス濃度より低い第二のガス濃度を有する混合ガスを噴出する淡炎バーナとを交互に配置した濃淡バーナユニットを有するバーナ装置において、
少なくとも一端が前記濃炎バーナからなる第一の濃淡バーナユニットと、
前記第一の濃淡バーナユニットに隣接して設けられ、少なくとも一端が前記濃炎バーナからなり、当該一端の濃淡バーナが前記第一の濃淡バーナユニットの一端の濃淡バーナと隣接する様に配置された第二の濃淡バーナユニットとを有し、
前記第一の濃淡バーナユニットの一端の濃炎バーナまたは前記第二の濃淡バーナユニットの一端の濃炎バーナのうち少なくとも一方が、それぞれの濃淡バーナユニット内の他の濃炎バーナに比較して、ガス量が多いことを特徴とするバーナ装置。 - 請求項1〜3において、
前記第一及び第二の濃淡バーナユニットの両端に濃炎バーナが配置されていることを特徴とするバーナ装置。 - 請求項1〜3において、
前記第一の濃淡バーナユニットに点火装置が設けられていることを特徴とするバーナ装置。 - 請求項1〜3において、
前記一端の濃炎バーナの一次空気率が、それぞれの濃淡バーナユニット内の他の濃炎バーナに比較して低いことを特徴とするバーナ装置。 - 請求項1〜3において、
前記一端の濃炎バーナに対応する前記燃料ガスのノズル径が、それぞれの濃淡バーナユニット内の他の濃炎バーナに対応する燃料ガスのノズル径よりも大きいことを特徴とするバーナ装置。 - 第一のガス濃度を有する混合ガスを噴出する濃炎バーナと、該第一のガス濃度より低い第二のガス濃度を有する混合ガスを噴出する淡炎バーナとを交互に配置した濃淡バーナユニットを有するバーナ装置において、
少なくとも一端が前記濃炎バーナからなる第一の濃淡バーナユニットと、
前記第一の濃淡バーナユニットに隣接して設けられ、少なくとも一端が前記濃炎バーナからなり、当該一端の濃淡バーナが前記第一の濃淡バーナユニットの一端の濃淡バーナと隣接する様に配置された第二の濃淡バーナユニットとを有し、
前記第一及び第二の濃淡バーナユニットの境界部に火移りを容易にする火移り板を設けたことを特徴とするバーナ装置。 - 第一のガス濃度を有する混合ガスを噴出する濃炎バーナと、該第一のガス濃度より低い第二のガス濃度を有する混合ガスを噴出する淡炎バーナとを交互に配置した濃淡バーナユニットを有するバーナ装置において、
隣接して配置される第一及び第二の濃淡バーナユニットを有し、
前記第一または第二の濃淡バーナユニットの一端に配置された濃炎バーナのガス濃度が、それぞれの濃淡バーナユニット内の他の濃炎バーナのガス濃度と異なることを特徴とするバーナ装置。
Priority Applications (1)
| Application Number | Priority Date | Filing Date | Title |
|---|---|---|---|
| JP09560797A JP3696367B2 (ja) | 1997-04-14 | 1997-04-14 | バーナ装置 |
Applications Claiming Priority (1)
| Application Number | Priority Date | Filing Date | Title |
|---|---|---|---|
| JP09560797A JP3696367B2 (ja) | 1997-04-14 | 1997-04-14 | バーナ装置 |
Publications (2)
| Publication Number | Publication Date |
|---|---|
| JPH10288314A JPH10288314A (ja) | 1998-10-27 |
| JP3696367B2 true JP3696367B2 (ja) | 2005-09-14 |
Family
ID=14142249
Family Applications (1)
| Application Number | Title | Priority Date | Filing Date |
|---|---|---|---|
| JP09560797A Expired - Lifetime JP3696367B2 (ja) | 1997-04-14 | 1997-04-14 | バーナ装置 |
Country Status (1)
| Country | Link |
|---|---|
| JP (1) | JP3696367B2 (ja) |
Families Citing this family (2)
| Publication number | Priority date | Publication date | Assignee | Title |
|---|---|---|---|---|
| JP7413154B2 (ja) * | 2019-10-09 | 2024-01-15 | リンナイ株式会社 | ガスコンロ |
| CN112648645B (zh) * | 2019-10-09 | 2025-07-18 | 林内株式会社 | 燃气炉具 |
-
1997
- 1997-04-14 JP JP09560797A patent/JP3696367B2/ja not_active Expired - Lifetime
Also Published As
| Publication number | Publication date |
|---|---|
| JPH10288314A (ja) | 1998-10-27 |
Similar Documents
| Publication | Publication Date | Title |
|---|---|---|
| US6926516B1 (en) | Combustion method and burner | |
| JPH09280516A (ja) | 燃焼装置および該燃焼装置を具備した熱設備 | |
| CN111594838A (zh) | 一种均布器、燃烧器组件及燃烧器、燃烧方法 | |
| JPH08208240A (ja) | ガラス溶解炉 | |
| JPH11270808A (ja) | 触媒燃焼装置 | |
| JP2003254509A (ja) | シングルエンド型蓄熱式ラジアントチューブバーナ装置およびその燃焼方法 | |
| JP3696367B2 (ja) | バーナ装置 | |
| JP2002031307A (ja) | 予混合型バーナを設けた流体加熱装置 | |
| JP2007024335A (ja) | 燃焼装置及びそれに用いる火炎形成ユニット | |
| JP2837787B2 (ja) | 蓄熱型低NOxバーナ | |
| JP2001124307A (ja) | 無酸化還元燃焼方法並びにバーナ | |
| JP4248738B2 (ja) | 無酸化還元燃焼方法並びにバーナ装置 | |
| JPS604718A (ja) | 表面燃焼バ−ナ | |
| JP2002061806A (ja) | 低NOx燃焼方法並びにバーナ | |
| JPH0220886B2 (ja) | ||
| CN111425856A (zh) | 一种蓄热式辐射管烧嘴 | |
| KR100387592B1 (ko) | 질소산화물의 생성을 억제하는 축열식 버너 | |
| JPS603422A (ja) | 触媒燃焼装置 | |
| JPS62297615A (ja) | 燃焼装置 | |
| JP3656930B2 (ja) | 工業炉 | |
| JP3473140B2 (ja) | 低NOxバーナ | |
| JPS62166213A (ja) | バ−ナヘツド | |
| JPH02306020A (ja) | 触媒燃焼装置 | |
| JPH09257217A (ja) | 表面燃焼バーナー及びこれを用いた燃焼炉 | |
| JPS63226505A (ja) | 触媒燃焼装置 |
Legal Events
| Date | Code | Title | Description |
|---|---|---|---|
| A977 | Report on retrieval |
Free format text: JAPANESE INTERMEDIATE CODE: A971007 Effective date: 20050623 |
|
| TRDD | Decision of grant or rejection written | ||
| A01 | Written decision to grant a patent or to grant a registration (utility model) |
Free format text: JAPANESE INTERMEDIATE CODE: A01 Effective date: 20050628 |
|
| A61 | First payment of annual fees (during grant procedure) |
Free format text: JAPANESE INTERMEDIATE CODE: A61 Effective date: 20050629 |
|
| R150 | Certificate of patent or registration of utility model |
Free format text: JAPANESE INTERMEDIATE CODE: R150 |
|
| FPAY | Renewal fee payment (event date is renewal date of database) |
Free format text: PAYMENT UNTIL: 20090708 Year of fee payment: 4 |
|
| FPAY | Renewal fee payment (event date is renewal date of database) |
Free format text: PAYMENT UNTIL: 20100708 Year of fee payment: 5 |
|
| FPAY | Renewal fee payment (event date is renewal date of database) |
Free format text: PAYMENT UNTIL: 20110708 Year of fee payment: 6 |
|
| FPAY | Renewal fee payment (event date is renewal date of database) |
Free format text: PAYMENT UNTIL: 20120708 Year of fee payment: 7 |
|
| FPAY | Renewal fee payment (event date is renewal date of database) |
Free format text: PAYMENT UNTIL: 20120708 Year of fee payment: 7 |
|
| FPAY | Renewal fee payment (event date is renewal date of database) |
Free format text: PAYMENT UNTIL: 20130708 Year of fee payment: 8 |
|
| R250 | Receipt of annual fees |
Free format text: JAPANESE INTERMEDIATE CODE: R250 |
|
| R250 | Receipt of annual fees |
Free format text: JAPANESE INTERMEDIATE CODE: R250 |
|
| R250 | Receipt of annual fees |
Free format text: JAPANESE INTERMEDIATE CODE: R250 |
|
| R250 | Receipt of annual fees |
Free format text: JAPANESE INTERMEDIATE CODE: R250 |
|
| EXPY | Cancellation because of completion of term |