JP3692871B2 - 電源装置 - Google Patents
電源装置 Download PDFInfo
- Publication number
- JP3692871B2 JP3692871B2 JP33511799A JP33511799A JP3692871B2 JP 3692871 B2 JP3692871 B2 JP 3692871B2 JP 33511799 A JP33511799 A JP 33511799A JP 33511799 A JP33511799 A JP 33511799A JP 3692871 B2 JP3692871 B2 JP 3692871B2
- Authority
- JP
- Japan
- Prior art keywords
- circuit
- power supply
- capacitor
- voltage
- switching element
- Prior art date
- Legal status (The legal status is an assumption and is not a legal conclusion. Google has not performed a legal analysis and makes no representation as to the accuracy of the status listed.)
- Expired - Fee Related
Links
- 239000003990 capacitor Substances 0.000 claims description 257
- 238000004804 winding Methods 0.000 claims description 117
- 238000009499 grossing Methods 0.000 claims description 59
- 238000000605 extraction Methods 0.000 claims description 5
- 238000010586 diagram Methods 0.000 description 30
- 230000000694 effects Effects 0.000 description 20
- 101000824971 Homo sapiens Sperm surface protein Sp17 Proteins 0.000 description 13
- 102100022441 Sperm surface protein Sp17 Human genes 0.000 description 13
- 230000004907 flux Effects 0.000 description 13
- 238000012423 maintenance Methods 0.000 description 13
- 230000003071 parasitic effect Effects 0.000 description 12
- 230000001172 regenerating effect Effects 0.000 description 12
- 238000006243 chemical reaction Methods 0.000 description 10
- 239000013256 coordination polymer Substances 0.000 description 10
- 230000007423 decrease Effects 0.000 description 6
- 230000008033 biological extinction Effects 0.000 description 3
- 230000008859 change Effects 0.000 description 3
- 238000000034 method Methods 0.000 description 3
- 230000010355 oscillation Effects 0.000 description 3
- 238000010408 sweeping Methods 0.000 description 3
- 230000009471 action Effects 0.000 description 2
- 230000004913 activation Effects 0.000 description 2
- 238000013459 approach Methods 0.000 description 2
- 230000002265 prevention Effects 0.000 description 2
- 230000001681 protective effect Effects 0.000 description 2
- 230000002159 abnormal effect Effects 0.000 description 1
- 238000007599 discharging Methods 0.000 description 1
- 230000009467 reduction Effects 0.000 description 1
- 230000004044 response Effects 0.000 description 1
- 239000007858 starting material Substances 0.000 description 1
Images
Landscapes
- Circuit Arrangements For Discharge Lamps (AREA)
- Discharge-Lamp Control Circuits And Pulse- Feed Circuits (AREA)
- Rectifiers (AREA)
- Inverter Devices (AREA)
Description
【発明の属する技術分野】
本発明は、電源装置に関するものである。
【0002】
【従来の技術】
図24は第1の従来例の回路を示しており、この従来例は交流電源Vinと、コンデンサC01、インダクタL01、L02からなる電源用ローパスフィルタ回路Fと、フィルタ用コンデンサC02と、ダイオードブリッジからなる整流器DBと、チョッパ用インダクタLcpと、ダイオードD4、平滑コンデンサC1、MOSFETからなるスイッチング素子Q3、スイッチング素子Q3を制御するチョッパ制御手段1により構成された昇圧チョッパ回路1と、MOSFETからなるスイッチング素子Q1、Q2、直流カット用のコンデンサC3、共振用インダクタL1、共振用コンデンサC2、例えば蛍光灯のような放電灯La等からなるハーフブリッジ型のインバータ回路2とを組み合わせたものである。
【0003】
インバータ回路2の制御は自励方式を用いており、駆動トランスCT、ゲート抵抗R5、R6、ゲート保護用ツェナーダイオードZD1,ZD2からなる駆動回路2と、抵抗R7〜R10、起動用コンデンサC5、トリガ素子TD1、ダイオードD5からなる起動回路3と、抵抗R1,R2,R4、ダイオードD6〜D8、タイマ用コンデンサC6、コンデンサC7、トランジスタTr1からなる予熱回路4によりインバータ回路2が動作する。
【0004】
この従来例の回路の動作を説明する。
【0005】
交流電源Vinが投入されると、起動回路3では抵抗R7〜R9を介してコンデンサC5が充電され、所定の電圧になるとトリガ素子TD1がオンし、スイッチング素子Q2のゲートに起動信号が入ってスイッチング素子Q2がオンする。
【0006】
同時にコンデンサC5の電荷は抵抗R10、ダイオードD2、スイッチング素子Q2を介して放電する。スイッチング素子Q2がオンすると、駆動トランスCTの1次巻線CT11に電流が流れ、自励動作によりスイッチング素子Q2はオフし、続いてスイッチング素子Q2側の駆動トランスCTの2次巻線CT22とは逆極性に接続されたスイッチング素子Q1側の2次巻線CT21によりスイッチング素子Q1にゲート駆動電圧が発生し、スイッチング素子Q1がオンする。以後スイッチング素子Q1,Q2が交互にオン、オフを繰り返して自励発振動作を行う。
【0007】
予熱回路4は、抵抗R1、R2、コンデンサC7からなるCR時定数回路、タイマ用コンデンサC6、ダイオードD8、トランジスタTr1、抵抗R4から成るスイッチング素子Q2のゲート駆動信号の引抜き回路から構成され、スイッチング素子Q2のゲート・ソース間に接続されている。
【0008】
駆動トランスCTの2次巻線CT22に電圧が発生すると、駆動トランスCTの2次巻線CT22→抵抗R6→抵抗R1→ダイオードD6→コンデンサC6→コンデンサC7、抵抗R4、トランジスタTr1の回路→駆動トランスCTの2次巻線CT22の経路で電流が流れる(この動作をモード1と言う(スイッチング素子Q2のオン))。
【0009】
コンデンサC7の電圧が所定の電圧に上昇すると抵抗R4を通じてベース電流がトランジスタTr1のベースに流れて、トランジスタTr1がオンし、駆動トランスCTの2次巻線CT22→抵抗R6→抵抗R1→ダイオードD8→トランジスタTr1→駆動トランスCTの2次巻線CT22の経路でスイッチング素子Q2のゲート駆動信号を短絡する(この動作をモード2と言う(スイッチング素子Q2のオフ))。
【0010】
このようにCR時定数回路によりスイッチング素子Q2のオンデュティが決定されると、スイッチング素子Q1のオン時間は自励動作により自ずと決まる。
【0011】
共振用インダクタL1、共振用コンデンサC2を含むLC共振回路の共振により駆動トランスCTの巻線電圧が反転すると、スイッチング素子Q1にゲート駆動信号が発生し、スイッチング素子Q1がオンする。このオンにより再び駆動トランスCTの巻線電圧が反転し、以下同じ動作を繰り返しながらタイマ用コンデンサC6が徐々に充電されていく。
【0012】
タイマ用コンデンサC6の電位が高くなるに従いCR時定数回路に流れる電流が減少し、トランジスタTr1がオンするまでの時間が長くなるため、スイッチング素子Q2のオンデュティは大きくなる。やがてゲート電圧のピーク値と略等しくなるまでタイマ用コンデンサC6が充電されると、CR時定数回路への電流が流れなくなるため、ゲート駆動信号の引き抜きは行われなくなる。そしてタイマ用コンデンサC6が充電されて行くのに応じてスイッチング素子Q2のオンデュティは50%に近づくことになる。このスイッチング素子Q2のオンデュティの変化(スィープ)に伴い、動作周波数は低くなる方向に変化するため、出力電圧は増加していき、やがて放電灯Laは始動する。
【0013】
図25(b)に上記の予熱時の予熱電流或いは放電灯Laの両端電圧の波形を示す。上述のようにスィープを用いた予熱方法は、回路構成が比較的簡単で安価なことも有り、自励式のインバータ回路を用いた電源装置に良く用いられている。
【0014】
ところが他励制御式のインバータ回路を用いた電源装置によく用いられる予熱電流一定型の方法に比べランプ寿命が悪いということが良く知られている。図25(a)はこの予熱電流一定型の予熱電流或いは放電灯Laの両端電圧の波形を示す。
【0015】
他励制御式のインバータ回路を用いた電源装置としては特開平9−121550号に開示された図26に示す従来例(以下第2の従来例と言う)がある。
【0016】
この従来例は、ダイオードD10,D11の直列接続及びダイオードD2の両端に並列接続されたインピーダンス要素たるコンデンサC9からなる回路を整流器DBの負側出力端に接続し、インバータ回路1では放電灯La、共振用コンデンサC2、共振用インダクタL1のからなる共振負荷回路をスイッチング素子Q1,Q2の接続点と、ダイオードD10とD11の接続点との間にコンデンサC3を介して接続し、降圧チョッパ用のインダクタL2と平滑コンデンサC1の直列回路をダイオードD12を介してスイッチング素子Q1の両端に並列接続し、またダイオードD12を介してスイッチング素子Q2の両端にダイオードD13を並列接続し、整流器DBの入力端と交流電源Vinとの間にローパスフィルタ回路Fを、また整流器DBの出力端間にフィルタ用コンデンサC02を、更にインダクタL2と、平滑コンデンサC1と、ダイオードD13の直列回路にコンデンサC8を並列に接続し、制御回路5からスイッチング素子Q1、Q2のゲート駆動信号を出力するようになっている。ここで平滑コンデンサC1、インダクタL2、ダイオードD13の直列回路、コンデンサC8、ダイオードD12で所謂谷埋め電源回路を構成している。
【0017】
制御回路5は、放電灯Laの始動時などの軽負荷時の平滑コンデンサC1の両端電圧Vc1(以下、電圧Vc1と呼ぶ。)の昇圧を抑制をさせるように動作する。Out1,out2は制御回路5がスイッチング素子Q1,Q2に出力するゲート駆動信号を示す。
【0018】
つまり軽負荷時の電圧Vc1の昇圧は、インバータ回路1のスイッチング素子Q1,Q2の発振周波数と、スイッチング素子Q1のオン時に図示するループに電流I1が流れるモード、つまり交流電源Vinから直接共振負荷回路に電力供給される動作モードとが影響していると考えられる。このモードの発生時間が長ければ長いほど、またこのモードが発生している時の交流電源Vinの電圧値が高ければ高いほど、電圧Vc1の昇圧度は大きくなる。
【0019】
そこで、この動作モードを少なくするために、軽負荷時に於て、スイッチング素子Q1、Q2のオン時間をスイッチング素子Q1よりスイッチング素子Q2の方が長くなるようにアンバランス制御し、電圧Vc1の昇圧を抑制するために、交流電源Vinと追従した谷埋め電圧を検出して、交流電源Vinの電圧波形の山部でのスイッチング素子Q1,Q2の動作周波数を交流電源Vinの電圧波形の谷部でのスイッチング素子Q1,Q2の動作周波数よりも高く制御することが考えられる。またスイッチング素子Q1,Q2の動作周波数を全体的に高くすれば当然電圧Vc1の昇圧は低減されるが、放電灯Laへの予熱電力が十分には得にくくなる。
【0020】
図示する従来例回路ではスイッチング素子Q1,Q2のアンバランス制御と、交流電源Vinの山部と谷部とでの周波数変調とを組み合わせることにより、放電灯Laのへの予熱電力を確保しつつ電圧Vc1の昇圧抑制効果を実現するものである。
【0021】
ところで本従来例では負荷(放電灯La)の両端電圧の波形は図27(b)に示すように図27(a)に示す交流電源Vinの電圧波形のピーク付近と零クロス付近で二つのピークを持つ波形となり、電源電圧変動特性が悪いという問題があった。また予熱時においては低周波リップルが比較的大きく、実効値電圧に対してピーク値電圧が高くなるため、先行予熱電流を確保した場合に、放電灯Laが点灯してしまう場合がある。つまりコールドスタートによりフィラメントの断線、黒化しやすくなることから、ランプ寿命が短くなるという問題があった。
【0022】
図28は第3の従来例の回路を示しており、この従来例では交流電源Vinにローパスフィルタ回路Fを介して接続した整流器DBの出力端間に接続したフィルタ用コンデンサC02を接続し、整流器DBの正側出力端にダイオードD10、ダイオードD11の直列回路を挿入し、該直列回路を介して整流器DBの出力端間にインバータ回路1のスイッチング素子Q1、Q2の直列回路及び谷埋め電源回路6を接続してある。尚起動回路の図示は省略してある。
【0023】
ダイオードD11にはインピーダンス要素たるコンデンサC9を並列に接続してある。そして両ダイオードD10,D11の接続点と、両スイッチング素子Q1,Q2の接続点とのアID間に駆動トランスCTの1次巻線CT11と漏洩トランスTLの1次巻線と、直流カット用のコンデンサC3との直列回路を接続し、漏洩トランスTLの2次巻線の両端を蛍光灯からなる放電灯Laの両フィラメント電極の夫々の一端に接続し、両フィラメント電極の非電源側端間には漏洩トランスTLのインダクタンス成分とLC共振回路を構成する共振用コンデンサC2を接続してある。
【0024】
一方駆動トランスCTの2次巻線CT21,22は夫々抵抗R3、R6を介してスイッチング素子Q1、Q2のゲート・ソース間に接続され、ゲート駆動信号を与えるようになっている。スイッチング素子Q1、Q2のゲート・ソース間に保護用のツェナーダイオードZD1、ZD3の逆直列回路、ツェナーダイオードZD2、ZD4の直逆列回路を夫々接続してある。
【0025】
谷埋め電源回路6は平滑コンデンサC1、インダクタL2、ダイオードD13の直列回路と、該直列回路に並列に接続したコンデンサC8と、ダイオードD13とインダクタL2の接続点にアノードを接続し、カソードを漏洩トランスTLの1次巻線と駆動トランスCTの1次巻線CT11との接続点にカソードを接続したダイオードD12とからなる。
【0026】
上記のような回路によりインバータ回路1は自励型のインバータ回路を構成しているが、放電灯Laを調光制御するために、外部から入力するPWM信号から調光信号S1を直流変換するためのDC変換回路7と、スイッチング素子Q2のオンデュティをDC変換回路7の出力に基づいて制御する他制御回路8とを備えている。
【0027】
DC変換回路7は電源電圧Vccを抵抗R3,R11で分圧する回路と、抵抗R11に並列に接続されたトランジスタTr2と、出力用ホトトランジスタPTを抵抗R17を介してトランジスタTr2に接続し、外部からの調光信号S1を整流器DB1で全波整流して得られる直流電圧により駆動される発光ダイオードLDの光でホトトランジスタPTがオンオフされ、オン時にトランジスタTr2に流れるベース電流をバイパスするホトカプラPC及び抵抗R11に並列に接続されたコンデンサC11からなり、トランジスタTr2のオフ時に抵抗R11の両端電圧を出力するようになっている。
【0028】
他制御回路8は、DC変換回路7から出力される電圧によりダイオードD14、抵抗R13を通じて充電されるコンデンサC10と、このコンデンサC10の電圧と基準電圧Vrefとを比較するコンパレータCPと、スイッチング素子Q2のゲート・ソース間に接続されコンパレータCPの出力が”H”のときにオンしてゲート駆動信号をバイパスするトランジスタTr3と、スイッチング素子Q2のドレイン・ソース間に接続した抵抗R14、R15の分圧出力が所定レベル以上のときにオンしてコンデンサC10の両端を短絡するトランジスタTr4と、コンパレータCPの出力端とトランジスタTr3のベースの間に接続した抵抗R16とで構成される。
【0029】
以上のように構成された第3の従来例では、次のように動作する。
【0030】
まずスイッチング素子Q2がオンし、スイッチング素子Q1がオフしているときには、谷埋め電源回路6→コンデンサC9→コンデンサC3→漏洩トランスTL,放電灯La、コンデンサC2からなる共振負荷回路→駆動トランスCTの1次巻線CT11→スイッチング素子Q2→谷埋め電源回路6の経路で共振電流が流れ、コンデンサC9の電位と整流器DBの出力電位との和が谷埋め電源回路6の電位と釣り合うと、入力側よりダイオードD10→コンデンサC3→共振負荷回路→駆動トランスCTの1次巻線CT11→スイッチング素子Q2→入力側の経路で共振電流が流れ、また同時に入力電流が流れ込むこととなる。
【0031】
またスイッチング素子Q2がオフし、スイッチング素子Q1がオンすると回生電流モードとなり、漏洩トランスTLの1次巻線から回生電流が駆動トランスCTの1次巻線CT11→スイッチング素子Q1の寄生ダイオード→谷埋め電源回路6のコンデンサC8→整流器DB→ダイオードD10→コンデンサC3→漏洩トランスTLの1次巻線の経路で流れ、同時に入力電流が流れ込むこととなる。
【0032】
回生電流モードが終了した後のスイッチング素子Q2がオフ、スイッチング素子Q1がオンしている状態では、コンデンサC3からコンデンサC9→スイッチング素子Q1→駆動トランスCTの1次巻線CT11→共振負荷回路→コンデンサC3の経路で共振電流が流れ、スイッチング素子Q2がオンしている時にコンデンサC9に蓄えられた電荷が放出され、コンデンサC9の電荷が0になると、コンデンサC3→ダイオードD11→スイッチング素子Q1→駆動トランスCTの1次巻線CT11→共振負荷回路→コンデンサC3の経路で共振電流が流れる。
【0033】
次にスイッチング素子Q2がオン、スイッチング素子Q1がオフすると回生電流モードとなり、漏洩トランスTLの1次巻線からコンデンサC3→ダイオードD11→谷埋め電源回路6のコンデンサC8→スイッチング素子Q2の寄生ダイオード→駆動トランスCTの1次巻線CT11→漏洩トランスTLの1次巻線の経路で回生電流が流れる。そして上述の動作に移行する。
【0034】
一方、谷埋め電源回路6では、スイッチング素子Q2のオン時には、整流器DBの出力から平滑コンデンサC1→インダクタL2→ダイオードD12→駆動トランスCTの1次巻線CT11→スイッチング素子Q2→整流器DBの経路で充電され、整流器DBの整流出力のピーク値よりも低い電圧で平滑される。図29(b)はコンデンサC8の両端電圧Vc8を示す。また同図(a)に示す交流電源Vinの電圧のピーク値が平滑コンデンサC1の電位よりも低くなる場合には平滑コンデンサC1よりインバータ回路1へ電力供給を行う。
【0035】
以上の一連の動作を繰り返すことにより、インバータ回路1の負荷である放電灯Laに高周波電力を供給する。また同時に上記動作モードの一部において、交流電源Vinに比例した、入力電流を流すことにより、この電流をローパスフィルタ回路Fにて、正弦波状の入力電流を得ることができる。従ってこの従来例では入力力率の改善と、入力電流の歪みの改善を可能としている。
【0036】
ところでDC変換回路7に入力される調光信号S1は、周波数一定でパルス幅が可変するPWM信号であって、整流器DB1で整流された後のパルス幅が狭いほど出力を上昇させるようになっている。
【0037】
この調光信号S1は整流器DB1で整流され、ホトカプラPCを介してトランジスタTr2をオンオフさせる。この動作からコンデンサC11の両端にはトランジスタTr2のオンオフデュティに応じた直流電圧が発生して他制御回路8へ出力されることになる。
【0038】
他制御回路8のトランジスタTr4はスイッチング素子Q2のオンオフに応じて、オンオフ動作をおこない、スイッチング素子Q2がオンしている時にはオフし、DC変換回路7の出力によりダイオードD14→抵抗R13→コンデンサC10の経路でコンデンサC10を充電する。このコンデンサC10の両端電圧が基準電圧Vrefを越えると、コンパレータCPの出力によりトランジスタTr3がオンして、スイッチング素子Q2のゲート駆動信号をバイパスし強制的にスイッチング素子Q2をオフさせる。つまり調光信号S1の所定のデュティに応じてスイッチング素子Q2のオン幅を可変して、放電灯Laに供給する電力を制御し、放電灯Laを調光するのである。
【0039】
かかる第3の従来例では、交流電源Vinの位相に関係なく、調光信号たる調光信号S1に応じてスイッチング素子Q2のオン幅を一定の幅で制御するのであるが、このような一定のオン幅で、スイッチング素子Q2のオン幅を狭めて調光すると、放電灯Laでの消費電力が低下するため、入出力のバランスがずれてくる。このため谷埋め電源回路6に充電される電力量が増加し、その結果谷埋め電源回路6の電圧が上昇してくる。さらに交流電源Vinの位相によるリップル差も小さくなるので、調光するほど、ランプ電流のリップルが小さくなってしまい、低光束時の点灯維持性能が困難となり、立ち消えやちらつきが発生するという問題があった。尚図29(c)は調光前のランプ電流を、同図(d)は調光後のコンデンサC8の両端電圧Vc8を、また同図(e)は調光時のランプ電流を示す。
【0040】
図30は第4の従来例の回路を示しており、この従来例では谷埋め電源回路6のダイオードD12のカソードを直流カット用コンデンサC3と漏洩トランスTLの1次巻線との接続点に接続し、スイッチング素子Q1のドレイン・ソース間に抵抗R20とコンデンサC12との直列回路を接続し、ゲートとドレイン間にはトリガ素子TD1と抵抗R19とダイオードD15との直列回路を接続するとともにトリガ素子TD1と抵抗R19の接続点を抵抗R20とコンデンサC12の接続点に接続し、スイッチング素子Q2のドレイン・ソース間に平滑コンデンサC13と抵抗R21の並列回路を接続している点と、平滑コンデンサC14を漏洩トランスTLの2次巻線と放電灯Laとの間に接続し、また他制御回路及びDC変換回路を設けていない点で第3の従来例と相違し、駆動トランスCTにより各スイッチング素子Q1,Q2のゲート駆動信号を得て自励動作するようになっている。
【0041】
この従来例回路は回路部品が少ない構成で、高調波歪みを抑制でき、安価な回路構成を提供できる点に特徴があるものの、電源電圧が変動して増加したときには、共振電流が増大し、放電灯Laのような負性抵抗の負荷の場合では、ランプインピーダンスが小さくなるため、このような自励駆動の回路では、ランプインピーダンスの減少によって、主回路の共振周波数が低くなることや、共振電流の増大による駆動トランスCTの2次側の電流が増大することにより、動作周波数が低くなるため、LC共振を用いて構成される主回路の出力はさらに増大する。
【0042】
また電源電圧が減少したときには、共振電流が減少し、ランプインピーダンスが大きくなるため、当該従来例のような自励動作するものは、周波数が一定の他励動作するものに比べると、電源電圧変動時に、出力変動が大きくなるという問題があった。
【0043】
【発明が解決しようとする課題】
上述した各従来例には、夫々問題点があり、それらの問題点を解消する必要があった。
【0044】
本発明は上記の問題点に鑑みて為されたもので、その目的とするとところは、電源電圧が変動して出力増大傾向になっても出力変動を抑制することができる電源装置を提供することにある。
【0045】
また併せて、負荷として放電灯を用いて調光を行う場合に、低光束調光時の点灯維持特性を改善できる電源装置を提供することにある。
【0046】
更に放電灯として予熱型放電灯を用いる場合に予熱時にコールドスタートを改善してランプ寿命を延ばすことができる電源装置を提供することにある。
【0047】
【課題を解決するための手段】
請求項1の発明では、交流電源と、該交流電源を整流する整流器と、該整流器の整流出力を平滑する平滑コンデンサと、これら整流器や平滑コンデンサで得られる直流を電源として動作し、第1,第2のスイッチング素子を直列接続して自励駆動手段により第1,第2のスイッチング素子を交互にオンオフし、このオンオフにより上記整流器の出力経路に接続された負荷及びLC共振回路を含む負荷回路に高周波の電流を流すインバータ回路と、該インバータ回路の入力側に帰還する手段とを備えるとともに、上記自励駆動手段の駆動とは独立して上記スイッチング素子のスイッチングのオンデュティ若しくはスイッチング周波数を調整する他制御手段とを具備したことを特徴とする。
【0048】
請求項2の発明では、請求項1の発明において、上記平滑コンデンサを上記整流器の出力端間にダイオードを介して接続され、上記平滑コンデンサの両端には上記第1、第2のスイッチング素子の直列回路を接続し、上記整流器の出力端と上記ダイオードの接続点と、上記第1、第2のスイッチング素子の接続点との間に上記負荷回路を接続し、上記ダイオードの両端にインピーダンス要素を接続したことを特徴とする。
【0049】
請求項3の発明では、請求項1の発明において、上記整流器の両出力端間に、インピーダンス要素を並列接続したダイオードを介して上記第1、第2のスイッチング素子の直列回路を接続し、上記整流器の一端と上記ダイオードの接続点と、上記第1、第2のスイッチング素子の接続点との間に、直流カット用のコンデンサと、共振用インダクタ、共振用コンデンサから構成される上記負荷回路と、上記駆動手段を構成する駆動トランスの1次巻線との直列回路を挿入し、上記駆動トランスの2次出力で上記台1、第2のスイッチング素子を交互に駆動するものであって、上記第1、第2のスイッチング素子の一方と、降圧チョッパ用のインダクタを介して上記平滑コンデンサを充電する補助電源手段を備え、上記平滑コンデンサの電圧を交流電源の所定電圧以下とすることを特徴とする。
【0050】
請求項4の発明では、請求項1の発明において、上記整流器の両出力端間に、インピーダンス要素を並列接続したダイオードを介して上記第1、第2のスイッチング素子の直列回路を接続し、上記整流器の一端と上記ダイオードの接続点と、上記第1、第2のスイッチング素子の接続点との間に、トランスと、直流カット用のコンデンサと、共振用インダクタ、共振用コンデンサから構成される上記負荷回路と、上記駆動手段を構成する駆動トランスの1次巻線との直列回路を挿入し、上記駆動トランスの2次出力で上記台1、第2のスイッチング素子を交互に駆動するものであって、上記第1、第2のスイッチング素子の一方と、上記トランスの1次巻線とを介して上記平滑コンデンサを充電する補助電源手段を備え、上記平滑コンデンサの電圧を交流電源の所定電圧以下とすることを特徴とする。
【0051】
請求項5の発明では、請求項1乃至4の何れかの発明において、上記他制御手段の電源を低周波リップルを生じる高周波出力電圧に相当する電圧から取ることを特徴とする。
【0052】
請求項6の発明では、請求項5の発明において、上記他制御手段を、CR時定数回路と該CR時定数回路のCR時定数に応じて上記第1、第2のスイッチング素子のいずれか一方のスイッチング素子の駆動信号を引抜く少なくとも一つのスイッチ要素を含む駆動信号引抜きとで構成したことを特徴とする。
【0053】
請求項7の発明では、請求項6の発明において、上記他制御手段の電源を上記LC共振回路のインダクタに設けた2次巻線からとることを特徴とする。
【0054】
請求項7の発明では、請求項6の発明において、上記他制御手段の電源を上記トランスに設けた3次巻線からとることを特徴とする。
【0055】
請求項9の発明では、請求項6の発明において、上記他制御手段の電源を上記駆動トランスの2次巻線から得ることを特徴とする。
【0056】
請求項10の発明では、請求項9の発明において、上記第1、第2のスイッチング素子がMOSFETからなり、上記駆動トランスに設けた二つの2次巻線の一端を夫々が対応する上記スイッチング素子のソースに接続し、上記各2次巻線の他端と対応する上記スイッチング素子のゲートの問に夫々ゲート抵抗を接続し、どちらか一方のスイッチング素子側の上記駆動トランスの2次巻線の両端に上記CR時定数回路を接続したことを特徴とする。
【0057】
請求項11の発明では、請求項9の発明において、上記第1、第2のスイッチング素子がMOSFETからなり、上記駆動トランスに設けた二つの2次巻線の一端を夫々が対応する上記スイッチング素子のソースに接続し、上記各2次巻線の他端と対応する上記スイッチング素子のゲートの問に夫々ゲート抵抗を接続するともに、何れかのゲート抵抗が二つの抵抗の直列回路からなりこの両抵抗の接続点と、どちらか一方のスイッチング素子のソースの間に上記CR時定数回路を接続して上記駆動信号引抜き手段を当該スイッチング素子のゲートとソースの問に接続したことを特徴とする。
【0058】
請求項12の発明では、請求項7乃至請求項11の発明において、上記負荷回路の負荷が予熱型の放電灯であり、上記CR時定数回路を第1の抵抗とコンデンサの直列回路と、上記第1の抵抗の両端に接続される第2の抵抗とスイッチ要素の直列回路とで構成するとともに、上記スイッチ要素のオン・オフを制御する制御手段を備えて、上記CR時定数回路の時定数を切り替えることを特徴とする。
【0059】
請求項13の発明では、請求項7乃至請求項11の発明において、上記負荷回路がの負荷が予熱型の放電灯であり、上記CR時定数回路がタイマ用コンデンサを備えていることを特徴とする。
【0060】
請求項14の発明では、請求項13の発明において、上記タイマ用コンデンサの両端に、抵抗とスイッチ要素の直列回路を接続し、上記スイッチ要素のオン・オフを制御する制御手段により、上記タイマ用コンデンサのタイマ動作を所定時間止めることを特徴とする。
【0061】
請求項15の発明では、請求項1の発明において、上記負荷回路の負荷が放電灯であり、上記他制御手段の動作タイミングが、調光信号と上記インバータ回路の電源電圧の大きさにより、決定されることを特徴とする。
【0062】
請求項16の発明では、請求項15の発明において、上記インバータ回路の電源を、上記交流電源の全波整流波形の山部と山部との谷部を埋めるような谷埋め波形の電圧を出力する谷埋め電源回路により得ることを特徴とする。
【0063】
請求項17の発明では、請求項1の発明において、上記負荷回路の負荷が放電灯であり、上記他制御手段の動作タイミングが、調光信号と上記インバータ回路の電源電圧を整流して得られた脈流の大きさにより決定されることを特徴とする。
【0064】
請求項18の発明では、請求項17の発明において、上記インバータ回路の電源を、上記交流電源の全波整流波形の山部と山部との谷部を埋めるような谷埋め波形の電圧を出力する谷埋め電源回路により得ることを特徴とする。
【0065】
【発明の実施の形態】
本発明を実施形態により説明する。
【0066】
(実施形態1)
図1は本実施形態の回路を示しており、この回路は交流電源Vinに整流器DBをコンデンサC01、インダクタL01、L02からなるローパスフィルタ回路Fを介して接続し、整流器DBの出力端間にはフィルタ用コンデンサC02を並列に接続するとともに、抵抗R0とコンデンサC5の直列回路を接続し、更にダイオードD10、ダイオードD11とインピーダンス要素たるコンデンサC9の並列回路を介して平滑コンデンサC1を接続している。
【0067】
平滑コンデンサC1にはインバータ回路1の第1のスイッチング素子Q1と、第2のスイッチング素子Q2との直列回路を接続し、両スイッチング素子Q1,Q2の接続点と、上記ダイオードD10、D11の接続点との間には、蛍光灯のような放電灯La、直流カット用のコンデンサC3、共振用のインダクタL1の1次巻線、駆動トランスCTの1次巻線CT11の直列回路を接続している。放電灯Laの両側のフィラメント電極の非電源側端間には、放電灯La、インダクタL1を含んで共振負荷回路を構成する共振用のコンデンサC2を接続している。
【0068】
駆動トランスCTは2次巻線CT21,CT22を夫々抵抗R5,R6を介してスイッチング素子Q1,Q2のゲート・ソース間に接続してある。
【0069】
スイッチング素子Q1,Q2のゲート・ソース間には夫々保護用のツェナーダイオードZD1,ZD2を接続してゲート・ソース間に与えるゲート駆動電圧を所定電圧にクリップするようになっている。
【0070】
抵抗R0とコンデンサC5の接続点と、スイッチング素子Q2のゲートとの間にはコンデンサC5の電圧がブレークオーバー電圧に達すると導通してスイッチング素子Q2にゲート駆動信号を与えるトリガ素子TD1を接続している。またコンデンサC5とスイッチング素子Q2のドレインとの間には抵抗R10とダイオードD10の直列回路を接続し、スイッチング素子Q2のオン時にコンデンサC5の電荷を放電する放電経路を構成している。これらの抵抗R0、コンデンサC5、トリガ素子TD及び放電経路で起動回路が構成される。
【0071】
インダクタL1は2次巻線を有するもので、2次巻線の両端に他制御回路8内の抵抗R30とコンデンサC20とからなるCR時定数回路を主回路のグランドラインを介して接続している。
【0072】
他制御回路8は上記ツェナーダイオードZD2に並列接続したトランジスタTr5のベース・エミッタ間に抵抗R31を介してコンデンサC20を接続しており、インタクタL1の2次出力によって抵抗R30を介してコンデンサC20が充電され、その電圧が所定以上になるとトランジスタTr5がオンしてスイッチング素子Q2のゲート・ソース間を短絡し、スイッチング素子Q2を強制的にオフするようになっている。
【0073】
次に本実施形態の動作を説明する。
【0074】
まず交流電源Vinが投入されると、抵抗R0を通じてコンデンサC5に電流が流れて充電されるとともに、平滑コンデンサC1にダイオードD10,D11を通じて電流が流れて充電される。
【0075】
コンデンサC5の電圧が充電につれて上昇し、その電圧がトリガ素子TD1のブレークオーバー電圧に達すると、トリガ素子TD1が導通してスイッチング素子Q2をオンさせる。
【0076】
このスイッチング素子Q2がオンすると、整流器DBからダイオードD10、放電灯Laの一方のフィラメント電極、コンデンサC2、他方のフィラメント電極、コンデンサC3、インダクタL1、駆動トランスCTの1次巻線CT11、スイッチング素子Q1の経路で電流が流れて予熱が為される。そして駆動トランスCTのトランス作用により2次側には電圧が発生して自励動作が開始されることになる。
【0077】
さて上記の経路でコンデンサC2とインダクタンスL1の共振によって流れる共振電流が反転すると、駆動トランスCTの1次巻線CT11に流れる電流が減少してスイッチング素子Q2はオフし、スイッチング素子Q1がオンする。
【0078】
この時インダクタンスL1に蓄積されたエネルギがインダクタL1→駆動トランスCTの1次巻線CT11→スイッチング素子Q1の寄生ダイオード→平滑コンデンサC1→整流器DB→ダイオードD10→放電灯Laの一方のフィラメント電極→コンデンサC2→他方のフィラメント電極→コンデンサC3→インダクタL1の経路で放出されて回生電流が流れ、また整流器DB→ダイオードD10→放電灯Laの一方のフィラメント電極→コンデンサC2→他方のフィラメント電極→コンデンサC3→インダクタL1→駆動トランスCTの1次巻線CT11→スイッチング素子Q1の寄生ダイオード→平滑コンデンサC1→整流器DBの経路で入力電流が流れる。
【0079】
回生電流が流れ終わると、コンデンサC3を電源として、コンデンサC3→放電灯Laの他方のフィラメント→コンデンサC2、放電灯Laの一方のフィラメント→ダイオードD11→スイッチング素子Q1→駆動トランスCTの1次巻線CT11→インダクタL1→コンデンサC3の経路で電流が流れる。
【0080】
そして経路でコンデンサC2とインダクタンスL1の共振により流れている共振電流が反転すると、スイッチング素子Q1はオフし、スイッチング素子Q2がオンする。
【0081】
この時インダクタンスL1に蓄積されたエネルギがインダクタL1→コンデンサC3→放電灯Laの他方のフィラメント電極→コンデンサC2→放電灯Laの一方のフィラメント電極→ダイオードD11→平滑コンデンサC1→スイッチング素子Q2の寄生ダイオード→駆動トランスCTの1次巻線CT11→インダクタL1の経路で放出されて回生電流が流れる。
【0082】
この回生電流の流れが終了するとスイッチング素子Q2がオン、スイッチングQ1がオフの時の上述の動作に戻ることになる。そして平滑コンデンサC1の電圧が整流器DBの出力電圧を越えない期間中、上記の動作が繰り返される。また放電灯Laが始動すると、コンデンサC2と放電灯Laの並列回路が電流の流れる経路となる。
【0083】
さて平滑コンデンサC1の電圧が整流器DBの出力電圧以上の期間では、スイッチング素子Q1がオフ、スイッチング素子Q2がオンとなると、平滑コンデンサC1を電源として、平滑コンデンサC1→コンデンサC9→放電灯La及びコンデンサC2→コンデンサC3→インダクタL1→駆動トランスCTの1次巻線CT11→スイッチング素子Q2の経路で電流が流れ、コンデンサC9が充電される。
【0084】
そしてスイッチング素子Q1がオフ、スイッチング素子Q2がオンのままでコンデンサC9の両端電圧が徐々に上昇し、整流器DBの出力電圧に対して、コンデンサC9の電圧と平滑コンデンサC1の電圧の加算電圧が同じになると、整流器DB→放電灯La及びコンデンサC2→コンデンサC3→インダクタL1→駆動トランスCTの1次巻線CT11→スイッチング素子Q2→整流器DBの経路で入力電流が流れる。
【0085】
次に、スイッチング素子Q1がオン、スイッチング素子Q2がオフすると、インダクタンスL1に蓄積されたエネルギがインダクタL1→駆動トランスCTの1次巻線CT11→スイッチング素子Q1の寄生ダイオード→平滑コンデンサC1→整流器DB→ダイオードD10→放電灯La及びコンデンサC2→コンデンサC3→インダクタL1の経路で放出されて回生電流が流れ、また整流器DB→ダイオードD10→放電灯La及びコンデンサC2→→コンデンサC3→インダクタL1→駆動トランスCTの1次巻線CT11→スイッチング素子Q1の寄生ダイオード→平滑コンデンサC1→整流器DBの経路で入力電流が流れる。
【0086】
回生電流が流れ終わると、コンデンサC9→スイッチング素子Q1→駆動トランスCTの1次巻線CT11→インダクタL1→コンデンサC3→放電灯La及びコンデンサC2→コンデンサC9の経路でコンデンサC9の電荷が放電される。
【0087】
この放電が終了すると、コンデンサC3を電源として、コンデンサC3→放電灯La及びコンデンサC2→ダイオードD11→スイッチング素子Q1→駆動トランスCTの1次巻線CT11→インダクタL1→放電灯La及びコンデンサC2→コンデンサC3の経路で電流が流れる。
【0088】
そしてスイッチング素子Q1がオフ、スイッチング素子Q2がオンすると、インダクタL1の蓄積エネルギが、インダクタL1→コンデンサC3→放電灯La及びコンデンサC2→ダイオードD11→平滑コンデンサC1→スイッチング素子Q2の寄生ダイオード→駆動トランスCTの1次巻線CT11→インダクタL1の経路で回生電流が流れ、この回生電流が流れ終わると、上述の動作に戻ることになる。
【0089】
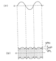
以上のような動作が為されて放電灯Laは始動、点灯される。本実施形態の高周波出力は図2(b)に示すように同図(a)に示す交流電源Vinの出力波形の零クロス付近でピーク値を持つようなリップルが大きな波形となる。
【0090】
ところで本実施形態では他制御回路8を設けており、この他制御回路8は、インダクタL1の2次出力でコンデンサC20が抵抗R30を介して充電され、CR時定数に応じてトランジスタTr5をオンさせ、スイッチング素子Q2のゲート駆動信号をバイパスしてスイッチング素子Q2を強制的にオフさせる。この時定数によりスイッチング素子Q2はオンデュティが制御されることになる。
【0091】
ここでCR時定数の電源は高周波出力と同様にリップルを生じるインダクタL1の2次出力を用いており、そのため交流電源Vinの電圧の零クロス付近では、高周波出力のピーク値VPHが、交流電源Vinの電圧のピーク値付近のピーク値VPLに比べて高いため、トランジスタTr5は早くオンし、スイッチング素子Q2のオンデュティは小さくなる。
【0092】
よって駆動周波数は交流電源Vinの零クロス付近でピーク付近よりも高くなり、ピーク値VPHとVPLの差△VPが大きいほど周波数変調幅が大きくなる。従って高周波出力波形は図2(b)の破線で示すように交流電源Vinの零クロス付近でピーク値が抑えられたリップルの少ない波形となる。このとき負荷電流波形も同様にリップルが少なくなり、クレストファクタを改善することが可能であるという効果を有する。
【0093】
このように高周波出力波形のリップルが大きい主回路において自励制御と、他制御回路8とを組合わせ、且つ他制御回路8の電源として高周波出力波形と同様な低周波リップルを生じる電圧を用いることにより比較的簡単な回路構成で安価に高周波出力波形のクレストファクタを改善することができるのである。
【0094】
また、例えば電源電圧変動により出力が増大したときには他制御回路8によりリップルを抑えることにより出力変動を抑制することが可能であるという効果を有する。
【0095】
また、さらに先行予熱時に他制御回路8が動作するようにすればリップルを抑えることでコールドスタートの改善が可能であるという効果を有する。
(実施形態2)
本実施形態は図3に示すように共振負荷回路の前段に昇圧用のトランスTを挿入し、トランスTの2次側に共振用のインダクタL1を介して放電灯Laと共振用コンデンサC2の並列回路を接続し、他制御回路8の電源をインダクタL1の2次出力で得るようにした点で実施形態1と相違する。
【0096】
その他の構成及び基本的な回路動作は実施形態1と略同じであるため同一の構成には同一符号を付して説明は省略する。
【0097】
而して本実施形態も実施形態1と同様の作用効果を有する。
(実施形態3)
本実施形態は図4に示すように上記トランスTとインダクタンスL1の代わりに漏洩トランスTLを用いるとともに駆動トランスCTの1次巻線CT11を漏洩トランスTLの2次側に挿入し、他制御回路8の電源を漏洩トランスTLに設けた3次巻線の出力より得る点が実施形態2と異なる。基本的な回路動作はほぼ実施形態1と同じであるため同一の構成には同一符号を付して説明は省略する。
【0098】
而して本実施形態も実施形態と1同様の作用効果を有する。
(実施形態4)
本実施形態5は、図5に示すようにダイオードD10と、ダイオードD11、コンデンサC9の並列回路との直列回路を整流器DBの負側出力とスイッチング素子Q2のソースとの間に挿入し、駆動トランスCTの1次巻線CT11と、漏洩トランスTLの1次巻線と、直流カット用のコンデンサC3との直列回路をスイッチング素子Q1,Q2の接続点と、ダイオードD10、D11の接続点との間に接続し、他制御回路8のトランジスタTr5をスイッチング素子Q1のゲート・ソース間に接続し、他制御回路8の電源を漏洩トランスTLに設けた3次巻線から得るようにした点及び各スイッチング素子Q1,Q2のゲート・ソース間の各々に保護用ツェナーダイオードZD1,ZD3を逆直列接続した直列回路又はツェナーダイオードZD2,ZD4を逆直列接続した直列回路を接続している点で相違する。
尚基本的な回路動作はほぼ実施形態1と同じであるため同一の構成には同一符号を付して説明は省略する。
【0099】
而して本実施形態も実施形態1と同様の作用効果を有する。
(実施形態5)
本実施形態は図6に示すように上記実施形態4において平滑コンデンサC1を単独で用いずに第2の従来例と同様に谷埋め電源回路6を用い、他制御回路8をスイッチング素子Q2のゲート・ソース間に接続している。
【0100】
また他制御回路8はトランジスタTr5のコレクタに逆流防止のダイオードD20を直列接続し、またコンデンサC20には逆印加防止用のダイオードD21を並列接続し、電源を駆動トランスCTの2次巻線CT22とスイッチング素子Q2のゲートとの間に挿入した抵抗R6とスイッチング素子Q2のゲートの接続点から得るようになっている。
【0101】
本実施形態では谷埋め電源回路6のコンデンサC8及びダイオードD13により高周波電流をバイパスすることで、整流器DBに高速ダイオードを用いなくてよくなる。
【0102】
尚基本的な主回路動作は第2の従来例と同じであり、また他制御回路8の動作は上記の各実施形態とほぼ同じであるので、谷埋め電源回路6の回路要素には第2の従来例の谷埋め電源回路の回路要素と同一符号を付し、その他の回路要素には実施形態4の回路要素と同一符号を付して説明は省略する。
【0103】
而して本実施形態では、高周波出力波形は図7(a)に示す交流電源Vinの波形に対して図7(b)に示すリップル波形となる。尚VPH,VPLはピーク値を示し、ΔVPはその差を示す。
【0104】
スイッチング素子Q1,Q2のゲート・ソース間にはツェナーダイオードZD1,ZD3の逆直列回路、ツェナーダイオードZD2、ZD4の逆直列回路が夫々接続されているため他制御回路8の電源にリップルが現れるように駆動トランスCTの巻数比とツェナー電圧を選択する必要がある。
【0105】
例えば、駆動トランスCTの2次巻線電圧よりもツェナー電圧を高くするとよい。すると本実施形態の回路構成においても、第1の実施形態と同様の作用効果を有することになる。
(実施形態6)
本実施形態は図8に示すように、実施形態5の回路における谷埋め電源回路6の降圧チョッパ用のインダクタL2を、漏洩トランスTLの1次側の励磁インダクタと兼用させ、部品点数の削減を図った点に特徴がある。
【0106】
また他制御回路8は逆流防止用D20のアノードを抵抗R6とスイッチング素子Q2のゲートとの接続点に接続し、抵抗R30の入力側端を駆動トランスCTの2次巻線CT22との接続点に接続することで電源を得ている。
【0107】
つまり駆動トランスCTの2次巻線CT22の両端にCR時定数回路を接続したことを特徴とする。このようにすることで、例えばスイッチングロス低減、または駆動周波数調整のためにスイッチング素子Q2のゲート・ソース間にかかる電圧がツェナー電圧を越えるように設計して、G点のリップル電圧がフラットになる場合にも、抵抗R6の電圧降下分によりA点の電圧にリップルが現れる。
【0108】
またトランジスタTr5によるゲート駆動信号の引抜き回路をゲート・ソース間に接続し、トランジスタTr5でゲート・ソース間を短絡することにより確実に発振を止めることができる。また、駆動信号引抜き回路をA点とスイッチング素子Q2のソース間、つまり駆動トランスCTの2次巻線CT22の両端に接続してもよい。この場合巻線電圧を完全に短絡できるので異常発振を防止することができる。
【0109】
尚その他の回路動作は第2の従来例及び上記各実施形態の準ずるため説明は省略する。また図8の回路要素において、図6の回路要素と対応するものには同一符号を付し、説明は省略する。
【0110】
而して本実施形態においても実施形態1と同様の作用効果を有する。
(実施形態7)
本実施形態は、実施形態5の回路における抵抗R6を、図9に示すように抵抗R61,R62に分割した点に特徴を有する。
【0111】
つまり他制御回路8の電源は抵抗R61,R62の中点から取ってあるため、抵抗R61,R62の抵抗値比を変えることによりA点に現れるリップル電圧のピーク値が変化する。
【0112】
従って本実施形態では、抵抗R61,R62の抵抗値比を変えることで周波数変調度合いを調整することができることになる。勿論実施形態1と同様の作用効果を有することは言うまでもない。
【0113】
尚その他の回路動作は第2の従来例及び上記各実施形態の準ずるため説明は省略する。
【0114】
(実施形態8)
本実施形態は他制御回路8を予熱回路として用いた点に特徴を有し、図10に示すように抵抗R32,スイッチ手段SW1の直列回路を抵抗R30に並列に接続するとともに、スイッチ手段SWを制御する制御手段11を設け、制御手段11によりスイッチ手段SW1をオンして他制御回路8のCR時定数を変えることができるようにした点で図8に示す実施形態6と相違する。
【0115】
つまり抵抗R30の抵抗値と、抵抗R32の抵抗値を、例えばR30>R32とし、予熱時は所定時間スイッチ手段SW1をオンして所定の予熱電流を流すようにし、始動後はスイッチング手段SW1をオフして所定の電圧を放電灯Laの両端に印加するようになっている。
【0116】
従って予熱電流、或いは放電灯Laの両端電圧は図11のような波形となる。よって予熱時において放電灯Laの両端に印加される電圧のリップルを抑えることが可能で、その結果コールドスタートを改善することができるという効果を有する。
【0117】
(実施形態9)
本実施形態は実施形態8と同様に他制御回路8を予熱回路として用いたことを特徴とする。
【0118】
本実施形態12の他制御回路8は図12に示すように、タイマ用コンデンサC21を抵抗R30とコンデンサC20との間にダイオードD22を介して接続し、ダイオードD22とコンデンサC1とのこの直列回路にダイオードD22と逆方向にダイオードD23を並列接続し、またG点とダイオードD20との間に抵抗R33を挿入し、この抵抗R33と、ダイオードD20と、トランジスタTr5との直列回路にpnp型のトランジスタTr6とダイオードD24の直列回路を並列に接続し、トランジスタTr6のベースを抵抗R33とダイオードD20との接続点に接続した構成となっている。
【0119】
而して電源投入からインバータ回路1が動作して駆動トランスCTの2次出力が発生することにより、タイマ用コンデンサC21が徐々に充電されていく。
【0120】
タイマ用コンデンサC21の電位が高くなるに従いCR時定数回路に流れる電流が減少し、トランジスタTr5がオンするまでの時間が長くなるため、スイッチング素子Q2のオンデュティは大きくなる。やがてゲート電圧のピーク値と略等しくなるまでタイマ用コンデンサC21が充電されると、CR時定数回路への電流は流れなくなるため、ゲート駆動信号の引き抜きは行われなくなる。そしてタイマ用コンデンサC21が充電されて行くのに応じてスイッチング素子Q2のオンデュティは50%に近づくことになる。このスイッチング素子Q2のオンデュティの変化(スィープ)に伴い、動作周波数は低くなる方向に変化するため、出力電圧が増加していき、やがて放電灯Laは始動するのである。
【0121】
尚本実施形態による予熱電流或いは予熱時の放電灯両端の電圧の波形は図13のようになる。
【0122】
また主要な回路の動作は第2の従来例及び上記各実施形態に準ずるため、説明は省略する。
【0123】
本実施形態によれば、実施形態8のように制御手段11を別途設け、スイッチ手段SWの切替をしなくても予熱始動を行うことが可能であり、実施形態8と同様の効果を有する。
【0124】
(実施形態10)
本実施形態は図14に示すように実施形態9と同様に他制御回路8を予熱回路として用いたことを特徴とするものであって、実施形態9との違いは抵抗R33、トランジスタTr7の直列回路をダイオードD22とコンデンサC21の直列回路に並列接続するとともにトランジスTr7をオンオフする制御手段11を追加したことである。
【0125】
つまり本実施形態では制御手段11により予熱時には所定時間スイッチ要素Tr7をオンしてスィープさせずに所定の予熱電流を流し、始動時にスイッチ要素Tr7をオフしてスイープを開始して高電圧を放電灯Laの両端に印加するようになっている。
【0126】
このときタイマ用コンデンサC21の容量を比較的小さくし、スイッチ要素Tr7がオフすると瞬時に放電灯Laの両端に高電圧が印加されるようにすれば、ランプ寿命がよくなる傾向がある。
【0127】
本実施形態による予熱電流或いは予熱時の放電灯Laの両端電圧の波形は図15のようになる。
【0128】
而して本実施形態によれば、予熱時において放電灯Laの両端に印加される電圧のリップルを押えることが可能であり、実施形態9よりもコールドスタートを改善することが可能であるという効果を有する。
【0129】
ところで上記実施形態1〜9において用いた主回路の構成は図示するもの以外に出力波形にリップルがあるものであればよく、例えば、特開平10−285946号或いは特開平10−271845号に示される回路を用いても良い。
【0130】
図16は前者、図17は後者の回路例を示しており、これらの回路において、他制御回路8の電源を高周波出力波形に相当する低周波リップルを含む高周波電圧が得られるものであればどこから取ってもよいことは言うまでもない。
【0131】
尚図16の回路の動作の概略は次の通りである。
【0132】
既に起動されて自励動作が為されているものとし、今スイッチング素子Q1がオンし、スイッチング素子Q2がオフしたとすると、平滑コンデンサC1の放電により、平滑コンデンサC1→スイッチング素子Q1→駆動トランスCTの1次巻線CT11→漏洩トランスTLの1次巻線→コンデンサC30→平滑コンデンサC1に電流が流れ、コンデンサC30の電圧が漏洩トランスTLのインダクタンスとコンデンサC2による共振により上昇する。
【0133】
スイッチング素子Q1がオフすると、漏洩トランスTLの蓄積エネルギが放出され、漏洩トランスTLの1次巻線→コンデンサC30→スイッチング素子Q2の寄生ダイオード→駆動トランスCTの1次巻線CT11→漏洩トランスTLの1次巻線の経路で電流が流れ、さらにコンデンサC30の電圧が上昇する。
【0134】
続いてスイッチ要素Q2がオンすると、漏洩トランスTLのインダクタンスと、コンデンサC30,C2との共振作用により、コンデンサ30→漏洩トランスTLの1次巻線→駆動トランスCTの1次巻線CT11→スイッチング素子Q2→コンデンサ30の経路で共振電流が流れ、コンデンサC30の電圧が下降し始める。
【0135】
この電圧が整流器DBの出力電圧よりも低くなると、交流電源Vinから入力電流が引き込まれて、交流電源Vin→ローパスフィルタ回路F→整流器DB→ダイオードD40→漏洩トランスTLの1次巻線→駆動トランスCTの1次巻線CT11→スイッチング素子Q2→整流器DB→ローパスフィルタ回路F→交流電源Vinの経路で電流が流れる。またスイッチング素子Q2がオフしても、交流電源Vin→整流器DB→ダイオードD40→漏洩トランスTLの1次巻線→駆動トランスCTの1次巻線CT11→スイッチング素子Q1の寄生ダイオード→平滑コンデンサC1→整流器DB→ローパスフィルタ回路F→交流電源Vinの経路で電流が流れる。
【0136】
そして上記の動作が繰り返されることにより漏洩トランスTLの2次側は高周波電圧が発生し放電灯Laに電力が供給されるのである。
【0137】
後者の回路の概略動作は次の通りである。
【0138】
既に起動されて自励動作が為されているものとし、今スイッチング素子Q1がオンし、スイッチング素子Q2がオフしたとすると、平滑コンデンサC1→スイッチング素子Q1→駆動トランスCTの1次巻線CT11→漏洩トランスTLの1次巻線→コンデンサC30→平滑コンデンサC1の経路で電流が流れ、コンデンサC30の電圧が漏洩トランスTLのインダクタンスとコンデンサC2とによる共振により上昇する。
【0139】
この電圧が整流器DBの出力電圧と等しくなると交流電源Vinから入力電流が引き込まれて、交流電源Vin→ローパスフィルタ回路F→ダイオードD40→スイッチング素子Q1→駆動トランスCTの1次巻線CT11→漏洩トランスTLの1次巻線→整流器DB→ローパスフィルタ回路F→交流電源Vinの経路で電流が流れる。
【0140】
スイッチング素子Q1がオフすると、交流電源Vin→ローパスフィルタ回路F→ダイオードD40→平滑コンデンサC1→スイッチング素子Q2の寄生ダイオード→駆動トランスCTの1次巻線CT11→漏洩トランスTLの1次巻線→ローパスフィルタ回路F→交流電源DBの経路で電流が流れ、漏洩トランスTLの蓄積エネルギの放出とともに平滑コンデンサC1を充電する。
【0141】
これにより平滑コンデンサC1の電圧が交流電源電圧よりも昇圧されると、コンデンサC30は主としてコンデンサC30→漏洩トランスTLの1次巻線→駆動トランスCTの1次巻線CT11→スイッチング素子Q2→コンデンサC30の経路で電荷を放電する。
【0142】
次にスイッチング素子Q2がオフすると、漏洩トランスTLの1次巻線→駆動トランスCTの1次巻線→スイッチング素子Q1の寄生ダイオード→平滑コンデンサC1→コンデンサC30→漏洩トランスTLの1次巻線の経路で電流が流れる。そして漏洩トランスTLの蓄積エネルギ及びコンデンサ30の電荷が放出されると、平滑コンデンサC1の電圧がコンデンサC30、漏洩トランスTLの1次巻線の直列回路の電圧よりも高くなる。
【0143】
そして上記の動作が繰り返されることにより漏洩トランスTLの2次側は高周波電圧が発生し放電灯Laに電力が供給されるのである。
(実施形態11)
本実施形態は第3の従来例の回路構成(図28)に示す回路と基本的に同じ構成を為すものであって、その相違点は図18に示すように谷埋め電源回路6のコンデンサC8に並列に抵抗R40,R41の直列回路を並列に接続し、両抵抗R41の両端(a−b)間電圧を他制御回路8のコンパレータCPの基準電圧Vrefとして用いる点にある。尚起動回路の図示は省略している。
【0144】
他の構成は図28の回路と同じであるの同一要素には同一符号を付して説明は省略する。またインバータ回路1の動作も同じであるので動作説明は、本実施形態の特徴点について説明する。
【0145】
本実施形態は図28の回路と同様に、調光信号S1が、周波数一定でパルス幅が可変するPWM信号であり、DC変換回路7の整流器DB1で整流された後のパルス幅が狭いほど、高周波出力を上昇させるように他制御回路8がスイッチング素子Q2を制御する。DC変換回路7は入力する調光信号S1を整流器DB1で整流し、その整流出力によりフォトカプラPCを介して、トランジスタTr2をオンオフさせる。
【0146】
この動作から、コンデンサC11には、トランジスタTr2のオンオフデュティに応じた直流電圧が出力される。
【0147】
他制御回路8のトランジスタTr4はスイッチング素子Q2のオンオフに応じてオンオフ動作を行い、スイッチング素子Q2がオンしているときにはオフし、DC変換回路7からの出力からダイオードD14→抵抗R13→コンデンサC10の経路で、コンデンサC10を充電する。
【0148】
コンデンサC10がコンパレータCPの反転入力端に印加される電圧、つまり抵抗R41の両端電圧を越えると、コンパレータCPの出力が”H”となり、トランジスタTr3はオンするので、スイッチング素子Q2のゲート・ソース間が短絡され、スイッチング素子Q2はオフされる。
【0149】
つまり、スイッチング素子Q2を他制御することにより、放電灯Laに供給される高周波電力を制御して調光を行うのである。要するに調光信号S1の所定のディティに応じて、スイッチング素子Q2のオン幅を可変し、放電灯Laを調光するものである。
【0150】
但し、本実施形態では、コンデンサC10の電圧と比較するコンパレータCPの基準電圧が谷埋め電源回路6のコンデンサC8の電圧を分圧した電圧であるのえ、電源の位相、谷埋め電源回路6の出力の振幅(図19(a)に示す)に応じてスイッチング素子Q2のオン時間が変化する。
【0151】
つまり、所定の調光レベルにおいても、電源ピーク(山部)付近では、図19(b)に示すようにコンデンサC10の電圧が変化してスイッチング素子Q2のオン時間が長くなり、電源の零クロス付近では、図19(c)に示すようにコンデンサC10の電圧が変化してスイッチング素子Q1のオン時間が短くなって、変調がかかる。よって、調光時の放電灯Laの電流波形は図19(d)に示すように電源電圧のピーク付近の振幅は大きく、谷部付近では振幅が小さくなり、そのため電源電圧のピーク付近の放電灯Laの点灯維持電圧が確保しやすくなり、低光束時の点灯維持性能を改善できるのである。
【0152】
以上のように構成した本実施形態では、放電灯Laを調光する際に、意図的にランプ電流にリップルを持たせることができ、低光東時の放電灯Laの点灯維持性能を改善することが可能になり、低光束点灯時のチラツキや立ち消えを防止することができる
尚図20に示すように図18の回路における、谷埋め電源回路6のインダクタL2の代わりに、共振負荷回路の漏洩トランスTLのインダクタンスを用いても良い。この場合も図18の回路と同様な作用効果が得られる。
(実施形態12)
上記実施形態11では、他制御回路8のコンパレータCPの基準電圧として谷埋め電源回路6のコンデンサC8の両端電圧を分圧した電圧を用いていたが、本実施形態では、図21に示すように整流器DBの出力電圧を抵抗R42,R43で分圧した電圧と、所定直流電圧源VRの電圧とをダイオードオア回路で接続して用いた点で実施形態11と異なる。インバータ回路1、谷埋め電源回路6の動作は同一であるので、図18と同じ回路要素に同一符号を付して構成及び動作の説明は省略する。また起動回路の図示も省略している。
【0153】
而して本実施形の他制御回路8ではコンデンサC10の電圧を比較するコンパレータCPの基準電圧が、整流器DBの出力電圧を分圧した電圧と所定の直流電圧源VRの電圧とのオアで構成されているため、整流器DBの脈流の電圧を部分平滑した電圧となっている。
【0154】
従って、実施形態11と同様に電源の位相、振幅に応じて、スイッチング素子Q2のオン時間が変化する。つまり、所定の調光レベルにおいても、電源ピーク付近では、スイッチング素子Q2のオン時間が長く、零クロス付近では、オン幅が短くなって、変調がかかる。よって、実施形態11と同様に調光時の放電灯Laの電流波形は電源電圧のピーク付近の振幅が大きく、谷部近では小さくなって、電源電圧のピーク付近の放電灯Laの点灯維持電圧が確保しやすくなり、低光東時の点灯維持性能を改善できる。
【0155】
本実施形態も実施形態11と同様に放電灯Laを調光する際に、意図的にランプ電流にリップルを持たせて、低光束時の放電灯Laの点灯維持性能を改善することが可能になり、低光束点灯時のチラツキや立ち消えを防止することができる。
【0156】
尚図22に示すように図21の回路おける、谷埋め電源回路のインダクタL2の代わりに、共振負荷回路の漏洩トランスTLのインダクタンスを用いても良い。この場合も図21の回路と同様な作用効果がある。
(実施形態13)
本実施形態は第4の従来例の回路を基本回路とし、この基本回路に図23に示すように他制御回路8を加えてものである。
【0157】
他制御回路8の構成は図14の回路における他制御回路8と基本的に同じ構成となっているが、抵抗R30をスイッチング素子Q2のゲートと抵抗R6との接続点に接続し、スイッチング素子Q2のドレイン・ソース間に接続した抵抗R71,R72,R73の直列回路中抵抗R72,R73の接続点にトランジスタTr7のベースをツェナーダイオードZD5を介して接続し、抵抗R32とトランジスタTr7の直列回路はタイマ用コンデンサC21に並列に接続し、またコンデンサC21に抵抗R74を並列接続した点で図14の他制御回路8と異なる。
【0158】
.次に、本実施形態の動作を説明する。
【0159】
今電源が投入されると、抵抗R19,R26,R71〜73,コンデンサC12、ダイオードD15,トリガ素子TD1で構成される起動回路により、スイッチング素子Q1に起動信号が与えられてオン動作し、その後駆動トランスCTの1次巻線CT11に電流が流れて、2次巻線CT21,CT22から交互にゲート駆動信号がスイッチング素子Q1,Q2に供給され、スイッチング素子Q1,スQ2が交互にオンオフする。
【0160】
他制御回路8では電源投入時にタイマ用コンデンサC21の電圧が0付近であり、コンデンサC20の電圧はスイッチング素子Q2のゲート駆動信号電圧を電源として抵抗R74を介して充電されていくため短時間でトランジスタTr5をオンし、高い動作周波数となって、放電灯Laを予熱する。
【0161】
その後、徐々に、タイマ用コンデンサC21が充電されていき、タイマ用コンデンサC21,コンデンサC20で構成されるタイマ回路の電源電圧が徐々に落ちていくため、コンデンサC20を充電していく時間も長くなり、その結果動作周波数も低周波になっていき、始動電圧を放電灯Laに印加後、点灯に至る。点灯後、交流電源Vinの電圧が高くなると、交流電源Vinからの入力電流を共振電流の一部としている回路構成により、スイッチング素子Q2のオフ時の両端電圧も高くなり、抵抗R71〜R73で分圧される抵抗R73の電圧も高くなる。
【0162】
抵抗R73の電圧が、ツェナーダイオードZD5のツェナー電圧よりも高くなるとトランジスタTr7がオンし、タイマ用コンデンサC21の電荷が抵抗R32とトランジスタTrを介して放電され、タイマ用コンデンサC21,コンデンサC20で構成されるタイマ回路の電源電圧が上昇するため、コンデンサC20が充電されるようになり高い動作周波数になっていく。.つまり、電源電圧が高くなると、周波数が高くなって、出力を抑制する動作となる。
【0163】
以上の動作により、電源電圧が高くなっても出力は抑制できるので、部品ストレスを増大させることなく動作させることが可能となり、そのため部品コストを増大させることがなく、安価な回路を提供できる。
【0164】
【発明の効果】
請求項1の発明は、交流電源と、該交流電源を整流する整流器と、該整流器の整流出力を平滑する平滑コンデンサと、これら整流器や平滑コンデンサで得られる直流を電源として動作し、第1,第2のスイッチング素子を直列接続して自励駆動手段により第1,第2のスイッチング素子を交互にオンオフし、このオンオフにより上記整流器の出力経路に接続された負荷及びLC共振回路を含む負荷回路に高周波の電流を流すインバータ回路と、該インバータ回路の入力側に帰還する手段とを備えるとともに、上記自励駆動手段の駆動とは独立して上記スイッチング素子のスイッチングのオンデュティ若しくはスイッチング周波数を調整する他制御手段とを具備したので、電源電圧変動により出力が増大傾向にあっても出力変動を抑制することができるという効果がある。
【0165】
請求項2の発明は、請求項1の発明において、上記平滑コンデンサを上記整流器の出力端間にダイオードを介して接続され、上記平滑コンデンサの両端には上記第1、第2のスイッチング素子の直列回路を接続し、上記整流器の出力端と上記ダイオードの接続点と、上記第1、第2のスイッチング素子の接続点との間に上記負荷回路を接続し、上記ダイオードの両端にインピーダンス要素を接続したことで、上記効果を得ることができる。
【0166】
請求項3の発明は、請求項1の発明において、上記整流器の両出力端間に、インピーダンス要素を並列接続したダイオードを介して上記第1、第2のスイッチング素子の直列回路を接続し、上記整流器の一端と上記ダイオードの接続点と、上記第1、第2のスイッチング素子の接続点との間に、直流カット用のコンデンサと、共振用インダクタ、共振用コンデンサから構成される上記負荷回路と、上記駆動手段を構成する駆動トランスの1次巻線との直列回路を挿入し、上記駆動トランスの2次出力で上記台1、第2のスイッチング素子を交互に駆動するものであって、上記第1、第2のスイッチング素子の一方と、降圧チョッパ用のインダクタを介して上記平滑コンデンサを充電する補助電源手段を備え、上記平滑コンデンサの電圧を交流電源の所定電圧以下とすることで、上記請求項1の発明の効果を得るとともに入力力率の改善や入力歪みの改善が図れ、しかも電源電圧の変動があっても負荷電流を安定させることができる。
【0167】
請求項4の発明は、請求項1の発明において、上記整流器の両出力端間に、インピーダンス要素を並列接続したダイオードを介して上記第1、第2のスイッチング素子の直列回路を接続し、上記整流器の一端と上記ダイオードの接続点と、上記第1、第2のスイッチング素子の接続点との間に、トランスと、直流カット用のコンデンサと、共振用インダクタ、共振用コンデンサから構成される上記負荷回路と、上記駆動手段を構成する駆動トランスの1次巻線との直列回路を挿入し、上記駆動トランスの2次出力で上記台1、第2のスイッチング素子を交互に駆動するものであって、上記第1、第2のスイッチング素子の一方と、上記トランスの1次巻線とを介して上記平滑コンデンサを充電する補助電源手段を備え、上記平滑コンデンサの電圧を交流電源の所定電圧以下とすることで、上記請求項1の発明の効果を得るとともに、入力力率及び入力歪みの改善と、電源電圧の変動によっても負荷電流を安定させることができる。
【0168】
請求項5の発明は、請求項1乃至4の何れかの発明において、上記他制御手段の電源を低周波リップルを生じる高周波出力電圧に相当する電圧から取るので、上記効果を得られる上に、高周波出力波形のクレストファクタを改善できる。
【0169】
請求項6の発明は、請求項5の発明において、上記他制御手段を、CR時定数回路と該CR時定数回路のCR時定数に応じて上記第1、第2のスイッチング素子のいずれか一方のスイッチング素子の駆動信号を引抜く少なくとも一つのスイッチ要素を含む駆動信号引抜きとで構成したことで、請求項5の効果が比較的簡単な回路構成で安価に得られる。
【0170】
請求項7の発明は、請求項6の発明において、上記他制御手段の電源を上記LC共振回路のインダクタに設けた2次巻線からとることで、請求項5の効果が得られる請求項6の発明を容易に実現できる。
【0171】
請求項7の発明は、請求項6の発明において、上記他制御手段の電源を上記トランスに設けた3次巻線からとることを請求項5の効果が得られる請求項6の発明を容易に実現できる。
【0172】
請求項9の発明は、請求項6の発明において、上記他制御手段の電源を上記駆動トランスの2次巻線から得ることで、請求項5の効果が得られる請求項6の発明を容易に実現できる。
【0173】
請求項10の発明は、請求項9の発明において、上記第1、第2のスイッチング素子がMOSFETからなり、上記駆動トランスに設けた二つの2次巻線の一端を夫々が対応する上記スイッチング素子のソースに接続し、上記各2次巻線の他端と対応する上記スイッチング素子のゲートの問に夫々ゲート抵抗を接続し、どちらか一方のスイッチング素子側の上記駆動トランスの2次巻線の両端に上記CR時定数回路を接続したので、請求項9の発明を実現できる。
【0174】
請求項11の発明は、請求項9の発明において、上記第1、第2のスイッチング素子がMOSFETからなり、上記駆動トランスに設けた二つの2次巻線の一端を夫々が対応する上記スイッチング素子のソースに接続し、上記各2次巻線の他端と対応する上記スイッチング素子のゲートの問に夫々ゲート抵抗を接続するともに、何れかのゲート抵抗が二つの抵抗の直列回路からなりこの両抵抗の接続点と、どちらか一方のスイッチング素子のソースの間に上記CR時定数回路を接続して上記駆動信号引抜き手段を当該スイッチング素子のゲートとソースの問に接続したので、請求項9の発明の奏する効果に加え、二つの抵抗の値の比を変えることで、リップル電圧のリップル値を変化させることができる。
【0175】
請求項12の発明は、請求項7乃至請求項11の発明において、上記負荷回路の負荷が予熱型の放電灯であり、CR時定数回路を第1の抵抗とコンデンサの直列回路と、上記第1の抵抗の両端に接続される第2の抵抗とスイッチ要素の直列回路とで構成するとともに、上記スイッチ要素のオン・オフを制御する制御手段を備えて、上記CR時定数回路の時定数を切り替えるので、スイッチ要素のオン・オフで時定数を変えることで、他制御回路を予熱回路とすることができ、予熱時に放電灯の両端に印加される電圧のリップルを抑えることが可能であって、コールドスタートを改善することができる。
【0176】
請求項13の発明は、請求項7乃至請求項11の発明において、上記CR時定数回路がタイマ用コンデンサを備えているので、他制御回路を予熱回路とすることができ、予熱時に放電灯の両端に印加される電圧のリップルを抑えることが可能であって、コールドスタートを改善することができる。
【0177】
請求項14の発明は、請求項13の発明において、上記タイマ用コンデンサの両端に、抵抗とスイッチ要素の直列回路を接続し、上記スイッチ要素のオン・オフを制御する制御手段により、上記タイマ用コンデンサのタイマ動作を所定時間止めることで、予熱時にスィープさせずに所定の予熱電流を流し、予熱時に放電灯の両端に印加される電圧のリップルを抑えることが可能であって、コールドスタートを改善することができる。
【0178】
請求項15の発明は、請求項1の発明において、上記負荷回路の負荷が放電灯であって、上記他制御手段の動作タイミングが、調光信号と上記インバータ回路の電源電圧の大きさにより、決定されるので、調光する際に意図的にランプ電流にリップルを持たせることができ、低光束時の点灯維持性能を改善することができ、低光束時の点灯維持性能を改善でき、結果低光束時の放電灯のちらつきや立ち消えを防止できる。
【0179】
請求項16の発明は、請求項15の発明において、上記インバータ回路の電源を、上記交流電源の全波整流波形の山部と山部との谷部を埋めるような谷埋め波形の電圧を出力する谷埋め電源回路により構成してあるので、電源電圧のピーク付近での放電灯の点灯維持電圧を確保し易くなり、低光束時の点灯維持性能を改善でき、結果低光束時の放電灯のちらつきや立ち消えを防止できる上に入力力率や入力電流の歪みを改善できる。
【0180】
請求項17の発明は、請求項1の発明において、上記負荷回路の負荷が放電灯であり、上記他制御手段の動作タイミングが、調光信号と上記インバータ回路の電源電圧を整流して得られた脈流の大きさにより決定されるので、調光する際に意図的にランプ電流にリップルを持たせることができ、低光束時の点灯維持性能を改善することができ、結果低光束時の点灯維持性能を改善でき、低光束時の放電灯のちらつきや立ち消えを防止できる。
【0181】
請求項18の発明は、請求項17の発明において、上記インバータ回路の電源を、上記交流電源の全波整流波形の山部と山部との谷部を埋めるような谷埋め波形の電圧を出力する谷埋め電源回路により構成したので、電源電圧のピーク付近での放電灯の点灯維持電圧を確保し易くなり、低光束時の点灯維持性能を改善でき、結果低光束時の放電灯のちらつきや立ち消えを防止できる上に入力力率や入力電流の歪みを改善できる。
【図面の簡単な説明】
【図1】本発明の実施形態1の回路図である。
【図2】同上の動作説明用波形図である。
【図3】本発明の実施形態2の回路図である。
【図4】本発明の実施形態3の回路図である。
【図5】本発明の実施形態4の回路図である。
【図6】本発明の実施形態5の回路図である。
【図7】同上の動作説明用波形図である。
【図8】本発明の実施形態6の回路図である。
【図9】本発明の実施形態7の回路図である。
【図10】本発明の実施形態8の回路図である。
【図11】同上の動作説明用波形図である。
【図12】本発明の実施形態9の回路図である。
【図13】同上の動作説明用波形図である。
【図14】本発明の実施形態10の回路図である。
【図15】同上の動作説明用波形図である。
【図16】本発明に用いることができる主回路の例の回路図である。
【図17】本発明に用いることができる主回路の例の回路図である。
【図18】本発明の実施形態11の回路図である。
【図19】同上の動作説明用波形図である。
【図20】同上の他の例の回路図である。
【図21】本発明の実施形態12の回路図である。
【図22】同上の他の例の回路図である。
【図23】本発明の実施形態13の回路図である。
【図24】第1の従来例の回路図である。
【図25】同上の動作説明用波形図である。
【図26】第2の従来例の回路図である。
【図27】同上の動作説明用波形図である。
【図28】第3の従来例の回路図である。
【図29】同上の動作説明用波形図である。
【図30】第4の従来例の回路図である。
【符号の説明】
Vin 交流電源
F ローパスフィルタ回路
La 放電灯
L1 インダクタ
CT 駆動トランス
CT11 1次巻線
CT21, CT22 2次巻線
Q1、Q2 スイッチング素子
C1 平滑コンデンサ
TD1 トリガ素子
C3 直流カット用コンデンサ
C2、C9 コンデンサ
D10,D11 ダイオード
ZD1,ZD2 ツェナーダイオード
Tr5 トランジスタ
C20 コンデンサ
R30,R31 抵抗
1 インバータ回路
8 他制御回路
Claims (18)
- 交流電源と、該交流電源を整流する整流器と、該整流器の整流出力を平滑する平滑コンデンサと、これら整流器や平滑コンデンサで得られる直流を電源として動作し、第1,第2のスイッチング素子を直列接続して自励駆動手段により第1,第2のスイッチング素子を交互にオンオフし、このオンオフにより上記整流器の出力経路に接続された負荷及びLC共振回路を含む負荷回路に高周波の電流を流すインバータ回路と、該インバータ回路の入力側に帰還する手段とを備えるとともに、上記自励駆動手段の駆動とは独立して上記スイッチング素子のスイッチングのオンデュティ若しくはスイッチング周波数を調整する他制御手段とを具備したことを特徴とする電源装置。
- 上記平滑コンデンサを上記整流器の出力端間にダイオードを介して接続され、上記平滑コンデンサの両端には上記第1、第2のスイッチング素子の直列回路を接続し、上記整流器の出力端と上記ダイオードの接続点と、上記第1、第2のスイッチング素子の接続点との間に上記負荷回路を接続し、上記ダイオードの両端にインピーダンス要素を接続したことを特徴とする請求項1記載の電源装置。
- 上記整流器の両出力端間に、インピーダンス要素を並列接続したダイオードを介して上記第1、第2のスイッチング素子の直列回路を接続し、上記整流器の一端と上記ダイオードの接続点と、上記第1、第2のスイッチング素子の接続点との間に、直流カット用のコンデンサと、共振用インダクタ、共振用コンデンサから構成される上記負荷回路と、上記駆動手段を構成する駆動トランスの1次巻線との直列回路を挿入し、上記駆動トランスの2次出力で上記台1、第2のスイッチング素子を交互に駆動するものであって、上記第1、第2のスイッチング素子の一方と、降圧チョッパ用のインダクタを介して上記平滑コンデンサを充電する補助電源手段を備え、上記平滑コンデンサの電圧を交流電源の所定電圧以下とすることを特徴とする請求項1記載の電源装置。
- 上記整流器の両出力端間に、インピーダンス要素を並列接続したダイオードを介して上記第1、第2のスイッチング素子の直列回路を接続し、上記整流器の一端と上記ダイオードの接続点と、上記第1、第2のスイッチング素子の接続点との間に、トランスと、直流カット用のコンデンサと、共振用インダクタ、共振用コンデンサから構成される上記負荷回路と、上記駆動手段を構成する駆動トランスの1次巻線との直列回路を挿入し、上記駆動トランスの2次出力で上記台1、第2のスイッチング素子を交互に駆動するものであって、上記第1、第2のスイッチング素子の一方と、上記トランスの1次巻線とを介して上記平滑コンデンサを充電する補助電源手段を備え、上記平滑コンデンサの電圧を交流電源の所定電圧以下とすることを特徴とする請求項1記載の電源装置。
- 上記他制御手段の電源を低周波リップルを生じる高周波出力電圧に相当する電圧から取ることを特徴とする請求項1乃至4の何れか記載の電源装置。
- 上記他制御手段を、CR時定数回路と該CR時定数回路のCR時定数に応じて上記第1、第2のスイッチング素子のいずれか一方のスイッチング素子の駆動信号を引抜く少なくとも一つのスイッチ要素を含む駆動信号引抜きとで構成したことを特徴とする請求項5に記載の電源装置。
- 上記他制御手段の電源を上記LC共振回路のインダクタに設けた2次巻線からとることを特徴とする請求項6に記載の電源装置。
- 上記他制御手段の電源を上記トランスに設けた3次巻線からとることを特徴とする請求項6に記載の電源装置。
- 上記他制御手段の電源を上記駆動トランスの2次巻線から得ることを特徴とする請求項6に記載の電源装置。
- 上記第1、第2のスイッチング素子がMOSFETからなり、上記駆動トランスに設けた二つの2次巻線の一端を夫々が対応する上記スイッチング素子のソースに接続し、上記各2次巻線の他端と対応する上記スイッチング素子のゲートの問に夫々ゲート抵抗を接続し、どちらか一方のスイッチング素子側の上記駆動トランスの2次巻線の両端に上記CR時定数回路を接続したことを特徴とする請求項9に記載の電源装置。
- 上記第1、第2のスイッチング素子がMOSFETからなり、上記駆動トランスに設けた二つの2次巻線の一端を夫々が対応する上記スイッチング素子のソースに接続し、上記各2次巻線の他端と対応する上記スイッチング素子のゲートの問に夫々ゲート抵抗を接続するともに、何れかのゲート抵抗が二つの抵抗の直列回路からなりこの両抵抗の接続点と、どちらか一方のスイッチング素子のソースの間に上記CR時定数回路を接続して上記駆動信号引抜き手段を当該スイッチング素子のゲートとソースの問に接続したことを特徴とする請求項9に記載の電源装置。
- 上記負荷回路の負荷が予熱型の放電灯であり、上記CR時定数回路を第1の抵抗とコンデンサの直列回路と、上記第1の抵抗の両端に接続される第2の抵抗とスイッチ要素の直列回路とで構成するとともに、上記スイッチ要素のオン・オフを制御する制御手段を備えて、上記CR時定数回路の時定数を切り替えることを特徴とする請求項7乃至請求項11の何れか記載の電源装置。
- 上記負荷回路の負荷が予熱型の放電灯であり、上記CR時定数回路がタイマ用コンデンサを備えていることを特徴とする請求項7乃至請求項11の何れか記載の電源装置。
- 上記タイマ用コンデンサの両端に、抵抗とスイッチ要素の直列回路を接続し、上記スイッチ要素のオン・オフを制御する制御手段により、上記タイマ用コンデンサのタイマ動作を所定時間止めることを特徴とする請求項13記載の電源装置。
- 上記負荷回路の負荷が放電灯であり、他制御手段の動作タイミングが、調光信号とインバータ回路の電源電圧の大きさにより、決定されることを特徴とする請求項1記載の電源装置。
- 上記インバータ回路の電源を、上記交流電源の全波整流波形の山部と山部との谷部を埋めるような谷埋め波形の電圧を出力する谷埋め電源回路により得ることを特徴とする請求項15記載の電源装置。
- 上記負荷回路の放電灯が負荷であり、上記他制御手段の動作タイミングが、調光信号と上記インバータ回路の電源電圧を整流して得られた脈流の大きさにより決定されることを特徴とする請求項1記載の電源装置。
- 上記インバータ回路の電源を、上記交流電源の全波整流波形の山部と山部との谷部を埋めるような谷埋め波形の電圧を出力する谷埋め電源回路により得ることを特徴とする請求項17記載の電源装置。
Priority Applications (1)
| Application Number | Priority Date | Filing Date | Title |
|---|---|---|---|
| JP33511799A JP3692871B2 (ja) | 1999-11-25 | 1999-11-25 | 電源装置 |
Applications Claiming Priority (1)
| Application Number | Priority Date | Filing Date | Title |
|---|---|---|---|
| JP33511799A JP3692871B2 (ja) | 1999-11-25 | 1999-11-25 | 電源装置 |
Publications (2)
| Publication Number | Publication Date |
|---|---|
| JP2001157461A JP2001157461A (ja) | 2001-06-08 |
| JP3692871B2 true JP3692871B2 (ja) | 2005-09-07 |
Family
ID=18284969
Family Applications (1)
| Application Number | Title | Priority Date | Filing Date |
|---|---|---|---|
| JP33511799A Expired - Fee Related JP3692871B2 (ja) | 1999-11-25 | 1999-11-25 | 電源装置 |
Country Status (1)
| Country | Link |
|---|---|
| JP (1) | JP3692871B2 (ja) |
-
1999
- 1999-11-25 JP JP33511799A patent/JP3692871B2/ja not_active Expired - Fee Related
Also Published As
| Publication number | Publication date |
|---|---|
| JP2001157461A (ja) | 2001-06-08 |
Similar Documents
| Publication | Publication Date | Title |
|---|---|---|
| CN1031374C (zh) | 交直流变换器 | |
| CA2646449C (en) | Improved single stage power factor corrected power converter with reduced ac inrush | |
| JP3382012B2 (ja) | 自励式インバータ装置 | |
| US6075715A (en) | Power source device | |
| JPH0973990A (ja) | 圧電トランスを使用した冷陰極管点灯装置 | |
| US6124681A (en) | Electronic ballast for high-intensity discharge lamp | |
| JP3692871B2 (ja) | 電源装置 | |
| JP3493943B2 (ja) | 電源装置 | |
| JP3654035B2 (ja) | 電源装置 | |
| JP3758276B2 (ja) | 放電灯点灯装置 | |
| JP3806995B2 (ja) | インバータ装置 | |
| JP4547847B2 (ja) | 放電灯点灯装置 | |
| KR100716562B1 (ko) | 고압 방전등용 전자식 안정기 | |
| JP3757577B2 (ja) | 放電灯点灯装置 | |
| JP3614011B2 (ja) | インバータ装置 | |
| JP3493647B2 (ja) | 電源装置,放電灯点灯装置及び照明装置 | |
| KR200177679Y1 (ko) | 형광등용 전자식 안정기 | |
| JP2001068290A (ja) | 放電灯点灯装置 | |
| JP3649039B2 (ja) | 電源装置 | |
| JP3654067B2 (ja) | 電源装置 | |
| JPH07147778A (ja) | 電源装置 | |
| JPH10271846A (ja) | 電源装置 | |
| JPH04133297A (ja) | 電源装置 | |
| JPH10164853A (ja) | 電源装置 | |
| KR200308322Y1 (ko) | 전자식 형광등용 안정기 |
Legal Events
| Date | Code | Title | Description |
|---|---|---|---|
| A977 | Report on retrieval |
Free format text: JAPANESE INTERMEDIATE CODE: A971007 Effective date: 20050203 |
|
| A131 | Notification of reasons for refusal |
Free format text: JAPANESE INTERMEDIATE CODE: A131 Effective date: 20050208 |
|
| A521 | Written amendment |
Free format text: JAPANESE INTERMEDIATE CODE: A523 Effective date: 20050411 |
|
| TRDD | Decision of grant or rejection written | ||
| A01 | Written decision to grant a patent or to grant a registration (utility model) |
Free format text: JAPANESE INTERMEDIATE CODE: A01 Effective date: 20050531 |
|
| A61 | First payment of annual fees (during grant procedure) |
Free format text: JAPANESE INTERMEDIATE CODE: A61 Effective date: 20050613 |
|
| FPAY | Renewal fee payment (event date is renewal date of database) |
Free format text: PAYMENT UNTIL: 20090701 Year of fee payment: 4 |
|
| S533 | Written request for registration of change of name |
Free format text: JAPANESE INTERMEDIATE CODE: R313533 |
|
| FPAY | Renewal fee payment (event date is renewal date of database) |
Free format text: PAYMENT UNTIL: 20090701 Year of fee payment: 4 |
|
| R350 | Written notification of registration of transfer |
Free format text: JAPANESE INTERMEDIATE CODE: R350 |
|
| LAPS | Cancellation because of no payment of annual fees |