JP3690331B2 - 磁界検出素子及び磁界計測装置並びに磁界計測方法 - Google Patents
磁界検出素子及び磁界計測装置並びに磁界計測方法 Download PDFInfo
- Publication number
- JP3690331B2 JP3690331B2 JP2001321243A JP2001321243A JP3690331B2 JP 3690331 B2 JP3690331 B2 JP 3690331B2 JP 2001321243 A JP2001321243 A JP 2001321243A JP 2001321243 A JP2001321243 A JP 2001321243A JP 3690331 B2 JP3690331 B2 JP 3690331B2
- Authority
- JP
- Japan
- Prior art keywords
- magnetic field
- loop
- wiring
- axis direction
- detection element
- Prior art date
- Legal status (The legal status is an assumption and is not a legal conclusion. Google has not performed a legal analysis and makes no representation as to the accuracy of the status listed.)
- Expired - Fee Related
Links
- 238000000034 method Methods 0.000 title description 8
- 238000001514 detection method Methods 0.000 claims description 68
- 238000005259 measurement Methods 0.000 claims description 31
- 238000001228 spectrum Methods 0.000 claims description 23
- 238000000691 measurement method Methods 0.000 claims description 13
- 238000010586 diagram Methods 0.000 description 8
- RYGMFSIKBFXOCR-UHFFFAOYSA-N Copper Chemical compound [Cu] RYGMFSIKBFXOCR-UHFFFAOYSA-N 0.000 description 6
- 229910052802 copper Inorganic materials 0.000 description 6
- 239000010949 copper Substances 0.000 description 6
- 230000000694 effects Effects 0.000 description 3
- 238000009413 insulation Methods 0.000 description 2
- 239000000463 material Substances 0.000 description 2
- 230000003595 spectral effect Effects 0.000 description 2
- 239000000758 substrate Substances 0.000 description 2
- 239000004593 Epoxy Substances 0.000 description 1
- 230000002411 adverse Effects 0.000 description 1
- 239000011521 glass Substances 0.000 description 1
- 230000007257 malfunction Effects 0.000 description 1
Images
Classifications
-
- G—PHYSICS
- G01—MEASURING; TESTING
- G01R—MEASURING ELECTRIC VARIABLES; MEASURING MAGNETIC VARIABLES
- G01R33/00—Arrangements or instruments for measuring magnetic variables
- G01R33/02—Measuring direction or magnitude of magnetic fields or magnetic flux
- G01R33/0206—Three-component magnetometers
Landscapes
- Physics & Mathematics (AREA)
- Condensed Matter Physics & Semiconductors (AREA)
- General Physics & Mathematics (AREA)
- Measuring Magnetic Variables (AREA)
Description
【発明の属する技術分野】
この発明は、磁界検出素子及び磁界計測装置並びに磁界計測方法に係り、詳しくは、1つの磁界検出素子で3次元方向のそれぞれの磁界成分を検出する磁界検出素子及び磁界計測装置並びに磁界計測方法に関する。
【0002】
【従来の技術】
多数の受動部品、能動部品等がプリント配線基板に実装されて組み立てられたMCM(Multi-Chip-Module:マルチチップモジュール)等を含む各種電子機器の動作時に、電子機器から各部品等を発生源とした磁界が発生する。この磁界はその電子機器の周囲の近傍に存在している他の電子機器に作用して誤動作を引き起こす等の悪影響を与えるので、対策上、その近傍磁界を検出して磁界の大きさを計測する必要がある。このために、磁界検出素子が用いられる。磁界検出素子を用いて磁界の大きさを計測する場合、高精度の計測を行うには、磁界が分布しているX、Y、Z軸方向の3次元方向のそれぞれの磁界成分の大きさを計測する必要がある。
【0003】
図8は、従来の磁界検出素子を概略的に示す平面図である。同磁界検出素子50は、同図に示すように、セミリッジドケーブルループ(Semi-Rigid Cable Loop)と称されて、同軸ケーブルから成るセミリッジドケーブル51が用いられ、その先端部にはループ52が形成されている。符号53は、芯線を示している。また、図9は、従来の他の磁界検出素子を概略的に示す平面図である。同磁界検出素子55は、同図に示すように、プリント配線基板型ループと称されて、プリント配線基板56上に形成された配線57の先端部にループ58が形成されている。
【0004】
ここで、図8及び図9に示した従来の磁界検出素子50、55はいずれも、X、Y、Z軸方向の3次元方向に分布する磁界成分のうち、1つの次元方向に沿った磁界成分を検出する1次元磁界検出素子として動作する。したがって、それらの磁界検出素子50又は55を1つのみ用いてX、Y軸方向の2次元方向の磁界成分を検出する場合には、図10(a)に示すように、1つの磁界検出素子50又は55をX軸方向とY軸方向との間を空間的に90度だけ回転させる必要がある。あるいは、図10(b)に示すように、磁界検出素子50又は55を2つ用いてX軸方向及びY軸方向の両方に配置させる必要がある。さらに、磁界検出素子50又は55を1つのみ用いて3次元方向の磁界を検出する場合には、1つの磁界検出素子50又は55をX軸方向、Y軸方向及びZ軸方向の間で互いに空間的に90度だけ回転させるか、磁界検出素子50又は55をX軸方向、Y軸方向及びZ軸方向のそれぞれに3つ配置させる必要がある。
【0005】
【発明が解決しようとする課題】
ところで、従来の磁界検出素子では、2次元方向あるいは3次元方向に沿った磁界成分を検出する場合には、それぞれ次に説明するような問題がある。
まず、2次元方向に沿った磁界成分を検出する場合で、1つの磁界検出素子50又は55を用いてX軸方向とY軸方向との間を空間的に90度だけ回転させる方法は、回転角度を機械的に高精度で制御しなければならず、計測に時間を費やすので、高速計測が困難になる。また、2つの磁界検出素子50又は55を用いてX軸方向及びY軸方向の両方に配置させる方法は、各磁界検出素子のサイズの制約により互いの磁界検出素子の中心を接近させるように配置できないので、空間分解能を向上させることが困難になる。
【0006】
次に、3次元方向の磁界成分を検出する場合で、1つの磁界検出素子50又は55を用いてX軸方向、Y軸方向及びZ軸方向の間で互いに空間的に90度だけ回転させる方法は、相互の位置関係が複雑になるので、計測可能に回転角度を機械的に高精度で制御するには無理が生ずる。また、3つの磁界検出素子50又は55を用いてX軸方向、Y軸方向及びZ軸方向のそれぞれに配置させる方法は、2次元計測の場合よりもさらに各磁界検出素子のサイズの制約を受けるようになるので、空間分解能を向上させることが不可能になる。
【0007】
前述したように、各種電子機器から発生する近傍磁界の大きさを磁界検出素子を用いて計測する場合、高精度の計測を行うには、磁界が分布しているX、Y、Z軸方向の3次元方向のそれぞれの磁界成分の大きさを計測する必要があるので、複雑な制御動作を必要としないように、1つの磁界検出素子を用いるだけで、空間分解能を低下させることなく、高速で3次元方向の磁界成分を計測することができることが要望されている。
【0008】
この発明は、上述の事情に鑑みてなされたもので、空間分解能を低下させることなく、高速で3次元方向の磁界成分を計測することができるようにした磁界検出素子及び磁界計測装置並びに磁界計測方法を提供することを目的としている。
【0009】
【課題を解決するための手段】
上記課題を解決するために、請求項1記載の発明は、空間に分布しているX、Y、Z軸方向の3次元方向のそれぞれの磁界成分を検出する磁界検出素子に係り、多層プリント配線基板に、上記X軸方向に沿った磁界成分を検出する第1ループ配線と、上記Y軸方向に沿った磁界成分を検出する第2ループ配線と、上記Z軸方向に沿った磁界成分を検出する第3ループ配線とが形成され、上記第1ループ配線、上記第2ループ配線及び上記第3ループ配線が互いに直交する配置となるように形成されたことを特徴としている。
【0010】
また、請求項2記載の発明は、請求項1記載の磁界検出素子に係り、上記第1乃至第3ループ配線のうち、1つのループ配線が上記多層プリント配線基板に形成された平面配線から構成される一方、他の2つのループ配線が上記多層プリント配線基板に形成された平面配線と、上記多層プリント配線基板に上記平面配線と直交するように形成されたスルーホール配線との組み合わせから構成されたことを特徴としている。
【0011】
また、請求項3記載の発明は、請求項1又は2記載の磁界検出素子に係り、上記第1乃至第3ループ配線のそれぞれの一方の端部が、上記多層プリント配線基板に形成されたグランド配線に接続されたことを特徴としている。
【0012】
また、請求項4記載の発明は、請求項1、2又は3記載の磁界検出素子に係り、上記多層プリント配線基板に形成される配線の層数が3層以上であることを特徴としている。
【0013】
また、請求項5記載の発明は、請求項1乃至4のいずれか1に記載の磁界検出素子に係り、上記第1乃至第3ループ配線と該ループ配線に接続されるコネクタとの配線構造が、コプレーナ型、ストリップライン型あるいはマイクロストリップライン型であることを特徴としている。
【0014】
また、請求項6記載の発明は、磁界検出素子により検出されたX、Y、Z軸方向の3次元方向のそれぞれの磁界成分を計測する磁界計測装置に係り、上記X軸方向に沿った磁界成分を検出する第1ループ配線と、上記Y軸方向に沿った磁界成分を検出する第2ループ配線と、上記Z軸方向に沿った磁界成分を検出する第3ループ配線とが互いに直交する配置となるように多層プリント配線基板に形成された磁界検出素子と、上記第1乃至第3ループ配線にそれぞれ接続されて各ループ配線で検出された上記磁界成分に基づいた高周波信号を増幅する第1高周波アンプ、第2高周波アンプ及び第3高周波アンプと、上記第1乃至第3高周波アンプにそれぞれ接続されて上記第1乃至第3ループ配線で検出された磁界成分を測定する第1スペクトルアナライザ、第2スペクトルアナライザ及び第3スペクトルアナライザと、上記第1乃至第3高周波アンプ及び上記第1乃至第3スペクトルアナライザを含む全体の制御動作を行う制御手段とを備えたことを特徴としている。
【0015】
また、請求項7記載の発明は、磁界検出素子により検出されたX、Y、Z軸方向の3次元方向のそれぞれの磁界成分を計測する磁界計測装置に係り、上記X軸方向に沿った磁界成分を検出する第1ループ配線と、上記Y軸方向に沿った磁界成分を検出する第2ループ配線と、上記Z軸方向に沿った磁界成分を検出する第3ループ配線とが互いに直交する配置となるように多層プリント配線基板に形成された磁界検出素子と、上記第1乃至第3ループ配線に共通に接続されて各ループ配線で検出された上記磁界成分に基づいた高周波信号を切り替えるスイッチと、上記スイッチの切り替え動作を制御するスイッチドライバと、上記スイッチに接続されて上記各高周波信号を増幅する高周波アンプと、上記高周波アンプに接続されて上記第1乃至第3ループ配線で検出された各磁界成分を測定するスペクトルアナライザと、上記スイッチ、上記スイッチドライバ、上記高周波アンプ及び上記スペクトルアナライザを含む全体の制御動作を行う制御手段とを備えたことを特徴としている。
【0016】
また、請求項8記載の発明は、磁界検出素子により検出されたX、Y、Z軸方向の3次元方向のそれぞれの磁界成分を計測する磁界計測方法に係り、上記X軸方向に沿った磁界成分を検出する第1ループ配線と、上記Y軸方向に沿った磁界成分を検出する第2ループ配線と、上記Z軸方向に沿った磁界成分を検出する第3ループ配線とが互いに直交する配置となるように多層プリント配線基板に形成された磁界検出素子を用いて測定物に接近させる段階と、上記第1乃至第3ループ配線で検出された上記磁界成分に基づいた高周波信号を増幅する段階と、上記増幅後の高周波信号を分析することにより上記第1乃至第3ループ配線で検出されたそれぞれの磁界成分を測定する段階とを含むことを特徴としている。
【0017】
【発明の実施の形態】
以下、図面を参照して、この発明の実施の形態について説明する。説明は実施例を用いて具体的に行う。
◇第1実施例
図1は、この発明の第1実施例である磁界検出素子の構成を概略的に示す図、図2は同磁界検出素子を組み立てる多層プリント配線基板の主要部を構成する配線層を示す平面図、図3は同磁界検出素子の長さ方向に沿った構成を示す断面図、図4は同磁界検出素子の主要部の構成を示す断面図である。
この例の磁界検出素子10は、図1に示すように、多層プリント配線基板4に、X軸方向に沿った磁界成分を検出する第1ループ配線1と、Y軸方向に沿った磁界成分を検出する第2ループ配線2と、Z軸方向に沿った磁界成分を検出する第3ループ配線3とが形成され、第1ループ配線1、第2ループ配線3及び第3ループ配線4が互いに直交する配置となるように形成されている。
ここで、第1ループ配線1、第2ループ配線2及び第3ループ配線3は、具体的には、以下に説明するように絶縁層(誘電体)に形成された導電層から成る配線により構成される。
【0018】
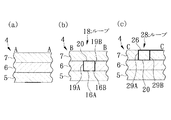
図2(a)に示すように、長さ方向に沿って小幅部5A及び大幅部5Bを有する擬似長方形状の第1絶縁層5の表面には、印刷により銅等から成る平面配線(上記表面に平面的に形成された配線)である第1層配線8が形成され、この第1層配線8は第1絶縁層5の表面の略中央部に形成された直線状の配線11と、この直線状の配線11の周囲に形成されたグランド配線12とを構成している。また、直線状の配線11の先端部にループ13が形成されて、このループ13の端部はグランド配線12に接続されている。
以上により、ともに第1絶縁層5の表面に形成された第1層配線8である直線状の配線11及びループ13によって、前述の第3ループ配線3(Z軸方向に沿った磁界成分検出用)が構成される。図4(a)は、図2(a)におけるA−A矢視断面構造を示している。また、第3ループ配線3の端子となる直線状の配線11には、コネクタ23がコプレーナ型の配線構造を構成するように接続される。なお、コネクタ23の位置は概略的に示し、実際の構造とは異なっている。
【0019】
図2(b)に示すように、長さ方向に沿って小幅部5A及び大幅部5Bを有する擬似長方形状の第1絶縁層5の他の表面には、印刷により銅等から成る平面配線である第2層配線15が形成され、この第2層配線15は第1の絶縁層5の他の表面の略中央部に形成された直線状の配線16と、この直線状の配線16の周囲に形成されたグランド配線17とを構成している。また、直線状の配線16の先端部には、後述するようなループ18の一部を構成する配線16A、16Bが形成されて、配線16Bはグランド配線17に接続されている。図4(b)は、図2(b)におけるB−B矢視断面構造を示している。図4(b)から明らかなように、第1絶縁層5上には第2絶縁層(図2では図示せず)6が積層されて、この第2絶縁層6には上記配線16A、16Bに接続されるスルーホール配線19A、19Bが形成されている。そして、第2絶縁層6の表面には、図4(b)に示すように、印刷により銅等から成る平面配線である第3層配線20が形成され、この第3層配線20は上記スルーホール配線19A、19Bを相互に接続している。
【0020】
以上により、第1絶縁層5の他の表面に形成された第2層配線15である直線状の配線16A、16Bと第2絶縁層6の表面に形成された第3層配線20及び第2絶縁層6に形成されたスルーホール配線19A、19Bによりループ18が形成され、このループ18及び直線状の配線16によって、前述の第1ループ配線1(X軸方向に沿った磁界成分検出用)が構成される。また、第1ループ配線1の端子となる直線状の配線16には、コネクタ21がコプレーナ型の配線構造を構成するように接続される。
【0021】
図2(c)に示すように、長さ方向に沿って小幅部7A及び大幅部7Bを有する擬似長方形状の第3絶縁層7の表面には、印刷により銅等から成る平面配線である第4層配線25が形成され、この第4層配線25は第3絶縁層7の表面の略中央部に形成された直線状の配線26と、この直線状の配線26の周囲に形成されたグランド配線27とを構成している。また、直線状の配線26の先端部には、後述するようなループ28の一部を構成する配線26A、26Bが形成されて、この配線26Bはグランド配線27に接続されている。
図4(c)は、図2(c)におけるC−C矢視断面構造を示している。図4(c)から明らかなように、第2絶縁層6上には第3絶縁層7が積層されて、この第3絶縁層7には上記配線26に接続されるスルーホール配線29A、29Bが形成されている。そして、第2絶縁層6の表面には、印刷により銅等から成る平面配線である第3層配線20が形成され、この第3層配線20は上記スルーホール配線29A、29Bを相互に接続している。
【0022】
以上により、第3絶縁層7の表面に形成された第4層配線25である直線状の配線26と第2絶縁層6の表面に形成された第3層配線20及び第3絶縁層7に形成されたスルーホール配線29A、29Bによりループ28が形成され、このループ28及び直線状の配線26によって、前述の第2ループ配線2(Y軸方向に沿った磁界成分検出用)が構成される。また、第2ループ配線2の端子となる直線状の配線26には、コネクタ22がコプレーナ型の配線構造を構成するように接続される。なお、図3は、第1層配線8、第2配線15、第3配線20及び第4配線25を多層プリント配線基板4に積層した構造における長さ方向に沿った構成を示している。
【0023】
この例の磁界検出素子10を構成する第1ループ配線1、第2ループ配線2及び第3ループ配線3のサイズは略等しくなるように形成される。また、各ループ配線1〜3の一方の端部は、グランド配線に共通に接続される。第1絶縁層5、第2絶縁層6及び第3絶縁層7の材料としては、例えばガラスエポキシが用いられる。また、第1層配線8、第2層配線15、第3層配線20及び第4層配線25の材料としては、例えば銅を用いて配線膜厚を5〜25μmに形成する。また、信号配線として働く各直線状の配線11、16、26の配線幅は0.1〜0.2mmに形成する。また、各ループ配線1〜3のそれぞれのループ13、18、28の開口面積は、(0.2〜0.3)mm×(0.3〜0.5)mmに形成する。また、各スルーホール配線19A、19B、29A、29Bの穴径は0.1〜0.2mmに形成する。さらに、磁界検出素子10を構成する小幅部5A、7Aの寸法は4〜6mmに、大幅部5B、7Bの寸法は18〜22mmに、長さ方向Xの寸法は70〜90mmに形成する。また、各ループ配線1〜3と各コネクタ21〜23との配線構造は、特性インピーダンスが50Ωのコプレーナ型になるように設定する。
【0024】
このように、この例の磁界検出素子10によれば、X軸方向に沿った磁界成分を検出する第1ループ配線1と、Y軸方向に沿った磁界成分を検出する第2ループ配線2と、Z軸方向に沿った磁界成分を検出する第3ループ配線3とを各ループ配線1〜3が互いに直交する配置となるように多層プリント配線基板4に形成したので、高精度の計測を行うために磁界が分布しているX、Y、Z軸方向の3次元方向のそれぞれの磁界成分を検出する場合でも、1つの磁界検出素子を用いるだけで、複雑な制御動作を不要とすることができる。
したがって、空間分解能を低下させることなく、高速で3次元方向の磁界成分を計測することができる。
【0025】
◇第2実施例
図5は、この発明の第2実施例である磁界計測装置の構成を示すブロック図である。この例の磁界計測装置は、第1の実施例である磁界検出素子を用いて構成した点を特徴としている。
この例の磁界計測装置30は、図5に示すように、X軸方向に沿った磁界成分を検出する第1ループ配線1と、Y軸方向に沿った磁界成分を検出する第2ループ配線2と、Z軸方向に沿った磁界成分を検出する第3ループ配線3とが互いに直交する配置となるように多層プリント配線基板4に形成された第1実施例の磁界検出素子10と、第1乃至第3ループ配線1〜3にそれぞれ各コネクタ21〜23を介して高周波ケーブルにより接続されて各ループ配線1〜3で検出された磁界成分に基づいた高周波信号を増幅する第1高周波アンプ31、第2高周波アンプ32及び第3高周波アンプ33と、第1乃至第3高周波アンプ31〜33にそれぞれ高周波ケーブルにより接続されて第1乃至第3ループ配線1〜3で検出された磁界成分を測定する第1スペクトルアナライザ34、第2スペクトルアナライザ35及び第3スペクトルアナライザ36と、第1乃至第3高周波アンプ31〜33及び第1乃至第3スペクトルアナライザ34〜36を含む全体の制御動作(GPIB制御:General Purpose-Interface Bus)を行うPC(Personal Computer)コントローラ(制御手段)37とを備えている。
【0026】
ここで、測定物38として、絶縁基板39上に膜厚が略20μmで、幅(X軸方向の寸法)が略0.5mmの信号配線41を形成したマイクロストリップライン配線構造を用意して、磁界検出素子10をこの測定物38に接近させるように配置する。
【0027】
このように、この例の磁界計測装置30によれば、X軸方向に沿った磁界成分を検出する第1ループ配線1と、Y軸方向に沿った磁界成分を検出する第2ループ配線2と、Z軸方向に沿った磁界成分を検出する第3ループ配線3とが互いに直交する配置となるように多層プリント配線基板4に形成された第1実施例の磁界検出素子10を用いて磁界計測装置を構成するようにしたので、1つの磁界検出素子を用いてX軸方向、Y軸方向及びZ軸方向の間で互いに空間的に90度だけ回転させるように構成したもののように相互の位置関係が複雑にならず、また3つの磁界検出素子を用いてX軸方向、Y軸方向及びZ軸方向のそれぞれに配置させるように構成したもののように各磁界検出素子のサイズの制約を受けることがなくなるため、磁界計測装置の構成を簡略化することができる。
【0028】
次に、図5を参照して、この例の磁界計測装置30を用いた磁界計測方法について説明する。
まず、測定物38であるマイクロストリップライン配線構造の信号配線41と接地との間に、電圧500mV、周波数100MHzの高周波信号42を入力した状態で、磁界検出素子10を接近させ、X軸方向に移動しながらX、Y、Z軸方向の3次元方向の磁界成分を計測した。
PCコントローラ37の制御の基に、第1乃至第3ループ配線1〜3で検出されたX、Y、Z軸方向の磁界成分に基づいた高周波信号をそれぞれ第1乃至第3高周波アンプ31〜33に入力して増幅した後、それぞれ第1乃至第3スペクトルアナライザ34〜36に入力して、X、Y、Z軸方向の3次元方向の磁界成分を計測した。これにより、図7(a)〜(c)に示すような、磁界計測結果が得られた。
【0029】
図7(a)は第1ループ配線1によって計測したX軸方向の磁界成分Hxの大きさを示し、図7(b)は第2ループ配線2によって計測したY軸方向の磁界成分Hyの大きさを示し、図7(c)は第3ループ配線3によって計測したZ軸方向の磁界成分Hzの大きさを示している。なお、図7(a)〜(c)において、縦軸はスペクトルアナライザの出力を、横軸はX軸方向の移動距離を示している。この例の磁界計測方法によれば、3次元方向の磁界成分を計測する時間は、1つの位置において略200ms(ミリセコンド)以下に短縮することができた。この点で、従来の磁界計測方法では、3次元方向のそれぞれの磁界成分の大きさを計測する必要があるので、複雑な制御動作を行わなければならず、略1秒以上の時間を費やしていた。
【0030】
このように、この例の磁界計測方法によれば、X軸方向に沿った磁界成分を検出する第1ループ配線1と、Y軸方向に沿った磁界成分を検出する第2ループ配線2と、Z軸方向に沿った磁界成分を検出する第3ループ配線3とが互いに直交する配置となるように多層プリント配線基板4に形成された第1実施例の磁界検出素子10を用いて磁界計測を行うようにしたので、3次元方向のそれぞれの磁界成分の大きさを同時に計測することができるため、高速で計測することができる。
【0031】
◇第3実施例
図6は、この発明の第3実施例である磁界計測装置の構成を示すブロック図である。この第3実施例の磁界計測装置の構成が、上述の第2実施例のそれと大きく異なるところは、高周波アンプ及びスペクトルアナライザの共通化を図るようにした点である。
この例の磁界計測装置40は、図6に示すように、X軸方向に沿った磁界成分を検出する第1ループ配線1と、Y軸方向に沿った磁界成分を検出する第2ループ配線2と、Z軸方向に沿った磁界成分を検出する第3ループ配線3とが互いに直交する配置となるように多層プリント配線基板4に形成された磁界検出素子10と、第1乃至第3ループ配線1〜3にそれぞれ各コネクタ21〜23を介して高周波ケーブルにより共通に接続されて各ループ配線1〜3で検出された磁界成分に基づいた高周波信号を切り替えるスイッチ43と、スイッチ43の切り替え動作を制御するスイッチドライバ44と、スイッチ43に高周波ケーブルにより接続されて各ループ配線1〜3で検出された磁界成分に基づいた高周波信号を増幅する高周波アンプ45と、高周波アンプ45に高周波ケーブルにより接続されて第1乃至第3ループ配線1〜3で検出された各磁界成分を測定するスペクトルアナライザ46と、スイッチ43、スイッチドライバ44、高周波アンプ45及びスペクトルアナライザ46を含む全体の制御動作を行うPCコントローラ37とを備えている。
【0032】
このように、この例の磁界計測装置40によれば、第2実施例の構成の磁界計測装置30に比較して、1つの高周波アンプ45及び1つのスペクトルアナライザ46を用いて、高周波アンプ及びスペクトルアナライザの共通化を図るようにしたので、磁界計測装置の構成をより簡略化することができる。
【0033】
次に、図6を参照して、この例の磁界計測装置40を用いた磁界計測方法について説明する。
前述の磁界計測方法と同様に、測定物38であるマイクロストリップライン配線構造の信号配線41と接地との間に、電圧500mV、周波数100MHzの高周波信号42を入力した状態で、磁界検出素子10を接近させ、X軸方向に移動しながらX、Y、Z軸方向の3次元方向の磁界成分を計測した。
PCコントローラ37の制御の基に、第1乃至第3ループ配線1〜3で検出されたX、Y、Z軸方向の磁界成分に基づいた高周波信号をスイッチ43で切り替えてそれぞれ高周波アンプ45に入力して増幅した後、それぞれスペクトルアナライザ46に入力して、X、Y、Z軸方向の3次元方向の磁界成分を計測した。これにより、前述の磁界計測方法と略同様に、図7(a)〜(c)に示すような、磁界計測結果が得られた。
【0034】
このように、この例の構成によっても、第2実施例において述べたのと略同様な効果を得ることができる。
【0035】
以上、この発明の実施例を図面により詳述してきたが、具体的な構成はこの実施例に限られるものではなく、この発明の要旨を逸脱しない範囲の設計の変更等があってもこの発明に含まれる。例えば、実施例では、第1層配線を利用して第3ループ配線を形成し、第3層配線及び第4層配線を利用して第2ループ配線を形成し、さらに第2層配線及び第3層配線を利用して第1ループ配線を形成する例で説明したが、多層プリント配線基板に互いに直交する配置となるように第1乃至第3ループ配線が形成されている構成になっていれば、配線の層数あるいは絶縁層の層数等は特に限定されない。また、各ループ配線に接続されるコネクタとの配線構造は、特性インピーダンスが50Ωに設定されていれば、コプレーナ型に限らずストリップライン型、あるいはマイクロストリップライン型を用いることができる。また、各配線膜厚、配線幅、各ループ配線のループの開口面積等の値は一例を示したものであり、用途、目的等によって変更することができる。
【0036】
【発明の効果】
以上説明したように、この発明の磁界検出素子によれば、X軸方向に沿った磁界成分を検出する第1ループ配線と、Y軸方向に沿った磁界成分を検出する第2ループ配線と、Z軸方向に沿った磁界成分を検出する第3ループ配線とを各ループ配線が互いに直交する配置となるように多層プリント配線基板に形成したので、高精度の計測を行うために磁界が分布しているX、Y、Z軸方向の3次元方向のそれぞれの磁界成分を検出する場合でも、1つの磁界検出素子を用いるだけで、複雑な制御動作を不要とすることができる。
また、この発明の磁界計測装置によれば、X軸方向に沿った磁界成分を検出する第1ループ配線と、Y軸方向に沿った磁界成分を検出する第2ループ配線と、Z軸方向に沿った磁界成分を検出する第3ループ配線とが互いに直交する配置となるように多層プリント配線基板に形成された磁界検出素子を用いて磁界計測装置を構成するようにしたので、磁界計測装置の構成を簡略化することができる。また、この発明の磁界計測方法によれば、X軸方向に沿った磁界成分を検出する第1ループ配線と、Y軸方向に沿った磁界成分を検出する第2ループ配線と、Z軸方向に沿った磁界成分を検出する第3ループ配線とが互いに直交する配置となるように多層プリント配線基板に形成された磁界検出素子を用いて磁界計測を行うようにしたので、3次元方向のそれぞれの磁界成分の大きさを同時に計測することができる
したがって、空間分解能を低下させることなく、高速で3次元方向の磁界成分を計測することができる。
【図面の簡単な説明】
【図1】この発明の第1実施例である磁界検出素子の構成を概略的に示す図である。
【図2】同磁界検出素子を組み立てる多層プリント配線基板の主要部を構成する配線層を示す平面図である。
【図3】同磁界検出素子の長さ方向に沿った構成を示す断面図である。
【図4】同磁界検出素子の主要部の構成を示す断面図である。
【図5】この発明の第2実施例である磁界計測装置の構成を示すブロック図である。
【図6】この発明の第3実施例である磁界計測装置の構成を示すブロック図である。
【図7】この発明の磁界計測方法によって得られた磁界計測結果を示す図である。
【図8】従来の磁界検出素子を概略的に示す平面図である。
【図9】従来の磁界検出素子を概略的に示す平面図である。
【図10】従来の磁界検出素子を用いて複数の次元の磁界成分を検出する方法を概略的に示す図である。
【符号の説明】
1 第1ループ配線(X軸方向に沿った磁界成分検出用)
2 第2ループ配線(Y軸方向に沿った磁界成分検出用)
3 第3ループ配線(Z軸方向に沿った磁界成分検出用)
4 多層プリント配線基板
5 第1絶縁層
5A、7A 小幅部
5B、7B 大幅部
6 第2絶縁層
7 第3絶縁層
8 第1層配線
10 磁界検出素子
11、16、26 直線状の配線
12、17、27 グランド配線
13、18、28 ループ
15 第2層配線
19A、19B、29A、29B スルーホール配線
20 第3層配線
21〜23 コネクタ
25 第4層配線
30、40 磁界計測装置
31〜33、45 高周波アンプ
34〜36、46 スペクトルアナライザ
37 PCコントローラ
38 測定物
41 信号配線
42 高周波信号(入力電圧)
43 スイッチ
44 スイッチドライバ
Claims (8)
- 空間に分布しているX、Y、Z軸方向の3次元方向のそれぞれの磁界成分を検出する磁界検出素子であって、
多層プリント配線基板に、前記X軸方向に沿った磁界成分を検出する第1ループ配線と、前記Y軸方向に沿った磁界成分を検出する第2ループ配線と、前記Z軸方向に沿った磁界成分を検出する第3ループ配線とが形成され、前記第1ループ配線、前記第2ループ配線及び前記第3ループ配線が互いに直交する配置となるように形成されたことを特徴とする磁界検出素子。 - 前記第1乃至第3ループ配線のうち、1つのループ配線が前記多層プリント配線基板に形成された平面配線から構成される一方、他の2つのループ配線が前記多層プリント配線基板に形成された平面配線と、前記多層プリント配線基板に前記平面配線と直交するように形成されたスルーホール配線との組み合わせから構成されたことを特徴とする請求項1記載の磁界検出素子。
- 前記第1乃至第3ループ配線のそれぞれの一方の端部が、前記多層プリント配線基板に形成されたグランド配線に接続されたことを特徴とする請求項1又は2記載の磁界検出素子。
- 前記多層プリント配線基板に形成される配線の層数が3層以上であることを特徴とする請求項1、2又は3記載の磁界検出素子。
- 前記第1乃至第3ループ配線と該ループ配線に接続されるコネクタとの配線構造が、コプレーナ型、ストリップライン型あるいはマイクロストリップライン型であることを特徴とする請求項1乃至4のいずれか1に記載の磁界検出素子。
- 磁界検出素子により検出されたX、Y、Z軸方向の3次元方向のそれぞれの磁界成分を計測する磁界計測装置であって、
前記X軸方向に沿った磁界成分を検出する第1ループ配線と、前記Y軸方向に沿った磁界成分を検出する第2ループ配線と、前記Z軸方向に沿った磁界成分を検出する第3ループ配線とが互いに直交する配置となるように多層プリント配線基板に形成された磁界検出素子と、
前記第1乃至第3ループ配線にそれぞれ接続されて各ループ配線で検出された前記磁界成分に基づいた高周波信号を増幅する第1高周波アンプ、第2高周波アンプ及び第3高周波アンプと、
前記第1乃至第3高周波アンプにそれぞれ接続されて前記第1乃至第3ループ配線で検出された磁界成分を測定する第1スペクトルアナライザ、第2スペクトルアナライザ及び第3スペクトルアナライザと、
前記第1乃至第3高周波アンプ及び前記第1乃至第3スペクトルアナライザを含む全体の制御動作を行う制御手段と、
を備えたことを特徴とする磁界計測装置。 - 磁界検出素子により検出されたX、Y、Z軸方向の3次元方向のそれぞれの磁界成分を計測する磁界計測装置であって、
前記X軸方向に沿った磁界成分を検出する第1ループ配線と、前記Y軸方向に沿った磁界成分を検出する第2ループ配線と、前記Z軸方向に沿った磁界成分を検出する第3ループ配線とが互いに直交する配置となるように多層プリント配線基板に形成された磁界検出素子と、
前記第1乃至第3ループ配線に共通に接続されて各ループ配線で検出された前記磁界成分に基づいた高周波信号を切り替えるスイッチと、
前記スイッチの切り替え動作を制御するスイッチドライバと、
前記スイッチに接続されて前記各高周波信号を増幅する高周波アンプと、
前記高周波アンプに接続されて前記第1乃至第3ループ配線で検出された各磁界成分を測定するスペクトルアナライザと、
前記スイッチ、前記スイッチドライバ、前記高周波アンプ及び前記スペクトルアナライザを含む全体の制御動作を行う制御手段と、
を備えたことを特徴とする磁界計測装置。 - 磁界検出素子により検出されたX、Y、Z軸方向の3次元方向のそれぞれの磁界成分を計測する磁界計測方法であって、
前記X軸方向に沿った磁界成分を検出する第1ループ配線と、前記Y軸方向に沿った磁界成分を検出する第2ループ配線と、前記Z軸方向に沿った磁界成分を検出する第3ループ配線とが互いに直交する配置となるように多層プリント配線基板に形成された磁界検出素子を用いて測定物に接近させる段階と、
前記第1乃至第3ループ配線で検出された前記磁界成分に基づいた高周波信号を増幅する段階と、
前記増幅後の高周波信号を分析することにより前記第1乃至第3ループ配線で検出されたそれぞれの磁界成分を測定する段階と、
を含むことを特徴とする磁界計測方法。
Priority Applications (2)
| Application Number | Priority Date | Filing Date | Title |
|---|---|---|---|
| JP2001321243A JP3690331B2 (ja) | 2001-10-18 | 2001-10-18 | 磁界検出素子及び磁界計測装置並びに磁界計測方法 |
| US10/263,196 US20030076094A1 (en) | 2001-10-18 | 2002-10-03 | Magnetic field detection device and magnetic field measurement apparatus |
Applications Claiming Priority (1)
| Application Number | Priority Date | Filing Date | Title |
|---|---|---|---|
| JP2001321243A JP3690331B2 (ja) | 2001-10-18 | 2001-10-18 | 磁界検出素子及び磁界計測装置並びに磁界計測方法 |
Publications (2)
| Publication Number | Publication Date |
|---|---|
| JP2003121519A JP2003121519A (ja) | 2003-04-23 |
| JP3690331B2 true JP3690331B2 (ja) | 2005-08-31 |
Family
ID=19138492
Family Applications (1)
| Application Number | Title | Priority Date | Filing Date |
|---|---|---|---|
| JP2001321243A Expired - Fee Related JP3690331B2 (ja) | 2001-10-18 | 2001-10-18 | 磁界検出素子及び磁界計測装置並びに磁界計測方法 |
Country Status (2)
| Country | Link |
|---|---|
| US (1) | US20030076094A1 (ja) |
| JP (1) | JP3690331B2 (ja) |
Families Citing this family (6)
| Publication number | Priority date | Publication date | Assignee | Title |
|---|---|---|---|---|
| WO2004017102A2 (en) * | 2002-08-16 | 2004-02-26 | Brown University Research Foundation | Scanning magnetic microscope having improved magnetic sensor |
| JP4481578B2 (ja) * | 2003-02-28 | 2010-06-16 | パナソニック株式会社 | 電磁波測定装置およびその方法 |
| KR100653931B1 (ko) | 2005-01-17 | 2006-12-05 | 주식회사 이엠에프 세이프티 | 극저주파 소형 3축 자계 측정 프로브 |
| US9157943B2 (en) * | 2010-08-13 | 2015-10-13 | Tektronix, Inc. | Multi-channel frequency domain test and measurement instrument |
| CN103760502B (zh) * | 2014-01-29 | 2016-04-13 | 北京理工大学 | 一种超高速碰撞磁场三维磁感应强度测量线圈 |
| CN114582648A (zh) * | 2022-02-28 | 2022-06-03 | 维沃移动通信有限公司 | 一种电子设备 |
Family Cites Families (13)
| Publication number | Priority date | Publication date | Assignee | Title |
|---|---|---|---|---|
| DE3738455A1 (de) * | 1986-11-25 | 1988-06-01 | Landis & Gyr Ag | Anordnung zum messen eines flussarmen magnetfeldes |
| EP0742906B1 (de) * | 1994-01-31 | 1998-09-23 | Fraunhofer-Gesellschaft zur Förderung der angewandten Forschung e.V. | Verwendung einer miniaturisierten spulenanordnung hergestellt in planartechnologie zur detektion von ferromagnetischen stoffen |
| US5446307A (en) * | 1994-11-04 | 1995-08-29 | The United States Of America As Represented By The Secretary Of The Army | Microelectronic 3D bipolar magnetotransistor magnetometer |
| US6483304B1 (en) * | 1997-03-13 | 2002-11-19 | Ricoh Company, Ltd. | Magnetic field probe having a shielding and isolating layers to protect lead wires extending between a coil and pads |
| JPH1123683A (ja) * | 1997-06-27 | 1999-01-29 | Shimadzu Corp | 2軸フラックスゲート型磁気センサ |
| DE19755534B4 (de) * | 1997-12-13 | 2005-05-25 | International Business Machines Corp. | Verfahren und Vorrichtung zur Messung der Verteilung von Magnetfeldern |
| US6275034B1 (en) * | 1998-03-11 | 2001-08-14 | Analog Devices Inc. | Micromachined semiconductor magnetic sensor |
| ATE308761T1 (de) * | 1998-03-30 | 2005-11-15 | Sentron Ag | Magnetfeldsensor |
| US6304082B1 (en) * | 1999-07-13 | 2001-10-16 | Honeywell International Inc. | Printed circuit boards multi-axis magnetometer |
| US6429763B1 (en) * | 2000-02-01 | 2002-08-06 | Compaq Information Technologies Group, L.P. | Apparatus and method for PCB winding planar magnetic devices |
| JP2002040117A (ja) * | 2000-07-21 | 2002-02-06 | Delta Tooling Co Ltd | 面状磁気センサ及び多次元磁場解析用面状磁気センサ |
| KR100860281B1 (ko) * | 2000-08-04 | 2008-09-25 | 미츠비시 마테리알 가부시키가이샤 | 안테나 |
| US6529019B1 (en) * | 2000-10-23 | 2003-03-04 | Agilent Technologies, Inc. | Multiple axis magnetic test for open integrated circuit pins |
-
2001
- 2001-10-18 JP JP2001321243A patent/JP3690331B2/ja not_active Expired - Fee Related
-
2002
- 2002-10-03 US US10/263,196 patent/US20030076094A1/en not_active Abandoned
Also Published As
| Publication number | Publication date |
|---|---|
| JP2003121519A (ja) | 2003-04-23 |
| US20030076094A1 (en) | 2003-04-24 |
Similar Documents
| Publication | Publication Date | Title |
|---|---|---|
| EP3508864B1 (en) | Offset current sensor structure | |
| US6480395B1 (en) | Device and method for interstitial components in a printed circuit board | |
| JP2015521745A (ja) | 電流測定のための装置 | |
| JP3690331B2 (ja) | 磁界検出素子及び磁界計測装置並びに磁界計測方法 | |
| US6483304B1 (en) | Magnetic field probe having a shielding and isolating layers to protect lead wires extending between a coil and pads | |
| US6844725B2 (en) | Electric and magnetic field detection device and electric and magnetic field measurement apparatus | |
| JP3139478B2 (ja) | Icソケット | |
| JP5418424B2 (ja) | 電磁界プローブ | |
| US7298155B2 (en) | Probing apparatus | |
| JP3559158B2 (ja) | 近磁界プローブによる電磁ノイズ測定装置及び電磁ノイズ測定方法 | |
| US6103978A (en) | Printed wiring board having inner test-layer for improved test probing | |
| JP2943793B1 (ja) | 磁界検出装置および磁界分布測定装置 | |
| CN120254720A (zh) | 一种三轴霍尔传感结构 | |
| JP3506896B2 (ja) | 近磁界プローブ及び近磁界プローブユニット及び近磁界プローブアレー及び磁界計測システム | |
| JP2011024168A (ja) | ループアンテナおよび磁界プローブ | |
| JP2017049010A (ja) | 電磁界プローブ | |
| JP5207950B2 (ja) | 磁界計測アレイセンサ | |
| CN119716170A (zh) | 一种探头主体、电场探头及探测系统 | |
| JP3606546B2 (ja) | 高空間分解能の近磁界プローブまたは近磁界プローブシステム | |
| JP4694035B2 (ja) | 配線構造基板 | |
| CN118837800B (zh) | 一种高密度布局的三轴宽频带磁场传感器及其制备方法 | |
| JP2001320137A (ja) | 電子装置搭載機器 | |
| US7126155B1 (en) | S-parameter power plane probe coupon | |
| CN219497083U (zh) | 信号输出电路的pcb板、量子测控系统及量子计算机 | |
| JP3436183B2 (ja) | 半導体検査装置およびそれを用いた検査方法 |
Legal Events
| Date | Code | Title | Description |
|---|---|---|---|
| A977 | Report on retrieval |
Free format text: JAPANESE INTERMEDIATE CODE: A971007 Effective date: 20050330 |
|
| TRDD | Decision of grant or rejection written | ||
| A01 | Written decision to grant a patent or to grant a registration (utility model) |
Free format text: JAPANESE INTERMEDIATE CODE: A01 Effective date: 20050524 |
|
| A61 | First payment of annual fees (during grant procedure) |
Free format text: JAPANESE INTERMEDIATE CODE: A61 Effective date: 20050606 |
|
| R150 | Certificate of patent or registration of utility model |
Free format text: JAPANESE INTERMEDIATE CODE: R150 |
|
| FPAY | Renewal fee payment (event date is renewal date of database) |
Free format text: PAYMENT UNTIL: 20080624 Year of fee payment: 3 |
|
| FPAY | Renewal fee payment (event date is renewal date of database) |
Free format text: PAYMENT UNTIL: 20090624 Year of fee payment: 4 |
|
| FPAY | Renewal fee payment (event date is renewal date of database) |
Free format text: PAYMENT UNTIL: 20100624 Year of fee payment: 5 |
|
| FPAY | Renewal fee payment (event date is renewal date of database) |
Free format text: PAYMENT UNTIL: 20100624 Year of fee payment: 5 |
|
| FPAY | Renewal fee payment (event date is renewal date of database) |
Free format text: PAYMENT UNTIL: 20110624 Year of fee payment: 6 |
|
| FPAY | Renewal fee payment (event date is renewal date of database) |
Free format text: PAYMENT UNTIL: 20110624 Year of fee payment: 6 |
|
| FPAY | Renewal fee payment (event date is renewal date of database) |
Free format text: PAYMENT UNTIL: 20120624 Year of fee payment: 7 |
|
| FPAY | Renewal fee payment (event date is renewal date of database) |
Free format text: PAYMENT UNTIL: 20120624 Year of fee payment: 7 |
|
| FPAY | Renewal fee payment (event date is renewal date of database) |
Free format text: PAYMENT UNTIL: 20130624 Year of fee payment: 8 |
|
| LAPS | Cancellation because of no payment of annual fees |