JP3679059B2 - バラントランス - Google Patents
バラントランス Download PDFInfo
- Publication number
- JP3679059B2 JP3679059B2 JP2002010610A JP2002010610A JP3679059B2 JP 3679059 B2 JP3679059 B2 JP 3679059B2 JP 2002010610 A JP2002010610 A JP 2002010610A JP 2002010610 A JP2002010610 A JP 2002010610A JP 3679059 B2 JP3679059 B2 JP 3679059B2
- Authority
- JP
- Japan
- Prior art keywords
- distributed constant
- line
- strip
- constant line
- lines
- Prior art date
- Legal status (The legal status is an assumption and is not a legal conclusion. Google has not performed a legal analysis and makes no representation as to the accuracy of the status listed.)
- Expired - Fee Related
Links
Images
Landscapes
- Coils Or Transformers For Communication (AREA)
Description
【0001】
【発明の属する技術分野】
この発明はバラントランスに関し、特にたとえばUHF帯以上の高周波回路における伝送線路のインピーダンスを変換するためのインピーダンス変換器や平衡伝送線路の信号及び不平衡伝送線路の信号を相互に変換するための信号変換器、位相変換器などに用いる積層型バラントランスに関する。
【0002】
【従来の技術】
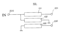
従来のバラントランス100の構造を図7に示す。従来のバラントランス100は特開平10−163715公報に記載されているように、3本のλ/4の分布定数線路101、102、103が順次互いに平行に並べて隣接する分布定数線路101、102、103同士が電磁界結合可能に配置されていた。その接続としては、分布定数線路101の一端が入力端子200に接続され、分布定数線路101、102の一端が接続され、分布定数線路102の他端と分布定数線路103の一端を接地し、分布定数線路101の他端を信号出力端子201と接続し、分布定数線路103の他端を信号出力端子202と接続してなる。
【0003】
そして、上述の構成により入力端子200から信号が入力されると、一部が分布定数線路101と分布定数線路102との電磁界結合により信号出力端子201から出力されるとともに、一部は分布定数線路102と分布定数線路103との電磁界結合により信号出力端子202から信号が出力され、この時の信号出力端子201、202から出力される信号の位相は、互いに180度ずれたものになる。このようにして、信号のレベルが略等しく位相が180度ずれた2つの信号に分けられるものである。
【0004】
【発明が解決しようとする課題】
しかしながら、従来のバラントランス100において、分布定数線路101と分布定数線路103に電磁界結合するのが分布定数線路102で共通となっており、設計においても、ストリップライン間で一方の電磁界結合状態を決定しても同じような他方の電磁界結合状態を得るように設計するのは難しかった。
【0005】
しかも、バラントランスの本来の特性である信号出力端子201および202から出力されるAmplitude Balance(出力レベルの差)が0に近くなるように設計するのも困難であった。即ち、図5(a)に信号出力端子201、202の2つ出力信号のレベル差を示すが、例えば、2.2〜2.6GHzの周波数帯において使用する場合、周波数帯が2.1GHzでは2つ出力信号のレベル差が1.2dBと大きな信号レベル差があり、2.5GHzでは0.8dBと略レベルが等しい出力信号が得られるといったように周波数のバラツキがあり、バラントランスを製造する製造バラツキによって2つ出力信号のレベル差が異なりすぎるというバラントランスの特性の問題点を有していた。
【0006】
また、近年、開発されているバラントランスは、バラントランス単独のチップ部品として利用されるものではなく、フィルタ等と合わせたモジュール製品として利用されるために、近年の電子機器の小型化要求に伴い、モジュール製品も小型化する必要があり、上述のようなバラントランスの特性を維持しつつ、小型、薄型化できる構造が望まれていた。
【0007】
本発明は上述の問題点に鑑みて案出されたものであり、その目的は、ストリップライン間の結合レベルの調整を容易にするとともに、何れの周波数でも2つ出力信号のレベル差を小さくでき、かつ、一定の出力レベル差を得ることができ、薄型化で信頼性の高いバラントランスを提供することにある。
【0008】
【課題を解決するための手段】
上述の課題を解決するために本発明は、第1〜第4の分布定数線路を有し、前記第1の分布定数線路の一端を信号入力端子とし、前記第1〜第3の分布定数線路の一端を互いに接続し、前記第2、第3の分布定数線路の他端と前記第4の分布定数線路の一端をともに接地し、前記第1の分布定数線路の他端を第1の信号出力端子とし、前記第4の分布定数線路の他端を第2の信号出力端子としてなり、
前記第1の分布定数線路と第2の分布定数線路とが電磁界結合可能に互いに対向し、かつ前記第3の分布定数線路と第4の分布定数線路とが電磁界結合可能に互いに対向して配設されていることを特徴とするバラントランスを提供する。
【0009】
また、誘電体層が複数積層された積層体を形成し、前記誘電体層間に前記第1の分布定数線路と第4の分布定数線路とを配置し、かつ、当該誘電体層間とは異なる誘電体層間に前記第2の分布定数線路と第3の分布定数線路とを配置していることを特徴とする請求項1記載のバラントランスを提供する。
【作用】
従来、入力端子に接続した分布定数線路は第1の出力端子に接続した分布定数線路と第2の出力端子に接続した分布定数線路とが共通の1本の分布定数線路に電磁界結合可能に配置していた。これに対して本発明では、入力端子に接続した分布定数線路を、2本の第2、第3の分布定数線路に増加して、第1の出力信号端子に接続する第1の分布定数線路は第2の分布定数線路に互いに電磁界結合可能に、また、第2の出力信号端に接続する第4の分布定数線路は第3の分布定数線路に互いに電磁界結合可能に配置している。
【0010】
従って、各第1、第2の分布定数線路間の電磁界結合と第3、第4の分布定数線路間での電磁界結合の調整が容易にできる。また、何れの周波数でも2つ出力信号のレベル差を小さくでき、かつ、一定の出力レベルを得ることができるものである。
【0011】
【発明の実施の形態】
本発明の実施の形態を図面により説明する。
図1はこの発明のバラントランスの構成を示す等価回路図である。
【0012】
本発明のバラントランスは、分布定数線路1〜4を平行に配置してなる。
分布定数線路1〜4は、図1に示すように分布定数線路1の一端を信号入力端子INとしている。また、分布定数線路1〜3の一端が互いに接続されている。また、分布定数線路2、3の他端と分布定数線路4の一端をともに接地している。さらに、分布定数線路1の他端を信号出力端子OUT1とし、分布定数線路4の他端を信号出力端子OUT2としている。
【0013】
そして、分布定数線路1と分布定数線路2は互いに電磁界結合M1がされるように対向して配設されている。その電磁界結合部分は互いにλ/4の長さに設定されている。一方、分布定数線路3と分布定数線路4とが互いに電磁界結合M2がされるように対向して配設されており、その電磁界結合部分が互いにλ/4の長さに設定されている。
【0014】
このバラントランスでは、信号入力端子INから信号が入力されると、一部は分布定数線路1、2が互いに電磁界結合M1され信号出力端子OUT1から所定の信号が出力される。また、一部は分布定数線路3、4が互いに電磁界結合M2され信号出力端子OUT2から所定の信号が出力される。このとき、信号出力端子OUT1、2から出力される信号のレベルが等しくなるように、分布定数線路1、2の幅、間隔等と分布定数線路3、4の幅、間隔等を適宜設定する。そして、この信号出力端子OUT1、2から出力される信号の位相は、互いに180度ずれたものになる。このようにして、信号のレベルが等しく位相が180度ずれた2つの信号に分けられることになる。
【0015】
次に本発明のバラントランスを積層型の誘電体層内に形成した場合について説明する。図2は積層型のバラントランス10が用いられるチップ型電子部品の全体構造を示す斜視図、図3はその分解斜視図である。
【0016】
バラントランス10は、主に、積層体11と、積層体11の側面の厚み方向に向けて形成した端子電極15a〜15fと、積層体11の内部に形成した分布定数線路であるストリップライン31〜34とからなる。
【0017】
積層体1は誘電体層12a〜12gを順次積層してなる。その材質としては、誘電体セラミック材料と低温焼成化を可能とする酸化物や低融点ガラス材料とから構成されている。具体的には、誘電体セラミック材料とは、例えば、BaO−TiO2系、Ca−TiO2系、MgO−TiO2系等があり、低温焼成化するための酸化物としては、BiVO4、CuO、Li2O、B2O3等がある。
【0018】
次に誘電体層12a〜12gの各層間の内部構造を具体的に説明する。
一番上に積層される誘電体層12aの一方主面には、略全面にアース電極40が形成され、ビアホール導体50と接続されている。また、アース電極40から誘電体基板12aの全端面に向かって、4つの引出電極41、42、43、44が形成され、各端子電極15a、15c、15e、15gに接続されている。
【0019】
誘電体層12a、12bの層間には、渦巻状に形成されたストリップライン31が配置されている。ストリップライン31においては、その外側端部は誘電体層12bの端面側に形成した引出電極36が形成されて、信号出力端子(OUT2)となる端子電極15bに接続される。なお、ストリップライン31の中心側端部はビアホール導体50を介し誘電体層12a上に形成したアース電極40に接続されている。
【0020】
誘電体層12b、12cの層間には、渦巻状に形成されたストリップライン32が配置されている。なお、ストリップライン32の中心側端部はビアホール導体51を介し後述する誘電体層12d上に形成した入力電極線路35に接続されている。また、ストリップライン32の外側端部は誘電体層12cの端面側に向かって、引出電極37が形成され、アース電位となる端子電極15cに接続されている。
【0021】
誘電体層12c、12dの層間には、L字状に形成された入力電極線路35が配置され、その先端側がビアホール導体51を介しストリップライン32の中心側端部と接続されている。なお、誘電体層12d上に形成した入力電極線路35は後述するビアホール導体51、53を介し後述するストリップライン33、34の各中心側端部と接続されている。
【0022】
誘電体層12d、12eの層間には、渦巻状に形成されたストリップライン33が配置されている。ストリップライン33の中心側端部は前述したビアホール導体51を介し入力電極線路35に接続されている。また、ストリップライン33の外側端部は誘電体層12dの端面側に向かって、引出電極38が形成され、アース電位となる端子電極15cに接続されている。
【0023】
誘電体層12e、12fの層間には、渦巻状に形成されたストリップライン34が配置されている。ストリップライン34の外側端部は誘電体層12fの端面側に向かって引出電極39が形成され、信号出力端子(OUT1)となる端子電極15hに接続される。
【0024】
さらに誘電体層12fと最下部の誘電体基板12gの層間には、略全面にアース電極45が形成されている。なお、アース電極45からは誘電体基板12gの全端面に向かって、4つの引出電極46、47、48、49が形成され、アース電位となる各端子電極15a、15c、15e、15gに夫々接続されている。
【0025】
ここで4本のストリップライン31、32、33、34は略λ/4の長さに設定されており、各ストリップライン31〜34の夫々電磁界結合する部分を略λ/4となるように設定している。
アース電極40、45、引出電極41〜44、46〜49、ストリップライン31〜34、ビアホール導体50、51は導電性ペーストを各誘電体層12a〜12gに印刷して形成されるが、導電性ペーストの材質としては、Ag、Cuなどを主成分とする導体材料(Ag単体もしくはAg−Pd、Ag−PtなどのAg合金、又はCu単体もしくはCu合金)が用いられる。
【0026】
本発明のバラントランス10によれば、従来、入力端子となる端子電極15dに接続されたストリップラインが1本であったのを、互いに異なる誘電体層に形成したストリップライン32とストリップライン33の2つに増加させている。そして、ストリップライン32と端子電極15b(OUT2)に接続するストリップライン31とが電磁界結合M1し、また、ストリップライン33と端子電極15h(OUT1)に接続するストリップライン34とが電磁界結合M2するように配置している。従って、各ストリップライン31,32間とストリップライン33、34間で電磁界結合の調整が容易にでき、何れの周波数でも2つ出力信号のレベル差を小さくできる。また、一定の出力レベル差を得ることができるものである。
【0027】
また、ストリップライン31,32とその下側に形成したストリップライン33,34とは誘電体層12dを介して形成されている。即ち、電磁結合による信号出力を形成するストリップライン31,32とストリップライン33,34の互いの距離が誘電体層12dを介在させて遠くなるように形成し、ストリップライン31,32からストリップライン33,34への相互干渉を抑えることができる。また、ストリップライン31,32とストリップライン33,34の互いの距離を遠くなるように形成する誘電体層12dに入力電極線路35を形成しても良い。距離を遠ざけるために形成する誘電体層12dを利用して入力電極線路35を形成しているので、わざわざ入力電極線路35用に誘電体層を積層する必要がなく電子部品の低背化が可能となる。
【0028】
また、ストリップライン31〜34の内、少なくとも1つのストリップラインを複数の誘電体層に分割して形成し、分割されたストリップラインはビアホール導体または外部接続により接続されたストリップラインを形成する事により、信号出力端子OUT1、2となる端子電極15b、15hからの出力信号のレベルを調節することが容易になる。
【0029】
例えば、図4に図2中の誘電体層12fに形成されているストリップライン34を誘電体層12fと誘電体層12f’との2層に分割した場合の図を示す。ストリップライン34は中心側部分34aと外側部分34bとがビアホール導体52を介して接続されている。この分割され出力される信号のレベルはストリップライン31とストリップライン32との電磁界結合レベル及びストリップライン33とストリップライン34との電磁界結合レベルによって決定される。このようにストリップライン34を2層に分割する事によって、分割されたストリップライン34の中心側端部が存在しているストリップライン長と外側端部が存在しているストリップライン長の割合により、ストリップライン33とストリップライン34との電磁界結合レベルの調整し、これにより、ストリップライン31、32とストリップライン33、34の夫々の電磁界結合レベルが調整され、信号のレベルが等しく位相が180度ずれた2つの信号を出力できる。
なお、ストリップライン34を2層に分割したが、これに限定されず、ストリップライン31〜34の何れかを分割しても構わない。また、分割の数を2つで説明したが、これに限定されず、2つ以上行っても構わない。
【0030】
なお、特に信号出力端子OUT2に電磁界結合するストリップライン33、34の何れかを分割すると良い。即ち、上述のように各々の電磁界結合の結合レベル調節は、ストリップライン31〜34の何れを分割しても可能であるが、ストリップライン31、32は電磁界結合が主だった結合であるのに対し、ストリップライン33、34は電気的接続による結合と電磁界結合の和となる結合状態であり、ストリップライン33、34の電磁界結合がストリップライン31、32の電磁界結合よりも小さい。従って、電磁界結合が小さいストリップライン33、34の何れかを分割して、電気的接続は一定とした状態で電磁界結合の状態を調整すると、分割前の設計は分割後の設計に比べて出力レベルの変化量はより微量でとなる。従って、Amplitude−Balanceの調整においてはOUT2の出力レベルで調節する行う方が容易である。
【0031】
図5(b)に、2.2〜2.8GHzの周波数帯において使用する場合のバラントランス10の周波数における各信号出力端子OUT1、OUT2の信号出力のレベル差を示す。特性qは、図3に示す構成のバラントランス10の周波数における各信号出力端子OUT1、OUT2の信号出力のレベル差を示す。特性rは図4に示す構成の周波数における信号出力端子OUT1、OUT2の信号出力のレベル差を示す。なお、比較例として、図5(a)に2.2〜2.8GHzの周波数帯において使用する場合の図6に示したバラントランス100の信号出力端子201、202の出力信号のレベル差を示す。
【0032】
図3のバラントランス10による2つ出力信号のレベル差は、2.2〜2.8GHzの周波数帯において使用する場合、図5(a)の2つ出力信号のレベル差に比べて一定に2つ出力信号のレベル差を得ていることがわかる。
【0033】
また、図4に示す2つ出力信号のレベル差の特性rは、2.2〜2.8GHzの周波数帯において使用する場合、図3に示す2つ出力信号のレベル差の特性に比べて低くなり、ストリップライン31、32の結合レベルとストリップライン33、34の結合レベルが略一致させることができるものである。
【0034】
なお、本実施の形態では、ストリップライン31〜34のそれぞれを互いに1つの誘電体層12a〜12g間に形成する例で示したが、これに限定されず、同一層間に形成してもよい。
【0035】
即ち、図6に示すように誘電体層62a〜62eが積層され、任意の2つの誘電体層62a、62bの層間である第1の誘電体層間xと誘電体層62b、62cの層間である第2の誘電体層間yのそれぞれにストリップライン31〜34のうちの2つずつを形成するのが好ましい。ストリップライン31〜34の組み合わせとしてはストリップライン31、32が対向するように配置し、ストリップライン33、34が対向するように配置できれば何れの組み合わせでも可能である。
【0036】
より好ましくは、第1の誘電体層間xにストリップライン31(第1の分布定数線路)とストリップライン34(第2の分布定数線路)を配置し、第2の誘電体層間yにストリップライン32(第2の分布定数線路)とストリップライン33(第3の分布定数線路)を配置するのがよい。なお、このとき、最上部と最下部の誘電体層62a、62eの略全面にはアース電極60、61が形成される。
【0037】
このような配置にすることで、配線が複雑とならずにストリップライン31とストリップライン32が、更にストリップライン33とストリップライン34とがそれぞれ対向するように配設され、薄型のバラントランスが構成できる。
【0038】
次に他の特徴部を説明する。
即ち、第2の誘電体層間yとは異なる隣りの誘電体層層62c、62d間を第3の誘電体層間zとし、この第3の誘電体層間zに入力電極線路63を形成している。
この入力電極線路63は、その一端63aが信号入力端子INに接続されており、他端63bが接続電極65a、68aに接続している。そして接続電極65a、68aは入力電極線路63の一端63aからそれぞれストリップライン32、33の中心側端部と対向する位置まで引き出しており、その引き出した先端領域65b、68bがストリップライン32、33の中心側端部とビアホール導体65、68を介して接続している。なお、ストリップライン31、32はビアホール導体68を介して接続しており、ストリップライン34はビアホール導体67を介してアース電極60に接続されている。
【0039】
ここで特徴的なところは、ストリップライン32、33を配置した第2の誘電体層間yと入力電極線路63を配置した第3の誘電体層間zを近接させて構成したことにある。
【0040】
ここで、近接する誘電体層間とは、隣りあう誘電体層間でもよいが、これに限定されるものではない。好ましい構造としては、入力電極線路63とストリップライン32、33との間に他の分布定数線路、その他の伝送線路等が介在しないような構造にすると良い。
【0041】
これにより、信号入力端子INから配線が複雑とならないで入力電極線路63を介して直接ビアホール導体65、68でストリップライン32、33に接続できるので、複雑な配線によるノイズ源とはならず、入力電極線路63とストリップライン32、33間には他の配線を介在させないので薄型化となるバラントランスを提供できる。
【0042】
また、他の特徴的なところは、ストリップライン32、33の中心側端部と対向する領域に入力電極線路63の一端63aからそれぞれ接続電極65a、68aにより引き出し、その先端領域65b、68bとストリップライン32、33の中心側端部とがビアホール導体65、68を介して接続している。これによって、更に配線が複雑とならず接続電極65a、68aとストリップライン32、33の中心側端部との接続が略直線状に形成できるので配線の引き回しが更に簡素化される。
なお、ストリップライン31、34を誘電体層62d、62e間に別に誘電体層を介在させて形成して入れ替えても構わない。
【0043】
【発明の効果】
本発明の構成によれば、入力端子に接続した分布定数線路を、第2、第3の分布定数線路に分離し、第1の出力信号端子に接続する第1の分布定数線路は第2の分布定数線路に互いに電磁界結合可能に、また、第2の出力信号端に接続する第4の分布定数線路は第3の分布定数線路に互いに電磁界結合可能に配置している。従って、各第1、第2の分布定数線路間の電磁界結合と第3、第4の分布定数線路間での電磁界結合の調整が容易にできるバラントランスを提供することができる。
【0044】
また、何れの周波数でも出力信号のレベル差を小さくでき、かつ、一定の出力レベルを得ることができるバラントランスを提供することができる。
【図面の簡単な説明】
【図1】本発明の一実施の形態のバラントランスの等価回路図である。
【図2】本発明の一実施の形態のバラントランスが用いられるチップ型電子部品の全体構造を示す斜視図である。
【図3】本発明のバラントランスの分解斜視図である。
【図4】本発明のバラントランスの他の実施の形態における分解斜視図である。
【図5】(a)は従来のバラントランスの周波数と2つ出力信号のレベル差を示す図であり、(b)は本発明の図3、図4のバラントランスの周波数と2つ出力信号のレベル差を示す図である。
【図6】本発明のバラントランスの他の実施の形態における分解斜視図である。
【図7】従来のバラントランスの等価回路である。
【符号の説明】
1〜4:分布定数線路
10:バラントランス
12a〜12g、62a〜62g:誘電体層
15a〜15h:端子電極
31〜34:ストリップライン
OUT1:信号出力端子
OUT2:信号出力端子
35、63:入力電極線路
50〜52、64〜68:ビアホール導体
40、45、60、61:アース電極
【発明の属する技術分野】
この発明はバラントランスに関し、特にたとえばUHF帯以上の高周波回路における伝送線路のインピーダンスを変換するためのインピーダンス変換器や平衡伝送線路の信号及び不平衡伝送線路の信号を相互に変換するための信号変換器、位相変換器などに用いる積層型バラントランスに関する。
【0002】
【従来の技術】
従来のバラントランス100の構造を図7に示す。従来のバラントランス100は特開平10−163715公報に記載されているように、3本のλ/4の分布定数線路101、102、103が順次互いに平行に並べて隣接する分布定数線路101、102、103同士が電磁界結合可能に配置されていた。その接続としては、分布定数線路101の一端が入力端子200に接続され、分布定数線路101、102の一端が接続され、分布定数線路102の他端と分布定数線路103の一端を接地し、分布定数線路101の他端を信号出力端子201と接続し、分布定数線路103の他端を信号出力端子202と接続してなる。
【0003】
そして、上述の構成により入力端子200から信号が入力されると、一部が分布定数線路101と分布定数線路102との電磁界結合により信号出力端子201から出力されるとともに、一部は分布定数線路102と分布定数線路103との電磁界結合により信号出力端子202から信号が出力され、この時の信号出力端子201、202から出力される信号の位相は、互いに180度ずれたものになる。このようにして、信号のレベルが略等しく位相が180度ずれた2つの信号に分けられるものである。
【0004】
【発明が解決しようとする課題】
しかしながら、従来のバラントランス100において、分布定数線路101と分布定数線路103に電磁界結合するのが分布定数線路102で共通となっており、設計においても、ストリップライン間で一方の電磁界結合状態を決定しても同じような他方の電磁界結合状態を得るように設計するのは難しかった。
【0005】
しかも、バラントランスの本来の特性である信号出力端子201および202から出力されるAmplitude Balance(出力レベルの差)が0に近くなるように設計するのも困難であった。即ち、図5(a)に信号出力端子201、202の2つ出力信号のレベル差を示すが、例えば、2.2〜2.6GHzの周波数帯において使用する場合、周波数帯が2.1GHzでは2つ出力信号のレベル差が1.2dBと大きな信号レベル差があり、2.5GHzでは0.8dBと略レベルが等しい出力信号が得られるといったように周波数のバラツキがあり、バラントランスを製造する製造バラツキによって2つ出力信号のレベル差が異なりすぎるというバラントランスの特性の問題点を有していた。
【0006】
また、近年、開発されているバラントランスは、バラントランス単独のチップ部品として利用されるものではなく、フィルタ等と合わせたモジュール製品として利用されるために、近年の電子機器の小型化要求に伴い、モジュール製品も小型化する必要があり、上述のようなバラントランスの特性を維持しつつ、小型、薄型化できる構造が望まれていた。
【0007】
本発明は上述の問題点に鑑みて案出されたものであり、その目的は、ストリップライン間の結合レベルの調整を容易にするとともに、何れの周波数でも2つ出力信号のレベル差を小さくでき、かつ、一定の出力レベル差を得ることができ、薄型化で信頼性の高いバラントランスを提供することにある。
【0008】
【課題を解決するための手段】
上述の課題を解決するために本発明は、第1〜第4の分布定数線路を有し、前記第1の分布定数線路の一端を信号入力端子とし、前記第1〜第3の分布定数線路の一端を互いに接続し、前記第2、第3の分布定数線路の他端と前記第4の分布定数線路の一端をともに接地し、前記第1の分布定数線路の他端を第1の信号出力端子とし、前記第4の分布定数線路の他端を第2の信号出力端子としてなり、
前記第1の分布定数線路と第2の分布定数線路とが電磁界結合可能に互いに対向し、かつ前記第3の分布定数線路と第4の分布定数線路とが電磁界結合可能に互いに対向して配設されていることを特徴とするバラントランスを提供する。
【0009】
また、誘電体層が複数積層された積層体を形成し、前記誘電体層間に前記第1の分布定数線路と第4の分布定数線路とを配置し、かつ、当該誘電体層間とは異なる誘電体層間に前記第2の分布定数線路と第3の分布定数線路とを配置していることを特徴とする請求項1記載のバラントランスを提供する。
【作用】
従来、入力端子に接続した分布定数線路は第1の出力端子に接続した分布定数線路と第2の出力端子に接続した分布定数線路とが共通の1本の分布定数線路に電磁界結合可能に配置していた。これに対して本発明では、入力端子に接続した分布定数線路を、2本の第2、第3の分布定数線路に増加して、第1の出力信号端子に接続する第1の分布定数線路は第2の分布定数線路に互いに電磁界結合可能に、また、第2の出力信号端に接続する第4の分布定数線路は第3の分布定数線路に互いに電磁界結合可能に配置している。
【0010】
従って、各第1、第2の分布定数線路間の電磁界結合と第3、第4の分布定数線路間での電磁界結合の調整が容易にできる。また、何れの周波数でも2つ出力信号のレベル差を小さくでき、かつ、一定の出力レベルを得ることができるものである。
【0011】
【発明の実施の形態】
本発明の実施の形態を図面により説明する。
図1はこの発明のバラントランスの構成を示す等価回路図である。
【0012】
本発明のバラントランスは、分布定数線路1〜4を平行に配置してなる。
分布定数線路1〜4は、図1に示すように分布定数線路1の一端を信号入力端子INとしている。また、分布定数線路1〜3の一端が互いに接続されている。また、分布定数線路2、3の他端と分布定数線路4の一端をともに接地している。さらに、分布定数線路1の他端を信号出力端子OUT1とし、分布定数線路4の他端を信号出力端子OUT2としている。
【0013】
そして、分布定数線路1と分布定数線路2は互いに電磁界結合M1がされるように対向して配設されている。その電磁界結合部分は互いにλ/4の長さに設定されている。一方、分布定数線路3と分布定数線路4とが互いに電磁界結合M2がされるように対向して配設されており、その電磁界結合部分が互いにλ/4の長さに設定されている。
【0014】
このバラントランスでは、信号入力端子INから信号が入力されると、一部は分布定数線路1、2が互いに電磁界結合M1され信号出力端子OUT1から所定の信号が出力される。また、一部は分布定数線路3、4が互いに電磁界結合M2され信号出力端子OUT2から所定の信号が出力される。このとき、信号出力端子OUT1、2から出力される信号のレベルが等しくなるように、分布定数線路1、2の幅、間隔等と分布定数線路3、4の幅、間隔等を適宜設定する。そして、この信号出力端子OUT1、2から出力される信号の位相は、互いに180度ずれたものになる。このようにして、信号のレベルが等しく位相が180度ずれた2つの信号に分けられることになる。
【0015】
次に本発明のバラントランスを積層型の誘電体層内に形成した場合について説明する。図2は積層型のバラントランス10が用いられるチップ型電子部品の全体構造を示す斜視図、図3はその分解斜視図である。
【0016】
バラントランス10は、主に、積層体11と、積層体11の側面の厚み方向に向けて形成した端子電極15a〜15fと、積層体11の内部に形成した分布定数線路であるストリップライン31〜34とからなる。
【0017】
積層体1は誘電体層12a〜12gを順次積層してなる。その材質としては、誘電体セラミック材料と低温焼成化を可能とする酸化物や低融点ガラス材料とから構成されている。具体的には、誘電体セラミック材料とは、例えば、BaO−TiO2系、Ca−TiO2系、MgO−TiO2系等があり、低温焼成化するための酸化物としては、BiVO4、CuO、Li2O、B2O3等がある。
【0018】
次に誘電体層12a〜12gの各層間の内部構造を具体的に説明する。
一番上に積層される誘電体層12aの一方主面には、略全面にアース電極40が形成され、ビアホール導体50と接続されている。また、アース電極40から誘電体基板12aの全端面に向かって、4つの引出電極41、42、43、44が形成され、各端子電極15a、15c、15e、15gに接続されている。
【0019】
誘電体層12a、12bの層間には、渦巻状に形成されたストリップライン31が配置されている。ストリップライン31においては、その外側端部は誘電体層12bの端面側に形成した引出電極36が形成されて、信号出力端子(OUT2)となる端子電極15bに接続される。なお、ストリップライン31の中心側端部はビアホール導体50を介し誘電体層12a上に形成したアース電極40に接続されている。
【0020】
誘電体層12b、12cの層間には、渦巻状に形成されたストリップライン32が配置されている。なお、ストリップライン32の中心側端部はビアホール導体51を介し後述する誘電体層12d上に形成した入力電極線路35に接続されている。また、ストリップライン32の外側端部は誘電体層12cの端面側に向かって、引出電極37が形成され、アース電位となる端子電極15cに接続されている。
【0021】
誘電体層12c、12dの層間には、L字状に形成された入力電極線路35が配置され、その先端側がビアホール導体51を介しストリップライン32の中心側端部と接続されている。なお、誘電体層12d上に形成した入力電極線路35は後述するビアホール導体51、53を介し後述するストリップライン33、34の各中心側端部と接続されている。
【0022】
誘電体層12d、12eの層間には、渦巻状に形成されたストリップライン33が配置されている。ストリップライン33の中心側端部は前述したビアホール導体51を介し入力電極線路35に接続されている。また、ストリップライン33の外側端部は誘電体層12dの端面側に向かって、引出電極38が形成され、アース電位となる端子電極15cに接続されている。
【0023】
誘電体層12e、12fの層間には、渦巻状に形成されたストリップライン34が配置されている。ストリップライン34の外側端部は誘電体層12fの端面側に向かって引出電極39が形成され、信号出力端子(OUT1)となる端子電極15hに接続される。
【0024】
さらに誘電体層12fと最下部の誘電体基板12gの層間には、略全面にアース電極45が形成されている。なお、アース電極45からは誘電体基板12gの全端面に向かって、4つの引出電極46、47、48、49が形成され、アース電位となる各端子電極15a、15c、15e、15gに夫々接続されている。
【0025】
ここで4本のストリップライン31、32、33、34は略λ/4の長さに設定されており、各ストリップライン31〜34の夫々電磁界結合する部分を略λ/4となるように設定している。
アース電極40、45、引出電極41〜44、46〜49、ストリップライン31〜34、ビアホール導体50、51は導電性ペーストを各誘電体層12a〜12gに印刷して形成されるが、導電性ペーストの材質としては、Ag、Cuなどを主成分とする導体材料(Ag単体もしくはAg−Pd、Ag−PtなどのAg合金、又はCu単体もしくはCu合金)が用いられる。
【0026】
本発明のバラントランス10によれば、従来、入力端子となる端子電極15dに接続されたストリップラインが1本であったのを、互いに異なる誘電体層に形成したストリップライン32とストリップライン33の2つに増加させている。そして、ストリップライン32と端子電極15b(OUT2)に接続するストリップライン31とが電磁界結合M1し、また、ストリップライン33と端子電極15h(OUT1)に接続するストリップライン34とが電磁界結合M2するように配置している。従って、各ストリップライン31,32間とストリップライン33、34間で電磁界結合の調整が容易にでき、何れの周波数でも2つ出力信号のレベル差を小さくできる。また、一定の出力レベル差を得ることができるものである。
【0027】
また、ストリップライン31,32とその下側に形成したストリップライン33,34とは誘電体層12dを介して形成されている。即ち、電磁結合による信号出力を形成するストリップライン31,32とストリップライン33,34の互いの距離が誘電体層12dを介在させて遠くなるように形成し、ストリップライン31,32からストリップライン33,34への相互干渉を抑えることができる。また、ストリップライン31,32とストリップライン33,34の互いの距離を遠くなるように形成する誘電体層12dに入力電極線路35を形成しても良い。距離を遠ざけるために形成する誘電体層12dを利用して入力電極線路35を形成しているので、わざわざ入力電極線路35用に誘電体層を積層する必要がなく電子部品の低背化が可能となる。
【0028】
また、ストリップライン31〜34の内、少なくとも1つのストリップラインを複数の誘電体層に分割して形成し、分割されたストリップラインはビアホール導体または外部接続により接続されたストリップラインを形成する事により、信号出力端子OUT1、2となる端子電極15b、15hからの出力信号のレベルを調節することが容易になる。
【0029】
例えば、図4に図2中の誘電体層12fに形成されているストリップライン34を誘電体層12fと誘電体層12f’との2層に分割した場合の図を示す。ストリップライン34は中心側部分34aと外側部分34bとがビアホール導体52を介して接続されている。この分割され出力される信号のレベルはストリップライン31とストリップライン32との電磁界結合レベル及びストリップライン33とストリップライン34との電磁界結合レベルによって決定される。このようにストリップライン34を2層に分割する事によって、分割されたストリップライン34の中心側端部が存在しているストリップライン長と外側端部が存在しているストリップライン長の割合により、ストリップライン33とストリップライン34との電磁界結合レベルの調整し、これにより、ストリップライン31、32とストリップライン33、34の夫々の電磁界結合レベルが調整され、信号のレベルが等しく位相が180度ずれた2つの信号を出力できる。
なお、ストリップライン34を2層に分割したが、これに限定されず、ストリップライン31〜34の何れかを分割しても構わない。また、分割の数を2つで説明したが、これに限定されず、2つ以上行っても構わない。
【0030】
なお、特に信号出力端子OUT2に電磁界結合するストリップライン33、34の何れかを分割すると良い。即ち、上述のように各々の電磁界結合の結合レベル調節は、ストリップライン31〜34の何れを分割しても可能であるが、ストリップライン31、32は電磁界結合が主だった結合であるのに対し、ストリップライン33、34は電気的接続による結合と電磁界結合の和となる結合状態であり、ストリップライン33、34の電磁界結合がストリップライン31、32の電磁界結合よりも小さい。従って、電磁界結合が小さいストリップライン33、34の何れかを分割して、電気的接続は一定とした状態で電磁界結合の状態を調整すると、分割前の設計は分割後の設計に比べて出力レベルの変化量はより微量でとなる。従って、Amplitude−Balanceの調整においてはOUT2の出力レベルで調節する行う方が容易である。
【0031】
図5(b)に、2.2〜2.8GHzの周波数帯において使用する場合のバラントランス10の周波数における各信号出力端子OUT1、OUT2の信号出力のレベル差を示す。特性qは、図3に示す構成のバラントランス10の周波数における各信号出力端子OUT1、OUT2の信号出力のレベル差を示す。特性rは図4に示す構成の周波数における信号出力端子OUT1、OUT2の信号出力のレベル差を示す。なお、比較例として、図5(a)に2.2〜2.8GHzの周波数帯において使用する場合の図6に示したバラントランス100の信号出力端子201、202の出力信号のレベル差を示す。
【0032】
図3のバラントランス10による2つ出力信号のレベル差は、2.2〜2.8GHzの周波数帯において使用する場合、図5(a)の2つ出力信号のレベル差に比べて一定に2つ出力信号のレベル差を得ていることがわかる。
【0033】
また、図4に示す2つ出力信号のレベル差の特性rは、2.2〜2.8GHzの周波数帯において使用する場合、図3に示す2つ出力信号のレベル差の特性に比べて低くなり、ストリップライン31、32の結合レベルとストリップライン33、34の結合レベルが略一致させることができるものである。
【0034】
なお、本実施の形態では、ストリップライン31〜34のそれぞれを互いに1つの誘電体層12a〜12g間に形成する例で示したが、これに限定されず、同一層間に形成してもよい。
【0035】
即ち、図6に示すように誘電体層62a〜62eが積層され、任意の2つの誘電体層62a、62bの層間である第1の誘電体層間xと誘電体層62b、62cの層間である第2の誘電体層間yのそれぞれにストリップライン31〜34のうちの2つずつを形成するのが好ましい。ストリップライン31〜34の組み合わせとしてはストリップライン31、32が対向するように配置し、ストリップライン33、34が対向するように配置できれば何れの組み合わせでも可能である。
【0036】
より好ましくは、第1の誘電体層間xにストリップライン31(第1の分布定数線路)とストリップライン34(第2の分布定数線路)を配置し、第2の誘電体層間yにストリップライン32(第2の分布定数線路)とストリップライン33(第3の分布定数線路)を配置するのがよい。なお、このとき、最上部と最下部の誘電体層62a、62eの略全面にはアース電極60、61が形成される。
【0037】
このような配置にすることで、配線が複雑とならずにストリップライン31とストリップライン32が、更にストリップライン33とストリップライン34とがそれぞれ対向するように配設され、薄型のバラントランスが構成できる。
【0038】
次に他の特徴部を説明する。
即ち、第2の誘電体層間yとは異なる隣りの誘電体層層62c、62d間を第3の誘電体層間zとし、この第3の誘電体層間zに入力電極線路63を形成している。
この入力電極線路63は、その一端63aが信号入力端子INに接続されており、他端63bが接続電極65a、68aに接続している。そして接続電極65a、68aは入力電極線路63の一端63aからそれぞれストリップライン32、33の中心側端部と対向する位置まで引き出しており、その引き出した先端領域65b、68bがストリップライン32、33の中心側端部とビアホール導体65、68を介して接続している。なお、ストリップライン31、32はビアホール導体68を介して接続しており、ストリップライン34はビアホール導体67を介してアース電極60に接続されている。
【0039】
ここで特徴的なところは、ストリップライン32、33を配置した第2の誘電体層間yと入力電極線路63を配置した第3の誘電体層間zを近接させて構成したことにある。
【0040】
ここで、近接する誘電体層間とは、隣りあう誘電体層間でもよいが、これに限定されるものではない。好ましい構造としては、入力電極線路63とストリップライン32、33との間に他の分布定数線路、その他の伝送線路等が介在しないような構造にすると良い。
【0041】
これにより、信号入力端子INから配線が複雑とならないで入力電極線路63を介して直接ビアホール導体65、68でストリップライン32、33に接続できるので、複雑な配線によるノイズ源とはならず、入力電極線路63とストリップライン32、33間には他の配線を介在させないので薄型化となるバラントランスを提供できる。
【0042】
また、他の特徴的なところは、ストリップライン32、33の中心側端部と対向する領域に入力電極線路63の一端63aからそれぞれ接続電極65a、68aにより引き出し、その先端領域65b、68bとストリップライン32、33の中心側端部とがビアホール導体65、68を介して接続している。これによって、更に配線が複雑とならず接続電極65a、68aとストリップライン32、33の中心側端部との接続が略直線状に形成できるので配線の引き回しが更に簡素化される。
なお、ストリップライン31、34を誘電体層62d、62e間に別に誘電体層を介在させて形成して入れ替えても構わない。
【0043】
【発明の効果】
本発明の構成によれば、入力端子に接続した分布定数線路を、第2、第3の分布定数線路に分離し、第1の出力信号端子に接続する第1の分布定数線路は第2の分布定数線路に互いに電磁界結合可能に、また、第2の出力信号端に接続する第4の分布定数線路は第3の分布定数線路に互いに電磁界結合可能に配置している。従って、各第1、第2の分布定数線路間の電磁界結合と第3、第4の分布定数線路間での電磁界結合の調整が容易にできるバラントランスを提供することができる。
【0044】
また、何れの周波数でも出力信号のレベル差を小さくでき、かつ、一定の出力レベルを得ることができるバラントランスを提供することができる。
【図面の簡単な説明】
【図1】本発明の一実施の形態のバラントランスの等価回路図である。
【図2】本発明の一実施の形態のバラントランスが用いられるチップ型電子部品の全体構造を示す斜視図である。
【図3】本発明のバラントランスの分解斜視図である。
【図4】本発明のバラントランスの他の実施の形態における分解斜視図である。
【図5】(a)は従来のバラントランスの周波数と2つ出力信号のレベル差を示す図であり、(b)は本発明の図3、図4のバラントランスの周波数と2つ出力信号のレベル差を示す図である。
【図6】本発明のバラントランスの他の実施の形態における分解斜視図である。
【図7】従来のバラントランスの等価回路である。
【符号の説明】
1〜4:分布定数線路
10:バラントランス
12a〜12g、62a〜62g:誘電体層
15a〜15h:端子電極
31〜34:ストリップライン
OUT1:信号出力端子
OUT2:信号出力端子
35、63:入力電極線路
50〜52、64〜68:ビアホール導体
40、45、60、61:アース電極
Claims (2)
- 第1〜第4の分布定数線路を有し、前記第1の分布定数線路の一端を信号入力端子とし、前記第1〜第3の分布定数線路の一端を互いに接続し、前記第2、第3の分布定数線路の他端と前記第4の分布定数線路の一端をともに接地し、前記第1の分布定数線路の他端を第1の信号出力端子とし、前記第4の分布定数線路の他端を第2の信号出力端子としてなり、
前記第1の分布定数線路と第2の分布定数線路とが電磁界結合可能に互いに対向し、かつ前記第3の分布定数線路と第4の分布定数線路とが電磁界結合可能に互いに対向して配設されていることを特徴とするバラントランス。 - 誘電体層が複数積層され、2つの前記誘電体層で形成される第1の誘電体層間と第2の誘電体層間を有してなる積層体を形成するとともに、前記第1の誘電体層間に前記第1の分布定数線路と第4の分布定数線路とを配置し、前記第2の誘電体層間に前記第2の分布定数線路と第3の分布定数線路とを配置していることを特徴とする請求項1記載のバラントランス。
Priority Applications (1)
| Application Number | Priority Date | Filing Date | Title |
|---|---|---|---|
| JP2002010610A JP3679059B2 (ja) | 2001-07-31 | 2002-01-18 | バラントランス |
Applications Claiming Priority (3)
| Application Number | Priority Date | Filing Date | Title |
|---|---|---|---|
| JP2001230870 | 2001-07-31 | ||
| JP2001-230870 | 2001-07-31 | ||
| JP2002010610A JP3679059B2 (ja) | 2001-07-31 | 2002-01-18 | バラントランス |
Publications (2)
| Publication Number | Publication Date |
|---|---|
| JP2003115708A JP2003115708A (ja) | 2003-04-18 |
| JP3679059B2 true JP3679059B2 (ja) | 2005-08-03 |
Family
ID=26619616
Family Applications (1)
| Application Number | Title | Priority Date | Filing Date |
|---|---|---|---|
| JP2002010610A Expired - Fee Related JP3679059B2 (ja) | 2001-07-31 | 2002-01-18 | バラントランス |
Country Status (1)
| Country | Link |
|---|---|
| JP (1) | JP3679059B2 (ja) |
Families Citing this family (3)
| Publication number | Priority date | Publication date | Assignee | Title |
|---|---|---|---|---|
| JP3658350B2 (ja) * | 2001-09-26 | 2005-06-08 | Fdk株式会社 | 積層チップバラン素子の製造方法 |
| JP4674590B2 (ja) * | 2007-02-15 | 2011-04-20 | ソニー株式会社 | バラントランス及びバラントランスの実装構造、並びに、この実装構造を内蔵した電子機器 |
| ITMI20121238A1 (it) | 2012-07-17 | 2014-01-18 | St Microelectronics Srl | Dispositivo trasformatore balun planare |
-
2002
- 2002-01-18 JP JP2002010610A patent/JP3679059B2/ja not_active Expired - Fee Related
Also Published As
| Publication number | Publication date |
|---|---|
| JP2003115708A (ja) | 2003-04-18 |
Similar Documents
| Publication | Publication Date | Title |
|---|---|---|
| JP3520411B2 (ja) | 結合線路を用いた高周波部品 | |
| US6294967B1 (en) | Laminated type dielectric filter | |
| US20030151863A1 (en) | Power splitter having counter rotating circuit lines | |
| GB2311417A (en) | Laminated balun transformer | |
| EP1610408B1 (en) | Passive component | |
| JP2007288180A (ja) | 配線構造、多層配線基板および電子装置 | |
| EP1003216A2 (en) | Multilayered ceramic structure | |
| KR100888019B1 (ko) | 캐패시터 블록 및 적층 기판 | |
| JP3679059B2 (ja) | バラントランス | |
| JP2851966B2 (ja) | 積層型誘電体フィルター | |
| JP3072845B2 (ja) | ディレイライン | |
| US10276912B2 (en) | Directional coupler | |
| JP2721626B2 (ja) | 積層型誘電体フィルタ | |
| CN100566148C (zh) | 噪声滤波器 | |
| JP2003069317A (ja) | 積層型方向性結合器 | |
| JPH05283906A (ja) | 積層型誘電体フィルタ | |
| JPH11355008A (ja) | 積層型誘電体フィルタ | |
| JPH09153703A (ja) | 誘電体積層フィルタ | |
| EP1816701A1 (en) | Passive part | |
| JPH06112735A (ja) | 共用器 | |
| JPH11251857A (ja) | 積層型フィルタ | |
| JP2004336623A (ja) | 積層型チップバラン素子 | |
| JP2002164710A (ja) | 積層型デュプレクサ | |
| JP2003168904A (ja) | バラントランス | |
| JP2005018627A (ja) | データ転送回路基板 |
Legal Events
| Date | Code | Title | Description |
|---|---|---|---|
| A977 | Report on retrieval |
Free format text: JAPANESE INTERMEDIATE CODE: A971007 Effective date: 20050328 |
|
| TRDD | Decision of grant or rejection written | ||
| A01 | Written decision to grant a patent or to grant a registration (utility model) |
Free format text: JAPANESE INTERMEDIATE CODE: A01 Effective date: 20050510 |
|
| A61 | First payment of annual fees (during grant procedure) |
Free format text: JAPANESE INTERMEDIATE CODE: A61 Effective date: 20050511 |
|
| R150 | Certificate of patent or registration of utility model |
Free format text: JAPANESE INTERMEDIATE CODE: R150 |
|
| LAPS | Cancellation because of no payment of annual fees |