JP3676144B2 - 信号の記録又は再生装置 - Google Patents

信号の記録又は再生装置 Download PDF

Info

Publication number
JP3676144B2
JP3676144B2 JP28259599A JP28259599A JP3676144B2 JP 3676144 B2 JP3676144 B2 JP 3676144B2 JP 28259599 A JP28259599 A JP 28259599A JP 28259599 A JP28259599 A JP 28259599A JP 3676144 B2 JP3676144 B2 JP 3676144B2
Authority
JP
Japan
Prior art keywords
cabinet
lid
mechanism deck
deck
damper
Prior art date
Legal status (The legal status is an assumption and is not a legal conclusion. Google has not performed a legal analysis and makes no representation as to the accuracy of the status listed.)
Expired - Fee Related
Application number
JP28259599A
Other languages
English (en)
Other versions
JP2001101750A (ja
Inventor
靖 小島
Current Assignee (The listed assignees may be inaccurate. Google has not performed a legal analysis and makes no representation or warranty as to the accuracy of the list.)
Sanyo Electric Co Ltd
Original Assignee
Sanyo Electric Co Ltd
Priority date (The priority date is an assumption and is not a legal conclusion. Google has not performed a legal analysis and makes no representation as to the accuracy of the date listed.)
Filing date
Publication date
Application filed by Sanyo Electric Co Ltd filed Critical Sanyo Electric Co Ltd
Priority to JP28259599A priority Critical patent/JP3676144B2/ja
Publication of JP2001101750A publication Critical patent/JP2001101750A/ja
Application granted granted Critical
Publication of JP3676144B2 publication Critical patent/JP3676144B2/ja
Anticipated expiration legal-status Critical
Expired - Fee Related legal-status Critical Current

Links

Images

Landscapes

  • Feeding And Guiding Record Carriers (AREA)

Description

【0001】
【発明の属する技術分野】
本発明は、カートリッジに収納されたディスクへの信号記録又は再生装置に関するものである。
【0002】
【従来の技術】
図3は、従来の信号を記録又は再生する装置の側面図である。これは、記録媒体としてカートリッジ(6)に収納されたディスク(60)を用いる。カートリッジ(6)は扁平な矩形状であり、上面にディスク(60)の露出と閉塞を切り換えるシャッタ(61)がスライド自在に取り付けられている。
上面が開口した枠状のキャビネット(2)には、蓋体(4)が枢支(4a)され、キャビネット(2)と蓋体(4)との間には、メカニズムデッキ(5)が装着される。メカニズムデッキ(5)は、ピックアップ(10)を具えたシャーシ(1)上にカートリッジ(6)が挿入されるホルダ(3)を枢支(30)して構成され、ホルダ(3)は蓋体(4)に連結して開閉する。カートリッジ(6)がホルダ(3)に挿入された状態にて、周知の如くシャッタ(61)が開く。蓋体(4)及びホルダ(3)が下降した閉じ状態にてピックアップ(10)がディスク(60)から信号を再生する。
【0003】
図4は、キャビネット(2)と蓋体(4)、及びメカニズムデッキ(5)の斜視図である。メカニズムデッキ(5)のシャーシ(1)は隅部からシャフト(8)を下向きに突出している。キャビネット(2)の下端部からはシャフト(8)に対応した位置に受け板(21)を内向きに突出し、該受け板(21)には嵌め孔(22)が開設されている。嵌め孔(22)には、ダンパ(7)が緊密に嵌まり、ダンパ(7)の中央部にシャフト(8)が挿入される。
図5は、ダンパ(7)とシャフト(8)の正面断面図である。ダンパ(7)はゴム等の弾性材から形成されて、2つのフランジ(70)(70)を互いに離間して設ける。両フランジ(70)(70)間に前記受け板(21)が嵌まる。シャフト(8)は下端部に凹面(80)を形成し、該凹面(80)に下側からネジ(81)が螺合してキャビネット(2)とメカニズムデッキ(5)が締結される。
メカニズムデッキ(5)をキャビネット(2)に装着するには、予めダンパ(7)を受け板(21)に嵌め、次にシャフト(8)をダンパ(7)の上方に配置して、メカニズムデッキ(5)を下降させる。
【0004】
【発明が解決しようとする課題】
メカニズムデッキ(5)は、ダンパ(7)の上から下降して取り付けられるから、キャビネット(2)と蓋体(4)の間には、メカニズムデッキ(5)を下降させる分、即ちシャフト(8)の長さ以上の高さを有する空間が必要になる。即ち、該空間がないと、ホルダ(3)が蓋体(4)に当たり、メカニズムデッキ(5)の取付作業性が悪い。従って、装置全体の厚みが増す。
この場合、蓋体(4)とキャビネット(2)の枢支連結を外して、キャビネット(2)にメカニズムデッキ(5)を取り付け、この後にキャビネット(2)に蓋体(4)を枢支(4a)することも考えられる。しかし、蓋体(4)とキャビネット(2)には、枢支部(4a)が不用意に外れることを防ぐ工夫が成されている。
図6は、該枢支部(4a)の拡大側面図、図7は、図6をA方向から見た断面図である。枢支部(4a)はキャビネット(2)の側板から内向きに突出した枢軸(23)を蓋体(4)の孔(41)に嵌めて構成される。蓋体(4)上にて孔(41)の側方には円弧孔(42)が開設され、該円弧孔(42)には鍔付きピン(24)が内側から嵌まる。鍔付きピン(24)の基端部はキャビネット(2)にかしめ固定されており、蓋体(4)とキャビネット(2)の不用意な外れを防ぐ。
キャビネット(2)にメカニズムデッキ(5)を装着した後に鍔付きピン(24)をかしめ固定して蓋体(4)を取り付けることは、作業性が非常に悪く、事実上不可能である。従って、蓋体(4)とキャビネット(2)を枢支したまま、キャビネット(2)にメカニズムデッキ(5)を装着する必要があるが、前記の如く、装置全体が厚くなり、装置の小型化を求める市場のニーズに対応できない。
本発明は、キャビネット(2)へのメカニズムデッキ(5)の取付作業性を改善し、かつ装置全体の薄型化を達成することを目的とする。
【0005】
【課題を解決する為の手段】
記録又は再生装置は、上記構成に加えて、キャビネット(2)上にて蓋体(4)の自由端部側には、メカニズムデッキ(5)の挿入移行路上に配備されてキャビネット(2)に着脱自在に設けられ、キャビネット(2)から取り外された状態にてメカニズムデッキ(5)の挿入を許す覆い部材(20)が設けられている。蓋体(4)には、メカニズムデッキ(5)が挿入される際に、蓋体(4)とメカニズムデッキ(5)の当接を防ぐ逃げ孔(40)が開設されている。
【0006】
【作用及び効果】
キャビネット(2)から覆い部材(20)を外した状態にて、メカニズムデッキ(5)は蓋体(4)とキャビネット(2)間の空間への挿入が許される。これにより、従来の構成に比して、メカニズムデッキ(5)は該空間への挿入が容易になり、メカニズムデッキ(5)の取付作業性が改善される。また、メカニズムデッキ(5)は該空間への挿入時に、逃げ孔(40)に嵌まるから、蓋体(4)によって挿入を邪魔されることはない。この点でも、メカニズムデッキ(5)の取付作業性が改善される。
【0007】
【発明の実施の形態】
以下、本発明の一例を図を用いて詳述する。キャビネット(2)内にシャーシ(1)が設けられ、蓋体(4)にホルダ(3)が連繋している点、及びキャビネット(2)から突出した受け板(21)にダンパ(7)を取り付けて、該ダンパ(7)にシャーシ(1)から突出したシャフト(8)を嵌める点は、従来と同様であり、詳細な説明を省く。本例にあっては、メカニズムデッキ(5)の取付作業性を改善した点に特徴がある。
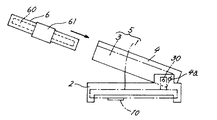
図1は、キャビネット(2)、蓋体(4)、メカニズムデッキ(5)の斜視図である。キャビネット(2)は枠体であり、従来と同様に、蓋体(4)の基端部が枢支(4a)されている。メカニズムデッキ(5)は、蓋体(4)の開き状態にて、蓋体(4)とキャビネット(2)間に挿入されて、キャビネット(2)の受け板(21)に取り付けられる。
キャビネット(2)上にて蓋体(4)の自由端部側には、板状の覆い部材(20)が着脱自在に取り付けられ、該覆い部材(20)はメカニズムデッキ(5)の挿入移行路上に配備されている。覆い部材(20)がキャビネット(2)から取り外された状態にて蓋体(4)とキャビネット(2)間へのメカニズムデッキ(5)の挿入が許される。
蓋体(4)の上面には、逃げ孔(40)が開設され、後記するように該逃げ孔(40)は蓋体(4)とキャビネット(2)間へのメカニズムデッキ(5)の挿入時に、メカニズムデッキ(5)と蓋体(4)の当接を防ぐ。
【0008】
メカニズムデッキの取り付け
図2(a)、(b)は、蓋体(4)とキャビネット(2)間へのメカニズムデッキ(5)の挿入状態を示す側面図である。キャビネット(2)の受け板(21)には、予めダンパ(7)が嵌められている。図2(a)に示すように、メカニズムデッキ(5)は覆い部材(20)が取り外された状態にてキャビネット(2)の前方から蓋体(4)とキャビネット(2)間へ挿入される。図2(b)に示すように、メカニズムデッキ(5)は逃げ孔(40)内に嵌まり、蓋体(4)とは当接しない。即ち、蓋体(4)によってメカニズムデッキ(5)の挿入は邪魔されない。
図2(b)に示す位置から、メカニズムデッキ(5)を下降させて、シャフト(8)をダンパ(7)に嵌める。図5に示すように、ダンパ(7)の下側からシャフト(8)にネジ(81)止めして、メカニズムデッキ(5)とキャビネット(2)が取り付けられる。
【0009】
覆い部材(20)を取り外さなくとも、蓋体(4)とキャビネット(2)間へメカニズムデッキ(5)を挿入することは可能である。しかし、メカニズムデッキ(5)を傾けながら、蓋体(4)とキャビネット(2)間へ挿入する必要がある。また、メカニズムデッキ(5)を下降させて、キャビネット(2)に取り付ける際に、作業性が悪い。特に蓋体(4)とキャビネット(2)の枢支部(4a)の近傍では、蓋体(4)とキャビネット(2)間の空間の高さが低く、該近傍に位置する受け板(図8(a)のA部)にシャーシ(1)を取り付ける際の作業性が悪い。従って、覆い部材(20)を取り外し、且つホルダ(3)に逃げ孔(40)を開設することにより、メカニズムデッキ(5)を取り付ける際の作業性が良くなる。
【0010】
上記実施例の説明は、本発明を説明するためのものであって、特許請求の範囲に記載の発明を限定し、或は範囲を減縮する様に解すべきではない。又、本発明の各部構成は上記実施例に限らず、特許請求の範囲に記載の技術的範囲内で種々の変形が可能であることは勿論である。
【図面の簡単な説明】
【図1】キャビネット、蓋体、メカニズムデッキの斜視図である。
【図2】(a)、(b)は、蓋体とキャビネット間へのメカニズムデッキの挿入状態を示す側面図である。
【図3】従来の信号を記録又は再生する装置の側面図である。
【図4】従来のキャビネットと蓋体、及びメカニズムデッキの斜視図である。
【図5】ダンパとシャフトの正面断面図である。
【図6】蓋体とキャビネットの枢支部の拡大側面図である。
【図7】図6をA方向から見た断面図である。
【符号の説明】
(1) シャーシ
(2) キャビネット
(3) ホルダ
(4) 蓋体
(5) メカニズムデッキ
(7) ダンパ
(20) 覆い部材
(40) 逃げ孔

Claims (2)

  1. 枠体状のキャビネット(2)上に蓋体(4)の基端部を回動自在に設け、該キャビネット(2)にはダンパ(7)を介してメカニズムデッキ(5)が装着され、蓋体(4)の開き状態にて、蓋体(4)とキャビネット(2)との間には、蓋体(4)の自由端部側からメカニズムデッキ(5)が挿入される空間が形成された記録又は再生装置に於いて、
    キャビネット(2)上にて蓋体(4)の自由端部側には、メカニズムデッキ(5)の挿入移行路上に配備されてキャビネット(2)に着脱自在に設けられ、キャビネット(2)から取り外された状態にてメカニズムデッキ(5)の挿入を許す覆い部材(20)が設けられ、
    蓋体(4)には、メカニズムデッキ(5)が挿入される際に、蓋体(4)とメカニズムデッキ(5)の当接を防ぐ逃げ孔(40)が開設されたことを特徴とする記録又は再生装置。
  2. メカニズムデッキ(5)はシャーシ(1)と、シャーシ(1)上に枢支(30)されたホルダ(3)から構成され、ホルダ(3)は蓋体(4)に、シャーシ(1)はキャビネット(2)に連結された請求項1に記載の記録又は再生装置。
JP28259599A 1999-10-04 1999-10-04 信号の記録又は再生装置 Expired - Fee Related JP3676144B2 (ja)

Priority Applications (1)

Application Number Priority Date Filing Date Title
JP28259599A JP3676144B2 (ja) 1999-10-04 1999-10-04 信号の記録又は再生装置

Applications Claiming Priority (1)

Application Number Priority Date Filing Date Title
JP28259599A JP3676144B2 (ja) 1999-10-04 1999-10-04 信号の記録又は再生装置

Publications (2)

Publication Number Publication Date
JP2001101750A JP2001101750A (ja) 2001-04-13
JP3676144B2 true JP3676144B2 (ja) 2005-07-27

Family

ID=17654559

Family Applications (1)

Application Number Title Priority Date Filing Date
JP28259599A Expired - Fee Related JP3676144B2 (ja) 1999-10-04 1999-10-04 信号の記録又は再生装置

Country Status (1)

Country Link
JP (1) JP3676144B2 (ja)

Also Published As

Publication number Publication date
JP2001101750A (ja) 2001-04-13

Similar Documents

Publication Publication Date Title
US4424606A (en) Hinge for opening and closing a dust cover
JP2006173846A (ja) 液晶テレビ用スタンドおよび表示装置用スタンド
JP3676144B2 (ja) 信号の記録又は再生装置
CN100426414C (zh) 数据记录/再现设备
JP3332043B2 (ja) デイスクカートリツジ
JPH10255369A (ja) ディスク記録再生装置
JP2001338485A (ja) ホルダの取付構造
JP2951328B1 (ja) カートリッジに収納されたディスクの記録又は再生装置
KR0149123B1 (ko) 더블데크에 미니디스크 플레이어를 착탈하는 장치
JP3765704B2 (ja) 記録媒体記録再生装置の記録媒体挿入口構造
KR100633879B1 (ko) 카세트 플레이어의 카세트도어 장착구조
JP2500835B2 (ja) ディスク再生装置
EP1622439A2 (en) Door opening and closing device and electronic apparatus having the same
JP2002133842A (ja) ディスクプレーヤーのパネル装置及びディスクプレーヤー一体型テレビジョン受像装置
JP2966812B2 (ja) ディスク記録再生装置
JP2002216465A (ja) 蓋体を枢支した装置
JP3644040B2 (ja) 携帯電子機器
JP2001332875A (ja) 蓋体の取付け構造
KR100440978B1 (ko) 포터블 dvd플레이어의 개폐장치
KR830000029Y1 (ko) 더스트 커버 개폐용 사이드 힌지
JP2006221266A (ja) 記録媒体用開閉扉機構
JP3615442B2 (ja) 蓋体を枢支した電気機器
JP2558314Y2 (ja) 機器の耐振機構
KR200305480Y1 (ko) 씨디 플레이어의 도어 개폐장치
KR20030002569A (ko) 휴대용 디스크 플레이어와 외부기기의 체결구조

Legal Events

Date Code Title Description
A977 Report on retrieval

Free format text: JAPANESE INTERMEDIATE CODE: A971007

Effective date: 20050221

TRDD Decision of grant or rejection written
A01 Written decision to grant a patent or to grant a registration (utility model)

Free format text: JAPANESE INTERMEDIATE CODE: A01

Effective date: 20050419

A61 First payment of annual fees (during grant procedure)

Free format text: JAPANESE INTERMEDIATE CODE: A61

Effective date: 20050427

FPAY Renewal fee payment (event date is renewal date of database)

Free format text: PAYMENT UNTIL: 20080513

Year of fee payment: 3

FPAY Renewal fee payment (event date is renewal date of database)

Free format text: PAYMENT UNTIL: 20090513

Year of fee payment: 4

LAPS Cancellation because of no payment of annual fees