JP3673928B2 - 面状光源装置に用いる基板の製造方法 - Google Patents

面状光源装置に用いる基板の製造方法 Download PDF

Info

Publication number
JP3673928B2
JP3673928B2 JP22965795A JP22965795A JP3673928B2 JP 3673928 B2 JP3673928 B2 JP 3673928B2 JP 22965795 A JP22965795 A JP 22965795A JP 22965795 A JP22965795 A JP 22965795A JP 3673928 B2 JP3673928 B2 JP 3673928B2
Authority
JP
Japan
Prior art keywords
transparent resin
film
substrate
resin substrate
light source
Prior art date
Legal status (The legal status is an assumption and is not a legal conclusion. Google has not performed a legal analysis and makes no representation as to the accuracy of the status listed.)
Expired - Fee Related
Application number
JP22965795A
Other languages
English (en)
Other versions
JPH0955111A (ja
Inventor
信吾 鈴木
真文 岡田
Current Assignee (The listed assignees may be inaccurate. Google has not performed a legal analysis and makes no representation or warranty as to the accuracy of the list.)
Minebea Co Ltd
Original Assignee
Minebea Co Ltd
Priority date (The priority date is an assumption and is not a legal conclusion. Google has not performed a legal analysis and makes no representation as to the accuracy of the date listed.)
Filing date
Publication date
Application filed by Minebea Co Ltd filed Critical Minebea Co Ltd
Priority to JP22965795A priority Critical patent/JP3673928B2/ja
Publication of JPH0955111A publication Critical patent/JPH0955111A/ja
Application granted granted Critical
Publication of JP3673928B2 publication Critical patent/JP3673928B2/ja
Anticipated expiration legal-status Critical
Expired - Fee Related legal-status Critical Current

Links

Images

Landscapes

  • Liquid Crystal (AREA)
  • Planar Illumination Modules (AREA)
  • Laminated Bodies (AREA)

Description

【0001】
【発明の属する技術分野】
本発明は、看板や各種表示装置等の背面照明に用いる薄型の面状光源装置、特に液晶表示装置の背面照明手段に用いる基板の製造方法に関するものである。
【0002】
【従来の技術】
従来、薄型の面状光源装置としては、サイドライト方式(導光板方式)が知られている。サイドライト方式の面状光源装置の一例として、その構造は、図12、図13に示されるように、アクリル等の透光性の高い材料による略断面矩形状の透明樹脂基板41の裏面42には、白色または乳白色インクにより、一端側から他端側に行くにつれてその密度が変化するように、通常スクリーン印刷方式により印刷された散乱パターン43が施されている。さらに、該散乱パターン43の後方には、反射板44が配置されている。また、透明樹脂基板41の表面45には、拡散板46が配置されている。
【0003】
透明樹脂基板41の端面47には、直線状光源である蛍光管48が透明樹脂基板41の端面47とほぼ当接するように配置されており、その外周面でかつ前記端部47を向いた面以外の部分は、銀等を蒸着した反射フィルム49で覆われている。蛍光管48が置かれている側とは反対側の透明樹脂基板41の端面には、反射テープ等の反射材50が付加されている。(例えば、特開昭63−92105号公開)
【0004】
図14は、このように構成されたサイドライト方式の面状光源装置における光線の挙動を説明するための模式的な断面図である。これを説明すると、蛍光管48からの発光光線は、反射フィルム49により反射されるので、その多くが透明樹脂基板41の端面47に到達し、透明樹脂基板41の内部に進入する。この光線の内、透明樹脂基板41の裏面42に印刷されている散乱パターン43に当たった光線51だけが散乱され、そのまま反射して透明樹脂基板41の表面に達する光線52及び裏面に抜けて反射板44に当たって反射し、透明樹脂基板41の表面45に向かう光線53の2つは、符号54で示すように、拡散板46を透過して画面に放射される。
【0005】
透明樹脂基板41の裏面42の散乱パターン43に当たらなかった光線55及び透明樹脂基板41の表面側45に当たった光線56は散乱パターン43に到達するまでそのまま内部で全反射を繰り返して進む。出射光が全画面上で均一な発光強度になるよう散乱パターンに密度分布を与えていることにより、比較的高輝度でしかも均一な面状光源が実現可能となっている。
【0006】
【発明が解決ようとする課題】
ところで、面状光源装置に用いられた透明樹脂基板41の裏面に配置される散乱パターン43の白色または乳白色インクによる印刷方法は、上述したように、通常スクリーン印刷方式による。このスクリーン印刷方式は、印刷工程における、インクを付着した後の乾燥工程で長い時間を必要とするため、生産性が極めて低いという欠点があった。また、使用する溶剤による環境の汚染問題も危惧される。
【0007】
そこで、本発明は、散乱パターン製造工程における生産性の向上と、かつ環境の汚染問題のない新規の散乱パターンを形成した面状光源装置に用いる基板の製造方法を提供することを目的とする。
【0008】
【課題を解決するための手段】
上記目的を達成するために、請求項1では、透明樹脂基材の上に、光散乱物質を包含した熱可塑性樹脂層を含有または坦持したフィルムを載置し、しかる後一側から他側に向かって密度が増加するように配置される光散乱パターンに対応する突起を配置した型を加熱、圧接後、冷却することにより、フィルムの光散乱物質を含む熱可塑性樹脂層のうち、光散乱パターンに対応した部分のみを選択的に該透明樹脂基材に密着させて、透明樹脂基板を構成することを特徴とする面状光源装置に用いる基板の製造方法である。
【0009】
請求項2では、前記フィルムが耐熱性を有したフィルム基材とし、しかもフィルム基材は光散乱物質を含有または坦持したものであり、前記透明樹脂基材上に、該フィルムを載置し、しかる後前記光散乱パターンに対応する突起を配置した型を加熱、圧接後、冷却することにより、フィルムの光散乱物質を含む熱可塑性樹脂のうち、光散乱パターンに対応した密着部分のみを選択的に該透明樹脂基材に密着させた後、該フィルム基材を剥離させ、前記密着部分のみを透明樹脂基材上に残すことにより透明樹脂基板を構成することを特徴とする面状光源装置に用いる基板の製造方法である。
【0010】
【発明の実施の形態】
まず、本発明方法によって製造された基板が用いられる面状光源装置の構造を添付図面に基づいて説明する。
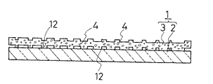
図1、図2において、上方が面状光源装置の裏面であり、下方が表面である。1は、断面略矩形のアクリル樹脂等の透光性の高い材料よりなる2層の透明樹脂基板である。透明樹脂基板1を形成する2層のうち1層は、表面側(図面下方)のアクリル樹脂製の透明樹脂基材2であり、もう1層は、裏面側(図面上方)に位置するアクリル樹脂製のフィルム3である。
【0011】
フィルム3は、厚さが100μmであり、フィルム3の全表面と内部に渡って光散乱物質4としてTiO2 を含有している。フィルム3には、画面上で均一の発光強度とするために密度を変えた光散乱パターンが施されている。その光散乱パターンは、面状光源装置裏面から観察すると、例えば、図1に示すように、大きさの異なる凹部、例えば円が、柱形状凹部をフィルムに多数、光源から遠ざかる方向に径が大きくなるように形成する。
【0012】
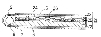
さらに、透明樹脂基板1を形成する透明樹脂基材2の外方(開放側面)には、画面全体を覆うように拡散板5が、フィルム3の外方(開放側面)には、反射板6が装置裏面を覆うように設置されている。透明樹脂基板1の端面7にほぼ当接するように直線状光源である蛍光管8が置かれている。該蛍光管8の外周でかつ透明樹脂基板1の位置する面以外の外周面は、アルミニウム、銀等を蒸着した反射フィルム9で覆われ、該反射フィルム9は透明樹脂基板1の表裏それぞれに接着されている。蛍光管8が置かれている以外の装置の側面には、反射テープ等の反射材10が備えられている。
【0013】
図4に基づいて、第1の実施の形態として、図1、図2で説明した面状光源装置に用いる透明樹脂基板1の製造方法を説明する。
図4に示すように、アクリル樹脂製の断面略矩形状の透明樹脂基材2上に、光散乱物質4としてTiO2 を略均一に含有した厚さ100μmのアクリル樹脂製フィルム3を置く。そして、フィルム3上方から、光散乱パターンを形成させるための凹凸形状を有する型11を型温180℃程度で加熱、加圧し、加圧を続けながら型11を冷却し、アクリル樹脂が冷却したところで型11を剥離する(エンボス加工)。このようにして図3に示される透明樹脂基板1は製造される。
【0014】
上述したエンボス加工によりフィルム3には凹凸形状の光散乱パターンが形成されているので、透明樹脂基板1を形成する透明樹脂基材2とフィルム3の境界面には、型11の押圧によってフィルム3において境界面に対して凸部となった密接部分12のみが溶着している。本実施例においては、画面の正面から観察した光散乱パターンの凹凸形状を、従来例の図12で示した印刷により施す散乱パターンと同様の円形状としたので、透明樹脂基材2に溶着しているフィルム3の密接部分12は、従来の散乱パターンと同様円形状に、透明樹脂基材2との境界面に溶着している。したがって、透明樹脂基板1内に到達した発行光線は、従来例で示した図14の発光光線と略同様の挙動を示す。なお、溶着していない部分のフィルム3は除去してもよい。しかし、この場合反射板6は不可欠となる。
【0015】
次に、本発明方法によって製造された基板が用いられる面状光源装置の作用を説明する。
蛍光管8からの発光光線は、反射フィルム11で覆われる透明樹脂基板1の端面7以外の蛍光管8の外周面では反射され、発光された光線ほぼ全てが、端面7に到達し透明樹脂基板1内に進入する。光散乱パターンを形成するフィルム3に到達した発光光線は、表面側に拡散され、透明樹脂基板1の表面へ向い、進入角度の大きい光線は、拡散板5を透過して表面に放射され、それ以外は裏面方向に反射する。フィルム3を透過した発光光線は、後方に位置する反射板6により、やはり表面方向に反射する。
【0016】
また、表面に放射される進入角度に達しない発光光線も、反射板6および拡散板5にあたり反射を繰り返すうちに、透明樹脂基板1の表面への進入角度が変化するので表面に放射される。なお、フィルム3に施された光散乱パターンの形状は、光源から遠ざかる(図2の右側)ほど透明樹脂基板1に接する面積が多くなるので、光は光源から遠ざかるほど多く散乱され放射されるため、光源の位置に左右されることなく全画面上で均一な発光強度となる。
【0017】
次に、本発明の第2の実施の形態について説明する。面状光源装置と、面状光源装置に用いられる基板の構成は、図5、図6に示されるが、前掲の第1の実施例と略同様である。第1の実施例との相違点は、面状光源装置内に備えられる透明樹脂基板21の構造にある。
【0018】
図7に基づいて面状光源装置に用いられる透明樹脂基板21の製造方法を説明する。
アクリル樹脂製の断面略矩形の透明樹脂基材22上に、厚さ100μmの透明アクリル樹脂製のフィルム基材23を置く。ここで、該フィルム基材23の片側一面には、光散乱物質24としてTiO2 を含有したアクリル樹脂系塗料を塗布することにより、光散乱薄膜25を形成しているので、透明樹脂基材22と対向するように配置する。さらに、フィルム基材23上方から、光散乱パターンを形成させるための凹凸形状を有する型26を型温180℃程度で加熱、加圧し、加圧を続けながら型26を冷却し、アクリル樹脂が冷却したところで型26を剥離する(エンボス加工)。このようにして、図6に示される透明樹脂基板21が製造される。
【0019】
第2の実施の形態として説明した透明樹脂基板21を、図5に示すように面状光源装置に用いると、第1の実施の形態においての説明と同様に、エンボス加工により、フィルム基材23に光散乱パターンが施されるのと同時に、透明樹脂基材22とフィルム基材23の境界面に、フィルム基材23に対して凸部となった密接部分27が溶着しているので、発光光線の挙動は、従来と略同様である。なお、溶着していない部分のフィルム基材23は除去してもよい。この場合、反射板6は不可欠である。
【0020】
第3の実施の形態として、面状光源装置と、面状光源装置に用いられる基板の別の構成は、図8、図9に示される。前記実施例との相違点は、第3の実施例も同様に、面状光源装置内に備えられる図9に示す透明樹脂基板31の構造である。
【0021】
図10に基づいて図9に示される面状光源装置に用いる透明樹脂基板31の製造方法を説明する。
アクリル樹脂製の断面略矩形の透明樹脂基材32上に、厚さ100μmのPET樹脂製のフィルム基材33を載置する。ここで、該フィルム基材33の片側一面には、光散乱物質34としてTiO2 を含有したアクリル樹脂系塗料を塗布することにより、光散乱薄膜35が形成されているので、透明樹脂基材32の一面にわたって光散乱物質34が配置される。さらにフィルム基材33上方から、光散乱パターンを形成させるための凹凸形状を有する型36を型温180℃程度で加圧し、加圧を続けながら型36を冷却し、樹脂が十分冷却したところで型36を剥離する。フィルム基材33が型押しされ型36の凸部に当接したフィルム33の片面に形成された光散乱薄膜35の溶接部分37が透明樹脂基材32に溶着することになる。さらに、溶着していない部分のフィルム基材33を剥離すると、透明樹脂基材32上に光散乱薄膜35の溶接部分37のみが残留した、透明樹脂基板31が製造される。
【0022】
この透明樹脂基材32に溶着した光散乱薄膜35の溶接部分37は、型36の凸部に対応しているので、前掲の実施の形態同様に、面状光源装置内における発光光線は、従来例で示した図14の発光光線と同様の挙動を示す。
【0023】
また、熱加圧成形により、フィルム基材33と光散乱物質34を含有したアクリル樹脂系塗料を塗布して形成される光散乱薄膜35との溶着が良く、フィルム基材33剥離の際に、光散乱薄膜35も一緒に剥離する等の支承が起こる場合は、透明樹脂基板31上に位置させるフィルム基材33の構成を図11に示すように、フィルム基材33と光散乱物質34を含有したアクリル樹脂系塗料を塗布してなる光散乱薄膜35との間に、密着を防止するための剥離層38を設けてもよい。なお、この場合は、第1の実施の形態の構造となる。
【0024】
前掲の3通りの実施の形態で示した本発明方法により製造された各基板を面状光源装置に用いて評価を行った結果、発光面上での明るさ及びその均一性ともに従来の白色または乳白色のインクを印刷した散乱パターンを有する面状光源装置とほぼ同一の結果を得ることができた。
【0025】
本発明を実施するに際して用いる透明樹脂基材は、光学特性、成形加工性の点から特に優れているアクリル樹脂とした。しかし、勿論これに限定されるものではなく、これに換えて、塩化ビニール樹脂、ポリカーボネート樹脂、オレフィン系樹脂、スチレン系樹脂等の各種熱可塑性の透明樹脂等が使用可能である。またCR−39等の熱硬化性透明樹脂や各種ガラス材料等の無機透明材料等も適用可能である。また、本発明に係るフィルム基材も同様に、各種樹脂材料が適用可能である。材料選定の基準としては、加熱、加圧した場合の材料の破断がないことである。温度特性、強度を考慮して、フィルム基材として用いる各種樹脂材料の材質、厚みを適宜選択できる。
【0026】
さらに本発明に係る光散乱物質として、実施例ではTiO2 を使用するが、これに換えて、SiO2 、CaCO3 、Al23 、BaSO4 、ZnO、ガラス微粉末等の無機系の光散乱材やまたは有機系の光散乱材であって、しかも液状樹脂媒体に溶解または化学変化をしない物質を選択することができる。またこれらを単体で使用してもよいし、2種以上を混合して使用してもよい。光散乱物質を包含するための熱可塑性樹脂についても、透明樹脂であれば特に限定されるものでなく、透明樹脂基材用材料で例示した材料を使用可能であるが、透明樹脂基材と同一または類似の熱的特性を有する材料を選択することが望ましい。
【0027】
本発明を実施する際の透明樹脂基板の形状は、実施の形態では断面が略矩形のいわゆる平板を使用したが、これに限定されるものではなく、断面が三角形、台形、多角形、曲線、その他の形状の板状体についても適用が可能である。
【0028】
【発明の効果】
以上詳述した通り、本発明の面状光源装置に用いる基板の製造方法では、面状光源装置内で発光光線を散乱させるための散乱パターンを、従来の白色または乳白色インクで印刷するのではなく、光散乱物質を含有したフィルムにエンボス加工により凹凸形状を付与するものとした。したがって、光散乱パターン製造工程において、低い生産性の原因となっていたインクを乾燥させる工程を削除できる。これにより、高い生産性を得ることになった。また、インクを使用しないことから、溶剤による環境汚染への危惧もなくなる。
【0029】
そして、透明樹脂基材上に、光散乱物質を内包したフィルムを載置し、エンボス加工を行うことにより、フィルムに光散乱パターンとしての凹凸形状を施すだけでなく、透明樹脂基材側に突出した光散乱パターンに対応した凸部のみが、透明樹脂基材と溶着することにより、透明樹脂基板を一体的に形成することができる。故に、フィルムに光散乱パターンを形成する工程と、透明樹脂基材とフィルムを密着させる工程が、エンボス加工を行うことにより、1工程として行えるので生産効率が良い。
【0030】
また、図1〜図4で述べた第1の実施の形態においては、本発明の製造方法により製造された透明樹脂基板1の裏面に備わる光散乱パターンを形成したフィルム3が装置裏面全体を覆い、フィルム3内に均一に散在する光散乱物質4により光が散乱されるため、面状光源装置裏面に備わる反射板6を削除することが可能である。これにより、構成部材の削減を図ることができ、生産効率が向上する。
【図面の簡単な説明】
【図1】第1の実施の形態により説明される本発明の製造方法により製造された透明樹脂基板1を用いた面状光源装置を裏面より見た斜視図である。
【図2】図1の面状光源装置の構造を示す断面図である。
【図3】図1の面状光源装置に用いる透明樹脂基板1の断面図である。
【図4】図3の透明樹脂基板1の製造過程を示す断面図である。
【図5】第2の実施の形態により説明される本発明の製造方法により製造された透明樹脂基板21を用いた面状光源装置の構造を示す断面図である。
【図6】図5の面状光源装置に用いる透明樹脂基板21の断面図である。
【図7】図7の透明樹脂基板21の製造過程を示す断面図である。
【図8】第3の実施の形態により説明される本発明の製造方法により製造された透明樹脂基板31を用いた面状光源装置の構造を示す断面図である。
【図9】図8の面状光源装置に用いる透明樹脂基板31の断面図である。
【図10】図9の透明樹脂基板31の製造過程を示す断面図である。
【図11】第3の実施の形態により説明される透明樹脂基板31を製造するための部材である、剥離層37を設けたフィルム基材33の断面図である。
【図12】従来の面状光源装置を裏面より見た斜視図である。
【図13】従来の面状光源装置の構造を示す断面図である。
【図14】面状光源装置における光線の挙動を説明するための模式的な断面図である。
【符号の説明】
1 透明樹脂基板
2 透明樹脂基材
3 フィルム
4 光散乱物質
21 透明樹脂基板
22 透明樹脂基材
23 フィルム基材
24 光散乱物質
25 光散乱薄膜
31 透明樹脂基板
32 透明樹脂基材
33 フィルム基材
34 光散乱物質
35 光散乱薄膜

Claims (2)

  1. 透明樹脂基材の上に、光散乱物質を含有または坦持したフィルムを載置し、しかる後一側から他側に向かって密度が増加するように配置される光散乱パターンに対応する突起を配置した型を加熱、圧接後、冷却することにより、フィルムの光散乱物質を含む熱可塑性樹脂層のうち、光散乱パターンに対応した部分のみを選択的に該透明樹脂基材に密着させて、透明樹脂基板を構成することを特徴とする面状光源装置に用いる基板の製造方法。
  2. 前記フィルムが耐熱性を有したフィルム基材とし、しかもフィルム基材は光散乱物質を含有または坦持したものであり、前記透明樹脂基材上に、該フィルムを載置し、しかる後前記光散乱パターンに対応する突起を配置した型を加熱、圧接後、冷却することにより、フィルムの光散乱物質を含む熱可塑性樹脂層のうち、光散乱パターンに対応した密着部分のみを選択的に該透明樹脂基材に密着させた後、該フィルム基材を剥離させ、該密着部分のみを透明樹脂基材上に残すことにより前記透明樹脂基板を構成することを特徴とする請求項1に記載の面状光源装置に用いる基板の製造方法。
JP22965795A 1995-08-15 1995-08-15 面状光源装置に用いる基板の製造方法 Expired - Fee Related JP3673928B2 (ja)

Priority Applications (1)

Application Number Priority Date Filing Date Title
JP22965795A JP3673928B2 (ja) 1995-08-15 1995-08-15 面状光源装置に用いる基板の製造方法

Applications Claiming Priority (1)

Application Number Priority Date Filing Date Title
JP22965795A JP3673928B2 (ja) 1995-08-15 1995-08-15 面状光源装置に用いる基板の製造方法

Publications (2)

Publication Number Publication Date
JPH0955111A JPH0955111A (ja) 1997-02-25
JP3673928B2 true JP3673928B2 (ja) 2005-07-20

Family

ID=16895647

Family Applications (1)

Application Number Title Priority Date Filing Date
JP22965795A Expired - Fee Related JP3673928B2 (ja) 1995-08-15 1995-08-15 面状光源装置に用いる基板の製造方法

Country Status (1)

Country Link
JP (1) JP3673928B2 (ja)

Families Citing this family (2)

* Cited by examiner, † Cited by third party
Publication number Priority date Publication date Assignee Title
WO2009103517A1 (en) * 2008-02-22 2009-08-27 Osram Opto Semiconductors Gmbh Optical arrangement and production method
KR101794792B1 (ko) 2012-07-27 2017-11-07 사카모토 준 도광판, 광원 장치, 도광판 제조 장치 및 도광판의 제조 방법

Also Published As

Publication number Publication date
JPH0955111A (ja) 1997-02-25

Similar Documents

Publication Publication Date Title
TWI502230B (zh) 光導元件
US5641219A (en) Uniform illumination light emitting device
TWI596406B (zh) 光導元件
TWI542910B (zh) 光導元件及其製造方法以及顯示元件
JPH0855507A (ja) 面光源、それを用いた表示装置、及びそれらに用いる光拡散シート
JP2008016429A (ja) バックライトアセンブリ及び液晶表示装置
JPH1096806A (ja) ディスプレイ用反射材
KR100402718B1 (ko) 각을 형성하면서 측면에 광을 주사하는 광원 엘리먼트
JP3518554B2 (ja) レンズシート及び該レンズシートを用いた面光源
KR20010007358A (ko) 휘도가 균일한 액정 디스플레이용 광학 유도판 및 그제조방법
JP2974400B2 (ja) 面発光装置とその製造方法
JP2010218693A (ja) 点状光源用導光板
JPH08281822A (ja) 面発光装置の製造方法
JP2002214411A (ja) 光学シート及び照明装置及び光学部材
JPH075462A (ja) 面光源、それを用いた表示装置、及びそれらに用いる光拡散シート
JP2002124113A (ja) 面照明装置
JP3064006B2 (ja) 面発光装置
JP3673928B2 (ja) 面状光源装置に用いる基板の製造方法
JP4271928B2 (ja) 光反射材料及びそれを用いた光源装置
JP3796663B2 (ja) 面状光源装置およびその製造方法
JPH035726A (ja) バックライト装置
JP4191498B2 (ja) 光学素子、その製造方法及び液晶表示装置
JPH08190023A (ja) 面発光装置
JP3579849B2 (ja) 面状光源装置の製造方法
JPH10206645A (ja) 面発光装置

Legal Events

Date Code Title Description
TRDD Decision of grant or rejection written
A01 Written decision to grant a patent or to grant a registration (utility model)

Free format text: JAPANESE INTERMEDIATE CODE: A01

Effective date: 20050406

A61 First payment of annual fees (during grant procedure)

Free format text: JAPANESE INTERMEDIATE CODE: A61

Effective date: 20050413

R150 Certificate of patent or registration of utility model

Free format text: JAPANESE INTERMEDIATE CODE: R150

FPAY Renewal fee payment (event date is renewal date of database)

Free format text: PAYMENT UNTIL: 20090513

Year of fee payment: 4

FPAY Renewal fee payment (event date is renewal date of database)

Free format text: PAYMENT UNTIL: 20090513

Year of fee payment: 4

FPAY Renewal fee payment (event date is renewal date of database)

Free format text: PAYMENT UNTIL: 20100513

Year of fee payment: 5

FPAY Renewal fee payment (event date is renewal date of database)

Free format text: PAYMENT UNTIL: 20110513

Year of fee payment: 6

FPAY Renewal fee payment (event date is renewal date of database)

Free format text: PAYMENT UNTIL: 20110513

Year of fee payment: 6

FPAY Renewal fee payment (event date is renewal date of database)

Free format text: PAYMENT UNTIL: 20120513

Year of fee payment: 7

FPAY Renewal fee payment (event date is renewal date of database)

Free format text: PAYMENT UNTIL: 20130513

Year of fee payment: 8

FPAY Renewal fee payment (event date is renewal date of database)

Free format text: PAYMENT UNTIL: 20140513

Year of fee payment: 9

LAPS Cancellation because of no payment of annual fees