JP3661986B2 - 自動端子挿入機における端子付電線のチャック装置及びそのチャック方法 - Google Patents
自動端子挿入機における端子付電線のチャック装置及びそのチャック方法 Download PDFInfo
- Publication number
- JP3661986B2 JP3661986B2 JP34184199A JP34184199A JP3661986B2 JP 3661986 B2 JP3661986 B2 JP 3661986B2 JP 34184199 A JP34184199 A JP 34184199A JP 34184199 A JP34184199 A JP 34184199A JP 3661986 B2 JP3661986 B2 JP 3661986B2
- Authority
- JP
- Japan
- Prior art keywords
- terminal
- electric wire
- chuck
- wire
- wire portion
- Prior art date
- Legal status (The legal status is an assumption and is not a legal conclusion. Google has not performed a legal analysis and makes no representation as to the accuracy of the status listed.)
- Expired - Lifetime
Links
- 238000003780 insertion Methods 0.000 title claims description 43
- 230000037431 insertion Effects 0.000 title claims description 43
- 238000000034 method Methods 0.000 title claims description 12
- 210000000078 claw Anatomy 0.000 description 5
- 238000002788 crimping Methods 0.000 description 4
- 230000000694 effects Effects 0.000 description 3
- 230000007246 mechanism Effects 0.000 description 3
- 238000012937 correction Methods 0.000 description 2
- 230000009471 action Effects 0.000 description 1
- 238000013459 approach Methods 0.000 description 1
- 238000005452 bending Methods 0.000 description 1
- 230000008859 change Effects 0.000 description 1
- 238000013461 design Methods 0.000 description 1
- 230000006872 improvement Effects 0.000 description 1
- 230000013011 mating Effects 0.000 description 1
- 239000002184 metal Substances 0.000 description 1
- 230000008569 process Effects 0.000 description 1
- 230000001105 regulatory effect Effects 0.000 description 1
Images
Landscapes
- Manufacturing Of Electrical Connectors (AREA)
Description
【発明の属する技術分野】
本発明は、チャックミスを防止し、かつ、コネクタハウジングへの挿入ミスを低減するのに好適な自動端子挿入機における端子付電線のチャック装置及びそのチャック方法の改良に関する。
【0002】
【従来の技術】
一般に自動端子挿入機がその端子挿入ヘッドによって端子付電線をチャックして相手側のコネクタハウジングの端子収容室へ挿入する場合、挿入ミスやチャックミスを回避しなければならないが、通常端子と端子収容室とを合致させることは寸法精度を要求され、困難なこととされる。
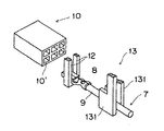
図6〜図11において、従来の自動端子挿入機1は、主として載置台2の上に設けられたクランプ竿3と横断面L字状の端子ブロック4と、縦壁5に載置台2の長手方向に移動可能に設けられた端子挿入ヘッド6からなる。端子付電線7(以下場合によっては「電線」ともいう)はその両端に取り付けた金属端子8(以下「端子」という)を端子ブロック4に置かれ、電線部分9をクランプ竿3に把持させる。端子挿入ヘッド6によりチャックされてクランプ竿3から持ち上げられた電線7は、一本ずつ掴まれてその端子8を載置台2の上に位置決めして置かれたコネクタハウジング10(以下「コネクタ」ともいう。)の所定の端子収容室10’に挿入される。
【0003】
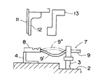
この端子挿入が端子挿入ヘッド6により行われる方法を詳しく説明すると、機械的または人為的手法によりクランプ竿3に電線部分9を打ち込まれた電線7は、その端子8を端子ブロック4に載置された状態にある。次いで上方から端子挿入ヘッッド6が所定の掴み位置まで近接するように移動する。この端子挿入ヘッド6には端子仮押さえ11,端子チャック12および電線チャック13が上下、左右、前後方向に移動するように組み込まれていて、最初は端子仮押さえ11が降りてきて端子8を端子ブロック4との間に挟むことで端子8頭部の上下方向の位置を矯正する。矯正が終わった後に下降してきた開閉自在の一対の端子チャック12と電線チャック13とが、端子8と電線部分9を横方向から挟持(チャック)し、所定の間隔を保ちながらコネクタ10の高さまで上昇し電線7を上方に移動させる。その状態を維持しながらコネクタ10に向かって前進させ、端子8前端の頭部がコネクタ10の図示しない端子収容室に入るための位置決めがなされる。すると、端子仮押さえ11が上昇し、端子チャック12も開放されて上方に移動する。こうして電線チャック13だけが電線7をチャックしたまま前進して、端子8がコネクタ10の所定の端子収容室10’に完全に挿入されていく。その後電線チャック13も開放されて上昇し、端子チャック12および電線チャック13が元の位置に復帰する。
【0004】
【発明が解決しようとする課題】
ところが、従来装置にあっては、コネクタ10へ挿入される前の電線部分9は、クランプ竿3を中心にして端子8に向かうにつれて曲がったり、あるいは符号5’、5”に示すように水平面だけでなく上下面内においても湾曲して撓んだりし(図10)、また電線部分9がクランプ竿3に中途半端に浮き上がった状態で嵌まり込むことにより、端子8の位置がクランプ竿3の支持位置よりも低くなって傾斜する場合がある。この状態では端子ブロック4上の端子8が微妙に傾いたりするため、端子仮押さえ11による矯正が不十分となり、端子チャック12が端子8を掴んで挿入しようとすると、端子チャック11や電線チャック13による掴み位置にずれを生じたままチャックするため、端子8の挿入ミスが発生する原因になっていた。また電線7の曲がりによる端子8先端の左右方向に生じた位置ずれは、電線の真直性を維持するものがないので矯正できず、各チャック12,13による適正なチャックができず、いわゆるチャックミスが発生する原因にもなっていた。
また、これらのミスが発生すると、その都度装置を停止して段取りを行わなければならず、それでけ生産性が低下する。
【0005】
本発明は、上述した事情に鑑みて工夫されたもので、チャック前の段階における端子付電線の状態を安定させてチャックミスやコネクタハウジングへの挿入ミスを低減し、ひいては端子付電線のチャック動作を簡素化し、挿入タクトの向上を図ることを目的とする。
【0006】
【課題を解決するための手段】
前記課題を解決するためなされた請求項1記載の発明に係る自動端子挿入機における端子付電線のチャック装置は、端子挿入ヘッドに設けた端子チャックと電線チャックとにより端子付電線の端子と電線部分とをチャックしてコネクタハウジングの所定の端子収容室に該端子を挿入するようにした自動端子挿入機において、前記端子を載置する端子ブロックと前記電線部分を挟持して支持するクランプ竿との間に、前記電線部分が填り込む溝を有していて該電線部分が溝に填り込むことにより該電線部分の左右の振れを規制する電線ガイド部材を設けると共に前記電線チャックには電線押えを設けて、該電線チャックが下方に降下することにより前記クランプ竿で支持された電線部分を上方から押さえて前記クランプ竿の溝底部に着座せしめるようにし、前記端子及び前記電線部分がチャックされる前に、前記端子ブロックと前記電線ガイド部材と前記クランプ竿とで支持された前記端子付電線が略水平状態かつ略直線状に矯正されて保持されるように構成されたことを特徴とする。
【0007】
本発明においては、前記のように、前記電線チャックには電線押さえが設けられ、該電線チャックが下方に移動したとき、前記クランプ竿に支持された前記電線部分を上から押さえて該電線部分を略直線状に矯正するようにしたことが特徴となっている。
【0008】
請求項2記載の発明に係る自動端子挿入機における端子付電線のチャック方法は、挿入ヘッドに設けた端子チャックと電線チャックとにより端子付電線の端子と電線部分とをチャックしてコネクタハウジングの所定の端子収容室に該端子を挿入するようにした自動端子挿入機における端子付電線のチャック方法において、前記端子を載置する端子ブロックと前記電線部分を挟持して支持するクランプ竿との間に、前記電線部分が填り込む溝を有していて該電線部分が溝に填り込むことにより該電線部分の左右の振れが規制される電線ガイド部材が設けられると共に前記電線チャックには電線押えが設けられていて、該電線チャックの下方への降下により前記クランプ竿で支持された電線部分を上方から押さえて前記クランプ竿の溝底部に着座せしめ、このようにして、前記端子及び前記電線部分がチャックされる前に、該端子付電線の姿勢を左右方向及び上下方向で略水平状態かつ略直線状になるように矯正し、その後に前記端子チャック及び電線チャックにより前記端子付電線をチャックすることを特徴とする。
【0009】
本発明においては、前記のように、電線チャックが下方へ移動すると該電線チャックに設けられている電線押えにより前記クランプ竿で支持された電線部分を上方から押さえて前記クランプ竿の溝底部に着座せしめて、前記端子付電線の姿勢が、上下方向にも矯正されて略直線状になることが特徴である。
【0010】
請求項1記載の発明によれば、端子を載置する端子ブロックと端子付電線の電線部分を挟持して支持するクランプ竿との間に、該電線部分の左右の振れを規制する電線ガイド部材を設けたので、前記端子及び前記電線部分がチャックされる前に、前記端子ブロックと前記電線ガイド部材と前記クランプ竿とで支持された前記端子付電線が、略直線状に矯正されて保持される。
【0011】
特に、電線チャックには電線押さえを設けたので、該電線チャックが下方に移動したとき、クランプ竿に支持された電線部分を上から押さえて該電線部分を略直線状に矯正する。
【0012】
請求項2記載の発明によれば、端子及び電線部分がチャックされる前に、端子付電線の姿勢を予め左右方向に略直線状になるように矯正し、その後に前記両チャックにより前記端子付電線をチャックされるように構成されたので、電線の状態が安定し、端子付電線の端子は、コネクタハウジングの所定の端子収容室への挿入位置と合致する。
【0013】
特に、前記電線チャックには電線押えが設けられていて、該電線チャックの下方への降下により前記クランプ竿で支持された電線部分を上方から押さえて前記クランプ竿の溝底部に着座せしめるから、端子付電線の姿勢が上下方向にも略直線状になるように矯正され、さらに電線の状態が安定する。
【発明の実施の形態】
以下、本発明の実施の形態を図1〜図5に基づいて説明する。
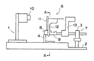
図1は自動端子挿入機の全体を示す側面図、図2は電線ガイド部材の拡大正面図、図3は端子付電線がチャックされる前における状態を示す作用説明図、図4は該電線がチャックされる状態を示す作用説明図である。なお上記従来装置と実質的に同一部分ないしは同一部材には上記に用いたと同一符号を付してその説明を省略する。
【0014】
図1の自動端子挿入機1は端子挿入ヘッド6を有し、その挿入ヘッド6は縦壁5に対してスライダ15を介して左右(横)方向に移動でき、またサポートガイド16に対して上下方向にも移動できる。この挿入ヘッド6には図示はしないが、端子チャック12や電線チャック13を前後、左右、および上下方向に移動させる種々のエアシリンダが設けられる。これらにおける上記左右、上下の各方向およびチャック動作に必要な駆動ないし移動のための制御は、端子、電線の品種、サイズ等に合わせた位置データを予め持つことで多品種に対応させてき、サーボモータ機構により三軸の駆動制御が行われるように構成される。
【0015】
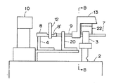
端子8を載置する端子ブロック4と電線部分9を挟持して支持するクランプ竿3との間に、アングル状の電線ガイド部材20が設けられる。図2のように電線ガイド部材には左右方向に沿って多数の溝21が形成され、そこに電線部分9が填り込むことで電線部分9の左右の振れが規制される。これにより電線部分9がチャックされる前に、端子ブロック4と電線ガイド部材20とクランプ竿3とで支持された部分における端子付電線7が、略水平状態かつ略直線状を保つように支持される。
一方、電線チャック13には電線押さえ22が設けられる。すなわち一対の電線チャック爪131(以下「爪」という)のうち片側の爪131に電線押さえ22が設けられるのである(図5(a))。電線チャック13が下方に移動したとき、先ずクランプ竿3に支持された電線部分9を上から押さえて該竿3の溝底部23に着座せしめる。その後サーボモータ機構により電線チャック13の爪131は該電線部分を挟持することとなる。このようにすることで、端子8及び電線部分9がチャックされる前に、端子付電線7の姿勢は、電線ガイド部材20により左右方向において略直線状になるように矯正され、電線押さえ22により端子付電線7の姿勢が上下方向においても略直線状になるように矯正される。そして結果的に端子ブロック4,電線ガイド部材20,およびクランプ竿3で支持された端子付電線7は、ほぼ真っ直ぐの状態でチャック前のスタンバイ状態を安定的に維持され、かつ端子8も端子ブロック4の上を何ら傾斜するこがなく、略水平状態を安定的に維持することとなる。。またこの水平状態は、端子8および電線部分9がチャックされて、端子8がコネクタ10の端子収容室10’に挿入されるときにおける挿入方向は、該収容室10’内を端子8が進入する方向に略一致するように設定されるものである。
【0016】
次に端子付電線7のチャック方法について説明する。前工程において端子ブロック4,電線ガイド部材20,クランプ竿3に端子付電線7が支持して準備される(図3)。このとき端子挿入ヘッド6側に設けられた端子チャック12および電線チャック13は、セットして準備された端子付電線7の上方にある。次いで端子挿入ヘッド6全体が下降してきて図4の状態になる。このとき、クランプ竿3の溝23内で電線部分9が浮き上がっている場合には、電線押さえ22により該部分9は溝底に当接するように押しつけられる。また電線ガイド部材20の溝21に填り込んだ電線部分9の水平面内における左右方向のそりや湾曲した変形のバラツキは矯正される。
【0017】
次に端子付電線7が直線状に矯正されたあとに、端子8の端子圧着部8’が端子チャック12(図1の12’)により、また電線部分9が電線チャック13(図1の13’)の一対の爪131によりそれぞれチャックされる。チャックされた電線7は端子挿入ヘッド6が上方へ移動し、図5(b)のようにコネクタ10のこれから挿入しようとする所定の端子収容室10’の位置まで移動する。各チャック12,13が一定の間隔をたもったままで、矢印B方向に端子8が進み、端子8前端が端子収容室10’の入り口近傍に差し込まれて位置合わせが行われる。この状態から一旦端子チャック1だけが上にひきあげられ、さらに電線チャック13はコネクタ10方向(B方向)に移動される。こうして端子8が端子収容室10’に挿入されることとなる。その後電線チャック13も上にひきあげられ、端子挿入ヘッド6、各チャック12,13は最初の位置にもどり、次の端子の挿入工程にはいる。
【0018】
本実施の形態は、上記のような構成を有するため、電線ガイド部材20,電線押さえ22により端子付電線7を上下、左右の2方向にガイドして矯正することができ、挿入ヘッド6で端子付電線7をチャックするとき、電線が安定した状態でチャックされる。従って、チャックのミスやコネクタへの挿入ミスを低減することができる。
また端子8と電線部分9の状態を安定させることができるので、寸法精度の厳しい端子圧着部8’でも精度よくチャックできる。このため、端子品番、電線の品種、サイズ等の組み合わせが変わっても、圧着部の寸法、形状は大きく変わることはないため、チャック方法の自動化を拡大することが可能となり有利である。
【0019】
さらに、電線チャック13に電線押さえ22を設けた構成にしたため、該チャック13の下降動作のタクトにおいて電線部分を矯正して端子8や電線部分9の状態を安定して保持するので、チャックミスを低減でき、それだけ端子付電線7の掴み動作に他の補助的機構、例えば上記従来装置で用いたような端子仮押さえ11のごときタクトを省略でき、ひいては端子電線の掴み動作を簡素化でき挿入タクトのアップが可能となり、それだけ生産性を向上できる効果を有する。
【0020】
以上、本実施の形態を具体的に詳述してきたが、具体的な構成はこの形態に限られるものではなく、本発明の要旨を逸脱しない範囲の設計変更等があっても本発明に含まれる。
例えば、端子チャック12は端子のくびれた端子圧着部8’を掴むように構成したが、従来装置のように頭部を掴んでもよい。
【0021】
【発明の効果】
以上説明したように、請求項1に記載された本発明によれば、端子を載置する端子ブロックと端子付電線の電線部分を挟持して支持するクランプ竿との間に、該電線部分の左右の振れを規制する電線ガイド部材を設けたので、前記端子及び前記電線部分がチャックされる前に、前記端子ブロックと前記電線ガイド部材と前記クランプ竿とで支持された前記端子付電線が、略直線状に矯正されて保持される。このためチャックミスを防止し、コネクタ端子への端子の挿入ミスをも低減できる効果を奏する。
【0022】
特に、電線チャックに電線押さえを設けたので、該電線チャックが下方に移動したとき、クランプ竿に支持された電線部分を上から押さえて該電線部分を略直線状に矯正する。このため端子チャックや電線チャックによるチャックミスを防止してチャックをより一層確実なものとすることができ、また端子のコネクタハウジングへの挿入をより安定的なものとすることができる効果を奏する。
【0023】
請求項2に記載された本発明に係る自動端子挿入機における端子付電線のチャック方法によれば、端子及び電線部分がチャックされる前に、端子付電線の姿勢を予め左右方向に略直線状になるように矯正し、その後に前記両チャックにより前記端子付電線がチャックされる。このため、端子付電線が安定した状態となり、端子チャックおよび電線チャックによるチャックミスや端子挿入室への挿入ミスを大幅に低減できる効果を奏する。また従来装置で用いたような端子仮押さえ11のごときタクトを省略でき、ひいては端子電線の掴み動作を簡素化でき挿入タクトのアップが可能となり、それだけ生産性を向上できる効果を奏する。
【0024】
特に、端子付電線の姿勢が上下方向にも略直線状になるように矯正したので、さらに電線を真直状態に近かずけることができる。
【図面の簡単な説明】
【図1】本発明による一実施の形態に係る自動端子挿入機の全体を示す側面図である。
【図2】図1の電線ガイド部材の拡大正面図である。
【図3】端子付電線がチャックされる前における状態を示す作用説明図である。
【図4】端子付電線がチャックされる状態を示す作用説明図である。
【図5】(a)は図4におけるB−B線における要部拡大断面図、(b)はコネクタハウジングと端子チャックと電線チャックとの相関関係を示した作用説明図である。
【図6】従来装置における外観斜視図である。
【図7】端子付電線が端子ブロックとクランプ竿とにセットされる状態を示した概略平面図である。
【図8】端子付電線のチャック動作を示した作用説明図である。
【図9】図8のA−A線における矢視断面図である。
【図10】チャックされる前における端子付電線の状態を示す作用説明図である。
【図11】コネクタハウジングに電線が挿入される直前の状態を示した作用説明図である。
【符号の説明】
3 クランプ竿
4 端子ブロック
6 端子挿入ヘッド
7 端子付電線
8 端子
9 電線部分
10 コネクタ(コネクタハウジング)
10’ 端子収容室
12 端子チャック
13 電線チャック
20 電線ガイド部材
22 電線押さえ
Claims (2)
- 端子挿入ヘッドに設けた端子チャックと電線チャックとにより端子付電線の端子と電線部分とをチャックしてコネクタハウジングの所定の端子収容室に該端子を挿入するようにした自動端子挿入機において、前記端子を載置する端子ブロックと前記電線部分を挟持して支持するクランプ竿との間に、前記電線部分が填り込む溝を有していて該電線部分が溝に填り込むことにより該電線部分の左右の振れを規制する電線ガイド部材を設けると共に前記電線チャックには電線押えを設けて、該電線チャックが下方に降下することにより前記クランプ竿で支持された電線部分を上方から押さえて前記クランプ竿の溝底部に着座せしめるようにし、前記端子及び前記電線部分がチャックされる前に、前記端子ブロックと前記電線ガイド部材と前記クランプ竿とで支持された前記端子付電線が略水平状態かつ略直線状に矯正されて保持されるように構成されたことを特徴とする自動端子挿入機における端子付電線のチャック装置。
- 挿入ヘッドに設けた端子チャックと電線チャックとにより端子付電線の端子と電線部分とをチャックしてコネクタハウジングの所定の端子収容室に該端子を挿入するようにした自動端子挿入機における端子付電線のチャック方法において、前記端子を載置する端子ブロックと前記電線部分を挟持して支持するクランプ竿との間に、前記電線部分が填り込む溝を有していて該電線部分が溝に填り込むことにより該電線部分の左右の振れが規制される電線ガイド部材が設けられると共に前記電線チャックには電線押えが設けられていて、該電線チャックの下方への降下により前記クランプ竿で支持された電線部分を上方から押さえて前記クランプ竿の溝底部に着座せしめ、このようにして、前記端子及び前記電線部分がチャックされる前に、該端子付電線の姿勢を左右方向及び上下方向で略水平状態かつ略直線状になるように矯正し、その後に前記端子チャック及び電線チャックにより前記端子付電線をチャックすることを特徴とする自動端子挿入機における端子付電線のチャック方法。
Priority Applications (1)
| Application Number | Priority Date | Filing Date | Title |
|---|---|---|---|
| JP34184199A JP3661986B2 (ja) | 1999-12-01 | 1999-12-01 | 自動端子挿入機における端子付電線のチャック装置及びそのチャック方法 |
Applications Claiming Priority (1)
| Application Number | Priority Date | Filing Date | Title |
|---|---|---|---|
| JP34184199A JP3661986B2 (ja) | 1999-12-01 | 1999-12-01 | 自動端子挿入機における端子付電線のチャック装置及びそのチャック方法 |
Publications (2)
| Publication Number | Publication Date |
|---|---|
| JP2001160472A JP2001160472A (ja) | 2001-06-12 |
| JP3661986B2 true JP3661986B2 (ja) | 2005-06-22 |
Family
ID=18349171
Family Applications (1)
| Application Number | Title | Priority Date | Filing Date |
|---|---|---|---|
| JP34184199A Expired - Lifetime JP3661986B2 (ja) | 1999-12-01 | 1999-12-01 | 自動端子挿入機における端子付電線のチャック装置及びそのチャック方法 |
Country Status (1)
| Country | Link |
|---|---|
| JP (1) | JP3661986B2 (ja) |
Cited By (1)
| Publication number | Priority date | Publication date | Assignee | Title |
|---|---|---|---|---|
| CN105811219A (zh) * | 2015-01-16 | 2016-07-27 | 矢崎总业株式会社 | 位置对齐方法 |
Families Citing this family (4)
| Publication number | Priority date | Publication date | Assignee | Title |
|---|---|---|---|---|
| JP6002628B2 (ja) | 2013-05-10 | 2016-10-05 | 矢崎総業株式会社 | 端子挿入装置及び端子挿入方法 |
| RS60198B1 (sr) * | 2014-12-17 | 2020-06-30 | Komax Holding Ag | Postavka i postupak za montažu kućišta konektora |
| JP6265384B2 (ja) * | 2015-11-27 | 2018-01-24 | 矢崎総業株式会社 | 電線取出装置及び電線取出方法 |
| CN115603149B (zh) * | 2022-12-09 | 2023-04-28 | 深圳市米尔电子有限公司 | 一种连接器制造用组装设备 |
-
1999
- 1999-12-01 JP JP34184199A patent/JP3661986B2/ja not_active Expired - Lifetime
Cited By (1)
| Publication number | Priority date | Publication date | Assignee | Title |
|---|---|---|---|---|
| CN105811219A (zh) * | 2015-01-16 | 2016-07-27 | 矢崎总业株式会社 | 位置对齐方法 |
Also Published As
| Publication number | Publication date |
|---|---|
| JP2001160472A (ja) | 2001-06-12 |
Similar Documents
| Publication | Publication Date | Title |
|---|---|---|
| EP0452771B1 (en) | Alignment apparatus for positioning a connector housing during wire insertion | |
| EP0448116B1 (en) | Method of and apparatus for inserting wired terminals into connector housing | |
| US20080113555A1 (en) | Manufacturing apparatus for wiring harnesses and a manufacturing method for wiring harnesses | |
| US4936011A (en) | Method of inserting a terminated wire lead into a connector cavity | |
| JP2836725B2 (ja) | 端子挿入方法及び端子挿入装置 | |
| JP2008152952A (ja) | 端子挿入装置 | |
| JP3661986B2 (ja) | 自動端子挿入機における端子付電線のチャック装置及びそのチャック方法 | |
| JP2012124091A (ja) | 端子挿入装置及び端子挿入方法 | |
| EP0330309A2 (en) | Crimped wire harness fabricator and method | |
| JP3981024B2 (ja) | コネクタへの自動端子挿入装置 | |
| JP2562659Y2 (ja) | 連続状端子供給機構の供給姿勢矯正装置 | |
| JPH0945453A (ja) | 端子挿入装置と端子姿勢矯正装置及び端子姿勢矯正方法並びに端子挿入方法 | |
| JPH07240267A (ja) | 電線付端子のコネクタハウジングへの挿入方法および挿入装置 | |
| JPH05335064A (ja) | コネクタ用電気リード装着装置 | |
| JP3048098B2 (ja) | 電線付端子の挿入方法および挿入装置 | |
| JPH10255947A (ja) | 電線圧接装置及び電線圧接方法 | |
| JP2001176636A (ja) | 自動端子挿入機および自動端子挿入機へのコネクタハウジング供給方法 | |
| JP7785433B2 (ja) | 端子挿入装置 | |
| CN219854572U (zh) | 一种用于插接电连接器的机械手 | |
| JP7785434B2 (ja) | 端子挿入装置 | |
| WO2020026910A1 (ja) | コネクタホルダ、端子挿入装置、およびワイヤハーネスの製造方法 | |
| CN119447948A (zh) | 端子插入装置 | |
| JPS641912B2 (ja) | ||
| CN217470417U (zh) | 一种自动插接机 | |
| JPH0366790B2 (ja) |
Legal Events
| Date | Code | Title | Description |
|---|---|---|---|
| A977 | Report on retrieval |
Free format text: JAPANESE INTERMEDIATE CODE: A971007 Effective date: 20040810 |
|
| A131 | Notification of reasons for refusal |
Free format text: JAPANESE INTERMEDIATE CODE: A131 Effective date: 20040817 |
|
| A521 | Written amendment |
Free format text: JAPANESE INTERMEDIATE CODE: A523 Effective date: 20041018 |
|
| TRDD | Decision of grant or rejection written | ||
| A01 | Written decision to grant a patent or to grant a registration (utility model) |
Free format text: JAPANESE INTERMEDIATE CODE: A01 Effective date: 20050315 |
|
| RD01 | Notification of change of attorney |
Free format text: JAPANESE INTERMEDIATE CODE: A7426 Effective date: 20050318 |
|
| RD03 | Notification of appointment of power of attorney |
Free format text: JAPANESE INTERMEDIATE CODE: A7423 Effective date: 20050318 |
|
| A61 | First payment of annual fees (during grant procedure) |
Free format text: JAPANESE INTERMEDIATE CODE: A61 Effective date: 20050318 |
|
| R150 | Certificate of patent or registration of utility model |
Ref document number: 3661986 Country of ref document: JP Free format text: JAPANESE INTERMEDIATE CODE: R150 Free format text: JAPANESE INTERMEDIATE CODE: R150 |
|
| FPAY | Renewal fee payment (event date is renewal date of database) |
Free format text: PAYMENT UNTIL: 20090401 Year of fee payment: 4 |
|
| FPAY | Renewal fee payment (event date is renewal date of database) |
Free format text: PAYMENT UNTIL: 20100401 Year of fee payment: 5 |
|
| FPAY | Renewal fee payment (event date is renewal date of database) |
Free format text: PAYMENT UNTIL: 20110401 Year of fee payment: 6 |
|
| FPAY | Renewal fee payment (event date is renewal date of database) |
Free format text: PAYMENT UNTIL: 20110401 Year of fee payment: 6 |
|
| FPAY | Renewal fee payment (event date is renewal date of database) |
Free format text: PAYMENT UNTIL: 20120401 Year of fee payment: 7 |
|
| FPAY | Renewal fee payment (event date is renewal date of database) |
Free format text: PAYMENT UNTIL: 20130401 Year of fee payment: 8 |
|
| FPAY | Renewal fee payment (event date is renewal date of database) |
Free format text: PAYMENT UNTIL: 20140401 Year of fee payment: 9 |
|
| R250 | Receipt of annual fees |
Free format text: JAPANESE INTERMEDIATE CODE: R250 |
|
| R250 | Receipt of annual fees |
Free format text: JAPANESE INTERMEDIATE CODE: R250 |
|
| R250 | Receipt of annual fees |
Free format text: JAPANESE INTERMEDIATE CODE: R250 |
|
| R250 | Receipt of annual fees |
Free format text: JAPANESE INTERMEDIATE CODE: R250 |
|
| EXPY | Cancellation because of completion of term |