JP3661745B2 - インクジェット式記録装置 - Google Patents
インクジェット式記録装置 Download PDFInfo
- Publication number
- JP3661745B2 JP3661745B2 JP9853398A JP9853398A JP3661745B2 JP 3661745 B2 JP3661745 B2 JP 3661745B2 JP 9853398 A JP9853398 A JP 9853398A JP 9853398 A JP9853398 A JP 9853398A JP 3661745 B2 JP3661745 B2 JP 3661745B2
- Authority
- JP
- Japan
- Prior art keywords
- ink
- supply needle
- ink supply
- jet recording
- communication recess
- Prior art date
- Legal status (The legal status is an assumption and is not a legal conclusion. Google has not performed a legal analysis and makes no representation as to the accuracy of the status listed.)
- Expired - Fee Related
Links
- 238000004891 communication Methods 0.000 claims description 25
- 238000004140 cleaning Methods 0.000 description 6
- 238000007789 sealing Methods 0.000 description 4
- 238000010586 diagram Methods 0.000 description 3
- 125000006850 spacer group Chemical group 0.000 description 3
- 238000007599 discharging Methods 0.000 description 2
- 230000000694 effects Effects 0.000 description 2
- 239000000758 substrate Substances 0.000 description 2
- 230000004308 accommodation Effects 0.000 description 1
- 239000000853 adhesive Substances 0.000 description 1
- 230000001070 adhesive effect Effects 0.000 description 1
- 230000007423 decrease Effects 0.000 description 1
- 230000002950 deficient Effects 0.000 description 1
- 239000000428 dust Substances 0.000 description 1
- 238000010438 heat treatment Methods 0.000 description 1
- 230000005499 meniscus Effects 0.000 description 1
- 238000000034 method Methods 0.000 description 1
- 238000012856 packing Methods 0.000 description 1
- 230000000149 penetrating effect Effects 0.000 description 1
- 230000002093 peripheral effect Effects 0.000 description 1
- 230000010287 polarization Effects 0.000 description 1
- 239000003566 sealing material Substances 0.000 description 1
- 238000011144 upstream manufacturing Methods 0.000 description 1
- 238000003466 welding Methods 0.000 description 1
Images
Landscapes
- Ink Jet (AREA)
Description
【発明の属する技術の分野】
本発明は、ノズルからインク滴を吐出して記録媒体に文字等の記録像を書き込むインクジェット式記録装置、より詳細にはインク貯蔵源からインクジェット記録ヘッドにインクを導くインク供給路の構造に関する。
【0002】
【従来の技術】
ノズル開口からインク滴を吐出させて記録媒体に文字や画像を印刷するインクジェット式記録装置は、インク中の塵埃や気泡が記録ヘッドに流入してインク滴の吐出を阻害するのを目的として、インクタンクと記録ヘッドの間にフィルタ部材を介装されている。
このため、大量の気泡がフィルタ部材に捕捉されると、気泡がインクの流路を狭めて記録ヘッドへのインクの供給を阻害するという問題がある。
このような問題を解消するため、例えば特開平7-117239号公報に見られるようにフィルタ部材に対向させてインク流路に連通し、かつフィルタ部材の上面に対向するように円環状の凹部を形成し、気泡をその浮力により凹部に収容することが提案されている。
【0003】
これによれば、気泡を凹部で捕捉してフィルタ部材への張り付きを防止できるものの、ノズル開口をキャッピング部材で封止して記録ヘッドからインクを吸引力により強制的に排出させる場合には、気泡が凹部で保持されて排除が困難となり、大量のインクを消費したり、また強い吸引力を作用させる必要上、能力の大きなポンプを必要とする等の問題がある。
【0004】
このような問題を解消するため、本出願人は前に一端が前記インクカートリッジに、他端が前記インクジェット式記録ヘッドに接続するインク供給路の途中に、一部を水平方向に対して傾斜させた第2の流路を形成し、前記第2の流路に対して斜めに横切るようにフィルタ板を配置することを提案した(特開平9-216375号公報)。
これによれば、インク流路の断面一杯にインクをほぼ一様で、かつ淀み無く流すことができ、しかも流路抵抗を下げて小さな気泡を確実に排出することができる。
【0005】
【発明が解決しようとする課題】
反面、気泡排出動作(以下、クリーニング動作)よりもインクの流速が遅い印字動作において、非常に小さな気泡(例えば、インクカートリツジ内に存在する微小気泡)がインク供給針に流入した場合には、このような微小気泡はフィルターを通過することができずにインク供給針内で漂遊することになり、やがてこれらの微小気泡が集まって大きな気泡に成長する。そして最後にはフィルターに張り付いてインクの流路を大幅に狭めることになり、印字時におけるインクの供給を阻害するという不都合がある。
本発明はこのような問題に鑑みてなされたものであって、その目的とするところはクリーニング動作時にはインク供給針に停滞している気泡を確実に排除することができ、かつ印字動作時にインク供給針に流れ込んだ気泡に関りなく安定したインクの供給ができるインクジェット式記録装置を提供することである。
【0006】
【課題を解決するための手段】
このような課題を解消するために本発明においては、インクカートリッジのインク供給口に挿入されるインク供給針と、前記インク供給針が固定され、かつインク滴を吐出するインクジェット式記録ヘッドにインクを供給するインク流出口が形成された連結部材とを一体的に固定してなるインクジェット式記録装置において、前記インク供給針は、筒状部と、円錐形の拡開部と、前記拡開部の傾斜よりも緩い傾斜を有し、かつ前記拡開部よりも外側に位置する第1の連通凹部とを備え、前記連結部材には、前記第1の連通凹部に対向する位置に前記インク流出口が形成されると共に、前記インク供給針の中心線よりも前記インク流出口に偏した位置から前記インク流出口に連通し、前記インク流出口の側が低くなる斜面を有する第2の連通凹部が形成され、前記第2の連通凹部を覆うようにフィルタ部材が張設されている。
【0007】
【作用】
印字動作時にインク供給針に流れ込んだ小さな気泡は、時間とともに互いに結合して大きな気泡に成長するが、インク供給針の拡開部から偏した位置にあるインク流出口には引き込まれないため、インクの供給は妨げられない。また、この成長した大きな気泡の底部が拡開部の底面に接しても、インク供給針の中心より偏した位置にあるフィルターの有効面には触れないため、印刷に必要なインクの供給が妨げられることはない。
【0008】
【発明の実施の形態】
そこで以下に本発明の詳細を図示した実施例に基づいて説明する。
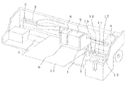
図1は本発明のインクジェット式プリンタで、キャリッジ1は、ガイド部材2に支持され、タイミングベルト3を介してステップモータ4に接続されていてプラテン5に平行に往復動可能に構成されている。
【0009】
キャリッジ1にはその下面に後述するインクジェット式記録ヘッド6、7が、また上面には記録ヘッド6、7にインクを供給するインクカートリッジ8、9が着脱自在に搭載されている。キャリッジ1の移動経路の非印字領域には各記録ヘッドを封止するキャップ10、11を備えたキャッピング装置12が配置されている。キャッピング装置12は、インク充填時等に吸引ポンプユニット13からの負圧を各キャップ10、11に受けて記録ヘッド6、7に吸引力を作用させるように構成されている。なお、図中符号14は記録用紙を、また符号15は、クリーニングブレードをそれぞれ示す。
【0010】
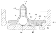
図2は、記録ヘッドの一実施例を示すものであって、記録ヘッドは、圧力発生室20、リザーバ21、及び圧力発生室20とリザーバ21とを接続するインク供給口22を形成するスペーサ23と、スペーサ23の一方の面を封止し、圧力発生室20に連通するノズル開口24を備えたノズルプレート25と、スペーサ23の他方の面を封止する封止板26とを積層して構成された流路ユニット27と、流路ユニット27の固定部材とインク誘導路形成部材とを兼ねるヘッドホルダ28と、連結部材29とを固定部材30で一体に固定して構成されている。
【0011】
流路ユニット27の各圧力発生室20には圧力発生手段、この実施例では軸方向に伸縮する圧電振動子31が用いられ、圧電振動子31の先端を封止板26の圧力発生室20に対向する領域に当接させて固定基板32を介してヘッドホルダ28の収容室に固定することにより構成されている。
【0012】
なお、加圧手段としては、面方向でたわみ振動する圧電振動子を、封止板26の各圧力発生室20に対向する領域に設けたり、また各圧力発生室20にインクを加熱、気化させる発熱素子を設けることにより構成できる。
【0013】
ヘッドホルダ28は、リザーバ21にインクを供給するインク誘導路33、この実施例ではヘッドホルダ28を穿孔して形成されている。なお、インク誘導路33は、チューブ等の管路形成部材を用いて形成してもよい。
【0014】
インク誘導路33の流路ユニット27の側の端部にリザーバ21との接続口となるインク流出口33aが、また連結部材29の側の端部にブッシュ34を形成して、連結部材29に形成されたインク流出口35とパッキン36を介して接続するインク流入口33bが形成されている。
【0015】
連結部材29には、上端がインクカートリッジ8、9に設けられている図示しないインク供給口の封止材を貫通する針先部40を有する筒状部41と、筒状部41から徐々に拡開するテーパ状の拡開部42と、固定部材を兼ねる基板部43からなるインク供給針45が、インク供給針45の中心線C1がインク流出口35から離れた位置、好ましくはインク流出口35が拡開部42よりも外側に位置するように植設されている。
【0016】
また、インク供給針45には、拡開部42からインク誘導路33にかけて拡開部42よりも勾配が小さな斜面46aを有する連通凹部46が形成されている。
【0017】
一方、インク連結部材29の前記インク供給針45と対向する領域には、図3に示したようにインク供給針45の中心線Cからインク流出口35側に偏した位置から延び、かつインク供給針45の連通凹部46の斜面46aとほぼ平行な斜面47aを備えた連通凹部47が形成されている。これら連通凹部46、47は、フィルタ室を形成していて、連通凹部47の開口面を覆うように板状のフィルタ部材48が、開口面の外周領域を接着剤や溶着等により固定されて張設されている。なお、図中符号49は、連通開口を示す。
【0018】
この実施例において、インクカートリッジの交換や、また目詰まりを解消するために記録ヘッド6、7をキャップ10、11で封止して吸引ポンプ13の負圧を作用させると、圧力発生室20、インク供給口22、リザーバ21、インク誘導路33を介してインク流出口35に負圧が作用する。これによりインク供給針45の連通開口49からインクカートリッジに吸引力が作用してインクカートリッジのインクがインク供給針45を経由して記録ヘッド6、7に流れ込み、ノズル開口24からキャップ10、11に排出される。
【0019】
この吸引初期にはインク供給針45の筒状部41、拡開部42に大量の空気が存在するため、図4に示したように筒状部41の直径dよりも大きな径の気泡Bが拡開部に発生するが、気泡Bのインク誘導路33側に偏して大きな負圧が作用するから、気泡Bは連通凹部46の斜面46aに簡単に引き込まれて記録ヘッド6、7から外部に排出される。
【0020】
もとより、筒状部41の径よりも小さな気泡は、中心部からインク誘導路側に偏して流れるインクに乗ってインク誘導路33に引き込まれて記録ヘッド6、7から外部に排出される。
【0021】
次に、インクの充填が完了した記録ヘッド6、7により印字が行われると、カートリッジ8、9のインクはインク供給針45からインク誘導路33を経由して記録ヘッド6、7に流れ込む。この過程でインクカートリツジ内のインクに含まれている微小な気泡は、インクと共にインク供給針45に流入するが、クリーニング時よりもインクの流速が遅い印字動作では、流入した気泡はフィルタ部材48を通過することができずに拡開部42で漂遊する。
【0022】
このような微小気泡は長時間の印字動作の間にその数が増え、さらに時間の経過とともに互いに結びついて、やがては図4に示すようにサイズの大きな1つの気泡Bにまで成長する。そして最後には気泡Bの下部がフィルタ部材48に張り付いてフィルタ部材48の有効面積を損なうと、流路抵抗が増加してインクの供給能力が低下する。このようなインク供給不足は、印字画像に濃淡の斑を生じさせるなどして印字品質を極端に低下させる。
【0023】
そして、インクの流速が、クリーニング時よりも遅い印字動作にあっては図4に示す気泡Bが存在しても気泡はほとんど変形せず、その底部B1が連結部材29に接することになる。
【0024】
したがって、本発明のように連通凹部47がインク供給針45の中心線Cよりもインク流出口35の側に偏った位置に形成されていると、フィルタ部材48の気泡Bによる占領率が低く抑えられ、フィルタ部材48の有効面積を大きく確保できるため、印字に必要なインクを十分に供給することができる。
【0025】
長時間の印字動作により気泡Bが図4に示す状態よりもさらに大きく成長し、一部が分離してフィルタ部材48を通過して、インク滴の吐出に不良を来した場合には、インク充填時と同様に記録ヘッド6、7をキャップで封止して負圧を作用させると、フィルタ部材48の上流側に停滞している気泡は、強い吸引力によりフィルタ部材48を通過して記録ヘッド6、7に流れ込んで簡単に排除される。
【0026】
なお、上述の実施例においては、インク供給針45の連通凹部46の斜面46aがフィルタ部材48に対してインク流出口35の側に緩やかに傾斜した場合について説明したが、斜面46aがフィルタ部材48に対して平行に形成されていても同様の効果を奏する。
【0027】
また、連結部材29の連通凹部47の斜面47aがフィルタ部材48に対して平行に形成されていても同様の効果を奏することができる。
【0028】
しかしながら、インク供給針45の連通凹部46の斜面46aをインク流出口35側が低くなるように形成することで、クリーニング時に気泡を排出するのに必要な吸引力が小さくて済むため、望ましくは連通凹部46の斜面46aはインク流出口35側が低くなる形状、より望ましくは、連通凹部46の斜面46aの傾斜が開部42の斜面42aの傾斜よりも緩やかな形状、またさらに望ましくは、連通凹部46の形状をインク流出口35側を頂点とする半円錐形状、または三角錐形状に形成するのがよい。
【0029】
さらに、連結部材29の連通凹部47の斜面47aもインク流出口35側が低くなる形状、望ましくはインク供給針45の連通凹部46の斜面46aと略平行にすることで、2つの斜面47a、46aで囲まれた空間の間隙を−様に保って気泡を速やかに排出させることができる。
【0030】
なお、上述の実施例においては、ヘッドホルダ28とインク供給針45を接合する部材を単なる連結用の部材として構成しているが、例えば連結部材29の上面に受け面を形成してインクカートリッジを保持するカートリッジホルダとしての機能を持たせることもできる。
【0031】
また、上述の実施例においては、拡開部42のインク流出口35側とは反対の斜面が連結部材29と接合される面までのテーバ形状として形成されていたが、図5に示したように途中から垂直な面として形成することにより、拡開部42の容積を抑制してインク充填時におけるインクの消費量を節減することができる。
【0032】
この場合、拡開部42に存在できる最大サイズの気泡と接触することが無い位置に面を形成すると、気泡の底部B1の位置は、インク供給針45の中心線C上から移動しないから、気泡Bの底部B1がフィルタ部材48の有効面に到達することがなく、気泡の有無に関わりなくインク供給能力を確保することができる。
【0033】
さらに、拡開部42のインク流出口35側とは反対側の斜面を、インク流出口35から最も遠い領域を谷とするようにV字状の凹形状に形成すると、吸引初期にインクカートリッジからインク供給針45の筒状部41を通過して拡開部42に流入したインクのメニスカスが、まずV字状の谷をインク誘導路とするようにして広がり、その後にインク流出口35側に流れ込む。これにより、インク充填時に比較的インクの流路が形成され難い、拡開部42のインク流出口36から最も遠い領域にもインクを確実に充填して、空気溜りを形成することなく拡開部42の領域全体にインクを確実に充填することができる。
【図面の簡単な説明】
【図1】本発明のインクジェット式プリンタの一実施例を示す図である。
【図2】同上装置における記録ヘッドとカートリッジホルダの近傍を拡大して示す断面図である。
【図3】インク供給針の流路及びインクカートリッジの流路とフィルタ部材の位置関係を示す図である。
【図4】インク供給針に大きな気泡が発生した状態を示す図である。
【図5】本発明の他の実施例を、インク供給針の近傍を拡大して示す図である。
【符号の説明】
1 キャリッジ
6、7 インクジェット式記録ヘッド
8、9 インクカートリッジ
12 キャッピング装置
20 圧力発生室
21 リザーバ
22 インク供給口
31 圧電振動子
33 インク誘導路
33a インク流出口
33b インク流入口
35 インク流出口
40 針先部
41 筒状部
42 拡開部
46、47 連通凹部
48 フィルタ部材
B 気泡
B1 気泡の底部
Claims (3)
- インクカートリッジのインク供給口に挿入されるインク供給針と、前記インク供給針が固定され、かつインク滴を吐出するインクジェット式記録ヘッドにインクを供給するインク流出口が形成された連結部材とを一体的に固定してなるインクジェット式記録装置において、
前記インク供給針は、筒状部と、円錐形の拡開部と、前記拡開部の傾斜よりも緩い傾斜を有し、かつ前記拡開部よりも外側に位置する第1の連通凹部とを備え、
前記連結部材には、前記第1の連通凹部に対向する位置に前記インク流出口が形成されると共に、前記インク供給針の中心線よりも前記インク流出口に偏した位置から前記インク流出口に連通し、前記インク流出口の側が低くなる斜面を有する第2の連通凹部が形成され、前記第2の連通凹部を覆うようにフィルタ部材が張設されているインクジェット式記録装置。 - 前記第1の連通凹部と第2の連通凹部のそれぞれの斜面が相互に平行となるように形成されている請求項1に記載のインクジェット式記録装置。
- 前記連結部材が、前記インクカートリッジのカートリッジホルダを兼ねる請求項1に記載のインクジェット式記録装置。
Priority Applications (1)
| Application Number | Priority Date | Filing Date | Title |
|---|---|---|---|
| JP9853398A JP3661745B2 (ja) | 1998-03-26 | 1998-03-26 | インクジェット式記録装置 |
Applications Claiming Priority (1)
| Application Number | Priority Date | Filing Date | Title |
|---|---|---|---|
| JP9853398A JP3661745B2 (ja) | 1998-03-26 | 1998-03-26 | インクジェット式記録装置 |
Publications (2)
| Publication Number | Publication Date |
|---|---|
| JPH11277762A JPH11277762A (ja) | 1999-10-12 |
| JP3661745B2 true JP3661745B2 (ja) | 2005-06-22 |
Family
ID=14222326
Family Applications (1)
| Application Number | Title | Priority Date | Filing Date |
|---|---|---|---|
| JP9853398A Expired - Fee Related JP3661745B2 (ja) | 1998-03-26 | 1998-03-26 | インクジェット式記録装置 |
Country Status (1)
| Country | Link |
|---|---|
| JP (1) | JP3661745B2 (ja) |
Families Citing this family (1)
| Publication number | Priority date | Publication date | Assignee | Title |
|---|---|---|---|---|
| JP4696446B2 (ja) * | 2003-12-17 | 2011-06-08 | セイコーエプソン株式会社 | 液体噴射ヘッドを有する液体噴射装置及び液体噴射装置の製造方法 |
-
1998
- 1998-03-26 JP JP9853398A patent/JP3661745B2/ja not_active Expired - Fee Related
Also Published As
| Publication number | Publication date |
|---|---|
| JPH11277762A (ja) | 1999-10-12 |
Similar Documents
| Publication | Publication Date | Title |
|---|---|---|
| EP0484100B1 (en) | Ink jet printing apparatus | |
| EP1545887B1 (en) | Liquid supply system, fluid communicating structure, ink supply system, and inkjet recording head utilizing the fluid communicating structure | |
| JP3114776B2 (ja) | インクジェット式ライン記録ヘッドを用いたプリンタ | |
| JP4047259B2 (ja) | インク供給システム | |
| JPH1120194A (ja) | インクジェットプリンタ用空気除去方法およびインクジェットプリンタ | |
| JP3467676B2 (ja) | インクジェット記録装置及びインクカートリッジ | |
| JP2004025499A (ja) | インクジェットヘッド及びインクジェット式記録装置 | |
| JP3800807B2 (ja) | インクジェット記録装置 | |
| JP2008526563A (ja) | 流体滴下排出 | |
| JP3713960B2 (ja) | インクジェット記録装置 | |
| JP4593063B2 (ja) | インクジェット式記録装置 | |
| JP2005074836A (ja) | インクジェットヘッドユニット | |
| JPH06336020A (ja) | インクジェット記録装置 | |
| JPH09277552A (ja) | インクジェット記録装置 | |
| JP3427878B2 (ja) | インクジェット式記録装置 | |
| JP4638085B2 (ja) | インク供給装置及びインクジェット記録装置 | |
| JP5030423B2 (ja) | インクジェットヘッドおよびインクジェット記録装置 | |
| JP3661745B2 (ja) | インクジェット式記録装置 | |
| JP4245855B2 (ja) | インクジェットヘッド及びインクジェット式記録装置 | |
| JPH09327929A (ja) | インクジェット式記録装置 | |
| JP2010120249A (ja) | 記録装置 | |
| JP5246599B2 (ja) | 画像形成装置 | |
| JP4389926B2 (ja) | 液体噴射装置 | |
| JP2005131791A (ja) | インクジェットヘッド及びインクジェット記録装置 | |
| JP3800806B2 (ja) | インクジェット記録装置 |
Legal Events
| Date | Code | Title | Description |
|---|---|---|---|
| A131 | Notification of reasons for refusal |
Free format text: JAPANESE INTERMEDIATE CODE: A131 Effective date: 20040721 |
|
| A521 | Written amendment |
Free format text: JAPANESE INTERMEDIATE CODE: A523 Effective date: 20040910 |
|
| TRDD | Decision of grant or rejection written | ||
| A01 | Written decision to grant a patent or to grant a registration (utility model) |
Free format text: JAPANESE INTERMEDIATE CODE: A01 Effective date: 20050302 |
|
| A61 | First payment of annual fees (during grant procedure) |
Free format text: JAPANESE INTERMEDIATE CODE: A61 Effective date: 20050315 |
|
| R150 | Certificate of patent or registration of utility model |
Free format text: JAPANESE INTERMEDIATE CODE: R150 |
|
| FPAY | Renewal fee payment (event date is renewal date of database) |
Free format text: PAYMENT UNTIL: 20080401 Year of fee payment: 3 |
|
| FPAY | Renewal fee payment (event date is renewal date of database) |
Free format text: PAYMENT UNTIL: 20090401 Year of fee payment: 4 |
|
| FPAY | Renewal fee payment (event date is renewal date of database) |
Free format text: PAYMENT UNTIL: 20090401 Year of fee payment: 4 |
|
| FPAY | Renewal fee payment (event date is renewal date of database) |
Free format text: PAYMENT UNTIL: 20100401 Year of fee payment: 5 |
|
| FPAY | Renewal fee payment (event date is renewal date of database) |
Free format text: PAYMENT UNTIL: 20110401 Year of fee payment: 6 |
|
| FPAY | Renewal fee payment (event date is renewal date of database) |
Free format text: PAYMENT UNTIL: 20110401 Year of fee payment: 6 |
|
| FPAY | Renewal fee payment (event date is renewal date of database) |
Free format text: PAYMENT UNTIL: 20120401 Year of fee payment: 7 |
|
| FPAY | Renewal fee payment (event date is renewal date of database) |
Free format text: PAYMENT UNTIL: 20130401 Year of fee payment: 8 |
|
| FPAY | Renewal fee payment (event date is renewal date of database) |
Free format text: PAYMENT UNTIL: 20130401 Year of fee payment: 8 |
|
| FPAY | Renewal fee payment (event date is renewal date of database) |
Free format text: PAYMENT UNTIL: 20140401 Year of fee payment: 9 |
|
| S531 | Written request for registration of change of domicile |
Free format text: JAPANESE INTERMEDIATE CODE: R313531 |
|
| R350 | Written notification of registration of transfer |
Free format text: JAPANESE INTERMEDIATE CODE: R350 |
|
| LAPS | Cancellation because of no payment of annual fees |