JP3655508B2 - ラマン増幅器及び光通信システム - Google Patents

ラマン増幅器及び光通信システム Download PDF

Info

Publication number
JP3655508B2
JP3655508B2 JP28483699A JP28483699A JP3655508B2 JP 3655508 B2 JP3655508 B2 JP 3655508B2 JP 28483699 A JP28483699 A JP 28483699A JP 28483699 A JP28483699 A JP 28483699A JP 3655508 B2 JP3655508 B2 JP 3655508B2
Authority
JP
Japan
Prior art keywords
light
raman
gain
fiber
signal light
Prior art date
Legal status (The legal status is an assumption and is not a legal conclusion. Google has not performed a legal analysis and makes no representation as to the accuracy of the status listed.)
Expired - Lifetime
Application number
JP28483699A
Other languages
English (en)
Other versions
JP2001109025A (ja
Inventor
浩次 増田
裕生 鈴木
昇 高知尾
Current Assignee (The listed assignees may be inaccurate. Google has not performed a legal analysis and makes no representation or warranty as to the accuracy of the list.)
NTT Inc
NTT Inc USA
Original Assignee
Nippon Telegraph and Telephone Corp
NTT Inc USA
Priority date (The priority date is an assumption and is not a legal conclusion. Google has not performed a legal analysis and makes no representation as to the accuracy of the date listed.)
Filing date
Publication date
Application filed by Nippon Telegraph and Telephone Corp, NTT Inc USA filed Critical Nippon Telegraph and Telephone Corp
Priority to JP28483699A priority Critical patent/JP3655508B2/ja
Publication of JP2001109025A publication Critical patent/JP2001109025A/ja
Application granted granted Critical
Publication of JP3655508B2 publication Critical patent/JP3655508B2/ja
Anticipated expiration legal-status Critical
Expired - Lifetime legal-status Critical Current

Links

Images

Landscapes

  • Optical Modulation, Optical Deflection, Nonlinear Optics, Optical Demodulation, Optical Logic Elements (AREA)
  • Optical Communication System (AREA)

Description

【0001】
【発明の属する技術分野】
本発明は、ラマン増幅器及びそれを用いた光ファイバ通信システムに適用して有効な技術に関するものである。
【0002】
【従来の技術】
光ファイバ通信システムで用いられる、従来のラマン増幅器の概略構成を図1に示す(参考文献1:M.Nissov et al., Proc. ECOC, Post Deadline Paper, pp.9-12, September, 1997、参考文献2:H.Masuda et al., Electron.Lett., Vol. 34, No.24, pp.2339-2340, 1998)。ただし、利得媒質ファイバ前後に設置した、必要に応じて用いられる光アイソレータなどの自明な光部品は省略してある。図19(a)及び(c)が分布増幅型ラマン増幅器(以下、略して分布型ラマン増幅器と称する)、図19(b)が集中増幅型ラマン増幅器(以下、略して集中型ラマン増幅器と称する)である。
図19において、1A,1Bはそれぞれ伝送ファイバ(光伝送ファイバ)、2は励起光源、3は合波器、4はラマンファイバ、5は利得一定制御集中型光増幅器、SRは信号光である。
図19(a)では、分布ラマン利得のみで伝送ファイバ損失を補っており、一方、図19(c)では、分布ラマン利得と利得一定制御集中型光増幅器(希土類添加ファイバなど)5で伝送ファイバ損失を補っている。分布ラマン利得には、多重レーリー散乱に起因する制限があるので、伝送ファイバ1Aが長く、したがって、伝送ファイバ損失が大きい場合には、図19(c)の構成が有効である。図19(a)及び図19(c)の分布型ラマン増幅器では、伝送ファイバ1Aを利得媒質とし、励起光源からの励起光を合波器3を用いて伝送ファイバ1Aに導入し、励起を行っている。一方、図19(b)の集中型ラマン増幅器では、ラマンファイバ4と呼ばれる高開口数の光ファイバを利得媒質とし、励起光源からの励起光を合波器を用いてラマンファイバ4に導入し、励起を行っている。図19(a)、(b)、(c)いづれの場合にも、励起光源2からの励起光パワーは一定に保たれていた。
図20は、従来技術のラマン増幅器におけるラマン利得の飽和特性(ラマン利得の総合入力信号光パワー依存性)の典型例を示している。
【0003】
【発明が解決しようとする課題】
前記ラマン利得は利得媒質ファイバ(伝送ファイバ1Aまたはラマンファイバ4)への入力励起光パワーが大きいほど大きい。また、総合入力信号光パワーがある程度以上の値になると、ラマン利得の低下すなわち飽和がみられる。総合入力信号光パワーは、波長多重通信システムにおける波長再配置、光ファイバ断、光ファイバスパン損失変動などの要因により変動する。そのため、図20の利得飽和特性によってラマン利得が変動し、符号誤り率増加などのシステム劣化をもたらす。
【0004】
入力励起光パワーが一定のとき、ラマン利得は主に、用いる利得媒質ファイバ(伝送ファイバ1Aまたはラマンファイバ4)のパラメータに依存する。そのパラメータは、光ファイバの有効コア径、ゲルマニウム添加濃度、光ファイバ長などであるが、それらは一般に無視できないばらつきを有している。したがって、図21(ラマン利得のばらつき例を示す図)の例に示したように、用いる光ファイバ毎にラマン利得がばらついている。これは、システム最適設計値からのれとなり、システム劣化をもたらす。
【0005】
前述のように、従来技術のラマン増幅器においては、総合入力信号光パワーが変動したときに利得変動が生じる。また、用いる利得媒質ファイバ(伝送ファイバ1Aまたはラマンファイバ4)ごとに利得のばらつきが生じるという問題があった。
【0006】
本発明の目的は、ラマン増幅器またはそれを用いた光通信システムにおいて、総合入力信号光パワーが変動した場合においても、利得の変動を低減することが可能な技術を提供することにある。
本発明の他の目的は、ラマン増幅器またはそれを用いた光通信システムにおいて、利得媒質ファイバ(伝送ファイバ1Aまたはラマンファイバ4)ごとの利得のばらつきを低減することが可能な技術を提供することにある。
本発明の前記ならびにその他の目的と新規な特徴は、本明細書の記述及び添付図面によって明らかにする。
【0007】
【課題を解決するための手段】
本願において開示される発明のうち代表的なものの概要を簡単に説明すれば、以下のとおりである。
【0013】
入射信号光のラマン増幅を行うラマン増幅器であって、ラマン増幅の利得媒質である光ファイバと、前記光ファイバを励起する励起光源と、前記励起光源からの励起光と前記信号光とを合波する合波器と、前記光ファイバに入力する前記励起光(以下、入力励起光と称する)を検出する第1の受光手段、前記光ファイバ中で発生して前記励起光の後方レーリー散乱光(以下、後方レーリー散乱光と称する)を信号光と分離する分波器、及び前記後方レーリー散乱励起光を検出する第2の受光手段を有し、前記ラマン増幅器のラマン利得を検出する利得検出手段と、前記第1及び第2受光手段で検出した前記後方レーリー散乱励起光パワー、及び入力励起光パワーの電気信号から、前記ラマン利得を算出し、得られた利得値に基づき、前記励起光源を電気駆動する制御回路とを具備し、入力信号光パワーの総合値、及び前記光ファイバの種類や長さが変化したときに、前記ラマン利得を一定に保つものである。
【0016】
)前記手段(1)のラマン増幅器において、前記利得検出手段が、前記入力励起光を受光する第1の受光手段と、前記光ファイバ中で発生した信号光の後方レーリー散乱光(以下、後方レーリー散乱信号光と称する)を、前方向に伝搬する前記入力信号光と分離するサーキュレータと、前記後方レーリー散乱光から、前記後方レーリー散乱信号光を分離する波長選択型分波器と、前記後方レーリー散乱信号光を受光する第2の受光手段を有し、前記制御回路が、前記第1及び第2の受光手段で検出した前記後方レーリー散乱信号光パワーの電気信号から、前記ラマン利得を算出するものである。
【0020】
)前記手段(1)又は(2)のラマン増幅器を備えた光通信システムであって、前記光ファイバが市中に敷設した伝送ファイバであり、前記伝送ファイバ中で前記信号光を分布的に増幅する光通信システムである。
【0021】
図1は、本発明によるラマン増幅器の基本構成を示す図であり、図1(a)は、分布型ラマン増幅器の概略構成を示す模式図、図1(b)は、集中型ラマン増幅器の概略構成を示す模式図である。図1(a),(b)において、1A,1Bはそれぞれ伝送ファイバ(光ファイバ)、2は励起光源、3は合波器、4はラマンファイバ、6は利得検出手段、7は制御回路、100は分布型ラマン増幅器、200は集中型ラマン増幅器、SRは信号光である。
【0022】
伝送ファイバ(光ファイバ)1Aを用いた分布型ラマン増幅器100では、敷設した伝送ファイバ1A中で分布的に増幅を行うため、集中型に比べ雑音特性に優れている。一方、ラマンファイバ4を用いた集中型ラマン増幅器200では、ラマンファイバ4中で集中的に増幅を行うため、伝送ファイバの種類等に依存することなく動作するという利点がある。
【0023】
従来のラマン増幅器と比較すると、本発明によるラマン増幅器では、ラマン増幅器の利得検出手段6及び励起光源2の制御回路7が新たに設置されている点が異なる。前記利得検出手段6は、後述する実施例の具体構成によりラマン増幅器の利得を検出し、また、前記制御回路7は、その検出利得値に基づき、検出利得値が一定になるように励起光源をフィードバック制御する。ラマン利得は、励起光パワーが大きい方が大きいので、検出利得値が所期の設定利得値より小さければ励起光パワーを増大し、検出利得値が所期の設定利得値より大きければ励起光パワーを低減させる。
【0024】
図2は、本発明によるラマン増幅器の利得飽和特性例を示している。励起光パワーの上限値が600mWの場合である。総合入力信号光パワーが前記の要因に基づき増大したとき、励起光パワーが従来技術の場合のように一定であれば、ラマン利得が減少するが、本発明では、そのラマン利得の減少を検出して励起光パワーを増大させるので、ラマン利得を一定値に保つことができる。
例えば、従来技術では、励起光パワーが400mWのとき、ラマン利得は総合入力信号光パワーが−20dBmを超えると減少し始めるが、本発明では、ラマン利得は総合入力信号光パワーが約−5dBmまで一定である。
【0025】
図3は、本発明で用いる利得媒質ファイバ(伝送ファイバ1Aまたはラマンファイバ4)ごとのラマン利得のばらつきの例を示している。本発明では、用いる利得媒質ファイバごとのラマン利得を、利得検出手段で検出し、励起光パワーを決定しているため、従来技術で見られたラマン利得のばらつき(図21)は、図3に示すように、利得検出の精度内で低減されている。
【0026】
以上説明したように、本発明によれば、従来技術において問題であった、総合入力信号光パワーが変動した時に利得変動が生じる点、また、用いる利得媒質ファイバ(伝送ファイバ1Aまたはラマンファイバ4)に依存した利得のばらつきが生じる点が解決される。
【0027】
以下、本発明について、図面を参照して実施の形態(実施例)とともに詳細に説明する。
なお、実施形態(実施例)を説明するための全図において、同一機能を有するものは同一符号を付け、その繰り返しの説明は省略する。
【0028】
以下に、本発明による実施例1〜16を示す。実施例1〜14は、信号光と励起光の伝搬方向が逆の場合(後方向励起の場合)について示している。実施例1〜7が集中型ラマン増幅器の場合、実施例8〜14が分布型ラマン増幅器(分布型ラマン増幅を用いた光通信システム)の場合である。各実施例は、主に利得検出手段が異なる。信号光と励起光の伝搬方向が同じ場合(前方向励起の場合)に関して、実施例15,16で示しており、後方向励起の場合と同様のことが成り立つ。ただし、ラマン利得の相互利得変調(参考文献3:F.Forghieri et a1., Proc. OFC, FC6, pp.294-295, 1994、参照)の観点から、後方向励起の方が前方向励起より一般的である。また、後方向励起と前方向励起を同時に用いた双方向励起の場合は、明らかに前記後方向励起の場合と同様のことが言える。また、実施例1〜14は、励起光源が1波長のレーザを有する場合であり、実施形態15及び16は、励起光源が波長が異なる2個(2個以上の任意個数の場合の例)のレーザを有する場合である。
【0029】
【発明の実施の形態】
(実施形態1)
図4(a),(b)、図5(a),(b)、図6、図7(a),(b)は、本発明による実施形態1の集中型ラマン増幅器の概略構成を示す模式図であり、図4(a)は信号光パワー検出型の実施例、図4(b)は励起光パワー検出型の実施例、図5(a)は前方増幅自然散乱光パワー検出型の実施例、図5(b)は後方増幅自然散乱光パワー検出型の実施例である。
図4及び図5において、1A,1Bはそれぞれ信号光を伝送する伝送ファイバ、(光ファイバ)2は励起光源、3は信号光を合波する合波器、3Mは信号光を合波もしくは分波する合波器兼分波器、4はラマンファイバ、6は利得検出手段、7は制御回路、8,8A,8Bは信号光を分岐する分岐器、8Fは信号光を分波する分波器、9は受光手段(受光器)、9Aは第1の受光手段(受光器)、9Bは第2の受光手段(受光器)、10はサーキュレータ、11はプローブ光源、200は集中型ラマン増幅器、SRは信号光、ERは励起光、NRは増幅自然散乱光、PRはプローブ光、LRはレーリー散乱光である。
【0030】
(実施例1)
本実施形態1の実施例1の信号光パワー検出型の集中型ラマン増幅器は、図4(a)に示すように、利得媒質ファイバが前記ラマンファイバ4の場合である(以下、実施例2から7までのものも同じ)。ただし、従来技術の場合と同様に、利得媒質ファイバの前後で、必要に応じて用いられる光アイソレータなどの自明な光部品は省略してある。ラマン利得の検出を、ラマンファイバ4中を伝搬する信号光SRを用いて行っている。前記信号光SRの一部または全部、すなわち、波長多重信号光の一部の波長または全波長を、前記ラマンファイバ4の前後でそれぞれ分岐し、その分岐した信号光SRをそれぞれの受光手段9で受光し、前記ラマンファイバ4の前後の信号光パワーを検出する。前記受光手段9は光電気変換の受光器と、必要に応じて、所望の信号光波長のみを取り出す光フィルタを有する(参考文献4:H.Suzuki et al., Phton. Techno1.Lett., Vo1.10, pp.734-736, 1998、参照)。
【0031】
前記各受光手段で電気信号となった信号光パワーレベルは、制御回路7に伝達され、そこでそれら2つの信号光パワーレベルが比較されて、ラマン利得がそれらの比から算出される。前記制御回路7は、その算出ラマン利得が所期のラマン利得に等しくなるように、励起光パワーを変化させる。前記励起光源は、半導体レーザや固体レーザなどであり、一般に電流駆動される。したがって、前記励起光パワーは前記駆動電流により変化する。
【0032】
本実施例1により得られるラマン利得の飽和特性及びばらつきは、図2及び図3と同様である(以下、実施例2から7に関しても同じである)。ただし、図2及び図3に示した利得は、実施例の集中型ラマン増幅器の外部利得である。
【0033】
(実施例2)
本実施形態1の実施例2の集中型ラマン増幅器は、図4(b)に示すように、ラマン利得の検出を、前記ラマンファイバ4中を伝搬する励起光ERを用いて行っている。前記励起光ERを、ラマンファイバ4の前で、下記の半導体レーザ後端面から分岐し、また、ラマンファイバ4の後で、分波器8Fを用いて分波し、その分岐または分波した励起光ERをそれぞれの受光手段9A,9Bで受光し、ラマンファイバ4の前後の励起光パワーを検出する。ラマンファイバ4への入力励起光パワーを受光する受光手段を第1の受光手段9A、ラマンファイバ4から出力励起光パワーを受光する受光手段を第2の受光手段9Bとする。ただし、図4(b)は、励起光源2が実用上重要な半導体レーザであり、その半導体レーザの前端面からの励起光ERを光ファイバピグテールに結合して使用励起光ERとし、後端面からの不使用な励起光ERをフォトダイオードなどの第1の受光手段9Aで直接受光するといった、構成が簡単で経済的な例である。勿論、励起光源ERとラマンファイバ4の間に励起光ERの分波器を設置して、前記第1の受光手段9Aに導いてもよい。
【0034】
総合入力信号光パワーが変化したときのラマン利得の変化量は、前記ラマンファイバ4を透過後の励起光パワーと高い相関関係がある。したがって、前記透過後の励起光パワーを一定に保つことによってラマン利得を一定に保つことができる。ただし、前記ラマン利得の変化量は、前記透過後の励起光パワーで主に決定されるものの、前記ラマンファイバ4への入力励起光パワーにも若干依存するので、その入力励起光パワーに応じた補正を、前記図4(b)の本構成で検出した入力励起光パワーに応じて制御回路7に与える。以上のことから、本実施例2では、ラマンファイバ4の前後の励起光パワーに基づいて、制御回路7でラマン利得を算出している。前記制御回路7は、その算出ラマン利得が所期のラマン利得に等しくなるように、励起光パワーを変化させる。
【0035】
(実施例3)
本実施形態1の実施例3の集中型ラマン増幅器は、図5(a)に示すように、ラマン利得の検出を、前記ラマンファイバ4中で発生する増幅された自然散乱光(以下、略して増幅自然散乱光NRと称する)を用いて行っている。増幅自然散乱光NRは、前方向(励起光ERと同方向)と後方向(励起光ERと逆方向)のものがあるが、本実施例3は、前方向の増幅自然散乱光NR(以下、略して前方増幅自然散乱光FNRと称する)を、次に述べる実施例4は、後方向の増幅自然散乱光NR(以下、略して後方増幅自然散乱光BNRと称する)を用いている。前記ラマンファイバ4から出射した前方増幅自然散乱光FNRを、サーキュレータ10を用いて低損失で信号光と分離し、受光手段9に導いて前方向の増幅自然散乱光パワーを検出している。
【0036】
総合入力信号光パワーが変化したときのラマン利得は、前方向の増幅自然散乱光パワーと高い相関関係がある。増幅自然散乱光パワー(前方向及び後方向の増幅自然散乱光パワー)とラマン利得の関係を図8に示した。総合入力信号光パワーと励起光パワーが広い範囲(例えば、図20に示された動作範囲)で変わったとき、増幅自然散乱光パワーとラマン利得の関係は、ある一定の曲線で精度良く与えられる。具体的には、前記曲線からのずれは高々0.1dBである。したがって、前方向の増幅自然散乱光パワーを一定に保持することによって、ラマン利得を高い精度で一定に保持することがきる。
【0037】
図9は、本実施例3の図5(a)の受光手段9に入射する光のスペクトルを示している。細線が本実施例3、太線が後述する実施例4に関するものである。本実施例3では、前方増幅自然散乱光FNRに波長多重信号光の後方向のレーリー散乱光LRが混入している様子が示されている。図10は、その混入した後方向のレーリー散乱信号光を除去し、前方増幅自然散乱光FNRを透過する光フィルタを備えた受光手段9の構成を示している。図10(a)がアレイ導波路格子12を2つ用いた構成、図10(b)がサーキュレータ10とファブリーペローフィルタ14を用いた構成である。図14において、13はフォトダイオードである。
【0038】
以上のことから、本実施例3では、前方増幅自然散乱光パワーに基づいて、制御回路でラマン利得を算出している。前記制御回路7は、その算出ラマン利得が所期のラマン利得に等しくなるように、励起光パワーを変化させる。
【0039】
(実施例4)
本実施形態1の実施例4の集中型ラマン増幅器は、図5(b)に示すように、前記実施例3と類似しているが、本実施例4では、ラマン利得の検出を、後方増幅自然散乱光BNRを用いて行っている。すなわち、前記ラマンファイバ4から出射した後方増幅自然散乱光BNRを、分岐器8を用いて受光手段9に導き、後方増幅自然散乱光パワーを検出している。
総合入力信号光パワーが変化したときのラマン利得は、図8に示した通り、前記実施例3と同様である。前記実施例3と同様に、前記曲線からのずれは高々0.1dBである。したがって、後方増幅自然散乱光パワーを一定に保つことによって、ラマン利得を一定に保つことができる。
本実施例4の図5(b)の受光手段9に入射する光のスペクトルを図9の太線で示している。本実施例4では、後方増幅自然散乱光BNRに、増幅された波長多重信号光が混入している。図10(b)は、前記実施例3の場合と同様に、その増幅された波長多重信号光を除去し、後方増幅自然散乱光BNRを透過する光フィルタを備えた受光手段9の構成を示している。
以上のことから、本実施例4では、後方増幅自然散乱光パワーに基づいて、制御回路7でラマン利得を算出している。前記制御回路は、その算出ラマン利得が所期のラマン利得に等しくなるように、励起光パワーを変化させる。
【0040】
(実施例5)
本実施形態1の実施例5の集中型ラマン増幅器は、図6に示すように、ラマン利得の検出を前記ラマンファイバ4ヘの入力励起光パワー、及びラマンファイバ4からの後方向のレーリー励起光(以下、略して後方レーリー散乱励起光BLR)のパワーを検出して行っている。前記入力励起光パワーは、前記実施例2(図4(b))と同様に、励起レーザの後端面からの励起光ERを、第1の受光手段9Aで受光して検出している。また、後方レーリー散乱励起光BLRを、合波器兼分波器3Mと分岐器8を用いて第2の受光手段9Bに導き、後方向のレーリー散乱励起光パワーを検出している。
【0041】
総合入力信号光パワーが変化したときのラマン利得は、後方向のレーリー散乱励起光パワーと高い相関関係がある。ただし、その相関関係は、入力励起光パワーに依存した、ある程度の誤差を含む。典型的入力励起光パワー(600,400,200mW)における後方向のレーリー散乱励起光パワーとラマン利得の関係の例を図15に示した。また、図15の関係を用いてラマン利得の一定制御を行う、図6の制御回路7の構成例を図16に示した。前記制御回路7では、励起光源2を電気駆動する差動増幅器15の一方の入力ポートに、後方向のレーリー散乱励起光パワーの検出値を入力し、他方の入力ポートに、アナログまたはデジタルの演算回路16を通った後の、入力励起光パワーの検出値を入力している。前記演算回路16では、図15のラマン利得と後方向のレーリー散乱励起光パワーの関係が、近似的に1つの曲線上に載るように、電気入出力レベルの変換を行っている。したがって、この制御回路7により近似的にラマン利得を一定に保つことができる。
【0042】
以上のことから、本実施例では、入力励起光ER及び後方レーリー散乱励起光BLRに基づいて、制御回路7でラマン利得を算出している。前記制御回路7は、その算出ラマン利得が所期のラマン利得に等しくなるように、励起光パワーを変化させる。
【0043】
(実施例6)
本実施形態1の実施例6の集中型ラマン増幅器は、図7(a)に示すように、本ラマン増幅器200内に設けた内蔵プローブ光源11を用いてラマン利得の検出を行っている。すなわち、前記ラマンファイバ4からの出力プローブ光パワーを検出している。前記プローブ光源11からのプローブ光PRの波長は、ラマン利得波長域の任意波長である。前記入力プローブ光パワーは、説明を簡単にするため一定であるとする。前記ラマンファイバ4から出射したプローブ光PRを、サーキュレー10を用いて低挿入損失で受光手段9に導き、出力プローブ光パワーを検出している。
【0044】
信号光SRのラマン利得とプローブ光PRのラマン利得の間には、ラマン利得の均一飽和特性に基づく一対一の対応関係がある。その対応関係は、本ラマン増幅器への入力励起光パワーや入力信号光パワー、利得の飽和度に無関係(いわゆる均一飽和)である。具体的には、dB単位で表わした信号光のラマン利得とプローブ光のラマン利得は、1次関数で対応づけられる。この一対一の対応関係を用いてラマン利得の一定制御を行う。
【0045】
以上のことから、本実施例6では、入力プローブ光及び出力プローブ光に基づいて、制御回路でラマン利得を算出している。前記制御回路7は、その算出ラマン利得が所期のラマン利得に等しくなるように励起光パワーを変化させる。
【0046】
(実施例7)
本実施形態1の実施例7の集中型ラマン増幅器は、図7(b)に示すように、前記実施例6と同様に本実施例7のラマン増幅器200内に設置した内蔵プローブ光源11を用いてラマン利得の検出を行っている。ただし、前記ラマンファイバ4に対する入力プローブ光パワー、及びラマンファイバ4中で分布的に反射される後方レーリー散乱プローブ光(BLPR)パワーを検出している。前記プローブ光源11からのプローブ光の波長は、ラマン利得波長域の任意波長である。ただし、本実施例7のラマン増幅器の動作状態(入力励起光及び信号光パワーなど)に応じて、最適なプローブ光波長が存在する。前記入力プローブ光パワーは、前記実施例6と同様に、一定であるとし、入力励起光パワーは、前記実施例5と同様に、励起レーザの後端面からの励起ERを、第1の受手段9Aで検出している。また、ラマンファイバ4で反射した後方レーリー散乱プローブ光BLPRを、分波及び分岐を用いて第2の受光手段9Bに導き、後方レーリー散乱プローブ光BLPRを検出している。前記の入力プローブ光パワー及び後方レーリー散乱プローブ光パワーから、プローブ光の反射率を算出する。
【0047】
総合入力信号光パワーが変化したときのラマン利得の変化量は、前記プローブ光の反射率と相関関係がある。この相関関係を用いてラマン利得の一定制御を行う。
【0048】
以上のことから、本実施例7では、プローブ光の反射率に基づいて、制御回路でラマン利得を算出している。前記制御回路は、その算出ラマン利得が所期のラマン利得に等しくなるように、励起光パワーを変化させる。
【0049】
(実施形態2)
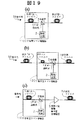
図11(a),(b)、図12(a),(b)、図13、図14(a),(b)は、本発明による実施形態2の分布型ラマン増幅器の概略構成を示す模式図であり、図11(a)は信号光パワー検出型の実施例、図11(b)は励起光パワー検出型の実施例、図12(a)は前方増幅自然散乱光パワー検出型の実施例、図12(b)は後方増幅自然散乱光パワー検出型の実施例、図13は後方レーリー散乱励起光パワー検出型の実施例、図14(a)はプローブ光パワー検出型の実施例、図14(b)は後方レーリー散乱プローブ光パワー検出型の実施例である。
【0050】
(実施例8)
本実施形態2の実施例8の分布型ラマン増幅器は、図11(a)に示すように、前記実施例1と類似しているが、前記実施例1では利得媒質ファイバがラマンファイバ4であったが、本実施例8では利得媒質ファイバが伝送ファイバ1Aである点が大きく異なる。
【0051】
以下の実施例9から14までの実施例に関しても同じであり、それぞれ、前記実施例2から7までの実施例と類似している。前記実施例2から7までの実施例では、利得媒質ファイバがラマンファイバ4であったが、実施例9から14までの実施例では、利得媒質ファイバが伝送ファイバ1Aである点が大きく異なる。伝送ファイバ1Aの長さは通常数十km以上であり、伝送ファイバ1Aの前後の距離は、その長さ分だけ離れているという特徴がある。したがって、利得検出手段が伝送ファイバ1Aの前後にまたがって設置されている場合には、ラマンファイバ4を用いた集中型ラマン増幅器の場合(前記実施例1から7までの実施例)と、伝送ファイバ1Aを用いた分布型ラマン増幅器の場合(実施例8から14までの実施例)は、特に相違が顕著である。
【0052】
本実施例8では、ラマン利得の検出を、伝送ファイバ1A中を伝搬する信号光を用いて行っている。前記信号光の一部または全部、すなわち、波長多重信号光の一部の波長または全波長を、伝送ファイバ1Aの前後でそれぞれ分岐器8A,8Bで分岐し、その分岐した信号光をそれぞれの受光手段9A,9Bで受光し、伝送ファイバ1Aの前後の信号光パワーを検出する。前記実施例1と異なる点は、伝送ファイバ1Aの前でモニタした入力信号光パワー値を、新たに設置した光源17からの監視信号光OSRと合波器3Cを用いて、励起光源2側に転送していることである。そのため、伝送ファイバ1Aの入力側には、その監視信号光用の光源17の制御手段18が設置され、また、伝送ファイバ1Aの出力側には、その監視信号光用の分波器8Fと受光手段20が設置されている。
【0053】
制御回路7の動作は、前記実施例1の場合と同じである。また、本実施例8により得られるラマン利得の飽和特性及びばらつきは、ラマン利得を伝送ファイバ1A内での内部利得(励起光をオン・オフしたときの信号光パワーの比)として、図2及び図3の場合と同様である(以下、実施例9から14までの実施例に関しても同じ)。
【0054】
(実施例9)
本実施形態2の実施例9の分布型ラマン増幅器は、図11(b)に示すように、ラマン利得の検出を、前記伝送ファイバ1Aを伝搬する励起光を用いて行っている。前記実施例2と異なる点は、伝送ファイバ1Aの前でモニタした出力励起光パワー値を、新たに設置した光源17からの監視信号光OSRと合波器3Cを用いて、励起光源側に転送していることである。そのため、伝送ファイバ1Aの入力側には、その監視信号光用の光制御手段18が設置され、また、伝送ファイバ1Aの出力側には、その監視信号光用の分波器8Fと受光手段20が設置されている。制御回路7の動作は、前記実施例2の場合と同じである。
【0055】
(実施例10)
本実施形態2の実施例10の分布型ラマン増幅器は、図12(a)に示すように、ラマン利得の検出を、前記伝送ファイバ1Aで発生する増幅された自然散乱光(以下、略して増幅自然散乱光と称する)を用いて行っている。増幅自然光は前方向(励起光と同方向)と後方向(励起光と逆方向)のものがあるが、本実施例10は前方向の増幅自然散乱光(以下、略して前方増幅自然散乱光と称する)を、次の実施例11は後方向の増幅自然散乱光を用いている。前記実施例3と異なる点は、伝送ファイバ1Aの前でモニタした前方増幅自然散乱光パワー値を、新たに設置した光源17からの監視信号光OSRと合波器3Cを用いて、励起光源側に転送していることである。そのため、伝送ファイバ1Aの入力側には、その監視信号光用の光源17の制御手段18が設置され、また、伝送ファイバ1Aの出力側には、その監視信号光用の分波器8Fと受光手段20が設置されている。制卸回路7の動作は、前記実施例3の場合と同じである。
【0056】
(実施例11)
本実施形態2の実施例11の分布型ラマン増幅器は、図12(b)に示すように、前記実施例10と類似しているが、本実施例11では、ラマン利得の検出を、後方向の増幅自然散乱光(以下、略して後方増幅自然散乱光と称する)を用いて行っている。本実施例11では、励起光源側に伝搬する光をモニタしているため、前記実施例10のように、伝送ファイバ1Aをまたいで利得検出手段が存在することはない。したがって、前記実施例4と同じ構成を有している。当然ながら、制御回路7の動作は、前記実施例4の場合と同じである。
【0057】
(実施例12)
本実施形態2の実施例12は、後方レーリー散乱励起光パワー検出型の分布型ラマン増幅器であり、図13に示すように、ラマン利得の検出を、前記伝送ファイバ1Aへの入力励起光パワー、及び前記伝送ファイバ1Aからの後方向のレーリー散乱光パワー(以下、略して後方レーリー散乱励起光BLRと称する)を検出して行っている。本実施例12では、励起光に伝搬する後方レーリー散乱励起光パワーをモニタしているため、前記実施例8のように、伝送ファイバをまたいで利得検出手段が存在することはない。したがって、前記実施例5と同じ構成をている。当然ながら、制御回路7の動作は、前記実施例5の場合と同じである。
【0058】
(実施例13)
本実施形態2の実施例13は、プローブ光パワー検出型の分布型ラマン増幅器であり、図14(a)に示すように、本実施例13では、本実施例13のラマン増幅器内に設置された内蔵プローブ光源11を用いてラマン利得の検出を行っている。すなわち、前記伝送ファイバ1Aに対する入力及び出力プローブ光パワーを検出している。前記実施例6と異なる点は、伝送ファイバ1Aの前でモニタしたプローブ光パワー値を、新たに設置した光源17からの監視信号光OSRと合波器3Cを用いて、励起光源側に転送していることである。そのため、伝送ファイバ1Aの入力側には、その監視信号光用の光源17の制御手段18が設置され、また、伝送ファイバ1Aの出力側には、その監視信号光用の分波器8Fと受光手段20が設置されている。制御回路7の動作は、前記実施例6の場合と同じである。
【0059】
(実施例14)
本実施形態2の実施例14は、後方レーリー散乱プローブ光パワー検出型の分布型ラマン増幅器であり、図14(b)に示すように、本実施例14では、前記実施例13と同様に、本実施例14のラマン増幅器内に設置した内蔵プローブ光源11を用いてラマン利得の検出を行っている。ただし、前記伝送ファイバ1Aに対する入力プローブ光パワー、及び伝送ファイバ1A中で分布的に反射される後方レーリー散乱プローブ光(BLPR)パワーを検出している。本実施例14では、励起光源側に伝搬する後方レーリー散乱プローブ光パワーをモニタしているため、前記実施例8のように、伝送ファイバ1Aをまたいで利得検出手段が存在することはない。したがって、前記実施例7と同じ構成を有している。当然ながら、制御回路7の動作は、前記実施例7の場合と同じである。
【0060】
(実施例15)
本実施形態2の実施例15は、後方レーリー散乱励起光パワー検出型の分布型ラマン増幅器であり、図17に示すように、伝送ファイバ1Aを利得媒質として用いた分布型ラマン増幅器が、前方向に励起され、その励起光源2が異なる波長の2個のレーザLD1及びLD2を有する場合である。レーザLD1及びLD2の波長を、それぞれλp1及びλp2としている。複数の励起波長を用いる目的は、おもに平坦利得帯域幅の拡大である(参考文献5:鈴木他、特願平11−187965、「ラマン分布増幅器を利用した波長多重光伝送システム」、参照)。本実施例15の利得検出方法は、前記実施例12と類似しており、各励起レーザ毎に励起光の後方レーリー散乱光パワを検出している。
【0061】
波長λpl及びλp2の励起光は、波長選択型合波器で合波され、伝送路中に設置した信号光と励起光の合波器3Mを用いて、伝送ファイバ1Aに前方向から入射する。それら2波長の入射励起光は、それぞれ第1の受光手段(Rl)9Aで受光される。伝送ファイバ1A中で発生した後方レーリー散乱励起光は、入射励起光と逆の経路を辿り、波長選択型合波器兼分波器21でλplとλp2に分波され、分岐を用いて第2の受光手段(R2)9Bに導かれる。それぞれのレーザは、前記実施例12と同様に、制御回路7にて独立に制御される。
【0062】
本実施例15は、利得媒質が伝送ファイバ1Aである分布型ラマン増幅器に関して前記に説明したが、明らかに、利得媒質がラマンファイバ4である集中型ラマン増幅器に関しても同様のことが言える。また、励起光源が有するレーザの個数は、明らかに2個に限られることはなく、任意の個数でよい。
【0063】
(実施例16)
本実施形態2の実施例16は、後方レーリー散乱信号光パワー検出型の分布型ラマン増幅器であり、図18に示すように、前記実施例15と同様に、伝送ファイバ1Aを利得媒質として用いた分布型ラマン増幅器が、前方向に励起され、その励起光源が異なる波長の2個のレーザLDl及びLD2を有する場合である。本実施例16の利得検出方法は、前記実施例14と類似しているが、内蔵プローブ光は用いず、信号光の後方レーリー散乱パワーを検出している。
【0064】
波長λpl及びλp2の励起光は、波長選択型合波器22で合波され、伝送路中に設置した信号光と励起光の合波器3Mを用いて、伝送ファイバ1Aに前方向から入射する。それら2波長の入射励起光はれぞれ第1の受光手段(Rl)9Aで受光される。
【0065】
波長多重の信号光波長を、λ1,λ2,・・・,λh(nは自然数)とし、励起光波長λpl及びλp2に対する信号光の利得ピーク近傍波長をそれぞれλsl及びλs2とする。本実施例16では、波長λslおよびλs2の後方レーリー散乱信号光パワーを検出している(参考文献5参照)。伝送ファイバ1A中で生じた信号光λ1,λ2,・・・,λhの後方レーリー散乱光は、サーキュレータ10及び波長選択型合波器22により低挿入損失で第2の受光手段(R2)9Bに入射し、その光パワーが検出される。
【0066】
レーザLDl及びLD2のそれぞれは、前記実施例14と同様に、制御回路7にて独立に制御される。利得検出に用いる信号光波長は波長λslおよびλs2に限られることはなく、各後方レーリー散乱信号光パワーと、それを用いて制御を行う励起レーザによるラマン利得の間に高い相関関係があれば、任意の波長でよい。
【0067】
以上、本発明による実施例に基づき具体的に説明したが、本発明は、前記実施例に限定されるものではなく、その要旨を逸脱しない範囲において、種々変更し得ることは勿論である。
【0068】
【発明の効果】
以上説明したように、本発明によれば、ラマン増幅器またはそれを用いた光通信システムにおいて、総合入力信号光パワーが変動した場合においても、利得の変動を低減することができる。
また、ラマン増幅器またはそれを用いた光通信システムにおいて、利得媒質ファイバ(光伝送ファイバまたはラマンファイバ)ごとの利得のばらつきを低減することができる。
【図面の簡単な説明】
【図1】本発明によるラマン増幅器の基本構成を示す模式図である。
【図2】本発明によるラマン増幅器の利得飽和特性例を示す図である。
【図3】本発明で用いる利得媒質ファイバごとのラマン利得のばらつきの例を示す図である。
【図4】本発明による実施形態1の実施例1,2の集中型ラマン増幅器の概略構成を示す模式図であり、信号光パワー検出型の実施例及び励起光パワー検出型の実施例の概略構成を示す図である。
【図5】本実施形態1の実施例3,4の前方増幅自然散乱光パワー検出型の実施例及び後方増幅自然散乱光パワー検出型の実施例の概略構成を示す図である。
【図6】本実施形態1の実施例5の後方レーリー散乱励起光パワー検出型の実施例の概略構成を示す図である。
【図7】本実施形態1の実施例6,7のプローブ光パワー検出型の実施例及び後方レーリー散乱プローブ光パワー検出型の実施例の概略構成を示す図である。
【図8】本実施例の増幅自然散乱光パワーとラマン利得の関係例を示す図である。
【図9】本実施例3,4のモニタ光のスペクトルを示す図である。
【図10】本実施例3,4の受光手段の概略構成を示す模式図である。
【図11】本発明による実施形態2の実施例8,9の分布型ラマン増幅器の信号光パワー検出型及び励起光パワー検出型の実施例の概略構成を示す模式図である。
【図12】本実施形態2の実施例9,10の分布型ラマン増幅器の前方増幅自然散乱光パワー検出型及び後方増幅自然散乱光パワー検出型の実施例の概略構成を示す模式図である。
【図13】本実施形態2の実施例12の分布型ラマン増幅器の後方レーリー散乱励起光パワー検出型の実施例の概略構成を示す模式図である。
【図14】本実施形態2の実施例13,14の分布型ラマン増幅器のプローブ光パワー検出型及び後方レーリー散乱プローブ光パワー検出型の実施例である。
【図15】本実施例の後方向のレーリー散乱励起光パワーとラマン利得の関係を示す図である。
【図16】本実施例の制御回路の構成例を示す模式図である。
【図17】本実施形態2の実施例15の後方レーリー散乱励起光パワー検出型の分布型ラマン増幅器の概略構成を示す模式図である。
【図18】本実施形態2の実施例16の後方レーリー散乱信号光パワー検出型の分布型ラマン増幅器の概略構成を示す模式図である。
【図19】従来の分布増幅型ラマン増幅器及び集中増幅型ラマン増幅器の概略構成を示す模式図である。
【図20】従来のラマン増幅器におけるラマン利得の飽和特性(ラマン利得の総合入力信号光パワー依存性)の典型例を示す図である。
【図21】従来のラマン増幅器におけるラマン利得のばらつき例を示す図である。
【符号の説明】
1A,1B…伝送光ファイバ、2…励起光源、3,3C…合波器、3M…合波器兼分波器、4…ラマンファイバ、6…利得検出手段、7…制御回路、100…分布型ラマン増幅器、200…集中型ラマン増幅器、SR…信号光、8,8A,8B…分岐器、8F…分波器、9…受光手段(受光器)、9A…第1の受光手段(受光器)、9B…第2の受光手段(受光器)、10…サーキュレータ、11…プローブ光源、12…アレイ導波路格子、13…フォトダイオード、14…ファブリーペローフィルタ、15…差動増幅器、16…アナログまたはデジタルの演算回路、17…光源、18…制御手段、20…受光手段、21…波長選択型合波器兼分波器、22…波長選択型合波器、23…波長選択型分波器。

Claims (3)

  1. 入射信号光のラマン増幅を行うラマン増幅器であって、
    ラマン増幅の利得媒質である光ファイバと、
    前記光ファイバを励起する励起光源と、
    前記励起光源からの励起光と前記入射信号光とを合波する合波器と、
    前記光ファイバに入力する前記励起光(以下、入力励起光と称する)を検出する第1の受光手段、前記光ファイバ中で発生して前記励起光の後方レーリー散乱光(以下、後方レーリー散乱光と称する)を信号光と分離する分波器、及び前記後方レーリー散乱励起光を検出する第2の受光手段を有し、前記ラマン増幅器のラマン利得を検出する利得検出手段と、
    前記第1及び第2受光手段で検出した前記後方レーリー散乱励起光パワー、及び入力励起光パワーの電気信号から、前記ラマン利得を算出し、得られた利得値に基づき、前記励起光源を電気駆動する制御回路と
    を具備し、
    入力信号光パワーの総合値、及び前記光ファイバの種類や長さが変化したときに、前記ラマン利得を一定に保つことを特徴とするラマン増幅器。
  2. 請求項1に記載のラマン増幅器において、
    前記利得検出手段が、前記入力励起光を受光する第1の受光手段と、前記光ファイバ中で発生した信号光の後方レーリー散乱光(以下、後方レーリー散乱信号光と称する)を、前方向に伝搬する前記入力信号光と分離するサーキュレータと、前記後方レーリー散乱光から、前記後方レーリー散乱信号光を分離する波長選択型分波器と、前記後方レーリー散乱信号光を受光する第2の受光手段を有し、
    前記制御回路が、前記第1及び第2の受光手段で検出した前記後方レーリー散乱信号光パワーの電気信号から、前記ラマン利得を算出することを特徴とするラマン増幅器。
  3. 請求項1又は2に記載のラマン増幅器を備えた光通信システムであって、前記光ファイバが市中に敷設した光伝送ファイバであり、前記光伝送ファイバ中で前記信号光を分布的に増幅することを特徴とする光通信システム。
JP28483699A 1999-10-05 1999-10-05 ラマン増幅器及び光通信システム Expired - Lifetime JP3655508B2 (ja)

Priority Applications (1)

Application Number Priority Date Filing Date Title
JP28483699A JP3655508B2 (ja) 1999-10-05 1999-10-05 ラマン増幅器及び光通信システム

Applications Claiming Priority (1)

Application Number Priority Date Filing Date Title
JP28483699A JP3655508B2 (ja) 1999-10-05 1999-10-05 ラマン増幅器及び光通信システム

Related Child Applications (1)

Application Number Title Priority Date Filing Date
JP2004249499A Division JP3977363B2 (ja) 2004-08-30 2004-08-30 ラマン増幅器及び光通信システム

Publications (2)

Publication Number Publication Date
JP2001109025A JP2001109025A (ja) 2001-04-20
JP3655508B2 true JP3655508B2 (ja) 2005-06-02

Family

ID=17683652

Family Applications (1)

Application Number Title Priority Date Filing Date
JP28483699A Expired - Lifetime JP3655508B2 (ja) 1999-10-05 1999-10-05 ラマン増幅器及び光通信システム

Country Status (1)

Country Link
JP (1) JP3655508B2 (ja)

Families Citing this family (15)

* Cited by examiner, † Cited by third party
Publication number Priority date Publication date Assignee Title
GB9911665D0 (en) * 1999-05-19 1999-07-21 Cit Alcatel An optical amplifier
JP4549591B2 (ja) * 2001-09-28 2010-09-22 富士通株式会社 装置
JP2003124881A (ja) * 2001-10-15 2003-04-25 Fujitsu Ltd 光伝送装置および光伝送システム
JP3899893B2 (ja) * 2001-10-26 2007-03-28 日本電気株式会社 ラマン増幅制御方法および光通信システムおよび光増幅装置およびプログラム
JP3578343B2 (ja) 2001-10-31 2004-10-20 日本電気株式会社 光ファイバ伝送システム、ラマン利得効率測定装置及びラマン利得効率測定方法
JP4083444B2 (ja) * 2001-11-29 2008-04-30 富士通株式会社 ラマン増幅を利用した光伝送システムおよび光伝送方法
JP4046602B2 (ja) 2002-12-06 2008-02-13 三菱電機株式会社 ラマン増幅器および光中継伝送システム
US7379236B2 (en) 2003-07-04 2008-05-27 Nippon Telegraph And Telephone Corporation Optical fiber communication system using remote pumping
JP5104357B2 (ja) * 2008-02-04 2012-12-19 富士通株式会社 ラマン増幅装置ならびに分布ラマン増幅システムおよびその立ち上げ方法
JP4555352B2 (ja) * 2008-02-04 2010-09-29 富士通株式会社 光通信装置および光通信方法
JP5595307B2 (ja) * 2011-03-03 2014-09-24 株式会社日立製作所 光通信用モジュール及び光ファイバ通信システム
JP5962207B2 (ja) * 2012-05-23 2016-08-03 富士通株式会社 制御回路、制御方法および伝送システム
KR101489279B1 (ko) * 2013-06-27 2015-02-04 주식회사 라이콤 자기 자동이득제어 분산형 라만증폭기의 자동이득제어방법
JP7077794B2 (ja) 2018-06-04 2022-05-31 富士通株式会社 ラマン光増幅器及びラマン光増幅方法
JP7464841B2 (ja) 2020-08-04 2024-04-10 富士通株式会社 ラマン増幅器の制御装置および制御方法

Also Published As

Publication number Publication date
JP2001109025A (ja) 2001-04-20

Similar Documents

Publication Publication Date Title
JP3741767B2 (ja) 光ファイバ増幅器
JP3655508B2 (ja) ラマン増幅器及び光通信システム
CA2649501C (en) Improved feedback dynamic gain control for a wdm system employing multi-wavelength-pumped raman fiber amplifiers
JP4626918B2 (ja) ラマン光増幅中継器
US6775055B2 (en) Raman amplifier
JPH08278523A (ja) 光増幅装置
EP0910141B1 (en) Optically amplifying fiber and amplifier with such a fiber
KR100277352B1 (ko) 다채널3단광섬유증폭기
US6043930A (en) Optical amplifier and optical fiber applicable to optical amplifier
EP1589623B1 (en) Raman amplifier
JP2000307552A (ja) 波長多重光伝送用光増幅装置
JP2000134156A (ja) 波長多重光伝送用光増幅装置とこれを用いた光波ネットワーク装置
JP3977363B2 (ja) ラマン増幅器及び光通信システム
US20020167716A1 (en) Optical amplifier and optical transmission system
US7133192B2 (en) Light amplification control unit and method
JP2004119979A (ja) 長波長光ファイバ増幅器
JP2000236127A (ja) 光ファイバ増幅器
US20040184816A1 (en) Multiwavelength depolarized Raman pumps
US20030234973A1 (en) Method and device for optical fiber transmission using raman amplification
JPH1174595A (ja) 光ファイバ増幅器
JP2001144353A (ja) 光増幅器
JP4032804B2 (ja) 光増幅器及びその出力制御方法
JP4000732B2 (ja) 光増幅器
JP4023627B2 (ja) 光通信システム及び光増幅器
Krummrich et al. Channel power transients in photonic networks caused by stimulated Raman scattering

Legal Events

Date Code Title Description
A131 Notification of reasons for refusal

Free format text: JAPANESE INTERMEDIATE CODE: A131

Effective date: 20040629

A521 Written amendment

Free format text: JAPANESE INTERMEDIATE CODE: A523

Effective date: 20040830

TRDD Decision of grant or rejection written
A01 Written decision to grant a patent or to grant a registration (utility model)

Free format text: JAPANESE INTERMEDIATE CODE: A01

Effective date: 20050301

A61 First payment of annual fees (during grant procedure)

Free format text: JAPANESE INTERMEDIATE CODE: A61

Effective date: 20050303

R150 Certificate of patent or registration of utility model

Ref document number: 3655508

Country of ref document: JP

Free format text: JAPANESE INTERMEDIATE CODE: R150

Free format text: JAPANESE INTERMEDIATE CODE: R150

FPAY Renewal fee payment (event date is renewal date of database)

Free format text: PAYMENT UNTIL: 20080311

Year of fee payment: 3

FPAY Renewal fee payment (event date is renewal date of database)

Free format text: PAYMENT UNTIL: 20090311

Year of fee payment: 4

FPAY Renewal fee payment (event date is renewal date of database)

Free format text: PAYMENT UNTIL: 20090311

Year of fee payment: 4

FPAY Renewal fee payment (event date is renewal date of database)

Free format text: PAYMENT UNTIL: 20100311

Year of fee payment: 5

FPAY Renewal fee payment (event date is renewal date of database)

Free format text: PAYMENT UNTIL: 20110311

Year of fee payment: 6

FPAY Renewal fee payment (event date is renewal date of database)

Free format text: PAYMENT UNTIL: 20110311

Year of fee payment: 6

FPAY Renewal fee payment (event date is renewal date of database)

Free format text: PAYMENT UNTIL: 20120311

Year of fee payment: 7

FPAY Renewal fee payment (event date is renewal date of database)

Free format text: PAYMENT UNTIL: 20130311

Year of fee payment: 8

S531 Written request for registration of change of domicile

Free format text: JAPANESE INTERMEDIATE CODE: R313531

R350 Written notification of registration of transfer

Free format text: JAPANESE INTERMEDIATE CODE: R350

EXPY Cancellation because of completion of term