JP3649853B2 - 空気調和システム - Google Patents
空気調和システム Download PDFInfo
- Publication number
- JP3649853B2 JP3649853B2 JP11614997A JP11614997A JP3649853B2 JP 3649853 B2 JP3649853 B2 JP 3649853B2 JP 11614997 A JP11614997 A JP 11614997A JP 11614997 A JP11614997 A JP 11614997A JP 3649853 B2 JP3649853 B2 JP 3649853B2
- Authority
- JP
- Japan
- Prior art keywords
- heat storage
- cooling operation
- ice
- unit
- refrigeration capacity
- Prior art date
- Legal status (The legal status is an assumption and is not a legal conclusion. Google has not performed a legal analysis and makes no representation as to the accuracy of the status listed.)
- Expired - Fee Related
Links
- 238000004378 air conditioning Methods 0.000 title claims description 18
- 238000005338 heat storage Methods 0.000 claims description 164
- 238000001816 cooling Methods 0.000 claims description 84
- 238000005057 refrigeration Methods 0.000 claims description 54
- 239000003507 refrigerant Substances 0.000 claims description 29
- 230000001172 regenerating effect Effects 0.000 claims description 10
- 239000007788 liquid Substances 0.000 description 7
- 238000004781 supercooling Methods 0.000 description 7
- 238000010586 diagram Methods 0.000 description 6
- 238000001704 evaporation Methods 0.000 description 6
- 230000008020 evaporation Effects 0.000 description 6
- 239000007787 solid Substances 0.000 description 2
- 239000013526 supercooled liquid Substances 0.000 description 2
- 230000000694 effects Effects 0.000 description 1
Images
Landscapes
- Air Conditioning Control Device (AREA)
Description
【発明の属する技術分野】
本発明は氷蓄熱ユニットを備え、この氷蓄熱ユニットを介して冷却された冷媒を室内ユニットに導いて蓄熱利用冷房運転を行う空気調和システムに関する。
【0002】
【従来の技術】
一般に、室外ユニットと室内ユニットとの間に氷蓄熱ユニットを設け、例えば夜間10時から翌朝8時までの電力料金の低い時間帯には、室外ユニットからの液冷媒を前記氷蓄熱ユニットに供給して氷を作り、例えば昼間、気温が上昇する時間帯には、室外ユニットからの液冷媒を氷蓄熱ユニットに循環させて、過冷却状態の液冷媒を作り、この過冷却状態の液冷媒を室内ユニットに供給して蓄熱利用冷房運転を行う空気調和システムは知られている。
【0003】
この種の空気調和システムでは、室内ユニットから冷房運転の要求があり且つ氷蓄熱ユニットの氷蓄熱槽内の温度が例えば10℃以下である場合には、無条件に蓄熱利用冷房運転を実行するのが一般的である。
【0004】
【発明が解決しようとする課題】
しかしながら、氷蓄熱ユニットの最大蓄熱量を使い切る時間として例えば8時間が設定される空気調和システムでは、前述した蓄熱利用冷房運転の要求が連続的にある場合、朝8時から運転したとして夕方の4時には氷蓄熱ユニットの蓄熱量を使い切ってしまう。従って夕方の4時以降は非蓄熱冷房運転となって冷凍能力はダウンする。これに対して氷蓄熱ユニットの最大蓄熱量を使い切る時間として例えば10時間以上が設定される場合には氷蓄熱ユニットの最大蓄熱量が大きくなるので設備が大型化してイニシャルコストが増大する。
【0005】
そこで、本発明の目的は、上述した従来の技術が有する課題を解消し、氷蓄熱ユニットを大型化することなく、蓄熱利用冷房運転を効率よく行うことのできる空気調和システムを提供することにある。
【0006】
【課題を解決するための手段】
請求項1記載の発明は、室外ユニットと室内ユニットとの間に氷蓄熱ユニットを設け、製氷運転および蓄熱利用冷房運転を可能にした空気調和システムにおいて、前記室外ユニットの総合冷凍能力と、この総合冷凍能力に応じたシフト率とに基づいて、前記蓄熱利用冷房運転時の冷凍能力が定められ、前記蓄熱利用冷房運転時の冷凍能力と前記室外ユニットの総合冷凍能力との差に応じて、前記氷蓄熱ユニットへの冷媒流量を調節する流量調節手段と、前記蓄熱利用冷房運転時の蓄熱利用時間を調整する蓄熱利用時間調整手段とを設け、前記蓄熱利用時間調整手段は、前記室外ユニットの総合冷凍能力および前記シフト率に対応する蓄熱利用可能時間に基づいて、前記蓄熱利用冷房運転時の蓄熱利用時間を調整することを特徴とするものである。
【0007】
請求項2に記載の発明は、室外ユニットと室内ユニットとの間に氷蓄熱ユニットを設け、製氷運転および蓄熱利用冷房運転を可能にした空気調和システムにおいて、前記室外ユニットの総合冷凍能力と、この総合冷凍能力に応じたシフト率とに基づいて、前記蓄熱利用冷房運転時の冷凍能力が定められ、前記蓄熱利用冷房運転時の冷凍能力と前記室外ユニットの総合冷凍能力との差に応じて、前記氷蓄熱ユニットへの冷媒流量を調節する流量調節手段と、前記室内ユニットから冷房運転の要求があり氷蓄熱ユニットの氷蓄熱槽内の温度が所定温度以下である場合、前記蓄熱利用冷房運転を実行する手段と、前記室内ユニットから冷房運転の要求があり氷蓄熱ユニットの氷蓄熱槽内の温度が所定温度以下である場合であっても所定の条件下で前記蓄熱利用冷房運転を実行させずに、前記蓄熱利用冷房運転時の蓄熱利用時間を調整する蓄熱利用時間調整手段とを設け、前記蓄熱利用時間調整手段は、前記室外ユニットの総合冷凍能力および前記シフト率に対応する蓄熱利用可能時間に基づいて、前記蓄熱利用冷房運転時の蓄熱利用時間を調整することを特徴とするものである。
【0008】
請求項3に記載の発明は、請求項1または2に記載のものにおいて、前記蓄熱利用時間調整手段はタイマを備え、このタイマによって予め設定された時間内は前記蓄熱利用冷房運転を実行させないことを特徴とするものである。
【0009】
これらの発明によれば、空調負荷に応じて二台、三台或いは四台以上の室外ユニットが接続される空気調和システムにおいて、通常であれば室外ユニットの接続台数に応じて氷蓄熱ユニットの能力が変更されるところ、氷蓄熱ユニットの能力は変更せずに、過冷却制御を行うことで、蓄熱利用冷房運転時の冷凍能力を変更できる。そして、蓄熱利用時間調整手段によって蓄熱利用時間が調整され、この調整手段により調整される時間帯は冷房運転の要求が仮にあったとしても蓄熱利用冷房運転は実行されず、通常の非蓄熱冷房運転が実行されるので、氷蓄熱ユニットの蓄熱量を簡単に使い切ってしまうことはなく従来のものに比べて蓄熱利用冷房運転を効率よく実行することができる。
【0010】
【発明の実施の形態】
以下、本発明の実施の形態を図面に基づいて説明する。
【0011】
図1において、符号100A、100Bはそれぞれ室外ユニットを示す。この室外ユニット100A、100Bには氷蓄熱ユニット200を介して複数台の室内ユニット300が接続されている。室外ユニット100A、100Bには三台の圧縮機1A、1B、1Cが設けられ、この圧縮機1A、1B、1Cには四方弁3を介して室外熱交換器5が接続されている。7は電子制御弁、9はレシーバタンク、11はアキュームレータである。この室外熱交換器5には、氷蓄熱ユニット200を介して、三台の室内熱交換器43,45,47が並列に接続されている。44,46,48はそれぞれ空調負荷に応じて開度が設定される電子制御弁である。氷蓄熱ユニット200には、レシーバタンク15と氷蓄熱槽17と電子制御弁MV1と電動切換弁SV1,SV2,SV3,SV4とが設けられている。E1,E2,E3は温度センサである。
【0012】
本実施形態による冷媒回路を動作と共に説明する。
【0013】
製氷運転
例えば、夜間10時から翌朝8時までの電力料金の低い時間帯には、室外熱交換器5からの液冷媒を氷蓄熱槽17に供給して蓄熱槽17内に氷を作る。蓄熱槽17に蓄熱された冷熱は後述するように昼間の冷房運転に利用される。
【0014】
この場合には、図1に示すように氷蓄熱ユニット200内の電動切換弁SV1,SV4が閉じられ、電子制御弁MV1と電動切換弁SV2(SV3)とが開かれる。これによれば圧縮機1A、1B、1Cからの冷媒は実線矢印で示すように室外熱交換器5を経た後、電子制御弁MV1を通じて氷蓄熱槽17に流入し、氷蓄熱槽17を経た後、開状態の電動切換弁SV2(SV3)を通じてガス管29に流入し、四方弁3、アキュームレータ11を通じて圧縮機1A、1B、1Cに戻される。この場合に余剰の液冷媒はレシーバタンク15に貯留される。
【0015】
すなわち、製氷運転時には室内熱交換器43,45,47がバイパスされて、冷媒の蒸発は氷蓄熱槽17内で行われ、この氷蓄熱槽17内では製氷動作が行われる。各種弁の開閉制御はコントローラ50が司る。
【0016】
蓄熱利用冷房運転
例えば、昼間、気温が上昇する時間帯には、室外熱交換器5からの液冷媒を氷蓄熱槽17に循環させて、過冷却状態の液冷媒を作り、この過冷却状態の液冷媒を室内熱交換器43,45,47に供給して蓄熱利用冷房運転が行われる。
【0017】
この蓄熱利用冷房運転は室内ユニット300からの冷房運転の要求があり、且つ図示を省略した温度センサで検出される氷蓄熱槽17内の温度が例えば10℃(所定温度)以下である場合に以下のように実行される。
【0018】
この場合には、図2に示すように氷蓄熱ユニット200内の電動切換弁SV2,SV3が閉じられ、電動切換弁SV1,SV4(必要に応じて電子制御弁MV1)が開かれる。これによれば圧縮機1A、1B、1Cからの冷媒は実線矢印で示すように室外熱交換器5を経た後、電動切換弁SV1を通じて氷蓄熱槽17に流入し、氷蓄熱槽17を経た後に、電動切換弁SV4、電子制御弁44,46,48を通じて室内熱交換器43,45,47に流入し、室内熱交換器43,45,47を経た冷媒はガス管29、四方弁3を通じて圧縮機1A、1B、1Cに戻される。各種弁の開閉制御はコントローラ50が司る。
【0019】
すなわち、蓄熱利用冷房運転時には前述の製氷運転によって蓄熱された冷熱により、冷媒を、氷蓄熱槽17内で過冷却状態にしてから室内熱交換器43,45,47に供給するので、冷房運転時の能力が増大する。
【0020】
次に、電子制御弁MV1の開閉制御について説明する。
【0021】
前述の蓄熱利用冷房運転時において室内熱交換器43,45,47のいずれかがアンロード運転される時には、アンロード運転される室内熱交換器43,45,47の電子制御弁44,46,48の開度がコントローラ50を介して減少される。すなわち、蓄熱利用冷房運転でない通常の冷房運転(非蓄熱冷房運転)制御においては、室内熱交換器43,45,47のコイル温度(蒸発温度)E2と室内熱交換器43,45,47の入口温度E1との差(=E2−E1)が所定温度差になるように、コントローラ50を通じて電子制御弁44,46,48の開度を制御するので、アンロード時運転時には蒸発温度E2が高くなる分だけ、入口温度E1を高くするため、冷媒の供給量を絞る制御が行われる。
【0022】
この場合において、アンロード運転される室内熱交換器43,45,47に対し、氷蓄熱槽17を介して過冷却された冷媒が供給され続けると、氷蓄熱槽17の出口の冷媒温度E3が、蒸発温度E2よりも低くなることがある。
【0023】
この冷媒温度E3が低くなると、室内熱交換器43,45,47の入口温度E1も必然的に低くなるので、室内熱交換器43,45,47のコイル温度(蒸発温度)E2と室内熱交換器43,45,47の入口温度E1との差(=E2−E1)が所定温度差以上に大きくなるので、通常の冷房運転制御に従って電子制御弁44,46,48の開度を大きくする制御が行われる。
【0024】
要するに、この状態を放置すると、アンロード運転時においては、本来であれば流量を絞る制御が行われるべきところを、電子制御弁44,46,48がいわゆる逆応答して、流量を増大させる制御が行われ、室内熱交換器43,45,47での冷媒蒸発が不十分になり圧縮機の液バックの問題を招来する。
【0025】
これを防ぐために氷蓄熱槽17の出口の冷媒温度E3が蒸発温度E2よりも低くなった場合には、全閉の状態にある氷蓄熱ユニット200内の電子制御弁MV1の開度を適宜開いて、室外熱交換器5からの冷媒を過冷却された冷媒に合流させて、冷媒の温度E3を上昇させることによっていわゆる電子制御弁44,46,48の逆応答を回避している。
【0026】
この実施形態によれば、室外ユニットは複数台接続可能に形成される。図1の例では、二台の室外ユニット100A、100Bを並列に接続しているが、この接続台数は変更が可能である。すなわち空調負荷に応じて例えば三台或いは四台以上の室外ユニットが接続される。通常であれば室外ユニットの接続台数に応じて、氷蓄熱ユニット200の能力が変更される。
【0027】
この実施形態では、氷蓄熱ユニット200の能力は変更せずに、過冷却制御を行って、蓄熱利用冷房運転時の冷凍能力を変更する。
【0028】
蓄熱利用冷房運転でない通常の冷房運転(非蓄熱冷房運転)では、図3に点線で示すように室外ユニット100の総合馬力に従う冷凍能力E0が得られる。この冷凍能力E0を増大させるには過冷却度SCを大きくとる必要がある。この実施形態では、前記氷蓄熱ユニット200内の電子制御弁MV1(図2)の開度を絞ることにより、過冷却度SCを増大させる。
【0029】
電子制御弁MV1の開度を例えば小さく絞る場合、細線で示すように過冷却度はSC1となり、冷凍能力はE1増大し、この場合の冷凍能力はE1+E0となる。前述した冷凍能力E0に対する冷凍能力増加度合い(以下「シフト率」という。)を見ると次式となる。
【0030】
シフト率=(E1+E0)/E0 (1)
電子制御弁MV1の開度を例えば大きく絞る場合、太線で示すように過冷却度はSC2となり、冷凍能力はE2増大し、この場合の冷凍能力はE2+E0となる。前述した冷凍能力E0に対するシフト率を見ると次式となる。
【0031】
シフト率=(E2+E0)/E0 (2)
この実施形態では、図3に示す温度差ΔTnを制御することにより例えば(1)(2)式に示すシフト率が制御される。
【0032】
室外ユニットの接続台数が変化し、図4に示すように室外ユニットの総合冷凍能力が14馬力から30馬力に変化したとする。
【0033】
この実施形態では室外ユニットの総合冷凍能力が所定能力(例えば20馬力)以上である場合、蓄熱利用冷房運転時の冷凍能力(室内ユニット能力に相当する)は、室外ユニットの総合冷凍能力を基準にして一定シフト率(例えば25%)だけ増大させた冷凍能力に調整される。例えば室外ユニットの総合冷凍能力が24馬力である場合、蓄熱利用冷房運転時の冷凍能力は、室外ユニットの総合冷凍能力24馬力を基準にして一定シフト率25%だけ増大させた冷凍能力30馬力に調整され、室外ユニットの総合冷凍能力が30馬力である場合、蓄熱利用冷房運転時の冷凍能力は、室外ユニットの総合冷凍能力30馬力を基準にして一定シフト率25%だけ増大させた冷凍能力37.5馬力に調整される。
【0034】
この制御では圧縮機1A、1B、1Cを100%運転したと仮定した場合、蓄熱利用可能な最大時間は図4に示すように徐々に減少し、室外ユニットの総合冷凍能力が30馬力の場合、7.1時間にまで減少する。
【0035】
この実施形態では室外ユニットの総合冷凍能力20馬力(所定能力)に対応するように氷蓄熱ユニット200の能力が設定されている。
【0036】
従って、蓄熱利用可能な最大時間が7.1時間にまで減少したのは、室外ユニットの総合冷凍能力が30馬力の場合、室外ユニットの総合冷凍能力に対して氷蓄熱ユニット200の能力が大きく不足するからである。蓄熱利用可能な最大時間が、7.1時間では空調システム上で少なすぎる場合にはシフト率25%を小さく設定することによって最大時間を延長することはできる。
【0037】
この実施形態では室外ユニットの総合冷凍能力が所定能力(例えば20馬力)以下である場合、蓄熱利用冷房運転時の冷凍能力(室内ユニット能力に相当する)は、室外ユニットの総合冷凍能力に応じて一定シフト率(例えば25%)以上の所定シフト率だけ増大させた冷凍能力に調整される。例えば室外ユニットの総合冷凍能力が18馬力である場合、蓄熱利用冷房運転時の冷凍能力は、室外ユニットの総合冷凍能力18馬力に応じて一定シフト率25%以上の所定シフト率28%だけ増大させた冷凍能力23馬力に調整され、室外ユニットの総合冷凍能力が14馬力である場合、蓄熱利用冷房運転時の冷凍能力は、室外ユニットの総合冷凍能力14馬力に応じて一定シフト率25%以上の所定シフト率35%だけ増大させた冷凍能力19馬力に調整される。
【0038】
室外ユニットの総合冷凍能力が所定能力以下である場合、この組み合わせによれば室外ユニットの総合冷凍能力に対して氷蓄熱ユニット200の能力が余ることになる。この実施形態では上述したように一定シフト率25%以上に大きくシフトさせることにより余剰蓄熱量を最大限利用できるので蓄熱利用冷房運転時における冷凍能力を増大させることができる。
【0039】
図4を参照して、室外ユニットの総合冷凍能力が例えば30馬力の場合、前述したように蓄熱利用可能な最大時間は7.1時間である。従来のように室内ユニット300からの冷房運転の要求があり且つ氷蓄熱槽17内の温度が10℃以下である場合に無条件に蓄熱利用冷房運転を実行していたのでは蓄熱利用冷房運転の要求が連続的にある限り、朝8時から運転したとして日中3時には氷蓄熱ユニット200の蓄熱量を使い切ってしまう。従って日中3時以降は非蓄熱冷房運転となって冷凍能力は大幅にダウンする。
【0040】
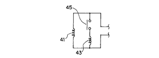
この実施形態では蓄熱利用冷房運転時の蓄熱利用時間を調整する蓄熱利用時間調整手段が設けられる。この蓄熱利用時間調整手段は、例えば図5に示すように氷蓄熱槽17内の温度を検出するサーミスタ41と、このサーミスタ41に並列に接続される抵抗43と、蓄熱利用時間を調整するタイマ(図示せず)と、このタイマにより開閉されるタイマ接点45とから構成される。タイマ(図示せず)は例えば図6に示すように朝8時から9時および昼12時から1時の間を計時してこの間タイマ接点45を閉じる。タイマ接点45が開いている場合には図5からも明らかなように抵抗43は機能しない。従って氷蓄熱槽17内の温度が例えば10℃以下であれば、室内ユニット300からの冷房運転の要求があったことを条件に蓄熱利用冷房運転が実行される。朝8時から9時および昼12時から1時の間はタイマ接点45が閉じる。これが閉じると抵抗43は機能し、氷蓄熱槽17内の温度が仮に10℃以下であっても常に10℃以上であると判断される。従って室内ユニット300からの冷房運転の要求があったとしても蓄熱利用冷房運転は実行されず、通常の非蓄熱冷房運転が実行される。
【0041】
尚、朝8時から9時および昼12時から1時の時間帯は、これに限定されるものではなく、蓄熱利用冷房運転の要求が少ない時間帯であれば、どの時間帯であってもよいことは明らかである。
【0042】
この実施形態では、蓄熱利用時間調整手段が設けられるので、この調整手段により調整される時間帯は冷房運転の要求が仮にあったとしても蓄熱利用冷房運転は実行されず、通常の非蓄熱冷房運転が実行されるので、氷蓄熱ユニット200の蓄熱量を簡単に使い切ってしまうことはなく従来のものに比べて蓄熱利用冷房運転を効率よく実行することができる。また抵抗43、タイマ接点45等からなる蓄熱利用時間調整手段はコントローラ50の制御回路を変更することなく、外付けが可能であるので、製品コストを増大させることなく、蓄熱利用冷房運転を効率よく実行することができる。
【0043】
【発明の効果】
本発明によれば、空調負荷に応じて二台、三台或いは四台以上の室外ユニットが接続される空気調和システムにおいて、通常であれば室外ユニットの接続台数に応じて氷蓄熱ユニットの能力が変更されるところ、氷蓄熱ユニットの能力は変更せずに、過冷却制御を行うことで、蓄熱利用冷房運転時の冷凍能力を変更できる。そして、蓄熱利用時間調整手段によって蓄熱利用時間が調整され、この調整手段により調整される時間帯は冷房運転の要求が仮にあったとしても蓄熱利用冷房運転は実行されず、通常の非蓄熱冷房運転が実行されるので、従来のものに比べて効率よく蓄熱利用冷房運転が実行される。
【図面の簡単な説明】
【図1】本発明の一実施形態を示す回路図である。
【図2】蓄熱利用冷房運転時の回路図である。
【図3】シフト率を説明する図である。
【図4】蓄熱利用時間を説明する図である。
【図5】蓄熱利用時間調整手段を説明する図である。
【図6】蓄熱冷房運転利用時間帯を説明する図である。
【符号の説明】
1A、1B、1C 圧縮機
3 四方弁
5 室外熱交換器
17 氷蓄熱槽
41 センサ
43 抵抗
45 タイマ接点
50 コントローラ
MV1 電子制御弁
SV1,SV2,SV3,SV4 電動切換弁
100A、100B 室外ユニット
200 氷蓄熱ユニット
300 室内ユニット
Claims (3)
- 室外ユニットと室内ユニットとの間に氷蓄熱ユニットを設け、製氷運転および蓄熱利用冷房運転を可能にした空気調和システムにおいて、
前記室外ユニットの総合冷凍能力と、この総合冷凍能力に応じたシフト率とに基づいて、前記蓄熱利用冷房運転時の冷凍能力が定められ、
前記蓄熱利用冷房運転時の冷凍能力と前記室外ユニットの総合冷凍能力との差に応じて、前記氷蓄熱ユニットへの冷媒流量を調節する流量調節手段と、
前記蓄熱利用冷房運転時の蓄熱利用時間を調整する蓄熱利用時間調整手段とを設け、
前記蓄熱利用時間調整手段は、前記室外ユニットの総合冷凍能力および前記シフト率に対応する蓄熱利用可能時間に基づいて、前記蓄熱利用冷房運転時の蓄熱利用時間を調整することを特徴とする空気調和システム。 - 室外ユニットと室内ユニットとの間に氷蓄熱ユニットを設け、製氷運転および蓄熱利用冷房運転を可能にした空気調和システムにおいて、
前記室外ユニットの総合冷凍能力と、この総合冷凍能力に応じたシフト率とに基づいて、前記蓄熱利用冷房運転時の冷凍能力が定められ、
前記蓄熱利用冷房運転時の冷凍能力と前記室外ユニットの総合冷凍能力との差に応じて、前記氷蓄熱ユニットへの冷媒流量を調節する流量調節手段と、
前記室内ユニットから冷房運転の要求があり氷蓄熱ユニットの氷蓄熱槽内の温度が所定温度以下である場合、前記蓄熱利用冷房運転を実行する手段と、
前記室内ユニットから冷房運転の要求があり氷蓄熱ユニットの氷蓄熱槽内の温度が所定温度以下である場合であっても所定の条件下で前記蓄熱利用冷房運転を実行させずに、前記蓄熱利用冷房運転時の蓄熱利用時間を調整する蓄熱利用時間調整手段とを設け、
前記蓄熱利用時間調整手段は、前記室外ユニットの総合冷凍能力および前記シフト率に対応する蓄熱利用可能時間に基づいて、前記蓄熱利用冷房運転時の蓄熱利用時間を調整することを特徴とする空気調和システム。 - 前記蓄熱利用時間調整手段はタイマを備え、このタイマによって予め設定された時間内は前記蓄熱利用冷房運転を実行させないことを特徴とする請求項1または2記載の空気調和システム。
Priority Applications (1)
| Application Number | Priority Date | Filing Date | Title |
|---|---|---|---|
| JP11614997A JP3649853B2 (ja) | 1997-04-18 | 1997-04-18 | 空気調和システム |
Applications Claiming Priority (1)
| Application Number | Priority Date | Filing Date | Title |
|---|---|---|---|
| JP11614997A JP3649853B2 (ja) | 1997-04-18 | 1997-04-18 | 空気調和システム |
Publications (2)
| Publication Number | Publication Date |
|---|---|
| JPH10292936A JPH10292936A (ja) | 1998-11-04 |
| JP3649853B2 true JP3649853B2 (ja) | 2005-05-18 |
Family
ID=14679974
Family Applications (1)
| Application Number | Title | Priority Date | Filing Date |
|---|---|---|---|
| JP11614997A Expired - Fee Related JP3649853B2 (ja) | 1997-04-18 | 1997-04-18 | 空気調和システム |
Country Status (1)
| Country | Link |
|---|---|
| JP (1) | JP3649853B2 (ja) |
Families Citing this family (1)
| Publication number | Priority date | Publication date | Assignee | Title |
|---|---|---|---|---|
| DE69029854T2 (de) * | 1989-11-29 | 1997-06-05 | Fujitsu Ltd | Umschaltverfahren für verdoppeltes atm-vermittlungssystem |
-
1997
- 1997-04-18 JP JP11614997A patent/JP3649853B2/ja not_active Expired - Fee Related
Also Published As
| Publication number | Publication date |
|---|---|
| JPH10292936A (ja) | 1998-11-04 |
Similar Documents
| Publication | Publication Date | Title |
|---|---|---|
| US5388420A (en) | Heat storage type air conditioner, and defrosting method | |
| US5445213A (en) | Heat accumulator for heat energy and cold energy accumulating system | |
| CN111619305B (zh) | 电动或混合动力车辆、用于其的设备和控制方法 | |
| JP3352469B2 (ja) | 空気調和装置 | |
| JP2014119145A (ja) | 空気調和機 | |
| EP1925893A2 (en) | Air conditioner | |
| US9500397B2 (en) | Refrigerant system and a control method the same | |
| JP4610688B2 (ja) | 冷暖房給湯装置とその制御方法 | |
| JP3649853B2 (ja) | 空気調和システム | |
| JP6635223B1 (ja) | 空調システム | |
| JP3249099B2 (ja) | 二本以上のバイパスラインを持つ多室型空気調和機及びそのバイパス量制御方法 | |
| JP3653372B2 (ja) | 空気調和システム | |
| JPH0328673A (ja) | 蓄熱式空気調和装置 | |
| JP3854586B2 (ja) | 熱源システムと当該熱源システムの制御方法及び熱源と当該熱源の制御方法 | |
| JP3304866B2 (ja) | 蓄熱式空気調和機 | |
| JP2003065584A (ja) | 空気調和装置及び空気調和装置の制御方法 | |
| JP7717012B2 (ja) | 制御装置、排熱回収冷凍機システム、制御方法及びプログラム | |
| JP3082304B2 (ja) | 空気調和機 | |
| JPH01142356A (ja) | 空気調和装置 | |
| JP3253276B2 (ja) | 蓄熱式空気調和装置及びその運転方法 | |
| JP3053975B2 (ja) | 氷蓄熱装置 | |
| JPH02272237A (ja) | 蓄熱式空気調和装置 | |
| JPH0658578A (ja) | 空気調和機 | |
| JP3412716B2 (ja) | 氷蓄熱空調装置 | |
| CN118661065A (zh) | 制冷装置 |
Legal Events
| Date | Code | Title | Description |
|---|---|---|---|
| A977 | Report on retrieval |
Free format text: JAPANESE INTERMEDIATE CODE: A971007 Effective date: 20040928 |
|
| A131 | Notification of reasons for refusal |
Free format text: JAPANESE INTERMEDIATE CODE: A131 Effective date: 20041116 |
|
| A521 | Written amendment |
Free format text: JAPANESE INTERMEDIATE CODE: A523 Effective date: 20050113 |
|
| TRDD | Decision of grant or rejection written | ||
| A01 | Written decision to grant a patent or to grant a registration (utility model) |
Free format text: JAPANESE INTERMEDIATE CODE: A01 Effective date: 20050208 |
|
| A61 | First payment of annual fees (during grant procedure) |
Free format text: JAPANESE INTERMEDIATE CODE: A61 Effective date: 20050216 |
|
| FPAY | Renewal fee payment (event date is renewal date of database) |
Free format text: PAYMENT UNTIL: 20090225 Year of fee payment: 4 |
|
| FPAY | Renewal fee payment (event date is renewal date of database) |
Free format text: PAYMENT UNTIL: 20090225 Year of fee payment: 4 |
|
| FPAY | Renewal fee payment (event date is renewal date of database) |
Free format text: PAYMENT UNTIL: 20100225 Year of fee payment: 5 |
|
| LAPS | Cancellation because of no payment of annual fees |