JP3627397B2 - 流体封入式筒形マウント - Google Patents
流体封入式筒形マウント Download PDFInfo
- Publication number
- JP3627397B2 JP3627397B2 JP23512296A JP23512296A JP3627397B2 JP 3627397 B2 JP3627397 B2 JP 3627397B2 JP 23512296 A JP23512296 A JP 23512296A JP 23512296 A JP23512296 A JP 23512296A JP 3627397 B2 JP3627397 B2 JP 3627397B2
- Authority
- JP
- Japan
- Prior art keywords
- fluid
- receiving chamber
- pressure receiving
- mount
- vibration
- Prior art date
- Legal status (The legal status is an assumption and is not a legal conclusion. Google has not performed a legal analysis and makes no representation as to the accuracy of the status listed.)
- Expired - Fee Related
Links
- 239000012530 fluid Substances 0.000 title claims description 75
- 230000009471 action Effects 0.000 claims description 38
- 230000000694 effects Effects 0.000 claims description 34
- 239000007788 liquid Substances 0.000 claims description 5
- 238000005452 bending Methods 0.000 claims description 4
- 230000007423 decrease Effects 0.000 claims description 3
- 238000000638 solvent extraction Methods 0.000 claims description 2
- 239000002184 metal Substances 0.000 description 29
- 238000002955 isolation Methods 0.000 description 10
- 230000002093 peripheral effect Effects 0.000 description 9
- 239000000463 material Substances 0.000 description 6
- 238000005192 partition Methods 0.000 description 5
- 230000008859 change Effects 0.000 description 4
- 230000000052 comparative effect Effects 0.000 description 4
- 230000008901 benefit Effects 0.000 description 2
- 238000010586 diagram Methods 0.000 description 2
- 230000005489 elastic deformation Effects 0.000 description 2
- 238000002474 experimental method Methods 0.000 description 2
- 238000009413 insulation Methods 0.000 description 2
- 229920005989 resin Polymers 0.000 description 2
- 239000011347 resin Substances 0.000 description 2
- 238000009751 slip forming Methods 0.000 description 2
- 230000003068 static effect Effects 0.000 description 2
- -1 alkylene glycol Chemical compound 0.000 description 1
- 230000015572 biosynthetic process Effects 0.000 description 1
- 230000006835 compression Effects 0.000 description 1
- 238000007906 compression Methods 0.000 description 1
- 230000008878 coupling Effects 0.000 description 1
- 238000010168 coupling process Methods 0.000 description 1
- 238000005859 coupling reaction Methods 0.000 description 1
- 238000013016 damping Methods 0.000 description 1
- 230000003247 decreasing effect Effects 0.000 description 1
- 238000006073 displacement reaction Methods 0.000 description 1
- LYCAIKOWRPUZTN-UHFFFAOYSA-N ethylene glycol Natural products OCCO LYCAIKOWRPUZTN-UHFFFAOYSA-N 0.000 description 1
- WGCNASOHLSPBMP-UHFFFAOYSA-N hydroxyacetaldehyde Natural products OCC=O WGCNASOHLSPBMP-UHFFFAOYSA-N 0.000 description 1
- 238000005259 measurement Methods 0.000 description 1
- 230000004048 modification Effects 0.000 description 1
- 238000012986 modification Methods 0.000 description 1
- 229920001515 polyalkylene glycol Polymers 0.000 description 1
- 230000002265 prevention Effects 0.000 description 1
- 230000009467 reduction Effects 0.000 description 1
- 229920002545 silicone oil Polymers 0.000 description 1
- 239000000725 suspension Substances 0.000 description 1
- 229920003002 synthetic resin Polymers 0.000 description 1
- 239000000057 synthetic resin Substances 0.000 description 1
- XLYOFNOQVPJJNP-UHFFFAOYSA-N water Substances O XLYOFNOQVPJJNP-UHFFFAOYSA-N 0.000 description 1
Images
Landscapes
- Combined Devices Of Dampers And Springs (AREA)
Description
【技術分野】
本発明は、防振ブッシュや防振マウント等として用いられる筒形マウントに係り、特に、内部に封入された流体の流動作用に基づいて、マウント軸直角方向に入力される振動に対する防振効果を発揮する流体封入式筒形マウントに関するものである。
【0002】
【従来技術】
防振連結されるべき部材間に介装される防振装置の一種として、従来から、互いに所定距離を隔てて同心的に若しくは偏心して配された軸金具と外筒金具を、それらの間に介装された本体ゴム弾性体で弾性的に連結せしめることによって、主として軸金具と外筒金具の間に入力される軸直角方向の振動に対して防振効果が発揮されるようにした筒形マウントが知られており、自動車用のサスペンションブッシュやエンジンマウント,デフマウント,ボデーマウント等として、広く用いられている。また、近年では、より高度な防振性能の要求に対処するために、軸金具と外筒金具の間に壁部の一部が本体ゴム弾性体で構成されて内部に非圧縮性流体が封入されることにより振動が入力される受圧室を形成し、該受圧室における流体の流動作用に基づいて防振効果を得るようにした流体封入式筒形マウントも、採用されている。
【0003】
ところで、流体封入式筒形マウントでは、入力振動に対して流体の共振作用等の流動作用に基づく防振効果が有効に発揮され得る領域が、本体ゴム弾性体のばね定数や流体流通路の断面積および長さなどによって定まる比較的狭い周波数域に限られてしまう傾向がある。そして、例えば、高周波数域の入力振動に対して、流体の流動作用による低動ばね効果に基づく振動絶縁特性を得るためには、流体流路を大きくしたり、硬いばね特性のゴム材料を採用するなどして、高周波数域にチューニングする必要がある。
【0004】
ところが、流体流路を大きくするとマウントサイズが大型化してしまうために、マウント配設スペースが制限される場合には難しく、しかもマウントサイズが大型化すると本体ゴム弾性体の自由長が大きくなるために、結局、硬いばね特性のゴム材料を採用して、要求される静的ばね定数を確保することが必要となる。
【0005】
そして、硬いばね特性のゴム材料を採用すると、動ばね定数が大きくなって、全体として防振性能が低下してしまい、特にチューニング周波数よりも低周波側の広い周波数域に亘って動ばね定数の上昇が惹起されるのであり、それ故、例えば、500Hz程度の高周波数域に防振性能をチューニングした場合、それより低周波側の100〜400Hz程度の周波数域で、充分な振動絶縁効果を得ることが難しいという問題があったのである。
【0006】
【解決課題】
ここにおいて、本発明は、上述の如き事情を背景として為されたものであって、その解決課題とするところは、大幅なマウントサイズの大型化やゴム材料の硬度アップ等を伴うことなく、防振性能を高周波数域にチューニングした際の該チューニング周波数域よりも低周波側の動ばね定数の上昇が有利に抑えられ得て、広い周波数域に亘って良好なる防振効果を発揮せしめ得る、改良された構造の流体封入式筒形マウントを提供することにある。
【0007】
【解決手段】
そして、このような課題を解決するために、請求項1に記載の発明は、軸部材と、該軸部材の外方に所定距離を隔てて配設された外筒部材を、それらの間に介装された本体ゴム弾性体で連結する一方、該軸部材と該外筒部材の間に壁部の一部が該本体ゴム弾性体で構成されて内部に非圧縮性流体が封入されることにより振動が入力される受圧室を形成し、該受圧室における流体の流動作用に基づいて防振効果を得るようにした、マウント軸直角方向に振動が入力せしめられる流体封入式筒形マウントにおいて、前記本体ゴム弾性体で構成された前記受圧室におけるマウント軸方向両側の側壁部の少なくとも一方に、前記軸部材および前記外筒部材の少なくとも一方の側から該側壁部内に突出する作用突部を設けて、該作用突部の先端面にマウント軸方向外方に向かって漸次高さが低くなるように実質的に傾斜する傾斜面を形成すると共に、該傾斜面の少なくとも一部がマウント軸方向の投影で該受圧室に重なるようにした流体封入式筒形マウントを、特徴とする。
【0008】
このような請求項1に記載の発明に従う構造とされた流体封入式筒形マウントにおいては、軸部材と外筒部材の間に入力される軸直角方向の振動荷重が、本体ゴム弾性体で構成された受圧室の軸方向側壁部に及ぼされた際に、作用突部の傾斜面によって、かかる側壁部を外方に膨出変形させる分力が効果的に生ぜしめられることとなる。そして、この分力にて、受圧室の軸方向側壁部における外方への膨出変形量が大きくされることにより、振動入力時における受圧室の容積変化量ひいては流体流動量が減少せしめられて、流体流動マスが小さくなる結果、本体ゴム弾性体のばね特性を大幅に硬くしなくても、防振特性を高周波数域へ有利にチューニングすることが可能となるのである。
【0009】
従って、かかる流体封入式筒形マウントにおいては、防振特性を高周波数域にチューニングするに際しても、本体ゴム弾性体に対して低動ばね特性が有利に設定され得て、防振特性のチューニング周波数よりも低周波側の広い周波数域に亘って、優れた防振性能が発揮されるのである。
【0010】
なお、傾斜面を形成する作用突部は、少なくとも本体ゴム弾性体よりも高剛性であれば良く、金属製や合成樹脂製のもの等が、何れも採用され得る。また、傾斜面は、軸直角方向の振動荷重の入力時に側壁部を外方に膨出変形させる分力を生ぜしめ得る形状であれば良く、マウント軸方向断面において直線的な傾斜面の他、湾曲した傾斜面や凹凸のある傾斜面であっても良い。
【0011】
また、作用突部の突出先端面の全面を傾斜面とする必要もなく、例えば、作用突部における突出先端部の軸方向外側隅部を斜めに切り欠いて、突出先端面の一部を傾斜面とすること等も可能である。
【0012】
更にまた、作用突部における傾斜面は、受圧室におけるマウント軸方向両側の側壁部において、受圧室の全周に亘って形成されている必要はなく、受圧室の側壁部において部分的に位置するように形成されていても良い。
【0013】
なお、好ましくは、軸部材側から外筒部材側に向かって突出する作用突部が採用される。このような作用突部の構成を採用すれば、マウント製作性の向上が図られ得る。
【0014】
また、好ましくは、作用突部における傾斜面が、受圧室のマウント軸方向両側の側壁部において、それぞれ、受圧室の全周に亘って形成されて、マウント軸方向で対向位置せしめられる。このような傾斜面の構成を採用すれば、軸直角方向の振動荷重の入力時に側壁部を外方に膨出変形させる分力が一層有利に生ぜしめられ得る。
【0015】
更にまた、好ましくは、作用突部における傾斜面の幅が、受圧室のマウント軸方向両側の側壁部に対して、該側壁部のマウント軸方向寸法の1/5以上、より好ましくは1/3以上となるように、設定される。また、好ましくは、作用突部における傾斜面のマウント軸方向線に対する傾斜角度が、10°〜60°、より好ましくは15°〜35°となるように、設定される。このような傾斜面の幅や傾斜角度に関する構成を採用すれば、軸直角方向のマウントばね剛性を確保しつつ、軸直角方向の振動荷重の入力時に側壁部を外方に膨出変形させる分力を有効に得ることが可能となる。
【0016】
また一方、請求項2に記載の発明は、請求項1に記載の発明に従う構造とされた流体封入式筒形マウントにおいて、前記受圧室を周方向に連続して形成すると共に、前記作用突部を環状として、該受圧室の前記側壁部において、前記傾斜面を周方向に連続して形成せしめたことを、特徴とする。
【0017】
このような請求項2に記載の発明に従う構造とされた流体封入式筒形マウントにおいては、複数の異なるマウント軸直角方向の振動入力時に、何れも、流体の流動作用に基づく防振効果が有効に発揮されると共に、受圧室の側壁部が外方に膨出変形させられて、チューニング周波数より低周波側の広い周波数域で有効な防振効果が発揮される。
【0018】
また、特に、受圧室の断面積を周方向全周に亘って略一定とすれば、流体の流動作用に基づく防振効果を一層有利に得ることが可能となると共に、何れのマウント軸直角方向の入力振動に対しても、流体の流動作用に基づく一定の防振効果が有効に発揮され得ることとなる。
【0019】
また、請求項3に記載の発明は、請求項1又は2に記載の発明に従う構造とされた流体封入式筒形マウントにおいて、前記軸部材と前記外筒部材の間が前記本体ゴム弾性体によって周方向に仕切られることにより、それら軸部材と外筒部材の間において前記受圧室が周方向に部分的に位置して形成されていると共に、該受圧室が位置しない該軸部材と該外筒部材の間に非圧縮性流体が封入された副液室が形成されており、振動入力時に該受圧室と該副液室を連通するオリフィス通路を通じての流体流動が生ぜしめられるようになっていることを、特徴とする。
【0020】
このような請求項3に記載の発明に従う構造とされた流体封入式筒形マウントにおいては、オリフィス通路を通じて流動せしめられる流体の流動作用に基づいて、例えば低周波振動に対する防振効果を得ることも可能となる。その際、オリフィス通路の構造は、要求される防振特性に応じて、必要な通路長さや断面積が確保されるように、適当に設定されることとなり、例えばマウント周方向に一周以上の長さでオリフィス通路を形成すること等も可能である。また、受圧室を周方向に部分的に形成した場合には、高周波数域における流体流動作用に基づく低動ばね効果が必ずしも明確に認識されない場合があるが、そのような場合でも、傾斜面による分力の作用で側壁部を外方に膨出変形させることによって発揮される、前述の如き、広い周波数域に亘る低動ばね効果は、有効に発揮され得る。なお、必ずしも限定されるものでないが、受圧室と副液室を連通するオリフィス通路は、一般に、その内部を流動せしめられる流体の流動作用に基づく防振効果が発揮される周波数域が、上記傾斜面による分力の作用に基づく低動ばね効果が発揮される周波数域よりも低周波側となるように、チューニングされることとなる。
【0021】
なお、かかる請求項3に記載の発明において、前記副液室は、軸部材と外筒部材の間への振動入力時に受圧室とは増減が逆となる内圧変動が及ぼされる構造であってもよく、或いは壁部の一部が可撓性膜にて構成されて容積変化が容易に許容される構造であっても良い。
【0022】
また、請求項4に記載の発明は、請求項1乃至3の何れかに記載の発明に従う構造とされた流体封入式筒形マウントにおいて、前記傾斜面を有する前記作用突部が配設された前記受圧室の側壁部が、マウント軸直角方向の圧縮荷重の入力によって該受圧室の外方に向かって凸となる曲げ変形を生ずる形状とされていることを、特徴とする。
【0023】
このような請求項4に記載の発明に従う構造とされた流体封入式筒形マウントにおいては、受圧室の側壁部それ自体でも、振動荷重の入力時に、該側壁部における外方への膨出変形量が大きく確保される。そして、この側壁部自体の弾性変形特性が、傾斜面による分力の作用と相加的に作用することによって、前述の如き、広い周波数域に亘る低動ばね効果が一層有利に達成されて、より優れた防振効果が実現され得るのである。なお、側壁部において、マウント軸直角方向の圧縮荷重の入力によって受圧室の外方に向かって凸となる曲げ変形を生ずる形状は、マウント軸直角方向の圧縮荷重によって曲げモーメントが生ぜしめられる形状であれば良く、例えば、側壁部の軸方向内面又は外面を、マウント縦断面において受圧室外方に向かって湾曲した面形状をもって形成すること等によって、有利に実現され得る。
【0024】
【発明の実施の形態】
以下、本発明を更に具体的に明らかにするために、本発明の実施形態について、図面を参照しつつ、詳細に説明する。
【0025】
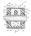
先ず、図1及び図2には、本発明の第一の実施形態としての自動車用エンジンマウント10が、示されている。このエンジンマウント10は、軸部材としての内筒金具12と外筒部材としての外筒金具14が、互いに同一軸上で径方向に所定距離を隔てて配設されており、これら内外筒金具12,14間に介装された本体ゴム弾性体16によって弾性的に連結されている。そして、内筒金具12と外筒金具14が、図示しない自動車のパワーユニット側とボデー側の各一方にそれぞれ取り付けられることにより、かかるエンジンマウント10が、パワーユニットとボデーの間に介装されて、それらを防振連結せしめるようになっている。
【0026】
より詳細には、内筒金具12は、厚肉の小径円筒形状を有している。また、内筒金具12には、図3及び図4にも示されているように、軸方向中央部分において径方向外方に突出するストッパブロック18が組み付けられている。このストッパブロック18は、リング状部22から径方向外方に向かって突出する一対のストッパ部24,24が対向位置して一体形成された構造とされており、リング状部22の嵌着孔20において、内筒金具12に外嵌固定されている。更にまた、内筒金具12の軸方向両側部分には、それぞれ、突出ブロック26が組み付けられている。
【0027】
かかる突出ブロック26は、全体として円環形状を有しており、その中心孔27において、内筒金具12に外嵌固定されることにより、この突出ブロック26によって、内筒金具12の外周面から径方向外方に向かって所定高さで突出する作用突部が、周方向に連続して形成されている。また、突出ブロック26,26の突出先端部分は、何れも、軸方向外側の隅部が斜めに切り欠かれた形状とされており、これらの切欠面が、それぞれ、内筒金具12の軸方向外方に向かってテーパ状に傾斜した傾斜面28とされている。なお、本実施形態では、突出ブロック26の内筒金具12からの突出高さは、ストッパ部24の突出高さよりも小さく設定されている。また、突出ブロック26の傾斜面28は、突出ブロック26の先端面の全幅の略2/3の範囲で、軸方向断面で略直線となる面形状をもって形成されている。更にまた、かかる傾斜面28の傾斜角度は、マウント要求特性等を考慮して決定されることとなり、例えば、本実施形態では、内筒金具12の中心軸(マウント中心軸)に対する傾斜角度:αが、15°≦α≦35°となるように設定されている。
【0028】
また、ストッパブロック18と突出ブロック26,26は、何れも、少なくとも本体ゴム弾性体16よりも硬質の剛性樹脂材料によって形成されている。そして、例えば、別途形成した内筒金具12をセットせしめた成形型内に樹脂材料を充填して、内筒金具12の外周面上で、それらストッパブロック18と突出ブロック26,26を形成することにより、その形成と同時に内筒金具12に対して固定的に組み付けられている。
【0029】
また一方、内筒金具12の径方向外方には、同一軸上で径方向に所定距離を隔てて金属スリーブ30が配設されている。この金属スリーブ30は、大径の円筒形状を有しており、軸方向中央部分には、一対の窓部32,32が、径方向に対向位置して設けられている。換言すれば、かかる金属スリーブ30は、同一軸上に所定距離を隔てて配設された一対の円環状部34,34が、それらの軸方向対向面間に跨がって延びる一対の連結部36,36によって相互に連結,一体化されており、一対の連結部36,36が径方向に対向位置させられていることにより、それら連結部36,36の周方向両側間において一対の窓部32,32が設けられた構造とされている。そして、これらの窓部32,32が、一対のストッパ部24,24の突出方向外方に位置せしめられるように、金属スリーブ30が内筒金具12に対して位置決めされている。
【0030】
そして、これら内筒金具12と金属スリーブ30の径方向対向面間に、本体ゴム弾性体16が介装されている。即ち、本体ゴム弾性体16は、全体として大径の厚肉円筒形状を有しており、その内周面に内筒金具12が加硫接着されると共に、外周面に金属スリーブ30が加硫接着されることによって、それら内筒金具12と金属スリーブ30を有する一体加硫成形品とされているのである。
【0031】
また、本体ゴム弾性体16には、軸方向中央部分において、周方向に連続して延びる幅広凹溝形状のポケット部38が形成されている。なお、このポケット部38は、金属スリーブ30における窓部32の開口幅と略同じ幅寸法を有しており、ポケット部38の形成部分では、該ポケット部38を通じて外周面に開口している一方、ポケット部38が形成されていない部分では、連結部36で開口部が覆われたトンネル形状とされている。また、ポケット部38の内部には、ポケット部38の底部から金属スリーブ30の各窓部32に向かって、ストッパ部24が所定高さで突出位置せしめられている。
【0032】
更にまた、本体ゴム弾性体16によって構成されて、ポケット部38の軸方向両側の壁部を構成する側壁部42,42には、それぞれ、内筒金具12側から径方向外方に向かって突出する突出ブロック26が、埋設状態で配設されている。ここにおいて、本実施形態では、突出ブロック26の突出先端面だけでなく傾斜面28も、その全面が、ポケット部38の底面40よりも径方向外方に位置せしめられて、マウント軸方向の投影でポケット部38に重なるようにされている。また、本実施形態では、突出ブロック26の傾斜面28における有効幅:bの側壁部42の幅:Bに対する比:b/Bが、略1/2となるように、傾斜面28の幅寸法が設定されている。
【0033】
なお、突出ブロック26の突出高さは、特に限定されるものでないが、余り高くすると側壁部42のばね剛性に与える影響が大きいことから、本実施形態では、突出ブロック26の突出高さが、側壁部42の高さ寸法の略1/3となるように設定されている。
【0034】
さらに、このような一体加硫成形品に対して、外筒金具14が外挿されて、金属スリーブ30の外周面に嵌着固定されている。この外筒金具14は、薄肉の大径円筒形状を有しており、内周面には、略全面に亘って薄肉のシールゴム層44が形成されて加硫接着されている。そして、かかる外筒金具14は、金属スリーブ30に外挿されて、該金属スリーブ30に対して、絞り加工により嵌着固定されると共に、軸方向両端部がかしめ固定されることにより、固定的に組み付けられている。なお、外筒金具14と金属スリーブ30の嵌着面は、シールゴム層44が挟圧されて流体密にシールされている。
【0035】
このように外筒金具14が組み付けられることにより、金属スリーブ30の窓部32,32が流体密に覆蓋されて、ポケット部38が密封されており、それによって、所定の非圧縮性流体が封入された受圧室46が、全体として円環形状をもって形成されている。なお、封入流体としては、水やアルキレングリコール,ポリアルキレングリコール,シリコーン油等が何れも採用され得、特に本実施形態では、流体の共振作用に基づく防振効果が有効に発揮されるように、粘度が0.1Pa・s以下の低粘性流体が好適に採用される。また、非圧縮性流体の封入は、例えば、一体加硫成形品に対する外筒金具14の組付けを非圧縮性流体中で行うこと等によって、有利に為され得る。
【0036】
このような構造とされたエンジンマウント10においては、径方向の振動が入力されると、内外筒金具12,14が相対的に偏心して受圧室46の容積が周方向で相対的に変化せしめられることにより、受圧室46内で流体の流動が生ぜしめられるのであり、以て、かかる流体の共振作用等の流動作用に基づいて、防振効果が発揮されることとなる。また、そこにおいて、本実施形態では、受圧室46が周方向全周に亘って充分に大きな断面積をもって形成されて、流体の流路断面積が有利に確保されていることから、流体の共振作用に基づいて低動ばね効果が発揮される周波数域が充分に高周波数域にチューニングされ得て、例えば、高速こもり音等の高周波振動に対する防振効果が極めて有効に発揮されるのである。
【0037】
また、径方向の振動入力時には、内外筒金具12,14間で、側壁部42,42に対して径方向の荷重が入力されることとなり、圧縮変形せしめられる側壁部42,42間で受圧室46に内圧が生ぜしめられて、受圧室46内での周方向の流体流動が惹起されることとなるが、その際、側壁部42に対する内周側の荷重作用面の一部が傾斜面28によって構成されていることから、軸方向外方に向かう分力が生じて、側壁部42に対し、軸方向斜め外方(傾斜面28に垂直な方向)に向かって力が及ぼされることとなる。そのために、側壁部42に対して、軸方向外方への膨出変形が積極的に生ぜしめられるのであり、その分、側壁部42の径方向圧縮変形時における、該側壁部42の受圧室46内方への膨出変形量が小さく抑えられる。
【0038】
それ故、径方向の振動入力時に受圧室46に生ぜしめられる容積変化乃至は内圧変動が小さくなって流体流動量が減少し、流体マスの減少に伴ってチューニング周波数がより高周波数域に有利に設定可能とされると共に、かかるチューニク周波数域よりも低い周波数域の広い範囲に亘って、受圧室46の内圧上昇等に伴う高動ばね現象が軽減乃至は防止されて、低動ばね化による防振性能の向上が図られ得るのである。
【0039】
しかも、傾斜面28の分力作用により側壁部42の受圧室46内方への膨出変形量が抑えられて、流体マスの減少により高周波数域へのチューニングが容易となることから、本体ゴム弾性体16自体のばね特性を軟らかく設定することが可能となるのであり、それによっても、広い周波数域に亘って低動ばね化による防振性能の向上が図られ得るのである。
【0040】
また、かかるエンジンマウント10においては、振動荷重の入力時に、傾斜面28の分力作用により側壁部42の受圧室46内方への膨出変形量が抑えられることによって、低動ばね化が達成されるものであることから、静的ばね定数を有利に確保することが可能であるといった利点もある。
【0041】
なお、本実施形態では、特に大きな荷重が入力される径方向にストッパ部24,24が突設されており、これらストッパ部24,24の外筒金具14に対する当接によって、大荷重入力時における内外筒金具12,14の相対的変位量や本体ゴム弾性体16の弾性変形量が制限されるようになっている。
【0042】
次に、図5及び図6には、本発明の別の実施形態としてのエンジンマウント50が、示されている。なお、本実施形態では、前記第一の実施形態としてのエンジンマウント10と同様な構造とされた部材および部位について、それぞれ、図面中に、第一の実施形態と同一の符号を付することにより、その詳細な説明を省略する。
【0043】
すなわち、本実施形態としてのエンジンマウント50にあっては、本体ゴム弾性体16に設けられたポケット部38内において、内筒金具12と金属スリーブ30の径方向対向面間を連結する一対の隔壁部52,52が、ストッパ部24,24の突出方向に直交する径方向両側で軸方向に連続して、それぞれ、本体ゴム弾性体16により一体形成されている。要するに、これらの隔壁部52,52は、金属スリーブ30における連結部36,36と内筒金具12との径方向対向面間に跨がって設けられており、これらの連結部36,36によって、ポケット部38の内部ひいては受圧室46の内部が周方向に二分されることにより、それぞれストッパ部24,24の突出方向両側に位置して、内筒金具12を挟んで径方向に対向位置せしめられた一対のポケット部38a,38bと一対の受圧室46a,46bが形成されているのである。
【0044】
また、金属スリーブ30の連結部36,36は、それぞれ、径方向内方に凹陥されており、以て、これらの連結部36,36によって、外周面上に開口して周方向に延び、両ポケット部38a,38bの開口部の周方向端部間を相互に連通する溝状の凹部54,54が形成されている。更に、各凹部54には、本体ゴム弾性体16がまわされて充填されていると共に、この充填されたゴム弾性体に対して、凹部54の軸方向中央部分を周方向に延びる凹溝56が形成されている。そして、これらの凹溝56,56が、外筒金具14で覆蓋されることによって、一対の受圧室46a,46bを相互に連通して、それら両受圧室46a,46b間での流体流動を許容するオリフィス通路58が形成されている。
【0045】
一方、内筒金具12の軸方向両側に外嵌固定された突出ブロック26は、図7及び図8にも示されているように、径方向一方向で対向位置する両側部分60,60が一定幅でカットされて突出高さが小さくされており、それらの突出高さが小さくされた部分が、隔壁部52,52の形成部分に対応するように、周方向に位置決めされている。
【0046】
このような構造とされたエンジンマウント50においては、内外筒金具12,14間に径方向の振動荷重が入力されると、各受圧室46a,46b内での流体の流動作用に基づいて高周波振動に対する低動ばね効果が発揮されると共に、各受圧室46a,46bの側壁部42の受圧室46内方への膨出変形量が、突出ブロック26の傾斜面28の分力作用で抑えられることにより、中乃至高周波数域の振動に対しても低動ばね化が図られることとなり、以て、前記第一の実施形態におけるエンジンマウントと同様、広い周波数域の入力振動に対して良好なる防振効果が発揮され得るのである。
【0047】
しかも、内外筒金具12,14間に対して、受圧室46a,46bの対向方向に低周波大振幅振動が入力されると、それら受圧室46a,46b間で生ぜしめられる相対的な内圧変動に基づいて、オリフィス通路58,58を通じての流体流動が生ぜしめられることとなる。そして、これらのオリフィス通路58,58は、通路長さ:Lと通路断面積:Aの比(A/L)が小さいことから、オリフィス通路58,58を通じて流動する流体の共振作用に基づいて、低周波振動に対して減衰効果等の有効な防振効果が発揮され得るのである。
【0048】
また、特に本実施形態では、隔壁部52,52の形成部位において、突出ブロック26の突出高さが低くされていることから、該突出ブロック26の傾斜面28によって受圧室46a,46bの各側壁部42に及ぼされる上述の如き分力作用は充分に確保しつつ、隔壁部52,52を含む本体ゴム弾性体16の体積が有利に確保され得て、応力集中等が軽減乃至は防止されることにより、良好なる耐久性を得ることが出来るといった利点もある。
【0049】
以上、本発明の実施形態について詳述してきたが、本発明は、上述の具体的記載や以下の実施例の記載によって限定的に解釈されるものでなく、本発明は、当業者の知識に基づいて種々なる変更,修正,改良等を加えた態様において実施され得るものであることは、言うまでもない。
【0050】
例えば、第一の実施形態におけるエンジンマウント10では、金属スリーブ30において、連結部36,36を設けることなく、一対の円環状部34,34からなる分割体構造を採用することも可能である。
【0051】
また、第一及び第二の実施形態におけるエンジンマウント10,50において、ストッパブロック18は、必ずしも設ける必要はない。
【0052】
また、第二の実施形態におけるエンジンマウント50において、一方の受圧室46bに代えて、壁部の一部がダイヤフラム等からなる可撓性膜で構成されて容積変化が容易に許容される平衡室を採用することも可能である。
【0053】
また、第一及び第二の実施形態におけるエンジンマウント10,50において、内筒金具12または外筒金具14に支持されて、受圧室46内において振動入力方向に直交する方向に広がる傘状部材を設けることにより、受圧室46内に流体流路を積極的に形成せしめて、高周波振動に対する防振性能の更なる向上を図ること等も可能である。
【0054】
また、第一及び第二の実施形態におけるエンジンマウント10,50において、突出ブロック26を内筒金具12に一体形成することも可能である。
【0055】
加えて、第一及び第二の実施形態では、低粘性流体を受圧室に封入せしめて、流体の共振作用に基づいて防振効果を得るようにしたマウントについて説明したが、その他、高粘性流体を受圧室に封入せしめて、流体のずり剪断応力等に基づいて防振効果を得るようにしたマウントに対して本発明を適用することも可能である。
【0056】
【実施例】
前記第一の実施形態として図1及び図2に示されたエンジンマウント10と同一構造のマウントを実施例として製作し、絶対ばね定数の周波数特性を実測した結果を、実施例として、図9に示す。
【0057】
なお、かかる実験は、内外筒金具12,14間に何等の初期荷重を及ぼすことなく、±0.5mmの振幅の振動を、内外筒金具12,14間におけるストッパ部24,24の突出方向に入力することによって行った。
【0058】
また、比較例として、突出ブロック26,26の突出先端面(外周面)の全面を軸方向に広がる平坦面として、傾斜面28が形成されていない構造のマウントを製作し、かかるマウントについても、上記実施例と同じ実験を行った。その結果を、図9において、比較例として併せ示す。
【0059】
かかる図9に示されているように、突出ブロック26に傾斜面28を形成した実施例のマウントにおいては、傾斜面が形成されていない比較例のマウントに比して、流体の流動作用に基づく防振効果のピークがより高周波数域(500Hz以上)に設定されていると共に、それよりも低周波側の広い周波数域(50〜500Hz程度)に亘って、低動ばね化が達成されている。そして、このことから、実施例のマウントにおける優れた防振性能が明らかに認められる。
【0060】
【発明の効果】
上述の説明から明らかなように、本発明に従う構造とされた流体封入式筒型マウントにおいては、軸部材と外筒部材の間への振動荷重入力時に、作用突部の傾斜面における分力作用により側壁部が軸方向外方に向かって積極的に膨出変形せしめられて、該側壁部の受圧室内方への膨出変形量が抑えられることから、受圧室の内圧変動量乃至は流体流動量が低減されるのであり、それによって、流体の流動作用に基づく低動ばね効果が有効に発揮される高周波域のチューニング点だけでなく、かかるチューニング点よりも低周波側の広い周波数域に亘って動ばね定数が低減されて、優れた防振効果が発揮されるのである。
【図面の簡単な説明】
【図1】本発明の第一の実施形態としてのエンジンマウントを示す縦断面図であって、図2におけるI−I断面に相当する図である。
【図2】図1におけるII−II断面図である。
【図3】図1に示されたエンジンマウントを構成する組立部品図であって、図4におけるIII −III 断面に相当する図である。
【図4】図3における左側面図である。
【図5】本発明の別の実施形態としてのエンジンマウントを示す縦断面図であって、図6におけるV−V断面に相当する図である。
【図6】図5におけるVI−VI断面図である。
【図7】図5に示されたエンジンマウントを構成する組立部品図であって、図8におけるVII −VII 断面に相当する図である。
【図8】図7における左側面図である。
【図9】本発明の実施例としてのマウントについて、絶対ばね定数の周波数特性を実測した結果を、比較例と共に示すグラフである。
【符号の説明】
10,50 エンジンマウント
12 内筒金具
14 外筒金具
16 本体ゴム弾性体
26 突出ブロック
28 傾斜面
42 側壁部
46 受圧室
Claims (5)
- 軸部材と、該軸部材の外方に所定距離を隔てて配設された外筒部材を、それらの間に介装された本体ゴム弾性体で連結する一方、該軸部材と該外筒部材の間に壁部の一部が該本体ゴム弾性体で構成されて内部に非圧縮性流体が封入されることにより振動が入力される受圧室を形成し、該受圧室における流体の流動作用に基づいて防振効果を得るようにした、マウント軸直角方向に振動が入力せしめられる流体封入式筒形マウントにおいて、
前記本体ゴム弾性体で構成された前記受圧室におけるマウント軸方向両側の側壁部の少なくとも一方に、前記軸部材および前記外筒部材の少なくとも一方の側から該側壁部内に突出する作用突部を設けて、該作用突部の先端面にマウント軸方向外方に向かって漸次高さが低くなるように実質的に傾斜する傾斜面を形成すると共に、該傾斜面の少なくとも一部がマウント軸方向の投影で該受圧室に重なるようにしたことを特徴とする流体封入式筒形マウント。 - 前記受圧室が周方向に連続して形成されていると共に、前記作用突部が環状とされて、該受圧室の前記側壁部において、前記傾斜面が周方向に連続して形成されている請求項1に記載の流体封入式筒形マウント。
- 前記軸部材と前記外筒部材の間が前記本体ゴム弾性体によって周方向に仕切られることにより、それら軸部材と外筒部材の間において前記受圧室が周方向に部分的に位置して形成されていると共に、該受圧室が位置しない該軸部材と該外筒部材の間に非圧縮性流体が封入された副液室が形成されており、振動入力時に該受圧室と該副液室を連通するオリフィス流路を通じての流体流動が生ぜしめられるようになっている請求項1又は2に記載の流体封入式筒形マウント。
- 前記傾斜面を有する前記作用突部が配設された前記受圧室の側壁部が、マウント軸直角方向の圧縮荷重の入力によって該受圧室の外方に向かって凸となる曲げ変形を生ずる形状とされている請求項1乃至3の何れかに記載の流体封入式筒形マウント。
- 前記作用突部における前記傾斜面のマウント軸方向線に対する傾斜角度が、10°〜60°となるように設定されている請求項1乃至4の何れかに記載の流体封入式筒形マウント。
Priority Applications (1)
| Application Number | Priority Date | Filing Date | Title |
|---|---|---|---|
| JP23512296A JP3627397B2 (ja) | 1996-09-05 | 1996-09-05 | 流体封入式筒形マウント |
Applications Claiming Priority (1)
| Application Number | Priority Date | Filing Date | Title |
|---|---|---|---|
| JP23512296A JP3627397B2 (ja) | 1996-09-05 | 1996-09-05 | 流体封入式筒形マウント |
Publications (2)
| Publication Number | Publication Date |
|---|---|
| JPH1078075A JPH1078075A (ja) | 1998-03-24 |
| JP3627397B2 true JP3627397B2 (ja) | 2005-03-09 |
Family
ID=16981385
Family Applications (1)
| Application Number | Title | Priority Date | Filing Date |
|---|---|---|---|
| JP23512296A Expired - Fee Related JP3627397B2 (ja) | 1996-09-05 | 1996-09-05 | 流体封入式筒形マウント |
Country Status (1)
| Country | Link |
|---|---|
| JP (1) | JP3627397B2 (ja) |
Families Citing this family (1)
| Publication number | Priority date | Publication date | Assignee | Title |
|---|---|---|---|---|
| JP2005254663A (ja) | 2004-03-12 | 2005-09-22 | Toshiba Tec Corp | ワイヤドットプリンタヘッド及びワイヤドットプリンタ |
-
1996
- 1996-09-05 JP JP23512296A patent/JP3627397B2/ja not_active Expired - Fee Related
Also Published As
| Publication number | Publication date |
|---|---|
| JPH1078075A (ja) | 1998-03-24 |
Similar Documents
| Publication | Publication Date | Title |
|---|---|---|
| JP3702683B2 (ja) | 流体封入式防振装置 | |
| US4971456A (en) | Fluid-filled elastic center bearing mount | |
| JPH0430442Y2 (ja) | ||
| US4921229A (en) | Fluid-filled elastic center bearing mount | |
| EP1870613B1 (en) | Vibration isolator | |
| JP3580279B2 (ja) | 流体封入式筒型防振装置 | |
| US4893798A (en) | Fluid-filled elastic bushing having means for limiting elastic deformation of axial end portions of elastic member defining pressure-receiving chamber | |
| JPH0330736B2 (ja) | ||
| JPS61206838A (ja) | 流体入りブツシユ組立体 | |
| US5213313A (en) | Fluid-filled cylindrical elastic mount having lateral and radial elastic walls for desired axial and diametric spring characteristics | |
| JP3603631B2 (ja) | 流体封入式防振装置 | |
| JPH0555739B2 (ja) | ||
| JPH10132015A (ja) | 流体封入式筒形防振装置 | |
| JP3627397B2 (ja) | 流体封入式筒形マウント | |
| US6669181B2 (en) | Vibration isolating apparatus | |
| JP3427593B2 (ja) | 流体封入式筒型マウント | |
| JP4270049B2 (ja) | 流体封入式防振装置 | |
| JP3736155B2 (ja) | 流体封入式筒型防振装置およびその製造方法 | |
| JPH0545810B2 (ja) | ||
| JP2827846B2 (ja) | 流体封入式ブッシュ | |
| JPH0523866Y2 (ja) | ||
| JP3998491B2 (ja) | 流体封入式防振ブッシュ | |
| JP2000257663A (ja) | 筒形流体封入式防振装置 | |
| JPH082513Y2 (ja) | 筒型防振支持体 | |
| JP3300446B2 (ja) | 液体封入式防振装置 |
Legal Events
| Date | Code | Title | Description |
|---|---|---|---|
| A977 | Report on retrieval |
Free format text: JAPANESE INTERMEDIATE CODE: A971007 Effective date: 20040622 |
|
| A131 | Notification of reasons for refusal |
Free format text: JAPANESE INTERMEDIATE CODE: A131 Effective date: 20040720 |
|
| A521 | Written amendment |
Free format text: JAPANESE INTERMEDIATE CODE: A523 Effective date: 20040917 |
|
| TRDD | Decision of grant or rejection written | ||
| A01 | Written decision to grant a patent or to grant a registration (utility model) |
Free format text: JAPANESE INTERMEDIATE CODE: A01 Effective date: 20041116 |
|
| A61 | First payment of annual fees (during grant procedure) |
Free format text: JAPANESE INTERMEDIATE CODE: A61 Effective date: 20041129 |
|
| R150 | Certificate of patent (=grant) or registration of utility model |
Free format text: JAPANESE INTERMEDIATE CODE: R150 |
|
| FPAY | Renewal fee payment (prs date is renewal date of database) |
Free format text: PAYMENT UNTIL: 20081217 Year of fee payment: 4 |
|
| FPAY | Renewal fee payment (prs date is renewal date of database) |
Free format text: PAYMENT UNTIL: 20081217 Year of fee payment: 4 |
|
| FPAY | Renewal fee payment (prs date is renewal date of database) |
Free format text: PAYMENT UNTIL: 20091217 Year of fee payment: 5 |
|
| FPAY | Renewal fee payment (prs date is renewal date of database) |
Free format text: PAYMENT UNTIL: 20101217 Year of fee payment: 6 |
|
| FPAY | Renewal fee payment (prs date is renewal date of database) |
Free format text: PAYMENT UNTIL: 20111217 Year of fee payment: 7 |
|
| FPAY | Renewal fee payment (prs date is renewal date of database) |
Free format text: PAYMENT UNTIL: 20121217 Year of fee payment: 8 |
|
| FPAY | Renewal fee payment (prs date is renewal date of database) |
Free format text: PAYMENT UNTIL: 20131217 Year of fee payment: 9 |
|
| LAPS | Cancellation because of no payment of annual fees |