JP3605437B2 - 貼着体 - Google Patents

貼着体 Download PDF

Info

Publication number
JP3605437B2
JP3605437B2 JP14418395A JP14418395A JP3605437B2 JP 3605437 B2 JP3605437 B2 JP 3605437B2 JP 14418395 A JP14418395 A JP 14418395A JP 14418395 A JP14418395 A JP 14418395A JP 3605437 B2 JP3605437 B2 JP 3605437B2
Authority
JP
Japan
Prior art keywords
pull tab
package
sealed package
component
sealed
Prior art date
Legal status (The legal status is an assumption and is not a legal conclusion. Google has not performed a legal analysis and makes no representation as to the accuracy of the status listed.)
Expired - Fee Related
Application number
JP14418395A
Other languages
English (en)
Other versions
JPH08318975A (ja
Inventor
充弘 住本
Current Assignee (The listed assignees may be inaccurate. Google has not performed a legal analysis and makes no representation or warranty as to the accuracy of the list.)
Dai Nippon Printing Co Ltd
Original Assignee
Dai Nippon Printing Co Ltd
Priority date (The priority date is an assumption and is not a legal conclusion. Google has not performed a legal analysis and makes no representation as to the accuracy of the date listed.)
Filing date
Publication date
Application filed by Dai Nippon Printing Co Ltd filed Critical Dai Nippon Printing Co Ltd
Priority to JP14418395A priority Critical patent/JP3605437B2/ja
Publication of JPH08318975A publication Critical patent/JPH08318975A/ja
Application granted granted Critical
Publication of JP3605437B2 publication Critical patent/JP3605437B2/ja
Anticipated expiration legal-status Critical
Expired - Fee Related legal-status Critical Current

Links

Images

Classifications

    • BPERFORMING OPERATIONS; TRANSPORTING
    • B65CONVEYING; PACKING; STORING; HANDLING THIN OR FILAMENTARY MATERIAL
    • B65DCONTAINERS FOR STORAGE OR TRANSPORT OF ARTICLES OR MATERIALS, e.g. BAGS, BARRELS, BOTTLES, BOXES, CANS, CARTONS, CRATES, DRUMS, JARS, TANKS, HOPPERS, FORWARDING CONTAINERS; ACCESSORIES, CLOSURES, OR FITTINGS THEREFOR; PACKAGING ELEMENTS; PACKAGES
    • B65D81/00Containers, packaging elements, or packages, for contents presenting particular transport or storage problems, or adapted to be used for non-packaging purposes after removal of contents
    • B65D81/32Containers, packaging elements, or packages, for contents presenting particular transport or storage problems, or adapted to be used for non-packaging purposes after removal of contents for packaging two or more different materials which must be maintained separate prior to use in admixture
    • B65D81/3205Separate rigid or semi-rigid containers joined to each other at their external surfaces
    • B65D81/3211Separate rigid or semi-rigid containers joined to each other at their external surfaces coaxially and provided with means facilitating admixture

Landscapes

  • Engineering & Computer Science (AREA)
  • Mechanical Engineering (AREA)
  • Package Specialized In Special Use (AREA)
  • Medicinal Preparation (AREA)

Description

【0001】
【産業上の利用分野】
二つの反応成分を混合して、特別の効能を発揮させる用途、例えば、消炎用冷湿布(温湿布)、魚の目用膏薬、肩凝り用の貼り膏薬等の医療用、電気関連や家庭雑貨としてのケミカルルミネッセンス、家庭用、産業用の接着用シート等に、物体、動物、人間の皮膚等への貼着体として利用できる。
【0002】
【従来の技術】
使用時に2成分を混合して、特別の効果を発揮せしめる方法あるいは包装には次に挙げるような各種のタイプがある。即ち、別々の容器に充填し、使用時に混ぜ合わせる、注射器等で、他の成分を入れた容器内に注入する、隔壁を有した包装体に2成分を分離包装しておき、使用時に、前記隔壁を破壊して、前記2成分を混合する。前記隔壁としては、種々のものがあり、成型品をネジで合体させる方法において、一方の容器の口部に設けたメンブラン等を他の容器に内蔵した突き破り用の突起物により、両容器の2段締めで、前記メンブランが破られ、2成分が混合される方法等である。
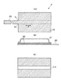
この他、パウチによる方法もある。図5は、パウチに二つの液体を分離包装されている例であり、(a)は斜視図、(b)はX−X′の断面図である。
パウチを用いる例としては、ヒートシール部により間で仕切られた包装体に2液が別々に収納されており、使用時に、2成分の間にあるヒートシール部分を物理的に、例えば力を入れて2液の内容物を押さえ圧力を加えて該ヒートシール部分を剥離させる等して混合し使用している。
特に前記パウチの例における弱シール性を有するヒートシール部分SWは、包装体の他のヒートシール部SSより弱く接着されている。即ち、弱接着の方法としては、弱接着させようとする部分を他のシール部分より、低温でヒートシールして弱い接着としたり、使用時に剥離させたいヒートシール部に抗ヒートシール(ヒートシール性を阻害する物質)をスポットコートする方法、異材質の樹脂間でのイージーピール性の利用として、剥離させたいヒートシール部に、異材質のフィルム等を介在させる等の技法を用いていた。
使用時混合タイプ包装体としては、例えば、実開昭63−3338 [加熱機能を備えた包装容器] があるが、構造体としては、薄型でなく、かつ、柔軟性もなく、物体や皮膚に貼着するには不適当なものであった。
また、薄型の使用時混合タイプ包装体としては、例えば、実開平1−168472 [包装体] があるが、この考案は、混合する2つの成分が、易剥離性シール部を介して2室に収納され、使用時に前記易剥離性シール部を剥離することによって、2つの成分を混合させる方式であるが、混合の際、効能を発揮させるのに時間がかかる等の欠点があった。
【0003】
【発明が解決しようとする課題】
使用する迄は、別々に包装された2種の物質が単純な操作によって、接触し、混合することによって、効能が発揮でき、かつ、1 〜15mmの厚さであって、他の物体あるいは皮膚等に密着させて利用できるように、薄型に、また、用途によっては柔軟性を有した貼着体を提供する。
【0004】
【課題を解決するための手段】
前記課題に対し、鋭意研究の結果、本発明者は次のような貼着体を提供することができた。それは、厚みが1〜15mmの薄型の貼着体であって、該貼着体は、少なくとも2つの成分が上下方向に層状に設けられた2室以上に収納された包装体で形成されており、各室の間を仕切る仕切りフィルムには、その一部に開口部を設けるためのカットまたはハーフカット部が設けられ、該カットまたはハーフカット部の上にイージーピール性を付与したプルタブ付きテープ体がヒートシールされると共に、該テープ体は、該ヒートシール部の端部で折り返されて該テープ体の端縁部のプルタブが該包装体の外側に突出するように設けられ、該プルタブを外側に引き抜くことにより、該カットまたはハーフカット部が開口して前記の成分が混合し、該混合成分による効能発揮されるように構成した貼着体である。
【0005】
本発明について、図等により詳細に説明する。図1は、本発明の代表的な実施例を示す断面図であり、図2は開口された状態を示す説明図である。
2つの反応成分A,Bは使用するまでは、分離包装とする。すなわち、密封包装体Pに反応成分Aを、前記密封包装体を包含して、外装Fに反応成分Bが包装されているが、反応成分A、Bは、前記A成分を包装している密封材料により、分離した状態である。
この例における反応成分Bは、バインダーにより、ベースシート4上に固着して、該成分Bの面と、前記成分Aを収納した密封包装体Pの開口予定部のある面とを、多孔性シートを介して、上下に位置させて対面する構造にしたため、使用時に成分Aと成分Bが速やかに混合させることができる。
【0006】
次に本発明による貼着体の使用方法について説明する。貼着体を外気中の塵埃や細菌等による汚染から保護するための外装より取り出し、貼着体の端部に突出したプルタブ3を掴んで引いて、密封包装体Pの所定の部位を開口する。密封包装体Pは、易開封性の容器を用いるが、易開封性の容器の開封方法として、テープ3を容器に接着するか、容器の一部分をテープ状に延長して、前記テープあるいはテープ状物を引くことにより、前記密封包装体の一部が開口することにより、成分Aが露出され、次いで、近傍に存在する成分Bに接触、混合することによって、特別の効能を発揮するに至るのである。
次に、ベースシートの裏面に設けた粘着剤の塗布面を剥離紙を除去することにより露出させ、皮膚等に貼着する。
【0007】
本発明は、使用時混合タイプの内容物の一つ、前記成分Aがイージーピール性の包装体(密封包装体P)に入っており、もう一つの他の内容物、前記成分Bが、このイージーピール性の包装体と接触するように配置され、使用時に、イージーピール性の包装体の一部タブ3を引っ張り開封することにより、密封包装体Pに開口部Zが形成される。該開口部Zから成分Aが流出してきて、多孔性シートを透過して、成分Bと混合し、混合内容物が活性化して効能を発揮する。
本発明においては、成分Aは流動体であることが好ましく、成分Bは粉体、固体等が好ましい。使用時に、流動体が粉体、粒体あるいは固体またはこれらの混合体に接触して反応等が生じ、特別な効能が発揮されるような場合において特に有効である。
【0008】
密封包装体Pについて更に説明する。図2は本発明による密封包装体Pの代表的な実施例の説明図である。
本実施例における密封包装体Pは、流動体を包装するが、トレー11と蓋12とからなり、前記蓋に予め開口部を開封しやすくするために開口予定部X−1にカット又は半カットKしておき、その上からピール性の素材13をヒートシールしておく。蓋材12に対するプルタブ13のヒートシールの方法は、例えば、図2(a)に示すように、円形シールとし、同図(c)(d)に示すように、プルタブ13をH方向に引っ張ると、SRのヒートシール部は、蓋とプルタブとで、イージーピールして、蓋のカット又はハーフカット部の内側のヒートシール部はプルタブに付着したままとなり、前記プルタブを引ききると、開口部Z−1が形成されるのである。
前記ヒートシール部にイージーピール性を与える方法としては、例えば、蓋材の表面材質をエチレン−プロピレンの共重合体からなる層とし、プルタブのシール層(蓋とシールする面)をエチレン−酢酸ビニル共重合体であって、エチレンを主とする(エチレンが 95 モル%) 共重合体からなる層とすることにより可能である。また、他のイージーピール性の組み合わせによっても良い。
プルタブの一端は使用時に引っ張りやすくするためのやや大きめにするのが好ましい。
【0009】
図3は、密封包装体Pの別の実施例であり、(a)は密封包装体Pを蓋材面からみた平面図であり、(b)は蓋材の延長部を折り返した状態の断面図であり、(c)は開口した後の密封包装体Pを蓋材面からみた平面図である。
成分Aをトレー21に充填し、1軸延伸フィルムを含む蓋材22を用いて密封包装体Pとするが、その際、前記蓋材に用いられた1軸延伸フィルムの延伸方向と平行に一部を延長してプルタブとするが前記延長部のつけ根の両サイドに切れ目N、Nを設ける。前記1軸延伸フィルムの延伸方向は、図に示すT方向とする。また、トレー21と蓋材22はイージーピール性を示す組み合わせとするが、この様なイージーピール性密封包装体Pを構成する材質例としては、ポリプロピレンシートより真空成形されたトレーと、ポリエステルフィルム(PET)/蒸着PET/ピール樹脂層の組み合わせにより可能となる。前記ピール樹脂層としては、エチレン−α・オレフィン共重合体、ポリプロピレン樹脂、ポリエチレン樹脂、エチレン−酢酸ビニル共重合体の混合体をインフレーション法により製膜したもの等を利用できる。
この密封包装体Pを開口する場合は、前記蓋材の延長部23を引っ張ることにより、前記切れ目N、Nから蓋材は、前記1軸延伸フィルムの延伸方向に沿って裂けていき、最終的に開口部Z−2を形成する。
【0010】
本発明による混合方法は、従来の2液混合タイプのごとく横に平列ではなく、反応成分A、Bを上下に配置しているために、従来の前記横並び式の技術に比して、効能を発揮するまでの時間が短いという特徴を有する。好ましい実施態様としては上部が流動体の包装物で下部が粉体又は固体の固定された部分であり、上部の密封包装体Pに設けられたプルタブを引っ張ることにより、図2に示すように、開口部Zが形成され、流動体Aが流れ出て、下部の粉体又は固体Bと接触あるいは混合して活性化し、有効なる効力を発揮する。
【0011】
本発明における貼着体は、他の物体、又は、動物や人間の皮膚に貼着して用いるために、使用時には、薄い状態でなくてはならない。更に、皮膚等への貼着用途においては、体の動きに追随できる柔軟性を示す材質が望ましく、若干の伸縮性があれば更に好ましい。
前記貼着体の厚さは 1〜15mm程度、更に、好ましくは 1〜5mm 程度である。本発明の目的を考慮すれば、本貼着体は可能な限り薄い構造体であることが望ましいが、実用できる密封包装体Pの材料厚さ、反応成分の必要量等から1mm 以上となり、厚さが15mmを超えると、貼着体としての使用性において、支障を来す。
【0012】
成分Aが流動体である場合、密封包装体Pを開口した時、成分Bに均一に接触させるために、図1、図2に示すように、成分Bと反応成分Aの間に、成分Bの展開面積に相当する面積の大きさにした多孔性シート5を介在させることができる。該多孔性シートは、粉体層の保護と密封包装体Pから流動体(成分B)が流れ出る際に反応成分Bの全体に前記成分Aが均一に行きわたるという効果を示す。該多孔性シートの材質としてはナイロン製のメッシュ或いは不織布等が好ましい。
【0013】
本発明に使用する密封包装体Pをトレータイプとする場合、該トレーに使用し得る具体的トレー材質としては、PP、ABS、PE、発泡PE、A−PET、PVC、PS等のシート、あるいはこれらのブレンド物、また各種共重合体(例えば、EPラバーなど)であり、前に述べた皮膚等への貼着用途に要求される柔軟性のトレー材質としては、未延伸ナイロンフィルム、ポリエステル系エラストマー等と、ポリエチレンフィルム等とをラミネートしたような複合フィルムを使用することができる。
その蓋体は、PET、ON,OPPなどの基材フィルムに、バリア層を積層し、または、積層しないで、前記トレーに対して、特にヒートシール方法による接着が可能なシーラント層を積層したものである。更に、該蓋材の表面(シーラント層と反対面)には、イージーピール性を付与するために、PE又はCPP等を積層することがある。プルタブについては、PET/PE、PET/CPP、ON/PE、ON/CPPなど引っ張り強度の強いラミネート素材が良い。
該ブルタブ3の構成は、前記プルタブ基材とピール性樹脂とをはり合わせた引っ張り強度の強いラミネート素材が良い。前記ピール樹脂は、前に述べた蓋材の表面に設けた層がPEであれば、PEに対してイージーピール性を示す樹脂とし、又、蓋材の表面に設けた層がCPPであれば、CPPに対してイージーピール性を示す樹脂とする。
【0014】
密封包装体Pがトレータイプのものについて説明してきたが、密封包装体Pがパウチ状のものを使用しても同じように実施可能である。
図4は、密封包装体Pとしてパウチを使用した例である。30はパウチ、33はプルタブであり、Kはカット又はハーフカット、該カットを境界として、外側において、プルタブ33がヒートシールされている部分をSRP、前記境界の内側のヒートシール部分をSCPとして、プルタブ33と密封包装体Pのパウチ表面とは、ヒートシールされている。
該パウチの材質としては、PET/AL/PE、PET/AL/CPP等構成のパウチを使用することが出来る。イージーピール性を付与する方法は、前述のトレータイプの説明において述べたように、パウチの表面材にPE又はCPPの層を設け、それぞれの層に対応したピール樹脂をプルタブに積層する。
(b)(c)に示すように、プルタブ33を引っ張ると、前記SRPのヒートシール部において、イージーピールして、SCPの部位は、プルタブ33に固着したまま、密封包装体Pから除去されるので、必然的に、密封包装体Pに開口部Z−3が形成される。
【0015】
例えば、A成分が流体であれば、開口した時に、B成分に均一に接触せず、部分的に、包装系の外に溢れる危険があるが、クランプCにより、周縁部を抑えておくことによって、このような心配はなくなる。
該クランプは、使用時には、外しても良く、また、クランプしたまま使用しても良い。その他、上記目的を満たす、例えば粘着テープ等を前記クランプの代わりに使用しても良い。あるいは、密封包装体Pの周縁部を超音波シール等周知の方法により、固着させても良い。
【0016】
本発明による貼着体は、物体または、動物や人体の皮膚に貼着して使用するが、用いる貼着材(粘着加工材等)は、前記密封包装体Pに対し、反応成分Bを担持するシート、あるいは密封する包装体は前記密封包装体Pの開口予定部に近接して配置するが、前記密封包装体Pと接する面と反対の面に、粘着加工等を施しておくことによって、前記物体あるいは皮膚に貼着することができる。
前述のように基材シートの裏面に、粘着加工をして、他物体への貼着する方法が主であるが、逆に、密封包装体の表面に粘着加工をしてもよい、いずれのケースにおいても、粘着加工は、全面あるいは部分加工しても良い。両面粘着テープを別添しておき、使用時に、所定の位置に添付して、皮膚等に粘着してもよい。
また、本発明による貼着体を、傷テープ等により、皮膚へ貼着してもよい。
【0017】
本発明の貼着体は、予め、物体、皮膚等に貼着してから、仕切り機能をはずして2つの成分を混合させて、特別の効能を発揮しても良いし、前記仕切り機能をはずし、効能を発揮させる状態にしてから、皮膚等に貼着しても良い。
【0018】
物体、動物や人間の皮膚等に貼着するためには、本貼着体は、薄型であることが望ましく、その厚さとしては、1 〜15mmである。厚さが1mm 以下では、例えば、流動体の収納量が少なすぎて、反応に支障を来す( 密封包装体の内面に付着してしまう等) のことがあり、また15mm以上の厚さになると、貼着するのに適さなくなる。
本発明の貼着体としては、本発明を構成する構造体として、用途によっては、柔軟性を有することが好ましい場合がある。例えば、皮膚に貼着して使用する際には、体の動きに追随した柔軟性を示すことが好ましい。
【0019】
【作用】
2成分をそれぞれ別のパッケージに収納して、使用する際に、仕切り機能をはずすことにより、プルタブを引っ張るだけで前記2成分が混合され、その混合物による効能を発揮するようになる。
【0020】
【実施例】
図1の形態にしたときに、次のような材質によって、実施した。即ち、
トレーの材質:ポリプロピレンシート(300μm厚さ)
蓋材の材質 :CPP30μm/PET12μm/CPP30μm
プルタブの材質:SiO コートポリエステルフィルムに2液硬化型ウレタン系接着剤を用いて、シーラント層をラミネートした。この際のシーラント層としてはエチレン−α・オレフィン共重合体樹脂、ポリプロピレン樹脂、ポリエチレン樹脂、エチレン・酢酸ビニル共重合体樹脂の混合体をインフレーション法により、30μmの厚さに製膜し、片面にラミネート強度のためのコロナ処理を施した。
トレーを20mmφ、深さ3mm に真空成形し、CPP成形体と予めプルタブがついている蓋材を、液体(水)など入れてヒートシールし密封包装体Pを形成した。。
布等の支持体をベースシートとしたものの上に粉体をバインダーを使用して固定し、前記密封包装体Pとベースシートとを、クランプCにより、周辺で物理的に固定した。
前記プルタブに設けたシーラント層は、ポリプロピレン樹脂面( 蓋材の表面に設けたCPP 層) にヒートシールした場合に、イージーピールによる易開封性がある。
図2に示すように使用時にプルタブを引っ張ると、先ずSR部分において、易開封を示し、ついで蓋材カット部においては、蓋はプルタブに固着したまま除去される。除去される部分の蓋を固着したプルタブをさらに引っ張ると再度易開封性によりSRが剥離し、プルタブを引ききった後に開口部Z−1が形成される。尚、ベースシート4の裏面に、アクリル系の粘着剤による加工を施し、他の物体に貼着できるようにした。
【0021】
【発明の効果】
上下2段に別々に内容物を固定し、使用時に上段の包装体の仕切り機能をはずし、前記包装体の中の成分を下段に流し、反応等あるいは混合物の活性化を行わせる。下段の構造体の下面に粘着加工などをして置けば、例えば医療用途などでは、肌に貼って治療等の目的に供することができる。
従来の2連式の袋のような横並びで間のシール部を剥離する方法と異なり仕切り機能をはずすだけで上下に位置させた二つの成分を反応等させることが容易に出来るので、効能を発揮するまでの時間が短い。用途としては、特に流動体と粉体、固体等の組み合わせの際有効である。
又全体の厚みを薄くすることにより、他の物体あるいは皮膚等への貼着が可能となった。
【図面の簡単な説明】
【図1】本発明の代表的な構成例を示す断面図
【図2】密封包装体の開口方法についての説明図
【図3】密封包装体の別の開封方法についての説明図
【図4】密封包装体をパウチにした場合の説明図
【図5】従来の技術による使用時混合包装体の説明図
【符号の説明】
1,11,21.トレイ
2,12,22. 蓋
3,13,23.プルタブ又は密封包装体Pの一部延長部
4 ベースシート
5 多孔質シート
A 成分A
B 成分B
C クランプ
P 密封包装体
F 外装
K カット又はハーフカット
S シール部
Y,Y−1,Y−2.開口予定部
Z,Z−1,Z−2.開口部

Claims (1)

  1. 厚みが1〜15mmの薄型の貼着体であって、該貼着体は、少なくとも2つの成分が上下方向に層状に設けられた2室以上に収納された包装体で形成されており、各室の間を仕切る仕切りフィルムには、その一部に開口部を設けるためのカットまたはハーフカット部が設けられ、該カットまたはハーフカット部の上にイージーピール性を付与したプルタブ付きテープ体がヒートシールされると共に、該テープ体は、該ヒートシール部の端部で折り返されて該テープ体の端縁部のプルタブが該包装体の外側に突出するように設けられ、該プルタブを外側に引き抜くことにより、該カットまたはハーフカット部が開口して前記の成分が混合し、該混合成分による効能発揮されるようにしたことを特徴とする貼着体。
JP14418395A 1995-05-19 1995-05-19 貼着体 Expired - Fee Related JP3605437B2 (ja)

Priority Applications (1)

Application Number Priority Date Filing Date Title
JP14418395A JP3605437B2 (ja) 1995-05-19 1995-05-19 貼着体

Applications Claiming Priority (1)

Application Number Priority Date Filing Date Title
JP14418395A JP3605437B2 (ja) 1995-05-19 1995-05-19 貼着体

Publications (2)

Publication Number Publication Date
JPH08318975A JPH08318975A (ja) 1996-12-03
JP3605437B2 true JP3605437B2 (ja) 2004-12-22

Family

ID=15356136

Family Applications (1)

Application Number Title Priority Date Filing Date
JP14418395A Expired - Fee Related JP3605437B2 (ja) 1995-05-19 1995-05-19 貼着体

Country Status (1)

Country Link
JP (1) JP3605437B2 (ja)

Families Citing this family (4)

* Cited by examiner, † Cited by third party
Publication number Priority date Publication date Assignee Title
JP4528555B2 (ja) * 2004-03-31 2010-08-18 阿蘇製薬株式会社 救急用絆創膏
JP2006303449A (ja) 2005-04-21 2006-11-02 Samsung Sdi Co Ltd アクティブマトリックス回路基板、この製造方法及びこれを備えたアクティブマトリックスディスプレイ装置
US8778387B2 (en) 2009-09-02 2014-07-15 Hyprotek, Inc. Antimicrobial medical dressings and protecting wounds and catheter sites
US9039967B2 (en) * 2012-02-06 2015-05-26 Hyprotek, Inc. Antiseptic applicators and packaging techniques

Also Published As

Publication number Publication date
JPH08318975A (ja) 1996-12-03

Similar Documents

Publication Publication Date Title
EP0616588B1 (en) Package system for flowable or solid substances
US3910410A (en) Resealable package
JP2598605B2 (ja) 芳香物質の収容容器
NZ248997A (en) Multi-compartment flexible pack; partition strip forms seal between compartments wherein two or more products to be mixed are packaged separately
JPH09323759A (ja) カプセルで密閉されたリムを有する容器開蓋用装置
CZ20012251A3 (cs) Opětovně těsně uzavíratelný plastový obalový kontejner
CN100336494C (zh) 抛弃式药品或化妆品敷料包装
EP0441504A1 (en) Saddle zipper recloseable package
MXPA97001821A (en) Bubbles packing with non-proof desicante
JP3605437B2 (ja) 貼着体
JPH0191869A (ja) 塗布物質用ディスペンサーアプリケーター
JP3853416B2 (ja) レトルトパウチ
JP3654966B2 (ja) ふた材
WO2012137966A1 (ja) 密閉ラベルおよび包装容器
CN116601086B (zh) 储存和分配可流动组合物的装置
JPH10218251A (ja) 分岐した小室を設けた多室パウチ
JP4134705B2 (ja) 多室プラスチックパウチ、該多室プラスチックパウチの充填方法及び多室プラスチックパウチ充填物
JP3668298B2 (ja) 包装容器
JPS6219583Y2 (ja)
JPS6323343Y2 (ja)
JP3678836B2 (ja) 包装容器
CN218022693U (zh) 非涂胶吸塑盒
JPH0232952A (ja) 封緘片付袋
JPH09301446A (ja) レトルトパウチ
JPH10167320A (ja) 破封を容易にしたptp包装体

Legal Events

Date Code Title Description
A977 Report on retrieval

Free format text: JAPANESE INTERMEDIATE CODE: A971007

Effective date: 20040601

A131 Notification of reasons for refusal

Free format text: JAPANESE INTERMEDIATE CODE: A131

Effective date: 20040615

A521 Written amendment

Free format text: JAPANESE INTERMEDIATE CODE: A523

Effective date: 20040804

TRDD Decision of grant or rejection written
A01 Written decision to grant a patent or to grant a registration (utility model)

Free format text: JAPANESE INTERMEDIATE CODE: A01

Effective date: 20040928

A61 First payment of annual fees (during grant procedure)

Free format text: JAPANESE INTERMEDIATE CODE: A61

Effective date: 20041004

R150 Certificate of patent or registration of utility model

Free format text: JAPANESE INTERMEDIATE CODE: R150

FPAY Renewal fee payment (event date is renewal date of database)

Free format text: PAYMENT UNTIL: 20081008

Year of fee payment: 4

FPAY Renewal fee payment (event date is renewal date of database)

Free format text: PAYMENT UNTIL: 20091008

Year of fee payment: 5

FPAY Renewal fee payment (event date is renewal date of database)

Free format text: PAYMENT UNTIL: 20091008

Year of fee payment: 5

FPAY Renewal fee payment (event date is renewal date of database)

Free format text: PAYMENT UNTIL: 20101008

Year of fee payment: 6

FPAY Renewal fee payment (event date is renewal date of database)

Free format text: PAYMENT UNTIL: 20111008

Year of fee payment: 7

FPAY Renewal fee payment (event date is renewal date of database)

Free format text: PAYMENT UNTIL: 20121008

Year of fee payment: 8

FPAY Renewal fee payment (event date is renewal date of database)

Free format text: PAYMENT UNTIL: 20131008

Year of fee payment: 9

LAPS Cancellation because of no payment of annual fees