JP3596397B2 - 乾式洗浄装置 - Google Patents
乾式洗浄装置 Download PDFInfo
- Publication number
- JP3596397B2 JP3596397B2 JP37300999A JP37300999A JP3596397B2 JP 3596397 B2 JP3596397 B2 JP 3596397B2 JP 37300999 A JP37300999 A JP 37300999A JP 37300999 A JP37300999 A JP 37300999A JP 3596397 B2 JP3596397 B2 JP 3596397B2
- Authority
- JP
- Japan
- Prior art keywords
- cleaning
- ultraviolet
- silicon wafer
- dust collecting
- lamp
- Prior art date
- Legal status (The legal status is an assumption and is not a legal conclusion. Google has not performed a legal analysis and makes no representation as to the accuracy of the status listed.)
- Expired - Lifetime
Links
- 238000005108 dry cleaning Methods 0.000 title claims description 16
- 238000004140 cleaning Methods 0.000 claims description 55
- 239000000428 dust Substances 0.000 claims description 42
- 238000007664 blowing Methods 0.000 claims description 10
- CBENFWSGALASAD-UHFFFAOYSA-N Ozone Chemical compound [O-][O+]=O CBENFWSGALASAD-UHFFFAOYSA-N 0.000 claims description 7
- 230000009471 action Effects 0.000 claims description 7
- XUIMIQQOPSSXEZ-UHFFFAOYSA-N Silicon Chemical compound [Si] XUIMIQQOPSSXEZ-UHFFFAOYSA-N 0.000 description 40
- 229910052710 silicon Inorganic materials 0.000 description 40
- 239000010703 silicon Substances 0.000 description 40
- 239000000356 contaminant Substances 0.000 description 39
- 230000004888 barrier function Effects 0.000 description 14
- DOIRQSBPFJWKBE-UHFFFAOYSA-N dibutyl phthalate Chemical compound CCCCOC(=O)C1=CC=CC=C1C(=O)OCCCC DOIRQSBPFJWKBE-UHFFFAOYSA-N 0.000 description 14
- 230000000694 effects Effects 0.000 description 11
- 239000002245 particle Substances 0.000 description 11
- 230000003068 static effect Effects 0.000 description 11
- 230000005611 electricity Effects 0.000 description 10
- 238000000034 method Methods 0.000 description 10
- 239000011324 bead Substances 0.000 description 9
- 238000002474 experimental method Methods 0.000 description 9
- 239000007788 liquid Substances 0.000 description 9
- 230000005855 radiation Effects 0.000 description 8
- 239000000758 substrate Substances 0.000 description 8
- BJQHLKABXJIVAM-UHFFFAOYSA-N bis(2-ethylhexyl) phthalate Chemical compound CCCCC(CC)COC(=O)C1=CC=CC=C1C(=O)OCC(CC)CCCC BJQHLKABXJIVAM-UHFFFAOYSA-N 0.000 description 7
- XEEYBQQBJWHFJM-UHFFFAOYSA-N Iron Chemical compound [Fe] XEEYBQQBJWHFJM-UHFFFAOYSA-N 0.000 description 6
- 238000004519 manufacturing process Methods 0.000 description 6
- 230000008569 process Effects 0.000 description 6
- 230000032258 transport Effects 0.000 description 6
- 239000004065 semiconductor Substances 0.000 description 5
- 238000005406 washing Methods 0.000 description 5
- 239000007789 gas Substances 0.000 description 4
- 239000004973 liquid crystal related substance Substances 0.000 description 4
- 239000000126 substance Substances 0.000 description 4
- RYGMFSIKBFXOCR-UHFFFAOYSA-N Copper Chemical compound [Cu] RYGMFSIKBFXOCR-UHFFFAOYSA-N 0.000 description 3
- 229910052802 copper Inorganic materials 0.000 description 3
- 239000010949 copper Substances 0.000 description 3
- 229910052742 iron Inorganic materials 0.000 description 3
- QSHDDOUJBYECFT-UHFFFAOYSA-N mercury Chemical compound [Hg] QSHDDOUJBYECFT-UHFFFAOYSA-N 0.000 description 3
- 229910052753 mercury Inorganic materials 0.000 description 3
- 229920002120 photoresistant polymer Polymers 0.000 description 3
- 229920005989 resin Polymers 0.000 description 3
- 239000011347 resin Substances 0.000 description 3
- 229910021642 ultra pure water Inorganic materials 0.000 description 3
- 239000012498 ultrapure water Substances 0.000 description 3
- QGZKDVFQNNGYKY-UHFFFAOYSA-N Ammonia Chemical group N QGZKDVFQNNGYKY-UHFFFAOYSA-N 0.000 description 2
- XKRFYHLGVUSROY-UHFFFAOYSA-N Argon Chemical compound [Ar] XKRFYHLGVUSROY-UHFFFAOYSA-N 0.000 description 2
- IJGRMHOSHXDMSA-UHFFFAOYSA-N Atomic nitrogen Chemical compound N#N IJGRMHOSHXDMSA-UHFFFAOYSA-N 0.000 description 2
- KRHYYFGTRYWZRS-UHFFFAOYSA-N Fluorane Chemical compound F KRHYYFGTRYWZRS-UHFFFAOYSA-N 0.000 description 2
- VEXZGXHMUGYJMC-UHFFFAOYSA-N Hydrochloric acid Chemical compound Cl VEXZGXHMUGYJMC-UHFFFAOYSA-N 0.000 description 2
- QAOWNCQODCNURD-UHFFFAOYSA-N Sulfuric acid Chemical compound OS(O)(=O)=O QAOWNCQODCNURD-UHFFFAOYSA-N 0.000 description 2
- 239000011261 inert gas Substances 0.000 description 2
- 239000000463 material Substances 0.000 description 2
- VYPSYNLAJGMNEJ-UHFFFAOYSA-N silicon dioxide Inorganic materials O=[Si]=O VYPSYNLAJGMNEJ-UHFFFAOYSA-N 0.000 description 2
- 239000004803 Di-2ethylhexylphthalate Substances 0.000 description 1
- 239000003463 adsorbent Substances 0.000 description 1
- 229910021529 ammonia Inorganic materials 0.000 description 1
- 229910052786 argon Inorganic materials 0.000 description 1
- 230000000593 degrading effect Effects 0.000 description 1
- 238000007865 diluting Methods 0.000 description 1
- 238000001035 drying Methods 0.000 description 1
- 230000008030 elimination Effects 0.000 description 1
- 238000003379 elimination reaction Methods 0.000 description 1
- 230000007613 environmental effect Effects 0.000 description 1
- 238000003912 environmental pollution Methods 0.000 description 1
- 238000011156 evaluation Methods 0.000 description 1
- 239000010419 fine particle Substances 0.000 description 1
- 238000004817 gas chromatography Methods 0.000 description 1
- 238000002290 gas chromatography-mass spectrometry Methods 0.000 description 1
- 239000011521 glass Substances 0.000 description 1
- 238000010438 heat treatment Methods 0.000 description 1
- QOSATHPSBFQAML-UHFFFAOYSA-N hydrogen peroxide;hydrate Chemical compound O.OO QOSATHPSBFQAML-UHFFFAOYSA-N 0.000 description 1
- 230000006872 improvement Effects 0.000 description 1
- 229910010272 inorganic material Inorganic materials 0.000 description 1
- 239000011147 inorganic material Substances 0.000 description 1
- 231100001240 inorganic pollutant Toxicity 0.000 description 1
- 239000000203 mixture Substances 0.000 description 1
- 229910052754 neon Inorganic materials 0.000 description 1
- GKAOGPIIYCISHV-UHFFFAOYSA-N neon atom Chemical compound [Ne] GKAOGPIIYCISHV-UHFFFAOYSA-N 0.000 description 1
- 229910052757 nitrogen Inorganic materials 0.000 description 1
- 239000002957 persistent organic pollutant Substances 0.000 description 1
- 239000010453 quartz Substances 0.000 description 1
- 238000005507 spraying Methods 0.000 description 1
- 229910001220 stainless steel Inorganic materials 0.000 description 1
- 239000010935 stainless steel Substances 0.000 description 1
- 238000010407 vacuum cleaning Methods 0.000 description 1
- 238000004065 wastewater treatment Methods 0.000 description 1
- XLYOFNOQVPJJNP-UHFFFAOYSA-N water Substances O XLYOFNOQVPJJNP-UHFFFAOYSA-N 0.000 description 1
- 229910052724 xenon Inorganic materials 0.000 description 1
- FHNFHKCVQCLJFQ-UHFFFAOYSA-N xenon atom Chemical compound [Xe] FHNFHKCVQCLJFQ-UHFFFAOYSA-N 0.000 description 1
Images
Landscapes
- Cleaning In General (AREA)
- Apparatus For Disinfection Or Sterilisation (AREA)
- Cleaning Or Drying Semiconductors (AREA)
Description
【発明の属する技術分野】
本発明は洗浄装置に関し、特に被処理物の表面を洗浄する紫外線洗浄手段を有する乾式洗浄装置に関するものである。
【0002】
【従来の技術】
半導体、液晶や電子部品の製造工程において、基板表面にさまざまな物質を塗布、付着また雰囲気中で熱処理を行う工程があるが工程移動中に無機物や有機物などの汚染物質が基板表面上に付着する。
【0003】
その汚染物質が基板上に存在すると最終的にはデバイス性能を著しく損なったり、配線の断線、ショートが発生したりし、歩留りの低下を引き起こす大きな原因となっている。そのため半導体、液晶や電子部品の製造工程においては、全工程にわたり基板表面上をいかに清浄に保つかが歩留り向上に直結しており、基板表面上を洗浄することの重要性が一段と高まっている。
【0004】
例えば、半導体製造工程で問題となる銅や鉄などに代表される粒子状の無機物汚染物質やフォトレジスト等の樹脂などに代表される有機物汚染物質を除去するために、洗浄液として過酸化水素水をベースにしたRCA洗浄方式の湿式洗浄装置が多数使用されている。このRCA洗浄プロセスは複数の洗浄液を使用する洗浄プロセスに対応し、洗浄液の混入を避けるために洗浄装置は複数の洗浄槽を有し、また各洗浄液処理槽の間に超純水リンス槽も配置されているマルチバス方式が主流である。ここで用いられる洗浄液はアンモニア、硫酸、塩酸、フッ酸などである。近年、洗浄液で洗浄後に超純水で使用した洗浄液を希釈して洗い流し、更に超純水で完全に水洗した後、次の薬液を投入するというひとつの処理槽で対応するワンバス方式の湿式洗浄装置も使用されてきている。また、より一層の洗浄能力向上のため、残留微粒子除去のために洗浄液とブラシを組み合わたスクラブ洗浄装置や、洗浄液と超音波を組み合わせたメガソニック洗浄装置などをRCA洗浄方式の湿式洗浄装置と組み合わせた複合湿式洗浄装置が使用されている。
【0005】
粒子状の無機物汚染物質を除去する他の方法の一つに、超音波高圧エアを基板表面上に吹き付け、基板表面上から粒子状の無機物汚染物質を剥離し、真空吸引装置を用いて吸引除去する超音波ドライクリーナーなども使用されている。
【0006】
有機物汚染物質を除去する方法として、波長200nm以下の真空紫外線を照射することにより、真空紫外線およびこれにより生成されるオゾンの作用によって被処理体を処理する紫外線洗浄装置が使用されている。このような紫外線洗浄装置に使用されているランプとしては、従来、水銀の共鳴線である波長185nmの真空紫外線を放出する低圧水銀ランプが使用されていたが、最近においては、一部が誘電体により構成された放電容器に、エキシマ分子を形成する放電用ガスを充填し、誘電体バリア放電(別名オゾナイザ放電あるいは無声放電。電気学会発行改定新版「放電ハンドブック」平成1年6月再販7刷発行第263ページ参照)によってエキシマ分子を形成せしめ、該エキシマ分子から放射される光を利用するランプ、すなわち誘電体バリア放電ランプが使用されている。
【0007】
しかしながら、上記の洗浄装置においては以下のような問題があった。
(1).湿式洗浄装置は大型であるとともに、純水装置、排水処理装置、乾燥装置等の付帯設備が必要でなり、装置全体の設備導入費用が高価になるとともにランニングコストも高価である。湿式洗浄装置で使用される洗浄液は気化しやすく、製造工程内の環境汚染源となっている。近年の地球環境保全に対する配慮により、半導体、液晶の製造工程で使用されている洗浄液などの使用量削減や全廃が課題となっている。
(2).ドライクリーナーは、有機物汚染物質を除去できないことや高圧エアを基板表面上に吹き付けるために発生する静電気により、逆に粒子状の無機物汚染物質を再付着が発生することもあり、静電気除去を行うためにイオナイザー等の付帯設備を設ける必要がある。
(3).紫外線洗浄装置は有機物汚染物質を除去に対しては優れているが無機物汚染物質の除去にはほとんど効果がない。
【0008】
そこで、半導体及び液晶製造会社よりコンパクトでランニングコストが安く、かつ、洗浄液の使用しないで粒子状の無機物汚染物質や有機物汚染物質を共に効率良く除去できる乾式洗浄装置が強く要望されている。
【0009】
【発明が解決しようとする課題】
そこで、本発明が解決しようとする課題は、銅や鉄などに代表される粒子状の無機物汚染物質やフォトレジスト等の樹脂などに代表される有機物汚染物質を共に効率良く除去できる乾式洗浄装置を提供することにある。
【0010】
【課題を解決するための手段】
上記課題を解決するために、高速エアを吹き付けて被処理物の表面から粉塵を除去する集塵手段と、この集塵手段による処理と同時に波長200nm以下にピークを有する紫外光を放射する紫外線ランプによって放射された真空紫外線、およびこれにより生成されるオゾンの作用によって被処理物表面を洗浄する紫外線洗浄手段を有することを特徴とする。
【0011】
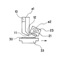
図1に本発明にかかわる乾式洗浄装置を示す。
本乾式洗浄装置Aは大きく分けて3つの部分より構成されており、被照射物表面に付着する粒子状の無機物汚染物質を良好に被照射物表面から剥離させ、かつ真空吸引によって除去する部分いわゆる集塵装置a1、真空紫外線およびこれにより生成されるオゾンの作用によって被処理物表面を洗浄する紫外線照射装置a2、搬送装置a3から成る。
【0012】
集塵装置a1は、高速エアを発生させる高圧ヘッド10と高圧ヘッド10より発生した高速エアを被照射物に効率良く吹き付けるためのノズル11と、高速エアにより被照射物表面から剥離させ、粒子状の無機物汚染物質を真空吸引を行うバキュームヘッド12から構成されている。また上記方法は集塵装置a1は、被照射物と非接触であるために接触式のクリーナーに比べてスクラッチの発生がない。
【0013】
紫外線照射装置a2は、ステンレス製の容器20の内部に、172nmにピーク波長を有する誘電体バリア放電ランプ21が複数配置されており、容器20の前方には真空紫外光を透過するための合成石英ガラスよりなる窓部材22が配置されている。この容器20は密閉されており、誘電体バリア放電ランプ21は大気と隔離され、容器20内には誘電体バリア放電ランプ21から放射される光に対して透過性であり真空紫外光を吸収しない不活性体、例えば窒素、アルゴン、ネオン等のガスが充満されている。反射鏡23は必要によって設けられるものであり、誘電体バリア放電ランプ21から放射される真空紫外光を効率良く窓部材22の方向に反射させるためのものである。
誘電体バリア放電ランプ21は中空円筒状の放電容器内にエキシマ発光用ガスを充填し、誘電体バリア放電を発生させることにより、エキシマが生成されてエキシマ光が放出されるものである。誘電体バリア放電ランプ21の放電容器を構成する材料として、真空紫外線に対して透過性を有するもので実施例では合成石英ガラスを用いた。
本実施例で使用した誘電体バリア放電ランプ21は有効長250mm、ランプ電力50Wものであり、真空紫外光を発生させるためエキシマ発光用ガスとしてキセノンガスを用いている。また、紫外線照射装置a2の内部には、誘電体バリア放電ランプ21が4本配置されている。誘電体バリア放電ランプについては、例えば、特許第2775697号、特許第2836056号、特許第2775698号、特許第2854250号、特許第2775699号等に開示されている。
なお本実施例において、紫外線ランプとして誘電体バリア放電ランプを用いたが、低圧水銀灯、ホロカソードランプ、マイクロ波放電ランプ、高周波放電ランプなど200nm以下に放射光を有する紫外線ランプであれば、どのようなランプでも構わない。
【0014】
搬送装置a3は、シリコンウエハ30が収納されているカセットボックス31からロボットアーム32を用いてシリコンウエハ30を試料ステージ33に搬送し、その後試料ステージ33ごと集塵装置a1や紫外線照射装置a2に移動するいわゆるシャトル搬送を使用した。本実施例ではシャトル搬送を用いたが被照射物を集塵装置a1や紫外線照射装置a2の直下を搬送ローラーを用いて搬送を行うこともできる。
【0015】
上記仕様の乾式洗浄装置Aを用いて洗浄実験を行った。洗浄実験に用いたサンプルは次のような手順で作製した。まず既存のシリコンウエハに対してRCA洗浄を実施し、粒子状の無機物汚染物質を除去し、さらにシリコンウエハを550℃で加熱し有機物汚染物質の除去を行った。その後クリーンルーム内にシリコンウエハを20日放置し、有機物汚染物質をシリコンウエハ上に強制的に堆積させた。なおシリコンウエハ上に堆積した有機物汚染物質を特定するために、同条件にて放置した分析用シリコンウエハを不活性気流中にて400℃で加熱を行い、シリコンウエハ表面より熱脱離した有機物を吸着剤に捕集濃縮したのち、ガスクロマトグラフィーで測定する、いわゆるウエーハ加熱脱離―ガスクロマトグラフィーー質量分析法(WTD−GC−MS)で組成分析を行った。検出された有機物汚染物質は、フタル酸ジーn−ブチル(DBP)やフタル酸ジー2−エチルヘキシル(DOP)などであった。これらの有機物汚染物質はデバイスの性能を著しく低下させる原因のものである。
粒子状の無機物汚染物質として粒子径が10.0、5.0、3.0、1.0、0.5μmの5種類のシリコンビーズを有機物汚染物質が堆積しているシリコンウエハ上に無策に散布し、洗浄実験サンプルとした。
【0016】
実験手順として、予めパーティクルカウンタを用いてシリコンウエハ30の表面上に存在するシリコンビーズの数量を測定したシリコンウエハ30をカセットボックス31に収納しておく。乾式洗浄装置Aを稼動させ、ロボットアーム32にてシリコンウエハ30を試料ステージ33に設置し、試料ステージ33ごと集塵装置a1に移動させる。なお、シリコンウエハ30の表面と集塵装置a1のバキュームヘッド13の空間距離d1は2mmである。試料ステージ33に配置されたシリコンウエハ30の端部が集塵装置a1の下側を通過しはじめた瞬間に、集塵装置a1の高圧ヘッド10より発生させた高速エアをノズル11からシリコンウエハ30の表面上に吹き付けると同時に高速エアによりシリコンウエハ30の表面から剥離させたシリコンビーズをバキュームヘッド12から真空吸引を行う。
集塵装置a1で洗浄されたシリコンウエハ30を紫外線照射装置a2に移動させ、紫外線照射装置a2の窓部材22の直下で試料ステージ33を静止させ、紫外線照射装置a2より放射される真空紫外線およびこれにより生成されるオゾンの作用によってシリコンウエハ30の表面に堆積している有機物汚染物質の除去を行う。今回の実施例では紫外線照射装置a2の窓部材22とシリコンウエハ30までの距離d2は2mmで、真空紫外線の照射時間は60秒とした。
集塵装置a1と紫外線照射装置a2にて洗浄が終了したシリコンウエハ30をカセットボックス31に格納する。格納されたシリコンウエハ30を取り出し、パーティクルカウンタを用いてシリコンビーズの残存数の測定とWTD−GC−MSによる有機物汚染物質の残存測定を行い、洗浄前後におけるシリコンビーズの除去率と有機物汚染物質の除去度合いで評価を行った。
なお従来技術と比較を行うために、集塵装置a1と紫外線照射装置a2を単独で稼動させた場合の洗浄効果も合せて確認した。
【0017】
まず集塵装置a1を単独で稼動させ洗浄実験を行った。その結果、粒子径が3μm以上のシリコンビーズの除去率は99%以上で、粒子径が0.5及び1.0μmでは除去率が97%であった。しかしながら、WTD−GC−MSで有機物汚染物質の除去について評価を行ったところ、DBPやDOPなどの有機物汚染物質は除去されていなかった。なお、集塵装置a1を単独で稼動させて洗浄実験を行ったとき、高圧エアをシリコンウエハ30に吹き付けたことにより静電気が発生し、シリコンウエハ30の帯電が生じた。この帯電は、集塵処理自身においては、特に目立って無機物汚染物質を付着させないが、その後被処理物を放置しておくと容易に無機物汚染物質を付着させてしまう。
【0018】
次に紫外線照射装置a2を単独で稼動させ洗浄実験を行った。その結果、シリコンビーズの除去効果はほとんで確認できなかったが、DBPやDOPなどの有機物汚染物質は完全に除去された。また、紫外線照射装置a2を単独で稼動させ洗浄実験を行った場合、シリコンウエハ30の帯電が生じなかった。
【0019】
本願発明の集塵装置a1と紫外線照射装置a2を組み合わせた乾式洗浄装置Aで洗浄実験を行った。その結果、粒子径が3μm以上のシリコンビーズの除去率は99%以上で、粒子径が0.5及び1.0μmでは除去率が97%で、DBPやDOPなどの有機物汚染物質も完全に除去された。さらに集塵装置a1を単独で稼動させ洗浄を行った時に発生したシリコンウエハ30の帯電も生じなかった。シリコンウエハ30に帯電が生じなかった理由は、真空紫外線の照射による静電気の除去いわゆる除電が行われたからである。このように帯電が生じないため、当該処理の後、被処理物を放置しておいてとしても無機物汚染物質は当該被処理物質に付着することはない。
なお本実施例では集塵装置a1で洗浄を行ったのちに紫外線照射装置a2で洗浄を行ったが、集塵装置a1と紫外線照射装置a2の順番を入れ替えても、シリコンビーズとDBPやDOPなどの有機物汚染物質の除去に関しては同様の結果となった。しかしながら、紫外線照射装置a2を集塵装置a1の先に配置したため、真空紫外線の照射による静電気の除去効果が少なく、シリコンウエハ30が若干帯電が生じた。
つまり、集塵装置により処理を先に行い、その直後において紫外線照射処理を行うことで両者を個別に行った場合に得られる効果に加えて、集塵処理により発生する被処理物上の帯電を紫外線照射処理で良好に消すことが可能になって新規な効果を有することになる。
【0020】
図2のような集塵装置a1と紫外線照射装置a2を同時に稼動させられる乾式洗浄装置Bの場合、図1の乾式洗浄装置Aよりも一層の洗浄効果が得られる。その効果とは、粒子径が0.5及び1.0μmの除去率が飛躍的に向上し除去率99%となった。なお、DBPやDOPなどの有機物汚染物質の除去とシリコンウエハ30の帯電に関しては図1の乾式洗浄装置Aと同様であった。なお、粒子径が0.5及び1.0μmの除去率が99%に向上した要因は、集塵装置a1より高圧エアをシリコンウエハ30に吹き付けると同時に200nm以下に放射光を有する紫外線ランプを点灯させたことにより、高圧エアの吹き付けることにより発生する静電気が除去され、その結果として粒子径の小さなシリコンビーズの再付着が防止されたためである。また、集塵装置a1を稼動させたときに、シリコンウエハ30の裏面から200nm以下に放射光を有する紫外線ランプを点灯させても静電気の除去ができた。
【0021】
図1や図2に示される本実施例では、200nm以下に放射光を有する紫外線ランプを1ヵ所のみに適用したが、複数配置することにより静電気の除去及び有機物汚染物質の除去効果が飛躍的に向上する。従って、本願発明の乾式洗浄装置は、高速エアを吹き付けて被処理物表面から粉塵を除去する集塵手段と、この集塵手段による処理の直前や直後、あるいは同時に200nm以下に放射光を有する紫外線ランプによって放射された真空紫外線およびこれにより生成されるオゾンの作用によって被処理物表面を洗浄する紫外線洗浄手段を有することで、コンパクトでランニングコストが安く、かつ、洗浄液の使用しないで粒子状の無機物汚染物質や有機物汚染物質を共に効率良く除去できる。さらに、高速エアを吹き付けて被処理物表面から粉塵を除去する集塵手段によって発生する静電気の除去手段として、200nm以下に放射光を有する紫外線ランプを用いることにより、静電気を除去することができる。
【0022】
【発明の効果】
高速エアを吹き付けて被処理物表面から粉塵を除去する集塵手段と、この集塵手段による処理の直前や直後、あるいは同時に200nm以下に放射光を有する紫外線ランプによって放射された真空紫外線およびこれにより生成されるオゾンの作用によって被処理物表面を洗浄する紫外線洗浄手段を有することによって、銅や鉄などに代表される粒子状の無機物汚染物質やフォトレジスト等の樹脂などに代表される有機物汚染物質を共に効率良く除去することができる。
【0023】
高速エアを吹き付けて被処理物表面から粉塵を除去する集塵手段によって発生する静電気の除去手段として、200nm以下に放射光を有する紫外線ランプを有することにより、静電気を除去することができる。
【図面の簡単な説明】
【図1】本発明の乾式洗浄装置を示す。
【図2】本発明の乾式洗浄装置の他の発明を示す。
【符号の説明】
a1 集塵装置
a2 紫外線照射装置
a3 搬送装置
21 誘電体バリア放電ランプ
Claims (1)
- 高速エアを吹き付けて被処理物の表面から粉塵を除去する集塵手段と、この集塵手段による処理と同時に波長200nm以下にピークを有する紫外光を放射する紫外線ランプによって放射された真空紫外線、およびこれにより生成されるオゾンの作用によって被処理物表面を洗浄する紫外線洗浄手段を有することを特徴とした乾式洗浄装置。
Priority Applications (1)
| Application Number | Priority Date | Filing Date | Title |
|---|---|---|---|
| JP37300999A JP3596397B2 (ja) | 1999-12-28 | 1999-12-28 | 乾式洗浄装置 |
Applications Claiming Priority (1)
| Application Number | Priority Date | Filing Date | Title |
|---|---|---|---|
| JP37300999A JP3596397B2 (ja) | 1999-12-28 | 1999-12-28 | 乾式洗浄装置 |
Publications (2)
| Publication Number | Publication Date |
|---|---|
| JP2001179198A JP2001179198A (ja) | 2001-07-03 |
| JP3596397B2 true JP3596397B2 (ja) | 2004-12-02 |
Family
ID=18501422
Family Applications (1)
| Application Number | Title | Priority Date | Filing Date |
|---|---|---|---|
| JP37300999A Expired - Lifetime JP3596397B2 (ja) | 1999-12-28 | 1999-12-28 | 乾式洗浄装置 |
Country Status (1)
| Country | Link |
|---|---|
| JP (1) | JP3596397B2 (ja) |
Families Citing this family (5)
| Publication number | Priority date | Publication date | Assignee | Title |
|---|---|---|---|---|
| GB2486628B (en) | 2010-08-02 | 2016-05-25 | Kratos Analytical Ltd | Methods and apparatuses for cleaning at least one surface of an ion source |
| KR102014991B1 (ko) * | 2012-09-07 | 2019-08-27 | 삼성전자주식회사 | 유기 물질 제거 방법 및 유기 물질 제거 장치 |
| JP6655418B2 (ja) * | 2016-02-17 | 2020-02-26 | 株式会社Screenホールディングス | 基板処理装置および基板処理方法 |
| JP6810631B2 (ja) * | 2017-02-14 | 2021-01-06 | 株式会社Screenホールディングス | 基板処理装置および基板処理方法 |
| IT202100016046A1 (it) * | 2021-06-18 | 2022-12-18 | Simad S R L | Metodo e dispositivo per la disinfezione ad alto livello e la sterilizzazione di superfici |
-
1999
- 1999-12-28 JP JP37300999A patent/JP3596397B2/ja not_active Expired - Lifetime
Also Published As
| Publication number | Publication date |
|---|---|
| JP2001179198A (ja) | 2001-07-03 |
Similar Documents
| Publication | Publication Date | Title |
|---|---|---|
| US8206510B2 (en) | Method and apparatus for an in-situ ultraviolet cleaning tool | |
| TW466558B (en) | Method of removing contamination adhered to surfaces and apparatus used therefor | |
| US20090258159A1 (en) | Novel treatment for mask surface chemical reduction | |
| WO2012058548A1 (en) | Integrated substrate cleaning system and method | |
| CN1619780A (zh) | 处理装置 | |
| WO2012148827A2 (en) | Pre and post cleaning of mask, wafer, optical surfaces for prevention of contamination prior to and after inspection | |
| JP3596397B2 (ja) | 乾式洗浄装置 | |
| US20010017142A1 (en) | Method of washing substrate with UV radiation and ultrasonic cleaning | |
| JPH0722530A (ja) | 静電気除去方法及びその装置 | |
| JP3327492B2 (ja) | 基体表面からの気相ゴミ除去装置及び除去方法並びにプロセス装置及びプロセスライン | |
| JP6810631B2 (ja) | 基板処理装置および基板処理方法 | |
| TW469479B (en) | Method of wet etching and apparatus thereof | |
| US20060180173A1 (en) | System and method for removal of materials from an article | |
| JP4033757B2 (ja) | 基板処理装置 | |
| US20080302400A1 (en) | System and Method for Removal of Materials from an Article | |
| JP4683314B2 (ja) | 半導体用シリコン基板の洗浄方法 | |
| JP3457059B2 (ja) | 容器の洗浄方法及び洗浄装置 | |
| JPH05283346A (ja) | 半導体製造装置 | |
| JP2009117597A (ja) | 基板処理装置および基板処理方法 | |
| JP2579346Y2 (ja) | レジスト膜のアッシング装置 | |
| JP2002233844A (ja) | 基板処理方法及び基板処理装置 | |
| JP2000216127A (ja) | 紫外線照射による基板処理装置及び基板処理方法 | |
| JP3526204B2 (ja) | 紫外線洗浄装置 | |
| JP2023163746A (ja) | 紫外線照射装置および紫外線照射方法 | |
| JP3214154B2 (ja) | 誘電体バリヤ放電ランプを使用した洗浄方法 |
Legal Events
| Date | Code | Title | Description |
|---|---|---|---|
| A977 | Report on retrieval |
Free format text: JAPANESE INTERMEDIATE CODE: A971007 Effective date: 20040401 |
|
| A131 | Notification of reasons for refusal |
Free format text: JAPANESE INTERMEDIATE CODE: A131 Effective date: 20040427 |
|
| A521 | Written amendment |
Free format text: JAPANESE INTERMEDIATE CODE: A523 Effective date: 20040628 |
|
| TRDD | Decision of grant or rejection written | ||
| A01 | Written decision to grant a patent or to grant a registration (utility model) |
Free format text: JAPANESE INTERMEDIATE CODE: A01 Effective date: 20040817 |
|
| A61 | First payment of annual fees (during grant procedure) |
Free format text: JAPANESE INTERMEDIATE CODE: A61 Effective date: 20040830 |
|
| R150 | Certificate of patent or registration of utility model |
Ref document number: 3596397 Country of ref document: JP Free format text: JAPANESE INTERMEDIATE CODE: R150 Free format text: JAPANESE INTERMEDIATE CODE: R150 |
|
| FPAY | Renewal fee payment (event date is renewal date of database) |
Free format text: PAYMENT UNTIL: 20080917 Year of fee payment: 4 |
|
| FPAY | Renewal fee payment (event date is renewal date of database) |
Free format text: PAYMENT UNTIL: 20090917 Year of fee payment: 5 |
|
| FPAY | Renewal fee payment (event date is renewal date of database) |
Free format text: PAYMENT UNTIL: 20100917 Year of fee payment: 6 |
|
| FPAY | Renewal fee payment (event date is renewal date of database) |
Free format text: PAYMENT UNTIL: 20110917 Year of fee payment: 7 |
|
| FPAY | Renewal fee payment (event date is renewal date of database) |
Free format text: PAYMENT UNTIL: 20120917 Year of fee payment: 8 |
|
| FPAY | Renewal fee payment (event date is renewal date of database) |
Free format text: PAYMENT UNTIL: 20130917 Year of fee payment: 9 |
|
| FPAY | Renewal fee payment (event date is renewal date of database) |
Free format text: PAYMENT UNTIL: 20130917 Year of fee payment: 9 |
|
| FPAY | Renewal fee payment (event date is renewal date of database) |
Free format text: PAYMENT UNTIL: 20140917 Year of fee payment: 10 |
|
| R250 | Receipt of annual fees |
Free format text: JAPANESE INTERMEDIATE CODE: R250 |
|
| R250 | Receipt of annual fees |
Free format text: JAPANESE INTERMEDIATE CODE: R250 |
|
| R250 | Receipt of annual fees |
Free format text: JAPANESE INTERMEDIATE CODE: R250 |
|
| R250 | Receipt of annual fees |
Free format text: JAPANESE INTERMEDIATE CODE: R250 |
|
| R250 | Receipt of annual fees |
Free format text: JAPANESE INTERMEDIATE CODE: R250 |
|
| EXPY | Cancellation because of completion of term |