JP3548552B2 - 充電器および充電方法 - Google Patents

充電器および充電方法 Download PDF

Info

Publication number
JP3548552B2
JP3548552B2 JP2001276255A JP2001276255A JP3548552B2 JP 3548552 B2 JP3548552 B2 JP 3548552B2 JP 2001276255 A JP2001276255 A JP 2001276255A JP 2001276255 A JP2001276255 A JP 2001276255A JP 3548552 B2 JP3548552 B2 JP 3548552B2
Authority
JP
Japan
Prior art keywords
voltage
charging
battery
terminal
detecting
Prior art date
Legal status (The legal status is an assumption and is not a legal conclusion. Google has not performed a legal analysis and makes no representation as to the accuracy of the status listed.)
Expired - Fee Related
Application number
JP2001276255A
Other languages
English (en)
Other versions
JP2002165381A (ja
Inventor
利征 原
由隆 清水
誠 日野原
Current Assignee (The listed assignees may be inaccurate. Google has not performed a legal analysis and makes no representation or warranty as to the accuracy of the list.)
Canon Inc
Original Assignee
Canon Inc
Priority date (The priority date is an assumption and is not a legal conclusion. Google has not performed a legal analysis and makes no representation as to the accuracy of the date listed.)
Filing date
Publication date
Application filed by Canon Inc filed Critical Canon Inc
Priority to JP2001276255A priority Critical patent/JP3548552B2/ja
Publication of JP2002165381A publication Critical patent/JP2002165381A/ja
Application granted granted Critical
Publication of JP3548552B2 publication Critical patent/JP3548552B2/ja
Anticipated expiration legal-status Critical
Expired - Fee Related legal-status Critical Current

Links

Images

Classifications

    • YGENERAL TAGGING OF NEW TECHNOLOGICAL DEVELOPMENTS; GENERAL TAGGING OF CROSS-SECTIONAL TECHNOLOGIES SPANNING OVER SEVERAL SECTIONS OF THE IPC; TECHNICAL SUBJECTS COVERED BY FORMER USPC CROSS-REFERENCE ART COLLECTIONS [XRACs] AND DIGESTS
    • Y02TECHNOLOGIES OR APPLICATIONS FOR MITIGATION OR ADAPTATION AGAINST CLIMATE CHANGE
    • Y02EREDUCTION OF GREENHOUSE GAS [GHG] EMISSIONS, RELATED TO ENERGY GENERATION, TRANSMISSION OR DISTRIBUTION
    • Y02E60/00Enabling technologies; Technologies with a potential or indirect contribution to GHG emissions mitigation
    • Y02E60/10Energy storage using batteries

Landscapes

  • Tests Of Electric Status Of Batteries (AREA)
  • Charge And Discharge Circuits For Batteries Or The Like (AREA)
  • Secondary Cells (AREA)

Description

【0001】
【発明の属する技術分野】
本発明は二次電池の充電を制御する充電器および充電方法に関する。
【0002】
【従来の技術】
従来、ニッカド電池やニッケル水素電池などの二次電池の充電を制御する充電器として、満充電時における電池の温度上昇率から充電完了を検出するいわゆるΔT検出方式のものと、満充電時における電池の電圧降下から充電完了を検出するいわゆるΔV検出方式のものが知られている。
【0003】
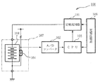
例えば、図27に示すようにΔT検出方式の充電器100は定電圧電源106、定電流回路101、CPU105およびA/Dコンバータ102を有し、接続された電池パック107に定電流回路101から一定の充電電流を供給する。電池パック107は数本の電池103とサーミスタ104を組み合わせて一体化されたものであり、電池103の外装表面に取り付けられたサーミスタ104によって電池103の温度が検出される。検出された電池温度はA/Dコンバータ102によってCPU105が取り扱えるデータに変換される。CPU105は電池温度が1℃/分以上の温度上昇率を示したときに満充電であるとして充電電流の供給を停止する。
【0004】
つぎに、図28〜図30にしたがってΔV検出方式の充電器300を説明する。携帯型の充電器300は本体300a、家庭用のACコンセントに差し込むACプラグ301、充電中に点灯するLED311およびバッテリーに接続されるDCプラグ307を有する。本体300a内には電源回路330、スイッチング回路340および制御回路350が設けられている。電源回路330にはACコンセントの商用電圧から2次電圧を出力するトランス402、トランス402から出力される交流を直流に変換するダイオードブリッジ403aを備えた平滑化回路403、VCC=5Vの電源電圧を供給する3端子レギュレータ409および充電電流を供給する定電流回路404が設けれている。この定電流回路404は4Vから8Vのバッテリー電圧範囲において800mAの電流を供給する。スイッチング回路340には充電電流をスイッチングするトランジスタ405、バッテリーからの逆流を防止するダイオード406、トランジスタ405をドライブするトランジスタ408が設けられている。制御回路350はワンチップマイコン410を中心にアンプ414、リセットIC413、LED411、トランジスタ412などから構成されており、ワンチップマイコン410はマイクロプロセッサの他に、周知のROM、RAM、タイマー、割り込みコントローラ、ADコンバータ、I/Oポート等を内蔵する。アンプ414はバッテリー電圧をレベル変換してワンチップマイコン410に内蔵されたADコンバータに出力する。トランジスタ412はLED411をドライブする。リセットIC413はハードウェアリセットに使用され、4.5Vを越えるとワンチップマイコン410のリセットを解除する。
【0005】
このような構成において、ACコンセントにACプラグ302が差し込まれるとトランス402に商用電圧が供給される。平滑化回路403はトランス402の二次電圧をダイオードブリッジ403aによって全波整流しコンデンサによって平滑化することで直流電圧に変換し、この直流電圧を定電流回路404および3端子レギュレータ409に供給する。3端子レギュレータ409から供給される電源電圧VCCが4.5Vを越えるとリセットIC413はハードウェアリセットを解除し、ワンチップマイコン410が動作状態になる。ワンチップマイコン410はトランジスタ408を駆動し、トランジスタ405をオンにする。ここで、バッテリーが接続されているとDCプラグ407の端子電圧はバッテリー電圧になるが、接続されていないときは解放電圧16Vになる。DCプラグ407にバッテリーが接続されているかどうかはアンプ414によってレベル変換された端子電圧をワンチップマイコン410がADコンバータを介して判断する。DCプラグ407にバッテリーが接続されていると解放電圧より低い端子電圧となるが、これは定電流回路404によってバッテリーに流れる電流が制限されるため端子電圧が下がるのである。ワンチップマイコン410はバッテリーの接続を確認すると、トランジスタ412をオンにしてLED411を点灯し充電中であることを表示する。ワンチップマイコン410はADコンバータに入力される端子電圧を一定の間隔でサンプリングして図30に示す満充電時の電圧変化−ΔVを検出する。満充電時の電圧変化−ΔVの検出はADコンバータからの刻々とサンプリングされる電圧の最大値を記憶しておき、この記憶された電圧からつぎにサンプリングされた電圧の差が100mVに達したことにより行なわれる。満充電時の電圧変化−ΔVが検出されるとワンチップマイコン410はトランジスタ408をオフし、充電を終了させると同時にトランジスタ412をオフしてLED411を消灯し使用者に充電の終了を知らせる。
【0006】
【発明が解決しようとする課題】
しかしながら、ΔT検出方式およびΔV検出方式のいずれの充電器においても以下に示すように充電不良になってしまうことがあった。ΔT検出方式の充電器では、サーミスタ104より検出される電池パック107内の電池温度が充電器が置かれた周囲温度より極めて低い状態で充電される場合、例えば0℃の屋外で使用した電池パックをほぼその0℃の状態のまま20℃の屋内に置かれた充電器にセットして充電を開始するときなどである。このとき、電池パック107内の電池103は、充電時に発生する熱によって起こる温度上昇に充電器の周囲から流れ込む熱によって起こる温度上昇が加わって温度上昇することになる。サーミスタ104で検出される温度上昇率が1℃/分を越えると満充電と判断するが、このように周囲の温度の影響も加わっているので、温度上昇率が1℃/分に至ったときを満充電と判断して充電を終了すると充電不足となってしまう問題があった。また、温度上昇率を1℃/分より高い値に設定しておくと電池の温度が周囲の温度とあまり変わらないときに今度は過充電となってしまうことが考えられた。
【0007】
同様に、ΔV検出方式の充電器では、満充電時の電圧変化−ΔVを検出する際に、DCプラグ407にバッテリーがうまく接続されておらず接触不良があると図31に示すように接点の断続的な接触によって急激な電圧変動がくりかえされることがある。そのようなときにその電圧変動を満充電時の電圧変化−ΔVであると判断して充電を終了してしまうことがあった。その結果、使用者が知らないままに充電不良が起きていた。
【0008】
そこで、これらの問題を解決するために、本発明は充電不良を防止できる充電器および充電方法を提供することを目的とする。
【0009】
【課題を解決するための手段】
上記目的を達成するために、第1の発明の充電器は、端子に接続された電池を充電する充電手段と、前記端子の電圧を測定する端子電圧測定手段と、この端子電圧測定手段によって測定される前記電圧の所定の電圧降下を検出する電圧降下検出手段と、この電圧降下検出手段によって検出される前記電圧の前記所定の電圧降下に応じて前記充電を終了する充電制御手段とを備えた充電器であって、前記充電手段による前記電池の充電中に前記端子電圧測定手段により測定される前記電圧の変動のくりかえしを検出する連続変動検出手段と、この連続変動検出手段によって前記電圧の変動のくりかえしが検出されたときに前記充電の異常を示す報知手段とを備える。
【0010】
さらに、第2の発明の充電器は、端子に接続された電池を充電する充電手段と、前記端子の電圧を測定する端子電圧測定手段と、この端子電圧測定手段によって測定される前記電圧の所定の電圧降下を検出する電圧降下検出手段と、この電圧降下検出手段によって検出される前記電圧の前記所定の電圧降下に応じて前記充電を終了する充電制御手段とを備えた充電器であって、前記充電手段による前記電池の充電中に前記端子電圧測定手段により測定される前記電圧の変動のくりかえしを検出する連続変動検出手段と、この連続変動検出手段によって前記電圧の変動のくりかえしが検出される検出回数を計数する連続変動計数手段と、この連続変動計数手段によって計数される前記検出回数が所定回数に達しないときは前記充電制御手段によって終了した充電を再開する再充電手段とを備える。
【0011】
また、第3の発明は、前記再充電手段によって充電が再開されたことを示す報知手段を備える。
【0012】
また、第4の発明は、端子に接続された電池を充電する充電工程と、前記端子の電圧を測定する電圧測定工程と、該測定される前記電圧の所定の電圧降下を検出する工程と、該検出される前記電圧の前記所定の電圧降下に応じて前記充電を終了する工程とを有する充電方法であって、前記充電工程による前記電池の充電中に前記電圧測定工程により測定される前記電圧の変動のくりかえしを検出する変動検出工程と、前記変動検出工程によって前記電圧の変動のくりかえしが検出されたときに前記充電の異常を示す工程とを備えたことを特徴とする。
【0013】
さらに、第5の発明の充電方法は、端子に接続された電池を充電する充電工程と、前記端子の電圧を測定する電圧測定工程と、該測定される前記電圧の所定の電圧降下を検出する電圧降下検出工程と、該電圧降下検出工程によって検出される前記電圧の前記所定の電圧降下に応じて前記充電を終了する工程とを有する充電方法であって、前記充電工程による前記電池の充電中に前記電圧測定工程により測定される前記電圧の変動のくりかえしを検出する変動検出工程と、該変動検出工程によって前記電圧の変動のくりかえしが検出される検出回数を計数する計数工程と、該計数工程によって計数される前記検出回数が所定回数に達しないときは終了した充電を再開する工程とを有することを特徴とする。
【0015】
【発明の実施の形態】
[第1実施形態]
本発明の実施形態を図面に基づき説明する。図1は第1実施形態の充電器10の電気的構成を示すブロック図である。充電器10は充電回路16、制御回路25および充電オンオフ回路29を備え、端子14に電池パック13が接続される。電池パック13にはいわゆるニッカド電池11およびサーミスタ12が組み込まれており、サーミスタ12は電池11の表面温度を検出する。
【0016】
制御回路25はサーミスタ12の端子電圧を温度データに変換する温度変換回路15、単位時間当りの温度の変化を示す温度変化率を検出する温度変化率検出回路26の他に、コンパレータ27、28、アナログスイッチ21を備える。コンパレータ27は温度変化率検出回路26からの温度変化率を基準電圧1と比較し、電池の温度変化率が基準電圧1を下回ったかどうかを判別する。基準電圧1は電池温度と周囲温度の開きが小さくなって電池温度が十分に周囲になじんだときの電池の温度変化率に相当する電圧(本実施形態では0.5℃/minの温度変化率に相当する電圧)に予め設定されている。
【0017】
コンパレータ28はコンパレータ27と同様に温度変化率検出回路26からの温度変化率を基準電圧2と比較し、満充電時の温度変化率であるか否かを判別する。基準電圧2は満充電時の温度変化率に相当する電圧(本実施形態では1℃/minの温度変化率に相当する電圧)に予め設定されている。コンパレータ28の+入力端子には抵抗器22が接続されており、アナログスイッチ21がオフのときに+入力端子をプルブウンする。また、コンパレータ27の出力とコンパレータ28の反転出力を入力とするアンドゲート23が設けられており、これを論理積演算しその出力をRSフリップフロップ31のS端子に入力することでRSフリップフロップ31のS端子およびR端子が同時にHレベルになるのを防いでいる。
【0018】
温度変換回路15はアンプおよびボルテージフォロワからなり、サーミスタ電圧Vthを次段の温度変化率検出回路26に適した電圧に調整する。
【0019】
温度変化率検出回路26は図2に示すように遅延回路41、OPアンプ56および各抵抗器R1、R2、Rf1、Rf2を備える。遅延回路41は温度変換回路15によって増幅されたサーミスタ電圧を一定時間遅らせて出力する。OPアンプ56は抵抗器R1、R2、Rf1、Rf2とともに差動増幅器を形成する。抵抗器R1に流れる電流I1、抵抗器Rf1に流れる電流If1、抵抗器R2に流れる電流I2、抵抗器Rf2に流れる電流If2、OPアンプ56の+入力端子にかかる電圧Vp、OPアンプ56の−入力端子にかかる電圧Vn、OPアンプ56の出力電圧Vo、サーミスタ電圧Vth、遅延回路41を介したサーミスタ電圧Vth1と符号付けすると、OPアンプ56の出力電圧Voはつぎの関係式(1a〜4a)から
Vo=Vp−If1・Rf1 ……(1a)
Vp=Rf2×Vth/(R2+Rf2) ……(2a)
If1=I1=(Vth1−Vp)/R1 ……(3a)
R1=R2 ……(4a)
R1=Rf1 ……(5a)
次式(10A)のように表される。
【0020】
Vo=Vth−Vth1 ……(10a)
したがって、OPアンプ56はサーミスタ電圧Vthと遅延回路41で遅延されたサーミスタ電圧Vth1の変化分を出力する。これにより遅延回路41で設定された遅延時間を単位とするサーミスタ電圧の変化率、即ち電池11の温度変化率を検出することができる。遅延回路41はCCDを遅延素子として構成することができる。
【0021】
充電オンオフ回路29はRSフリップフロップ31およびアナログスイッチ32を有する。RSフリップフロップ31のS端子にHレベル信号を入力するとQ端子の出力がHレベルになってアナログスイッチ32がオンとなり、R端子にHレベル信号を入力するとQ端子の出力がLレベルになってアナログスイッチ32がオフとなる。充電回路16は定電流回路を中心に構成され、充電オンオフ回路29のアナログスイッチ32によってオンオフされる。
【0022】
上記の構成を有する充電器10の充電制御について説明する。充電器10の端子14に接続された電池パック13の電池温度が周囲温度に較べて低いときは電池温度は徐々に上昇していき高いときは徐々に下降していき、やがて電池温度は周囲温度になじんでいく。電池温度が周囲温度になじんでいないときは温度変化率検出回路26から出力される温度変化率は基準電圧1に較べて大きな値となるので、コンパレータ27の出力はLレベルになる。このとき、アンドゲート23の出力もLレベルになり、そのままRSフリップフロップ31のS端子はLレベルになる。したがって、アナログスイッチ32はオフであり、充電回路16はオンにならず電池パック13は充電されない。このとき、コンパレータ28の+入力端子がLレベルなのでRSフリップフロップ31のR端子はLレベルのままでQ端子の出力に影響を与えない。
【0023】
つぎに、時間が経過して電池温度が周囲温度になじんでくると温度変化率は徐々に小さな値となる。温度変化率がコンパレータ27の基準電圧1以下になるとコンパレータ27の出力はHレベルとなってRSフリップフロップ31のQ端子がHレベルにセットされるので、これによりアナログスイッチ32がオンになり充電回路16をオンして電池11に充電が開始される。また、温度変化率検出回路26はコンパレータ27の出力を信号ライン27aを介してフィードバックしており、コンパレータ27の−入力端子にその後もLレベルを出力し続け、コンパレータ27の出力をHレベルに保持する。このとき、アナログスイッチ21はオンとなり、コンパレータ28による温度変化率の検出が開始される。満充電時までは、基準電圧2の方が電池11の温度変化率より大きいのでコンパレータ28からLレベルが出力されて充電は継続する。
【0024】
電池温度が満充電の状態に近づくにつれて温度変化率は大きくなり、ついに基準電圧2を越えるとコンパレータ28の出力はHレベルになってRSフリップフロップ31をリセットする。これによりアナログスイッチ32はオフとなり充電回路16による充電は終了する。
【0025】
以上示したように、電池パック13を端子14に接続した後に電池温度が周囲温度になじんだことをその電池温度曲線の傾きである温度変化率から判断し十分なじんだことを確認してから充電を開始するので、周囲温度と電池温度の開きが大きいことによる電池温度の急な温度変化率を排除でき、満充電に至らないで充電を終了するといった充電不足を解消できる。
【0026】
[第2実施形態]
つぎに、第2実施形態について説明する。図3は第2実施形態の充電器70の構成を示すブロック図である。第2実施形態の充電器70は前記第1実施形態の充電器10における制御回路25およびRSフリップフロップ31を除いて代わりにマイクロプロセッサユニット(MPU)74を設けて構成される。このマイクロプロセッサユニット74は周知のCPU74d、ROM74e、RAM74fの他に、バッファレジスタ74c、入出力(I/O)ポート74a、A/Dコンバータ74bおよびタイマ74gを備えたワンチップマイコンである。MPU74には充電オンオフ回路79のアナログスイッチ79aがI/Oポート74aを介して接続されている。また、MPU74には基準電圧発生回路81、82および電池パック83のサーミスタ85がA/Dコンバータ74bを介して接続されている。基準電圧発生回路81、82にはそれぞれ基準値を設定するための分割抵抗器81a、81b、82a、82bが接続されており、それぞれ基準電圧1、基準電圧2を発生する。基準電圧1、基準電圧2は前記第1実施形態と同じ値に設定されている。
【0027】
MPU74はサーミスタ85と抵抗器84とで設定されるサーミスタ電圧Vthを前述のA/Dコンバータ74bを介して読取り、読み取ったデータから単位時間当たりの温度変化、つまり温度変化率を計算し、その計算された温度変化率が基準電圧発生回路81で発生する基準電圧1より小さくなるまで、つまり、温度変化率が十分に小さくなるまでは充電を開始せず、小さくなってからI/Oポート74aを介して充電オンオフ回路79にHレベルの制御信号を出力する。アナログスイッチ79aはオンになり充電回路80は充電を開始する。充電開始後は温度変化率が基準電圧発生回路82で発生される基準電圧2より大きくなるまで充電を続け、大きくなったらLレベルの制御信号を充電オンオフ回路79に出力して充電を終了する。
【0028】
図4および図5はMPU74が実行する充電制御ルーチンを示すフローチャートである。MPU74は起動するとくりかえし本ルーチンを実行する。始めに、電池パック83がセットされているかどうかを判断し(ステップS110)、セットされていなければ本ルーチンを一旦終了する。セットされているときにはサーミスタ電圧Vthの判定ステップS115を実行する。まず、サーミスタ電圧Vthを読み取り、バッファレジスタ74c内のTiレジスタにその値を記憶する(ステップS120)。つぎに、タイマ74gをスタートし(ステップS130)、10秒経過するのを待つ(ステップS140)。10秒経過後に再び、サーミスタ電圧Vthを読み取り、その値をバッファレジスタ74c内のT1レジスタに記憶する(ステップS150)。Tiレジスタの値からT1レジスタの値を差し引き、そのサーミスタ電圧Vthの変化分ΔVthをT0レジスタに記憶すると(ステップS160)、さらにT1レジスタの値をTiレジスタに移してつぎのサーミスタ電圧Vthの読み込みに備える。サーミスタ電圧Vthの変化分ΔVthが基準電圧1に較べて小さいかどうか判断し(ステップS180)、基準電圧1に較べて大きいときにはまだ電池温度と周囲温度に開きがあるとして充電をスタートさせることなく、一旦、タイマ74gをリセットして再びステップS130からの処理をくりかえす(ステップS190)。
【0029】
前述のステップS180で、変化分ΔVthが基準電圧1に較べて大きいと判断されたときは充電オンオフ回路79にHレベルの制御信号を出力して充電をスタートさせる(ステップS200)。充電が開始されたら、前述のサーミスタ電圧Vthの判定ステップS115と同様の判定ステップ215を実行する。即ち、サーミスタ電圧Vthを読み取りその値をTiレジスタに記憶すると、タイマ74gをスタートさせて10秒経過するのを待ち、10秒経過したら再びサーミスタ電圧Vthを読み込んでその変化分ΔVthをT0レジスタに記憶する。T1レジスタの値をTiレジスタに移してつぎのサーミスタ電圧Vthの読み込みに備える(ステップS210〜S260)。T0レジスタに記憶されているサーミスタ電圧Vthの変化分ΔVthが基準電圧2以上になっているかどうか判断し(ステップS270)、基準電圧2に達していないときは満充電に至っていないと判断してタイマ74gをリセットし(ステップS280)、再びステップS220からの処理をくりかえす。変化分ΔVthが基準電圧2より以上になっているときには満充電に至ったとして充電を終了し(ステップS290)、本ルーチンを一旦終了する。このように、マイクロコンピュータベースの第2実施形態の充電器70の場合も前記第1実施形態と同様の効果を有する。また、温度変化率に使用する単位時間の設定もプログラムにより簡単に変更することができる。
【0030】
[第3実施形態]
つぎに、図6に示す第3実施形態の充電器110について説明する。本実施形態の充電器110は前記第1実施形態の制御回路25および充電オンオフ回路29を変更して構成される。即ち、第3実施形態の制御回路125は前記第1実施形態と同様の温度変換回路115、温度変化率検出回路116およびコンパレータ118の他に、電池有無判別回路123、タイマ124a、124b、A/Dコンバータ125、補正時間設定回路126、基準電圧セレクト回路127、基準電圧発生器128および充電オンオフ制御回路133を有する。電池有無判別回路123は電池パック113がセットされたか否かを判断する。タイマ124aは電池パック113が端子に接続されてから設定時間(本実施形態では1分)が経過したときにA/Dコンバータ125にイネーブル信号を出力する。A/Dコンバータ125はイネーブル信号を受けた時点で温度変化率検出回路116からの温度変化率をディジタル値に変換する。補正時間設定回路126はディジタル値に変換された温度変化率に応じて補正時間を設定する。タイマ124bは設定された補正時間が経過したときに基準電圧セレクト回路127にセレクト信号を出力する。基準電圧セレクト回路127はA/Dコンバータ125でディジタル値に変換された温度変化率に応じて基準電圧発生器128の基準電圧を選択する。基準電圧発生器128は直列に接続された抵抗器128〜132の両端に加えられた電圧から分圧された電圧を基準電圧として発生する。補正時間および基準電圧の補正値はつぎの第8実施形態と同じく図8に示す値が用いられる。また、充電オンオフ回路119はアナログスイッチ119aだけから構成され、充電オンオフ制御回路133の制御信号にしたがって充電回路116をオンオフする。
【0031】
上記の構成を有する充電器110では、電池有無判別回路123は端子123aの電圧から電池パック113が接続されたかどうかを検出する。電池パック113が接続されたことを検出すると、タイマ124aの計測を開始させる。タイマ124aの設定時間(1分)が経過すると、タイマ124aはA/Dコンバータ125にイネーブル信号を出力し、同時に充電オンオフ制御回路133に制御信号を出力して充電を開始する。A/Dコンバータ125はこのイネーブル信号によってディジタル値に変換された温度変化率のデータを補正時間設定回路126および基準電圧セレクト回路127に出力する。補正時間設定回路126は温度変化率のデータにしたがって図8の補正時間を設定する。補正時間が設定されるとタイマ124bが計測を開始する。また、基準電圧セレクト回路127は温度変化率のデータにしたがって基準電圧発生回路128に選択信号を出力し、図8の補正値が付加された基準電圧を基準電圧発生回路128から選択する。例えば、抵抗器129の端子電圧Vaを補正された基準電圧とするとき、基準電圧セレクト回路127は端子電圧Vaの信号ライン135をコンパレータ118の−入力端子118aに接続する。タイマ124bが補正時間設定回路126によって設定された補正時間を計測し終わると基準電圧セレクト回路127に信号を出力する。基準電圧セレクト回路127は補正された基準電圧Vaから補正なしの基準電圧Vbの選択に切り替える。即ち、補正時間経過後は通常の基準電圧Vbをもとにコンパレータ118は充電を制御する。以上示したように、電池パック113接続後の電池の温度変化率から電池温度が周囲温度になじむまでの補正時間を予測して基準電圧を補正するので、電池温度が周囲温度になじむまで待つことなく充電を即座に開始できる。したがって、本実施形態の充電器は急速充電に適する。
【0032】
[第4実施形態]
つぎに、図7に示す第4実施形態の充電器150について説明する。この充電器150は前記第2実施形態と同様にマイクロコンピュータベースのものである。前記第2実施形態の基準電圧発生器81および基準電圧発生器82の代わりに、電池パック153が端子153aに接続されているか否かを検出する電池有無検出回路152および補正データメモリ158がMPU154に接続されている。タイマ154g、154hは2個設けられており、タイマ154gはサーミスタ電圧Vthの変化分の検出するときの単位時間として使用され、タイマ154hは充電時間の測定に使用される。その他の電気的構成については第2実施形態と同様である。補正データメモリ158には温度変化率つまり、サーミスタの電圧変化に対する基準電圧の補正値および補正時間がテーブルで格納されており、図8に示すように、このテーブルは電池パック153が接続された後の所定時間(1分)経過後の電池温度の変化を示すサーミスタ電圧の変化(V)、そのサーミスタ電圧の変化が周囲温度に対してなじむまでの補正時間(min)および補正値(V)が示されている。
【0033】
以上示した構成を有する充電器150では、電池パック153が接続されるとMPU154は電池温度に対応したサーミスタ電圧VthをA/Dコンバータ154bを介して読み取り、さらに電池パック153が充電器150に端子153aに接続されてからの所定時間(1分)後のサーミスタ電圧をA/Dコンバータ154bを介して読み取って、この間のサーミスタ電圧Vthの変化を演算する。演算されたサーミスタ電圧Vthの変化分△Vthを基に補正データメモリ158のテーブルを参照して補正時間および補正値をデータバス154kを介して読み込む。補正時間に達するまでは補正値を加えた基準電圧にしたがって温度変化率の検出を行なう。補正時間に達してからは補正値を加えない基準電圧にしたがって温度変化率の検出を行ない充電を制御する。これらの動作を図9および図10に示す充電制御フローチャートにしたがって説明する。
【0034】
本ルーチンはくりかえし実行される。電池パック153が端子に接続されてセットされたかどうかを判断し、セットされていないときには本ルーチンを一旦終了する(ステップS410)。セットされているときにはサーミスタ電圧Vthを読み取り、バッファレジスタ154cのTiレジスタにサーミスタ電圧Vthを記憶する(ステップS420)。同時にタイマ154gをスタートし(ステップS430)、タイマ154gの設定時間(1分)が経過したら再度サーミスタ電圧Vthを読み取り、その読み取った値をバッファレジスタ154cのT1レジスタに記憶する。Tiレジスタの値からT1レジスタの値を引いた値を同じくバッファレジスタ154cのToレジスタに記憶する(ステップS460)。MPU154は補正データメモリ158のテーブルを参照して(ステップS470)Toレジスタの値から補正時間tおよび基準電圧の補正値を決定する(ステップS480、ステップS490)。決定された補正時間tおよび補正値はRAM154fに記憶される。この後、MPU154は充電オンオフ回路159のアナログスイッチ159aをオンにして充電を開始し(ステップS510)、同時に充電用のタイマ154hの計測をスタートする(ステップS520)。サーミスタ電圧Vthを読み取り、バッファレジスタ154cのTiレジスタにサーミスタ電圧Vthを記憶する(ステップS530)。同時にタイマ154gをスタートし(ステップS540)、タイマ154gの設定時間(10秒)が経過したら(ステップS550)再びサーミスタ電圧Vthを読み取り、その値をT1レジスタに記憶する(ステップS560)。Tiレジスタの値からT1レジスタの値を引いた値をToレジスタに記憶し(ステップS570)、T1レジスタの値をTiレジスタに移す(ステップS580)。
【0035】
つぎに、タイマ154hの充電時間が補正時間tに達したかどうかを判断する(ステップS590)。補正時間tに達しているときには、Toレジスタに記憶されたサーミスタ電圧Vthの変化分△Vth、即ち温度変化率が基準電圧以上になっているかどうかを判断し(ステップS600)、基準電圧に至っていないときにはタイマ154gをリセットして(ステップS610)再び、ステップS540からのサーミスタ電圧Vthの変化分△Vthの測定をくりかえす。ステップS600でサーミスタ電圧Vthの変化分が基準電圧を越えているときには満充電に至ったとして充電を終了する(ステップS630)。一方、ステップS590で充電時間が補正時間tに達していないときには、Toレジスタに記憶されたサーミスタ電圧Vthの変化分△Vthが補正値を加えた基準電圧以上になっているかどうかを判断する(ステップS620)。補正した基準電圧(基準電圧に補正値を加えた値)以上になっていれば充電を終了する(ステップS630)が、基準電圧に達していないときにはタイマ154gをリセットし、再びステップS540からのサーミスタ電圧Vthの変化分△Vthの測定をくりかえす。
【0036】
以上示したように、本実施形態の充電器150は前記第3実施形態と同様の効果が得ることができ、急速充電に適する。
【0037】
前記第1実施形態〜第4実施形態の充電器においては、電池の温度および温度変化率からだけで充電制御を行っているので、充電器などにサーミスタを設けなくても済ますことができる。
【0038】
[第5実施形態]
図11は第5実施形態の充電器180の電気的構成を示すブロック図である。この充電器180はCPU181、定電圧電源182、定電流回路183、A/Dコンバータ186およびサーミスタ187を備える。さらに、この第5実施形態の充電器180は前記第1〜第4実施形態までの充電器と異なりサーミスタ187を充電器180の内側に設け、充電器の温度(Tc)を測定するようにされている。充電器180の端子180a、180bに着脱自在に接続される電池パック190はニッケル水素電池194とサーミスタ195を組み合わせたものである。ニッケル水素電池194は公称電圧1.2V、公称容量1100mAhの電池を5本直列に接続したものであり、サーミスタ195はニッケル水素電池194の電池温度(Tb)を測定する。
【0039】
A/Dコンバータ186は一定のサンプリング速度でサーミスタ187、195の信号をディジタル値に変換する。CPU181はA/Dコンバータ186で変換されたデータをもとに演算を行なって定電流回路183を駆動する。また、定電圧電源182は安定化電源回路で、AC100VからCPU181が動作するのに必要なDC5Vと定電流回路183を動作させるのに必要なDC10Vを出力する。
【0040】
図12はニッケル水素電池194を充電したときの充電曲線(a)および電池表面温度曲線(b)、(c)を示すグラフである。曲線(b)は電池パック190を次式(10A)の条件で充電したときの電池表面温度曲線であり、曲線(c)は電池パック190を次式(10B)の条件で充電を開始したときの電池表面温度曲線である。
【0041】
電池温度(Tb)−充電器温度(Tc)≧ −5℃ ……(10A)
電池温度(Tb)−充電器温度(Tc)< −5℃ ……(10B)
電池パック190は曲線(a)に示すように電池電圧の最大(d)を満充電時としてそれ以降の電圧は徐々に小さくなる特性を示す。電池表面温度曲線の領域(f)では式(10A)の下で電池の自己発熱により約0.3℃/分の温度上昇率を示す。同じく式(10A)の下での領域(e)では満充電(d)以降の温度上昇率として1℃/分を示す。また、式(10B)の下での領域(h)では電池の自己発熱と周囲温度の温度上昇が加算されて約1.2℃/分の温度上昇率を示す。同じく式(10B)の下での領域(g)では満充電以降の温度上昇率として、電池の自己発熱と周囲温度による温度上昇が加算され1.5℃/分以上を示す。このように、式(10A)の下で充電したときは電池の温度上昇率1℃/分が満充電時を示し、式(10B)の下で充電したときは電池の温度上昇率1.5℃/分が満充電時を示す。
【0042】
つぎに、CPU181が実行する充電制御ルーチンについて説明する。図13は充電制御ルーチンを示すフローチャートである。本ルーチンを開始すると、CPU181はA/Dコンバータ186によってディジタル化されたデータを1秒間隔で5回サンプリングし、その最大値と最小値を切り捨て3回分のデータの平均をそれぞれとることによって電池温度(Tb)データと充電器温度(Tc)データを求める(ステップS610)。CPU181は定電流回路183に充電開始の指令を出力する(ステップS620)。充電開始の指令と同時に、CPU181は内蔵タイマをスタートさせて1分間計測する(ステップS630)。1分経過すると、再び前述した手順により電池温度(Tb)データを測定する(ステップS640)。単位時間を1分とする温度上昇率dT/dtを次式(20A)にしたがって算出する(ステップS650)。
【0043】
dT/dt=現在の電池温度(Tb)−1分前の電池温度(Tb)……(20A)
つぎに、充電前の電池温度(Tb)と充電器温度(Tc)の差を算出し、その差が(Tb−Tc)≧−5℃を満足するかどうかを判断する(ステップS660)。満足するなら電池温度が十分に充電器温度になじんでいるとして、さらに電池194の温度上昇率がdT/dt≧1℃を満足するかどうかを判断する(ステップS670)。満足しないのであれば未だ満充電に至っていないとしてステップS630からの処理をくりかえす。満足していれば満充電に至ったとして本ルーチンを一旦終了する(ステップS690)。また、ステップS660で(Tb−Tc)≧−5℃を満足しないときは充電器温度になじんでいないとして、さらに温度上昇率がdT/dt≧1.5℃を満足するかどうかを判断する(ステップS680)。満足しないのであれば未だ満充電に至っていないとしてステップS630からの処理をくりかえす。満足していれば満充電に至ったとして本ルーチンを一旦終了する(ステップS690)。
【0044】
尚、電池温度(Tb)と充電器温度(Tc)の温度差を−5℃を基準とする2段階よりもっと細かく段階設定してもよく、このとき、充電器温度にどの程度なじんでいるかによって満充電時の温度上昇率を細かく設定できる。
【0045】
また、電池温度(Tb)と充電器温度(Tc)の温度差を求める際にステップS610で電池温度(Tb)と充電器温度(Tc)のそれぞれの温度をA/Dコンバータ186でアナログディジタル変換して温度データを検出していたが、A/Dコンバータ186の前に差動増幅器を付加して電池温度(Tb)と充電器温度(Tc)の差分をA/Dコンバータ186に入力するようにしてもよい。このような構成にすると、充電開始前の電池温度(Tb)と充電器温度(Tc)の温度差は差動増幅器の出力をA/Dコンバータ186でアナログディジタル変換することによって得ることができ、得られた温度差から前述の式(10A)、(10B)にしたがって満充電時の温度上昇率を設定することができる。また、充電開始後でも充電器温度(Tc)はほとんど変化しないので、差動増幅器の出力をA/Dコンバータ186を介してCPU181が所定時間毎に取り込むと差動増幅器の出力の変化分は電池温度(Tb)の変化分を示すことになる。この電池温度(Tb)の変化分、即ち温度上昇率が満充電時の温度上昇率に達したときに充電を終了する。このように差動増幅器を設けることで、A/Dコンバータを1台で済ますことができる。また、CPU181によるA/Dコンバータのデータ取込みも半減することができ、処理の高速化に繋がる。
【0046】
[第6実施形態]
つぎに、第6実施形態として△V検出方式の充電器210について説明する。図14は充電器210の外観を示す斜視図である。携帯型の充電器210は本体210a、家庭用のACコンセントに差し込むACプラグ211、充電中に点灯するLED213、異常時に点灯するLED215およびバッテリーに接続されるDCプラグ207を有する。本体210a内には、図15に示すように電源回路240、スイッチング回路245および制御回路260が設けられている。電源回路240にはACコンセントの商用電圧から2次電圧を出力するトランス222、トランス222から出力される交流を直流に変換するダイオードブリッジ223aを備えた平滑化回路223、VCC=5Vの電源電圧を供給する3端子レギュレータ229および充電電流を供給する定電流回路224が設けれている。この定電流回路224は4Vから8Vのバッテリー電圧範囲において800mAの電流を供給する。スイッチング回路245には充電電流をスイッチングするトランジスタ225、バッテリーからの逆流を防止するダイオード226、トランジスタ225をドライブするトランジスタ228が設けられている。制御回路260はワンチップマイコン230を中心にアンプ234、リセットIC233、LED215、213、トランジスタ235、232などから構成されており、ワンチップマイコン230はマイクロプロセッサの他に、周知のROM、RAM、タイマー、割り込みコントローラ、ADコンバータ、I/Oポート等を内蔵する。
【0047】
アンプ234はバッテリー電圧をレベル変換してワンチップマイコン230に内蔵されたADコンバータに出力する。トランジスタ235、232はそれぞれLED215、213をドライブする。リセットIC233はハードウェアリセットに使用され、4.5Vを越えるとワンチップマイコン230のリセットを解除する。
【0048】
さらに、ワンチップマイコン230には異常検出回路250が接続されている。
【0049】
異常検出回路250はワンチップマイコン230のカウンタ230bに接続されたコンパレータ253、コンパレータ253の+入力端子に接続される抵抗分圧器255、−入力端子に微分回路256を介して接続される抵抗分圧器258およびDCプラグ207の端子電圧を反転して抵抗分圧器255、258に出力する反転増幅器257を備える。
【0050】
このような構成において、ACコンセントにACプラグ211が差し込まれるとトランス222に商用電圧が供給される。平滑化回路223はトランス222の二次電圧をダイオードブリッジ223aによって全波整流しコンデンサによって平滑化することで直流電圧に変換し、この直流電圧を定電流回路224および3端子レギュレータ229に供給する。3端子レギュレータ229から供給される電源電圧VCCが4.5Vを越えるとリセットIC233はハードウェアリセットを解除し、ワンチップマイコン230が動作状態になる。ワンチップマイコン230はトランジスタ228を駆動し、トランジスタ225をオンにする。ここで、バッテリーが接続されているとDCプラグ207の端子電圧はバッテリー電圧になるが、接続されていないときは解放電圧16Vになる。DCプラグ207にバッテリーが接続されているかどうかはアンプ234によってレベル変換された端子電圧をワンチップマイコン230がADコンバータ230aを介して判断する。DCプラグ207にバッテリーが接続されていると解放電圧より低い端子電圧となるが、これは定電流回路224によってバッテリーに流れる電流が制限されるため端子電圧が下がるのである。ワンチップマイコン230はバッテリーの接続を確認すると、トランジスタ232をオンにしてLED213を点灯し充電中であることを表示する。ワンチップマイコン230はADコンバータ230aに入力される端子電圧を一定の間隔でサンプリングして前述した図30に示す満充電時の電圧変化−ΔVを検出する。満充電時の電圧変化−ΔVの検出はADコンバータ230aからの刻々とサンプリングされる電圧の最大値を記憶しておき、この記憶された電圧からつぎにサンプリングされた電圧の差が100mVに達したことにより行なわれる。満充電時の電圧変化−ΔVが検出されるとワンチップマイコン230はトランジスタ225をオフし、充電を終了させると同時にトランジスタ232をオフしてLED213を消灯し使用者に充電の終了を知らせる。
【0051】
また、コンパレータ253の出力端子はワンチップマイコン230の割込み端子に接続されており、コンパレータ253の出力は+、−の入力端子にかかる電圧レベルで決定される。すなわち、DCプラグ207に急激な電圧変動がなければDCプラグ207の端子電圧は反転増幅器257で反転して抵抗分圧器255、258に与えられる。抵抗分圧器255、258では抵抗分圧器255で出力される電圧の方が抵抗分圧器258で微分回路256を介して出力される電圧よりも大きな値となっているので、コンパレータ253からHレベルの出力信号がワンチップマイコン230に入力される。ところが、DCプラグ207に接触不良が起きて端子電圧に急激な変動が発生すると分圧抵抗器258に接続されている微分回路256はこの電圧変動を増幅することになり、この変動する微分回路256の電圧と抵抗分圧器255の電圧を比較してコンパレータ253はHレベルとLレベルを交互に出力することになる。このとき、ワンチップマイコン230はコンパレータ253の出力信号の立ち下がりによって割込み処理を実行し、カウンタ230bのエラーカウント値をインクリメントする。カウンタ230bの値が一定値に達してオーバフローするとトランジスタ235を駆動してLED215を点灯し異常を表示する。LED215が点灯した状態でワンチップマイコン230は−△Vを検出しても充電中に異常があったとして充電を終了せずに充電を再開する。このとき、ワンチップマイコン230に内蔵されたタイマ230cによってLED213を0.5秒ごとに点滅させて再充電であることを知らせる。使用者はLED215の点灯によって異常のあったことを知り、LED213の点滅によって再充電であることを知ることができる。
【0052】
つぎに、ワンチップマイコン230によって実行される充電制御ついて説明する。図16は充電制御ルーチンを示すフローチャートである。ワンチップマイコン230は本ルーチンをくりかえし実行し、始めにソフトウェアによるイニシャル処理を行ない、カウンタ230bをクリア、タイマ230cをリセット、LED213、215を消灯するなどの初期化を行なう(ステップS710)。 つぎに、トランジスタ228を駆動してトランジスタ225がオンとなり定電流回路224によって充電電流の供給を開始する(ステップS720)。バッテリがDCプラグ207に接続されるのを待ち(ステップS730)、バッテリがDCプラグ207に接続されるとLED213を点灯する(ステップS740)。ワンチップマイコン230はA/Dコンバータ230aを介してDCプラグ207の端子電圧をサンプリングにより入力する(ステップS750)。サンプリングされたDCプラグ207の端子電圧が前回までに記憶されている最大値に較べて大きいときには今回サンプリングされた端子電圧を最大値として更新する(ステップS760)。また、記憶されている最大値に対してサンプリングされたDCプラグ207の端子電圧が100mVを下回るまで下がっているかどうかを判断する(ステップS770)。100mVを下回るまで下がっていないときは1秒間待った後に(ステップS780)、ステップS750に戻って再びサンプリングをサンプリングをくりかえす。ステップS770で100mVを下回るまでに下がっていると判断されたときは一旦、トランジスタ225をオフして充電電流の供給を停止する(ステップS790)。カウンタ230bのエラーカウント値が一定値を越えてオバーフローし異常が起こったかどうかを判断する(ステップS810)。エラーカウント値が一定値以下で異常のなかったときは満充電に至ったとしてLED213を消灯し(ステップS870)、バッテリが外されるのを待って本ルーチンを終了する(ステップS890)。一方、ステップS810でエラーカウント値が一定値を越えてオーバフローしているときはLED215を点灯して異常の起きたことを指示し(ステップS830)、さらにその異常が連続して起きたかどうかを判断する(ステップS840)。連続して異常が続いたのであればそれ以上の充電を中止するために前述と同様にLED213を消灯し(ステップS870)、バッテリが外されるのを待つ(ステップS890)。ステップS840で始めて起きたのだと判断されると、トランジスタ225を駆動して充電電流の供給を再開する(ステップS850)。このとき、タイマ割込みを0.5秒毎に行ってLED213を交互にON/OFFし、点滅表示によって再充電中であることを指示する(ステップS860)。図18はLED213、215の表示の態様を示している。この後、再びステップS750に戻ってDCプラグ207の端子電圧のサンプリングをくりかえす。
【0053】
図17はカウンタ230bのエラーカウント値が一定値を越えてオーバーフローしたときに、ワンチップマイコン230が実行する割込み処理ルーチンのフローチャートである。前述したように、DCプラグ207に接触不良などが起きて端子電圧に急激な変動が発生すると分圧抵抗器258に接続されている微分回路256はこの電圧変動を増幅することになり、この変動する微分回路256の電圧と抵抗分圧器253の電圧を比較してコンパレータ253はHレベルとLレベルを交互に出力する。ワンチップマイコン230はこの立ち下がり信号によって割込み処理を行い、カウンタ230bのエラーカウント値がオーバーフローしていない間はインクリメントする(ステップS920、S925)が、オバーフローするとそれ以後なにもせず割込み処理ルーチンを終了する。
【0054】
以上示したように、本実施形態によればDCプラグ207の端子とバッテリの間に接触不良が起きて充電不足のまま充電が終了しても、その充電中に異常のあったことをLED215によって表示するので充電不足であることを使用者は容易に知ることができ、バッテリにDCプラグを差し直すなどの処置によって充電不良を回避できる。また、一過性の充電電圧の変動に対しては即座に異常と判断して充電を中断しないので、しかも連続して異常と判断されない限り中断した充電を再開させるので、充電不良の発生を極めて抑えることができる。
【0055】
[第7実施形態]
本実施形態の充電器280は前記第6実施形態の充電器210の表示制御の部分を違えるだけで構成されるので、以下に相違する部分の構成を説明する。図19は充電器280の外観を示す斜視図である。図において、特に説明を要しない部分は、前記第6実施形態と同じ符号で示す。この充電器280には前記第6実施形態のLED213、215の代わりに緑色、赤色のLED285a、285bが一体に成形された2色発光ダイオードが設けられている。LEDを駆動する回路は前記第6実施形態と同じであり、LED213、215をそれぞれ緑色、赤色のLED285a、285bにするだけでよい。ワンチップマイコンが実行する充電制御ルーチンは、前記第6実施形態のステップS790〜ステップS890部分を変更するもので、図20に示すようにステップS830の代わりにステップS887に変更し、ステップS870とステップS890の間にステップS875およびステップS885を追加して構成される。即ち、カウンタでエラーカウント値がオーバーフローしていて異常があったときはLEDを点灯させる代わりにワンチップマイコンのRAMに異常状態であることをフラグのセットにより記憶しておく(ステップS915)。始めての異常であればLED285aを点滅させて(ステップS888)充電を再開するが、異常が連続しているときには緑色のLED285aを消灯する(ステップS873)。この後、途中で異常があったかどうかをRAMに記憶されているフラグの状態から判断し(ステップS875)、異常がなければバッテリが外されるのを待つ。異常があったときには赤色のLED285bを点灯してから同様に待つ(ステップS885)。したがって、緑色、赤色のLED285a、285bの表示態様は図21に示すように示される。
【0056】
[第8実施形態]
本実施形態の充電器290も前記第6実施形態の充電器210の表示制御の部分を違えるだけで構成されるので、以下に相違する部分の構成を説明する。図22は充電器290の外観を示す斜視図である。図において、特に説明を要しない部分は、前記第6実施形態と同じ符号で示す。この充電器290は前記第6実施形態のLEDを液晶表示(LCD)モジュール294に変更して構成される。図23に示すように、前記第6実施形態のLED213、215の駆動回路の代わりにLCDモジュール294がワンチップマイコン295に接続されており、このLCDモジュール294はワンチップマイコン295に内蔵されたLCDドライバによって駆動される。その他の電気的構成は前記第6実施形態と同様である。
【0057】
ワンチップマイコン295が実行する充電制御ルーチンは前記第6実施形態の表示制御に係る部分を変更して構成され、ここではその変更部分についてだけ説明する。図24および図25に示すように、ワンチップマイコン295はイニシャル処理においてLCDモジュール294に「READY」のメッセージを表示する(ステップS901)。バッテリがDCプラグに接続されると「ジュウデン」を表示する(ステップS904)。前記第7実施形態と同様に充電中に異常があったときは異常状態をワンチップマイコンのRAMにフラグをセットすることで記憶し(ステップS915)、始めての異常であればLCDモジュール940に「リトライ」と表示して(ステップS918)充電を再開する。連続して異常が起きたときは「エラー」を表示し(ステップS919)、1度異常があった後に再充電により満充電に至ったときは「リトライOK」と表示して(ステップS920)バッテリが外されるのを待って本ルーチンを終了する。また、全く異常なく満充電に至ったときには「シュウリョウ」と表示して(ステップS911)本ルーチンを終了する。
【0058】
[第9実施形態]
本実施形態の充電器も前記第6実施形態の充電器210にタイマ機能を付加して構成されるが、タイマは前記第6実施形態で示したワンチップマイコン230に内蔵されたタイマ230cを用いているので電気的構成を特に変更させなくても実現できる。定電流回路は150mAの充電電流を供給する。本実施形態の充電制御ルーチンを図26に示すフローチャートにしたがって説明するが、本ルーチンは第6実施形態のステップS750〜ステップS780をステップS955およびステップS956に置き換えることで構成される。図において、特に説明を要しない部分は、前記第6実施形態と同じ符号で示す。即ち、ワンチップマイコンはバッテリがDCプラグに接続されて充電を開始し、LEDの点灯と同時にタイマをスタートさせる(ステップS955)。タイマが8時間経過するまで充電を続ける(ステップS956)。8時間経過したら充電を停止し、前記第6実施形態と同様にカウンタのエラーカウント値がオバーフローしているかどうかを判断してその後の充電制御を行なう。
【0059】
尚、上記実施形態は本発明の範囲を逸脱しない限りにおいて、種々の変更が可能である。例えば、サーミスタを内蔵した電池パックに限らず、サーミスタの内蔵していない電池であってもよく、電池を充電器にセットするとサーミスタが電池表面に接触して電池の温度を測定できるようにされたものでもよい。また、温度を検出する素子として、金属酸化物からなるサーミスタ以外にバイメタル式の温度センサ等を使用することができる。また、サーミスタは正特性(PTC)、負特性(NTC)のいずれも用いることができる。
【0060】
【発明の効果】
本発明によれば、端子電圧の変動のくりかえしが検出されるときは充電の異常を報知手段により示すので、使用者は充電の異常を容易に知ることができる。したがって、使用者は電池を端子に接続し直して再充電を図ってもよい。電圧の変動のくりかえしを検出する検出回数が所定回数を越えないときは一旦、終了した充電を再開するので、一過性の電圧変動による充電終了を排除することができる。また、報知手段により再充電が示されるので、使用者は再充電であることを容易に知ることができる。
【図面の簡単な説明】
【図1】第1実施形態の充電器10の電気的構成を示すブロック図である。
【図2】温度変化率検出回路26の構成を示す回路図である。
【図3】第2実施形態の充電器70の電気的構成を示すブロック図である。
【図4】MPU74が実行する充電制御ルーチンを示すフローチャートである。
【図5】図4に続く充電制御ルーチンを示すフローチャートである。
【図6】第3実施形態の充電器110の電気的構成を示すブロック図である。
【図7】第4実施形態の充電器150の電気的構成を示すブロック図である。
【図8】サーミスタ電圧変化に対応する補正時間および補正値を示す説明図である。
【図9】MPU154が実行する充電制御ルーチンを示すフローチャートである。
【図10】図9に続く充電制御ルーチンを示すフローチャートである。
【図11】第5実施形態の充電器180の電気的構成を示すブロック図である。
【図12】充電時間に対する電池電圧および電池温度の特性を示す説明図である。
【図13】CPU181が実行する充電制御ルーチンを示すフローチャートである。
【図14】第6実施形態の充電器210の外観を示す斜視図である。
【図15】充電器210の電気的構成を示す回路図である。
【図16】ワンチップマイコン230が実行する充電制御ルーチンを示すフローチャートである。
【図17】ワンチップマイコン230が実行する割り込み処理ルーチンを示すフローチャートである。
【図18】LED213、215の表示態様を示す説明図である。
【図19】第7実施形態の充電器280の外観を示す斜視図である。
【図20】充電器280によって実行される充電制御ルーチンの一部を示すフローチャートである。
【図21】LED285a、285bの表示態様を示す説明図である。
【図22】第8実施形態の充電器290の外観を示す斜視図である。
【図23】充電器290の電気的構成の一部を示すブロック図である。
【図24】ワンチップマイコン295が実行する充電制御ルーチンを示すフローチャートである。
【図25】図24に続く充電制御ルーチンを示すフローチャートである。
【図26】第9実施形態の充電器が実行する充電制御ルーチンを示すフローチャートである。
【図27】従来の充電器の電気的構成を示すブロック図である。
【図28】従来の充電器300の外観を示す斜視図である。
【図29】充電器300の電気的構成を示す回路図である。
【図30】充電時間に対する電池電圧を示す特性図である。
【図31】充電時間に対する端子電圧を示す特性図である。
【符号の説明】
10… 充電器
11… 電池
13… 電池パック
14… サーミスタ
26… 温度変化率検出回路
27、28… コンパレータ
29… 充電オンオフ回路

Claims (5)

  1. 端子に接続された電池を充電する充電手段と、
    前記端子の電圧を測定する端子電圧測定手段と、
    この端子電圧測定手段によって測定される前記電圧の所定の電圧降下を検出する電圧降下検出手段と、
    この電圧降下検出手段によって検出される前記電圧の前記所定の電圧降下に応じて前記充電を終了する充電制御手段とを備えた充電器であって、
    前記充電手段による前記電池の充電中に前記端子電圧測定手段により測定される前記電圧の変動のくりかえしを検出する連続変動検出手段と、
    この連続変動検出手段によって前記電圧の変動のくりかえしが検出されたときに前記充電の異常を示す報知手段とを備えたことを特徴とする充電器。
  2. 端子に接続された電池を充電する充電手段と、
    前記端子の電圧を測定する端子電圧測定手段と、
    この端子電圧測定手段によって測定される前記電圧の所定の電圧降下を検出する電圧降下検出手段と、
    この電圧降下検出手段によって検出される前記電圧の前記所定の電圧降下に応じて前記充電を終了する充電制御手段とを備えた充電器であって、
    前記充電手段による前記電池の充電中に前記端子電圧測定手段により測定される前記電圧の変動のくりかえしを検出する連続変動検出手段と、
    この連続変動検出手段によって前記電圧の変動のくりかえしが検出される検出回数を計数する連続変動計数手段と、
    この連続変動計数手段によって計数される前記検出回数が所定回数に達しないときは前記充電制御手段によって終了した充電を再開する再充電手段とを備えたことを特徴とする充電器。
  3. 前記再充電手段によって充電が再開されたことを示す報知手段を備えたことを特徴とする請求項2記載の充電器。
  4. 端子に接続された電池を充電する充電工程と、
    前記端子の電圧を測定する電圧測定工程と、
    該測定される前記電圧の所定の電圧降下を検出する工程と、
    該検出される前記電圧の前記所定の電圧降下に応じて前記充電を終了する工程とを有する充電方法であって、
    前記充電工程による前記電池の充電中に前記電圧測定工程により測定される前記電圧の変動のくりかえしを検出する変動検出工程と、
    前記変動検出工程によって前記電圧の変動のくりかえしが検出されたときに前記充電の異常を示す工程とを備えたことを特徴とする充電方法。
  5. 端子に接続された電池を充電する充電工程と、
    前記端子の電圧を測定する電圧測定工程と、
    該測定される前記電圧の所定の電圧降下を検出する電圧降下検出工程と、
    該電圧降下検出工程によって検出される前記電圧の前記所定の電圧降下に応じて前記充電を終了する工程とを有する充電方法であって、
    前記充電工程による前記電池の充電中に前記電圧測定工程により測定される前記電圧の変動のくりかえしを検出する変動検出工程と、
    該変動検出工程によって前記電圧の変動のくりかえしが検出される検出回数を計数する計数工程と、
    計数工程によって計数される前記検出回数が所定回数に達しないときは終了した充電を再開する工程とを有することを特徴とする充電方法。
JP2001276255A 2001-09-12 2001-09-12 充電器および充電方法 Expired - Fee Related JP3548552B2 (ja)

Priority Applications (1)

Application Number Priority Date Filing Date Title
JP2001276255A JP3548552B2 (ja) 2001-09-12 2001-09-12 充電器および充電方法

Applications Claiming Priority (1)

Application Number Priority Date Filing Date Title
JP2001276255A JP3548552B2 (ja) 2001-09-12 2001-09-12 充電器および充電方法

Related Parent Applications (1)

Application Number Title Priority Date Filing Date
JP18072293A Division JP3382305B2 (ja) 1993-06-25 1993-06-25 充電器および充電方法

Publications (2)

Publication Number Publication Date
JP2002165381A JP2002165381A (ja) 2002-06-07
JP3548552B2 true JP3548552B2 (ja) 2004-07-28

Family

ID=19100985

Family Applications (1)

Application Number Title Priority Date Filing Date
JP2001276255A Expired - Fee Related JP3548552B2 (ja) 2001-09-12 2001-09-12 充電器および充電方法

Country Status (1)

Country Link
JP (1) JP3548552B2 (ja)

Families Citing this family (3)

* Cited by examiner, † Cited by third party
Publication number Priority date Publication date Assignee Title
KR100445595B1 (ko) * 2002-03-06 2004-08-25 주식회사 레인콤 노이즈의 영향을 감소시킬 수 있는 배터리 충전 제어 방법및 시스템
CN112838627B (zh) * 2019-11-25 2024-12-31 杭州光力美电子科技有限公司 一种多功能电源适配装置
CN110752648B (zh) * 2019-12-02 2024-05-17 东莞市石龙富华电子有限公司 一种检测电压负增量的电池智能充电方法和电路

Also Published As

Publication number Publication date
JP2002165381A (ja) 2002-06-07

Similar Documents

Publication Publication Date Title
JP2005183098A (ja) パック電池
JP2009017703A (ja) 二次電池の充電制御回路及びこれを用いた充電制御装置
JP3901140B2 (ja) 充電器
JPH08236160A (ja) 2次電池の充電方法
JP2005143240A (ja) 充電器および充電状態判定方法
JP7408781B2 (ja) バッテリー管理システム、バッテリーパック、電気車両及びバッテリー管理方法
JP3548552B2 (ja) 充電器および充電方法
JP2003092842A (ja) バッテリーを充電する方法及び装置
JP2005039927A (ja) 充電装置および充電制御方法
JPH08180905A (ja) 2次電池と充電器の接続判定方法
JP3081392B2 (ja) 充電中における電池の充電容量表示方法
JPH10210675A (ja) 充電制御方法および充電制御装置
JP3382305B2 (ja) 充電器および充電方法
JPH08149711A (ja) 無線通信装置用充電器
JP2000324709A (ja) 充電装置
JP2004171796A (ja) 充電装置
JP2007074897A (ja) 充電器
JP2001210387A (ja) 電池の満充電表示方法
JPH07123604A (ja) 二次電池の充電装置
JP2010160967A (ja) 不活性検知回路、充電器、及び不活性検知方法
JP2004064861A (ja) 充電式電気機器及び電気掃除機
JP2004242459A (ja) 充電回路、バッテリの充電方法及び携帯型オーディオ機器
JP2004171795A (ja) 充電装置
JP2007104790A (ja) 充電装置
JP3222961B2 (ja) 充電方法

Legal Events

Date Code Title Description
A521 Written amendment

Free format text: JAPANESE INTERMEDIATE CODE: A523

Effective date: 20040209

TRDD Decision of grant or rejection written
A01 Written decision to grant a patent or to grant a registration (utility model)

Free format text: JAPANESE INTERMEDIATE CODE: A01

Effective date: 20040406

A61 First payment of annual fees (during grant procedure)

Free format text: JAPANESE INTERMEDIATE CODE: A61

Effective date: 20040416

R150 Certificate of patent or registration of utility model

Free format text: JAPANESE INTERMEDIATE CODE: R150

FPAY Renewal fee payment (event date is renewal date of database)

Free format text: PAYMENT UNTIL: 20090423

Year of fee payment: 5

FPAY Renewal fee payment (event date is renewal date of database)

Free format text: PAYMENT UNTIL: 20090423

Year of fee payment: 5

FPAY Renewal fee payment (event date is renewal date of database)

Free format text: PAYMENT UNTIL: 20100423

Year of fee payment: 6

FPAY Renewal fee payment (event date is renewal date of database)

Free format text: PAYMENT UNTIL: 20110423

Year of fee payment: 7

FPAY Renewal fee payment (event date is renewal date of database)

Free format text: PAYMENT UNTIL: 20130423

Year of fee payment: 9

LAPS Cancellation because of no payment of annual fees