JP3546880B2 - インクジェットプリンタ - Google Patents
インクジェットプリンタ Download PDFInfo
- Publication number
- JP3546880B2 JP3546880B2 JP2002270263A JP2002270263A JP3546880B2 JP 3546880 B2 JP3546880 B2 JP 3546880B2 JP 2002270263 A JP2002270263 A JP 2002270263A JP 2002270263 A JP2002270263 A JP 2002270263A JP 3546880 B2 JP3546880 B2 JP 3546880B2
- Authority
- JP
- Japan
- Prior art keywords
- electrostatic actuator
- ink
- charging
- circuit
- diaphragm
- Prior art date
- Legal status (The legal status is an assumption and is not a legal conclusion. Google has not performed a legal analysis and makes no representation as to the accuracy of the status listed.)
- Expired - Fee Related
Links
- 238000006073 displacement reaction Methods 0.000 claims description 30
- 238000007599 discharging Methods 0.000 claims description 24
- 238000001514 detection method Methods 0.000 claims description 8
- 230000010354 integration Effects 0.000 claims description 7
- 239000000758 substrate Substances 0.000 description 31
- 238000010586 diagram Methods 0.000 description 18
- 239000003990 capacitor Substances 0.000 description 8
- 238000000034 method Methods 0.000 description 8
- IJGRMHOSHXDMSA-UHFFFAOYSA-N Atomic nitrogen Chemical compound N#N IJGRMHOSHXDMSA-UHFFFAOYSA-N 0.000 description 6
- 238000002474 experimental method Methods 0.000 description 6
- 230000005499 meniscus Effects 0.000 description 5
- XUIMIQQOPSSXEZ-UHFFFAOYSA-N Silicon Chemical compound [Si] XUIMIQQOPSSXEZ-UHFFFAOYSA-N 0.000 description 4
- 230000001105 regulatory effect Effects 0.000 description 4
- 229910052710 silicon Inorganic materials 0.000 description 4
- 239000010703 silicon Substances 0.000 description 4
- ZOXJGFHDIHLPTG-UHFFFAOYSA-N Boron Chemical compound [B] ZOXJGFHDIHLPTG-UHFFFAOYSA-N 0.000 description 3
- 229910052796 boron Inorganic materials 0.000 description 3
- 239000005388 borosilicate glass Substances 0.000 description 3
- 230000000694 effects Effects 0.000 description 3
- PCHJSUWPFVWCPO-UHFFFAOYSA-N gold Chemical compound [Au] PCHJSUWPFVWCPO-UHFFFAOYSA-N 0.000 description 3
- 239000010931 gold Substances 0.000 description 3
- 229910052737 gold Inorganic materials 0.000 description 3
- 229910052757 nitrogen Inorganic materials 0.000 description 3
- 230000010355 oscillation Effects 0.000 description 3
- ZAMOUSCENKQFHK-UHFFFAOYSA-N Chlorine atom Chemical compound [Cl] ZAMOUSCENKQFHK-UHFFFAOYSA-N 0.000 description 2
- 230000001276 controlling effect Effects 0.000 description 2
- 239000007789 gas Substances 0.000 description 2
- BASFCYQUMIYNBI-UHFFFAOYSA-N platinum Chemical compound [Pt] BASFCYQUMIYNBI-UHFFFAOYSA-N 0.000 description 2
- VYZAMTAEIAYCRO-UHFFFAOYSA-N Chromium Chemical compound [Cr] VYZAMTAEIAYCRO-UHFFFAOYSA-N 0.000 description 1
- RTAQQCXQSZGOHL-UHFFFAOYSA-N Titanium Chemical compound [Ti] RTAQQCXQSZGOHL-UHFFFAOYSA-N 0.000 description 1
- 210000001015 abdomen Anatomy 0.000 description 1
- 238000013459 approach Methods 0.000 description 1
- 230000002238 attenuated effect Effects 0.000 description 1
- 239000000872 buffer Substances 0.000 description 1
- 230000015556 catabolic process Effects 0.000 description 1
- 239000004020 conductor Substances 0.000 description 1
- 238000005520 cutting process Methods 0.000 description 1
- 238000013016 damping Methods 0.000 description 1
- 238000007872 degassing Methods 0.000 description 1
- 230000003111 delayed effect Effects 0.000 description 1
- 230000005684 electric field Effects 0.000 description 1
- 239000007772 electrode material Substances 0.000 description 1
- 238000005530 etching Methods 0.000 description 1
- 230000001771 impaired effect Effects 0.000 description 1
- 230000006698 induction Effects 0.000 description 1
- 238000005304 joining Methods 0.000 description 1
- 230000007257 malfunction Effects 0.000 description 1
- 238000004519 manufacturing process Methods 0.000 description 1
- 239000007769 metal material Substances 0.000 description 1
- 230000003647 oxidation Effects 0.000 description 1
- 238000007254 oxidation reaction Methods 0.000 description 1
- 229910052697 platinum Inorganic materials 0.000 description 1
- 230000001681 protective effect Effects 0.000 description 1
- 230000004043 responsiveness Effects 0.000 description 1
- 239000004065 semiconductor Substances 0.000 description 1
- 229910052719 titanium Inorganic materials 0.000 description 1
- 239000010936 titanium Substances 0.000 description 1
- 239000002699 waste material Substances 0.000 description 1
Images
Landscapes
- Particle Formation And Scattering Control In Inkjet Printers (AREA)
Description
【発明の属する技術分野】
本発明はインクジェットプリンタに関し、特に静電気力をインクジェットヘッドに応用したインクジェットプリンタのインクジェットヘッド駆動装置に関する。
【0002】
【従来の技術】
従来、静電気力を応用したインクジェットヘッドとしては、クロル氏の発明に係る米国特許第4,520,375号及び特開平2−289351号に開示されているものが知られている。クロル氏の発明に係るインクジェットヘッドは、インク吐出室の一部を構成する振動板とこれに対向してインク吐出室外に設けられた対向板とから構成される静電アクチュエータを用い、振動板と対向板との間に時間と共に変化する電圧を印加することにより、吐出室につながるノズルからインク滴を吐出するものである。また、後者の特許出願に係るインクジェットヘッドは、インク吐出室に隣接して設けられた静電アクチュエータに電圧を印加することによって振動板をたわませ、インク吐出室内にインクを吸引した後、印加電圧を切ることによって振動板を復元させ、インク滴を吐出するものである。
【0003】
【発明が解決しようとする課題】
まず、インクジェットヘッドに用いる静電アクチュエータの動作原理を詳細に説明する。振動板は対向する電極との間に印加される電圧に起因して発生する静電気力により電極に吸引されて撓んだ状態となり、一方で、振動板は撓んだ状態では復元力を生ずる。従って、静電アクチュエータに電圧を印加した時の振動板の撓み量、即ち振動板の腹部の変位量(以下、単に振動板の変位量、又は振動板の変位と称する)は、静電気力と振動板の復元力とが釣り合う値となる。振動板の復元力Pと変位量xは振動板のコンプライアンスをCとすると、
[数1]
P=x/C …(1)
で表される。また、振動板と電極との間に発生する静電気力は、実効電圧をVa、振動板と電極との距離(以下、電気ギャップ長と称する)をδ、ギャップ内の誘電率をεとすると、
[数2]
P=ε/2{Va/(δ−x)}2 …(2)
で表される。この式(1)及び式(2)から振動板の変位の釣合の位置を求めることができる。
【0004】
図22は振動板の変位量と振動板の復元力との関係、及び振動板の変位量と発生する静電気力との関係を上式(1)及び(2)からそれぞれ求めた特性図である。横軸に振動板変位量xを、縦軸には振動板の復元力により発生する圧力、及び静電気力により発生する圧力をそれぞれ示してある。また、計算に使用したパラメータは実験に使ったものと同一であり、それは以下の通りである。
【0005】
C=5×10−18 [m5 /N],
δ=0.25[μm],
ε=8.85[pF/m]
【0006】
静電気力は印加電圧ごとに計算されており、図中の曲線でそれぞれ示されている。一方、振動板変位量と振動板復元力との関係は直線で示されており、この直線とこれらの曲線との交点のうち左側の交点が各印加電圧における振動板の撓み量(変位量)を示している。また、振動板の復元力と静電気力とが交わらない印加電圧(例えば35V)では、振動板の変位量に関わらず常に静電気力が振動板の復元力を上回っているので、変位は無限大となる。実際には対向する電極があるため、振動板は電極まで変位する。さて、このような静電アクチュエータを実際のプリンタのインクジェットヘッドに応用するに当たり、その駆動に関して例えば以下のような問題があった。
【0007】
静電アクチュエータの充電に用いる電源の電圧は諸々の要因によって初期的にも、また動的にも変動する。また、静電アクチュエータの電気機械特性は、実際には、製造ロット毎のバラツキや、経時変化が存在するので一定ではない。従って、このような要因によりインクの吐出が安定せず、印字品質が損なわれるという課題があった。
【0008】
【課題を解決するための手段】
本発明の目的は、静電アクチュエータへの充電時間を制御することによって上述の問題を解決し、安定したインクの吐出により高印字品質が安定的に得られ、低い駆動電圧で効率よく駆動することができるインクジェットプリンタを実現することにある。
【0009】
本発明のインクジェットプリンタは、ノズルと、このノズルに連通するインク流路と、インク流路の一部に設けられた振動板と、振動板とこの振動板に対向してインク流路外に設けられた電極とからなる静電アクチュエータとを有するインクジェットヘッドと、静電アクチュエータに対する電荷の充電を行う充電回路と、その電荷の放電を行う放電回路と、充電回路による充電の開始並びに停止のタイミング及び放電回路による放電の開始並びに停止のタイミングを制御する制御手段とを備え、静電アクチュエータに対し電圧を印加して振動板を静電気力により変形させ、ノズルからインク液滴を吐出し印刷を行うインクジェットプリンタにおいて、静電アクチュエータに充電された電荷量を検出する検出手段と、その検出手段によって検出された電荷量と前記振動板の変位量を定める所定の電荷量と比較する比較手段とを有し、制御手段が、比較手段の出力に基づいて、静電アクチュエータへの充電を停止するように構成されたことを特徴とする。
【0010】
これによれば、充電回路により静電アクチュエータに印加される充電パルスは、時間で規制されるのではなく、電荷量で規制されるため、振動板の変位量を常に正確に把握でき、これにより充電回路を構成する充電抵抗の値のバラツキや駆動電圧値の変動の影響を低減できるので更に安定したインク吐出が得られる。
【0011】
検出手段として、静電アクチュエータの端子間電圧を検出する電圧検出回路又は、静電アクチュエータへの充電電流の積分値を出力する積分回路を採用することができる。また、制御手段を、静電アクチュエータの充電の停止後、所定時間充電状態をホールドしてから、放電回路による静電アクチュエータの放電を開始するように構成してもよい。
【0012】
【発明の実施の形態】
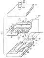
図1は本発明の一実施例におけるインクジェットヘッドの分解斜視図であり、一部断面図で示してある。本実施例はインク液滴を基板の端部に設けたノズル孔から吐出させるエッジイジェクトタイプのインクジェットヘッドの例を示すものである。図2は組み立てられたインクジェットヘッド全体の断面側面図、図3は図2のA−A線矢視図である。本実施例のインクジェットヘッド10は次に詳述する構造を持つ3枚の基板1、2、3を重ねて接合した積層構造となっている。
【0013】
中間の第1の基板1はシリコン基板であり、その表面には複数のノズル孔4を構成する互いに平行に等間隔で形成された複数のノズル溝11と、各々のノズル溝11に連通し、底壁を振動板5とする吐出室6を構成することになる凹部12と、凹部12の後部に設けられたオリフィス7を構成することになるインク流入口のための細溝13と、各々の吐出室6にインクを供給するための共通のインクキャビティ8を構成することになる凹部14とが設けられている。また、振動板5の下部には、後述する第2の基板2と接合した際に振動室9を構成することになる凹部15が設けられている。
【0014】
本実施例においては、振動板5とこれに対向して配置される個別電極との対向間隔、即ちギャップ部16の長さG(図3参照、電気ギャップ長)が、凹部15の深さと電極の厚さとの差として得られるように構成されている。当該電気ギャップ長を規定するための間隔保持手段として機能する振動室用凹部15は、本実施例に於いては第1の基板1の裏面側に構成されているが、別の例としては凹部を第2の基板2の上面に形成してもよい。ここでは、凹部15の深さをエッチングにより0.6μmとしている。なお、ノズル溝11のピッチは0.72mmであり、その幅は70μmである。
【0015】
また、第1の基板1に共通電極17を設ける技術としては、本実施例では、半導体としての第1の基板1及び電極として用いる金属材料それぞれの仕事関数の大小を勘案して、共通電極材料にはチタンを下付けとし白金、あるいはクロムを下付けとし金を使用している。もちろんこれ以外にも、周知の電極形成技術が応用できる。
【0016】
第2の基板2にはホウ珪酸系ガラスを使用し、この第2の基板2を第1の基板1の下面に接合することによって振動室9を構成するとともに、振動板5に対応する第2の基板2上の各々の部分に、金を0.1μm厚にスパッタし、振動板5とほぼ同じ形状に金パターンを形成して個別電極21としている。個別電極21はリード部22及び端子部23を持つ。更に、電極端子部23を除きホウ珪酸系ガラススパッタ膜を全面に0.2μm被覆して絶縁層24を形成し、インクジェットヘッド駆動時の絶縁破壊、ショート等を防止するための膜を形成している。
【0017】
第1の基板1の上面に接合される上側の第3の基板3は、第2の基板2と同じくホウ珪酸系ガラスを用いている。この第3の基板3を第1の基板1に接合することによって、ノズル孔4、吐出室6、オリフィス7及びインクキャビティ8が構成される。そして、第3の基板3にはインクキャビティ8に連通するインク供給口31が設けられる。インク供給口31は接続パイプ32及びチューブ33を介して図示しないインクタンクに接続される。
【0018】
次に、第1の基板1と第2の基板2とを温度300〜500℃、電圧500〜800Vを印加して陽極接合し、また同条件で第1の基板1と第3の基板3とを接合し、図3のようにインクジェットヘッドを組み立てる。陽極接合後の振動板5と第2の基板2上に形成された個別電極21との間に形成される電気ギャップ長Gは、凹部15の深さと個別電極21の厚さとの差であり、本実施例では0.5μmにしてある。また、振動板5と個別電極21を覆う絶縁層24とで形成される機械ギャップ長G1は0.3μmとなっている。
【0019】
上記の構成を有するインクジェットヘッドを駆動するために、共通電極17と個別電極21の端子部23とにそれぞれ配線101により駆動回路40を接続する。インク103は、図示しないインクタンクよりインク供給口31を経てインクキャビティ8、吐出室6等のインク流路に充満している。そして、吐出室6のインクは、図3に示されるように、インクジェットヘッド10の駆動時にノズル孔4よりインク液滴104となって吐出され、これにより記録紙105に印字が行われる。
【0020】
次に、本実施例に係る静電アクチュエータの動作について説明する。図4は本実施例における振動板及び個別電極の部分詳細模式図であり、電荷の様子を模式化して示したものである。ここでは、第1の基板1、即ち振動板5にP形シリコンを用い、共通電極17の電位を個別電極21の電位より高くした場合について図示されている。また、振動板5の個別電極と対向する側の面は酸化処理が施され、0.1乃至0.2μmの厚みの酸化膜5aが形成されている。この酸化膜5aは個別電極側に設けられた保護膜24と共に、振動板と電極とが接触した場合の、回路の短絡を防止している。本実施例のP形シリコンはボロン(B)が拡散されており、ボロンの数に等しい正孔を持っていることが知られている。P形シリコン中の正孔19は共通電極17から個別電極21へ向かう電界により、振動板5中を酸化膜5a側へ移動する。この正孔19の移動により生じたボロンの負の電荷は、基板電極17から供給される正電荷により中和されるので、第1の基板1はプラスに帯電し、空間電荷層を発生しないので導体とみなすこができる。また、個別電極21側はマイナスに帯電しており、この結果、印加した電圧により振動板5と個別電極間に静電引力が作用し、振動板5を個別電極21の方へ撓ませる。
【0021】
図21は上述のインクジェットヘッド10を応用したプリンタの概要図である。300は記録紙105を搬送する記録紙搬送手段としてのプラテン、301は内部にインクを貯蔵するインクタンクであり、インク供給チューブ306を介してインクジェットヘッド10にインクを供給する。インクジェットヘッド10はキャリッジ302に搭載され、ステッピングモータからなるキャリッジ駆動手段310により記録紙105の搬送方向と直行する方向に移動させられる。そしてこの移動に同期してノズル列からインクを適宜吐出して文字、図形を記録紙105上に印刷する。後述するように駆動回路はインクジェットヘッドの近傍に配置することが望ましいので、インクジェットヘッド10の内部に搭載している。同図にはオンデマンド方式のインクジェットヘッドを搭載したプリンタに特有の、インクジェットヘッドのノズルの目詰まり防止の為の装置が示されている。インクジェットヘッド10のノズルの目詰まりを防止するために、インクジェットヘッドをキャップ304の前に移動させ、インクの吐出動作を数回乃至数十回行う場合に、ポンプ303がキャップ304、廃インク回収チューブ308を介してインクを吸引し、排インク溜305に回収する。
【0022】
図5は本発明の実施例のプリンタの構成を示すブロック図である。印刷要求装置61はプリンタがターミナルプリンタである場合はホストコンピュータ等の外部の装置であり、またプリンタが装置に組み込まれたものであれば装置内部の計算処理部等である。
【0023】
印刷制御装置62は印刷要求装置61から印刷要求を受け取ると、記録紙搬送装置300とキャリッジ駆動装置310とに駆動信号を送出し、記録紙上の所定の位置にインクジェットヘッド10を搭載したキャリッジ302を移動させ、キャリッジ302を印刷方向に移動させながら印刷を行う。インクジェットヘッド10の個々の静電アクチュエータ27にはそれぞれ静電アクチュエータ駆動装置40が接続されている。印刷制御装置62は印刷データに応じて印刷を行うべきドットの位置に対応した1又は複数の静電アクチュエータ27の静電アクチュエータ駆動装置40に印刷開始信号S1を送出し、これを受けて静電アクチュエータ駆動装置は静電アクチュエータを駆動する。静電アクチュエータ駆動装置40は静電アクチュエータへの配線のインダクタンス分を低減させるため、キャリッジ上に搭載して当該配線の配線長を極力短くすることが望ましいが、本願発明はこれに限定されるものではなく、キャリッジ外に静電アクチュエータ駆動装置を配置しても良い。
【0024】
ところで、実際のプリンタにおいては、電源電圧は諸々の要因によって初期的にも、また動的にも変動する。この場合には、以下に説明するように、充電条件を変更する必要がある。
【0025】
図11は静電アクチュエータの振動板の変位を求めるための簡易的なモデルである。ここで、mはインクのイナータンスと振動板の質量との和、rはインクの流路抵抗、C0は振動板のコンプライアンス、eは誘電率、Vhは振動板と電極との間に印加されている電圧、Gは振動板と電極とのギャップ長、xは振動板の変位量である。このモデルに基づき運動方程式を求めると式(3)となる。
[数3]
mx”+rx’+(1/C0)x=
(1/2)e(Vh/(G−x))2 ・・・式(3)
x(0)=x’(0)=0
また、
[数4]
Vh=Vs・(1−e−t/RC) ・・・式(4)
ここで、Vsは充電に用いる電源の電圧、Rは充電抵抗43の抵抗値、Cは静電アクチュエータの静電容量である。
【0026】
式(3)及び式(4)から明らかなように、振動板5の変位量xは電源電圧Vsに依存しており、従って、振動板5が電極に当接する当接時間も電源電圧Vsによって変動する。図12に電源電圧と当接時間との関係の例を示す。この例では上記の各定数は以下の通りである。
【0027】
m=1.0×108 [Kg/m4]
r=1.5×1012 [N・s/m5]
C0=2.5×10−18 [m5/N]
R=3.9 [KΩ]
【0028】
図12によれば、通常駆動電圧30V付近では当接時間は1V当たり2usの割合で変化しており、従って、この当接を避けるためには充電時間を電源電圧に応じて充電条件、例えば充電抵抗値或いは充電時間などを変更する必要がある。以下に説明する実施例は斯かる課題を考慮にいれて行われたものである。
【0029】
図6に本実施例の静電アクチュエータ駆動装置のブロック図を示す。図13は本実施例によるインクジェットヘッドの駆動方法を示すタイミングチャートである。図6に示すように、静電アクチュエータ駆動装置はタイミングパルス発生手段63、充電回路64及び放電回路65、電圧検出回路66、比較回路67からなる。
【0030】
図13の時刻t20において印刷制御装置62からタイミングパルス発生手段63に印刷開始信号S1が送出されるとタイミングパルス発生手段63は充電信号51を充電回路64に送り、静電アクチュエータ27への充電を開始する。比較回路67は電圧検出回路66によって検出された静電アクチュエータ27の端子間電圧と所定の充電電荷q0に対応した電圧値とを比較し、静電アクチュエータ27に充電された電荷が所定量q0に達した時刻t21において、タイミングパルス発生手段63に対しリセット信号S4を送出する。これにより、タイミングパルス発生手段は充電信号51を非動作状態とし、静電アクチュエータへの充電を停止する。
【0031】
その後タイミングパルス発生手段63は放電回路65に所定の幅の放電パルスを送出する。放電回路65は静電アクチュエータ27に蓄えられている電荷を放電する。これにより、静電アクチュエータ27はインクの吸引及び吐出を行う。以下に、具体的な回路例を用いてその構成及び作用につき更に詳細に説明する。
【0032】
図7は充電回路64および放電回路65の一例であり、図8は、この充電及び放電回路への入力信号51、52と振動板5−電極21間の電圧波形53と、ノズル4先端に形成されたインク103のメニスカス102の振動を示すものであり、図9は、振動板5駆動時の吐出室6周りの各段階の状態を示すものである。
【0033】
時刻t0の以前、即ち待機状態ではトランジスタ42はOFF、45はONしているので、振動板5−電極21間に電圧は印加されず、従って振動板5は変位せず吐出室6の状態は図9(a)に示される様にインク103に全く圧力を与えない状態にある。
【0034】
t0の時刻において、充電信号51の立ち上がりでトランジスタ42がONするので、振動板5−電極21間に電圧が印加され、矢印A方向に電流が流れ、振動板5−電極21間に充電された電荷によって、振動板5−電極21間に働く静電引力により振動板5は電極21にひきつけられ、図9(b)に示される様に吐出室6の容積は増大し、吐出室6近傍のインク103は矢印方向に引きつけられる。この時、振動板5−電極21間の電圧53は、充電抵抗43とヘッド自体が持つ容量から決定される時定数によって図8のC部に示す如く変化し、振動板の変位に伴ってメニスカス102は図8のE部の様に変化する。
【0035】
時刻t1において、充電信号51をOFFし、同時に放電信号52をONする。この時、トランジスタ42がOFFするので、振動板5−電極21間の充電が停止し、一方トランジスタ45がONするので、振動板5−電極21間に蓄えられた電荷は放電抵抗46を介して矢印B方向に放電される。
【0036】
放電抵抗46と充電抵抗43との関係は、通常は放電抵抗46が充電抵抗43に比べかなり小さく設定されている。しかし、振動板に作用する静電気力は、振動板が電極に接近するほど、振動板と電極との距離の自乗に反比例して大きくなるため、振動板の電極近傍における電荷の充電速度及び放電速度が、インクの吸引及び吐出に関与する、吐出室内の圧力に特に大きく影響している。従って、これらの抵抗は必ずしも前記の関係を満足する必要はなく、振動板の電極近傍における電荷の充電速度が、当該電荷の放電速度より充分に小さい範囲であれば足りる。
【0037】
本実施例では充電時定数より放電時の時定数が小さいため、図8のD部に示すように充電に比べわずかな時間で放電される。この時、振動板は静電引力から一気に解放され、図9(c)に示す様に、振動板5自体の弾性力により待機位置に戻り、急激に吐出室6を押圧し、吐出室6内に発生した圧力によりインク液滴104をノズル4から吐出する。また、この時、メニスカス102の変位54は、図8のF部に示す様に変化し、インク103の粘性や表面張力等によりノズル4内に引き戻す力を吐出圧力が上回った時点でインクの吐出が発生し、以後、減衰振動をする。
【0038】
尚、図7において、放電抵抗47は、充電抵抗43、放電抵抗46に比べ充分に大きな値を持つ抵抗で、ヘッド駆動時の充放電にはほとんど影響せず、電源投入時等に、振動板5、電極21間に初期的にたまっている電荷をゆっくりと放電させる機能を有する抵抗である。この放電抵抗47により、静電アクチュエータの初期的な充電電荷をゼロに保持することができる。
【0039】
図10に本実施例におけるタイミングパルス発生手段の回路例を示す。周知の単安定マルチバイブレータ81のトリガー入力端子に印刷開始信号S1が入力されると外付けの抵抗及びコンデンサの定数で決定される時間幅を有する正相のパルスが充電信号として出力される。また、本実施例においては静電アクチュエータへの充電の停止と同時に放電を開始するので、充電信号と逆相のパルスを放電信号として用いることができる。
【0040】
実験によると、駆動電圧30V、充電抵抗50Ω、充電時間15μs、及び充電抵抗5KΩ、充電時間45μsecの諸駆動条件において、駆動周波数3KHzにて安定した吐出が確認できた。
【0041】
図14に本実施例の電圧検出回路66及び比較回路67の回路例を示す。静電アクチュエータ27の端子間電圧は分圧された後ボルテージフォロア84を経てコンパレータ85に入力される。そしてコンパレータ85において充電電荷量q0に対応する電圧値と比較される。比較の結果、充電電圧が所定の値に達していた場合には、コンパレータ85は低レベルのリセット信号をタイミングパルス発生手段に送出する。前述した図10又は後述する図18のタイミングパルス発生手段の回路例において、リセット信号は単安定マルチバイブレータ81、82のリセット端子に入力され、充電信号51は非動作状態となる。また、図13のマイクロプロセッサを用いたタイミングパルス発生手段の例では、ST4においてリセット信号の有無が検査され、リセット信号があれば直ちに充電を停止する。
【0042】
上述のように、端子間電圧と振動板の変位量は図22に示すように1対1に対応しており、振動板の変位量は端子間電圧から一義的に導き出せる。また、端子間電圧と電荷量との関係は、図23に示すように振動板の変位量から一義的に定まる。従って、上記の構成によれば、充電パルスを時間で規制するのではなく、電荷量と1対1に対応する端子間電圧で規制するため、振動板5の変位量を常に正確に把握でき、これにより充電抵抗43の値のバラツキや駆動電圧値の変動の影響を低減できるので更に安定したインク吐出が得られる。
【0043】
また、後述するように、放電信号を動作状態とする前に所定のホールド時間を設けることによって、インク吐出を更に効率よく行うことができる。
【0044】
また、静電アクチュエータに充電される電荷量を測定する手段として、静電アクチュエータの端子間電圧に代えて充電電流の積分値を検出する手段を用いることも可能である。図15に斯かる構成のブロック図を示す。タイミングパルス発生手段63は時刻t20において充電信号51を動作状態とすると共に電流積分回路68に対してリセット信号を送出する。これにより、充電回路64は静電アクチュエータへの充電を開始し、電流積分回路68は静電アクチュエータへの充電電流の積分を開始する。充電電流の積分値即ち充電電荷量は比較回路67において所定の電荷量q0と比較され、リセット信号が生成される。以降の動作は上記の電圧検出による実施例と同様である。
【0045】
図16に電流積分回路68の回路例を示す。充電経路中に設けられた電流検出抵抗87により発生する電流に比例した電圧は作動増幅器86及び定電流ドライバ90によって電流値に変換されコンデンサ88に充電される。このコンデンサ88はタイミングパルス発生手段63からのリセット信号により放電トランジスタ89がターンオンして放電される。コンデンサ88によって積分された充電電流に比例した電流は、比較回路67によって所定の値と比較され、タイミングパルス発生回路へのリセット信号が生成される。
【0046】
ところで、図8のt1の時刻において、充電信号51のOFFのみを行い、放電信号52をOFFのまま維持すると、メニスカス102の変位54は、図8の破線部の様に減衰振動する。これらの減衰振動の周期Tは主として流路の形状、インクの粘性により決まる。この現象に鑑み、インクの吸引を減衰振動の周期Tの1/4(t2の時刻)、好ましくは1/4よりやや長い時間の経過する時点まで行い、吸引終了と同時のタイミングでインクを加圧すると、インク系の振動エネルギーをインクの吐出に有効に用いることができ、最も駆動効率がよく、低電力でインクを吐出できることが公知例(特公平2−24218号)に記載されている。
【0047】
しかし、静電アクチュエータを用いたインクジェットヘッドでは、駆動電圧を振動板が定常状態で対向する電極と当接するに充分大きな値に設定されているので、当接前に駆動電圧の印加を停止する必要があるが、この時点ではインク系の振動の位相は常に振動板の位相より遅れており、このような効率の良い駆動が困難である。従って、この効率の良い駆動方法を実現するためには、タイミングパルス発生手段を更に改良する必要がある。
【0048】
図17は本実施例を改良した静電アクチュエータの駆動方法を示すタイミングチャートであり、S1は印刷開始信号である。また、S2は充電信号51及び放電信号52の状態を模式的に表した信号であり、高レベルは充電信号を、低レベルは放電信号を、中間レベルはホールド状態をそれぞれ表す。尚、静電アクチュエータ駆動装置40の回路構成はタイミングパルス発生手段63を除いては上述の駆動装置と同一である。
【0049】
時刻t10において印刷開始信号S1が印刷制御装置62から印刷を行うべき静電アクチュエータに対応する静電アクチュエータ駆動装置のタイミングパルス発生手段へ送出されると、タイミング発生手段63は充電回路64に対し充電信号を送出する。インクの吸引に必要な所定の時間の経過後、時刻t11においてタイミングパルス発生手段63は充電信号を停止して充電及び放電回路を共に非動作状態とし、静電アクチュエータ27をホールド状態とする。インク系の位相遅れ回復する時間の経過後、時刻t13においてタイミングパルス発生手段63は放電回路65に放電信号52を送出し、静電アクチュエータに蓄えられた電荷の放電を開始する。
【0050】
このように充電終了後一定の時間充電状態をホールドした後放電を開始する駆動方法を用いれば、効率よくインクを吐出することができる。なぜならば、振動板5の振動とインク系の振動がインクの粘性と流路の形状とから定まる流路抵抗により、インク系の振動の位相が振動板5の振動の位相に対しやや遅れるため、振動板5の変位を電極21に接触しない位置で停止させた後、インク系の振動の振幅が最大になるのを待って、インクを加圧すれば、インク系の振動エネルギーをインク吐出に有効に利用できるためである。
【0051】
本実施例のタイミングパルス発生手段の例を図18に示す。周知の第1の単安定マルチバイブレータ82のトリガー入力端子に印刷開始信号S1が入力されると、外付け抵抗及びコンデンサにより決定される時間幅の充電パルスが正相信号として出力される。これと同時に周知の第2の単安定マルチバイブレータ83にも同様に印刷開始信号S1が入力され、外付け素子で定まる時間幅の放電信号が逆相出力端子から放電回路に出力される。斯る回路構成において、第1の単安定マルチバイブレータ82の発生するパルスのパルス幅を第2の単安定マルチバイブレータ83のそれよりホールド時間だけ短く設定している。
【0052】
尚、図17に示す本実施例のタイミングチャート中、充放電状態を表す信号S2より明かなように、本実施例においては放電を行ってから次の充電を開始するまでの間、即ちt14からt12までの間も放電状態を保持している。これにより、静電アクチュエータの電極間のインピーダンスは低く保たれ、外来ノイズ、誘導ノイズ等の影響による誤動作を防止することができる。
【0053】
ところで、充電抵抗の値は静電アクチュエータ方式のインクジェットヘッドの印刷特性を左右する重要な要因である。以下にその理由及び当該充電抵抗値の設定方法につき説明する。
【0054】
図19は充電時の電極21−振動板5間の電荷量の変化を示すグラフである。図7に示される充電回路において、充電時の時定数を決定する充電抵抗43の値が小さいと電荷量の変化は実線55の如く変化し、充電抵抗43の値が大きいと電荷量の変化は実線57の如く変化する。
【0055】
電荷量の変化が実線57のように緩やかに変化すると、時刻t41ではインクの吸引に充分な電荷が得られないため、充分な量のインクを吐出できる程の吐出室6の容積変化が得られず、この状態でインク吐出を行うと著しく印字品質が劣化するか又はインクの吐出が行われない場合もある。そこで充分な電荷を得るためには充電パルス幅を時刻t43まで伸ばさなければならず、そのためにヘッドの応答性が損なわれ、所望の印字速度が得られない。実験及び計算で確認された値によると、振動板5−電極21から構成されるコンデンサの容量に対して9割程度の電荷q1が充電されれば充分な量のインク吸引が行われる。従って、式(5)から充電抵抗と静電アクチュエータ容量とからなる充電回路の時定数(RC)と充電時間(T0)との比を求めれば、式(6)が得られ、充電抵抗の最大値が定まる。
[数5]
q=q0(1−e−T0/RC) ・・・式(5)
q>=0.9q0
T0/RC>=2.3 ・・・式(6)
RC<=0.43T0
【0056】
一方、電荷量の変化が線91のように急激に変化すると、図20に示すように、流路内のインクを急激に振動板周辺に引き寄せることになる。この際、インクを吸引しようとする、大気圧より低い圧力(負圧)により、流路と連通したノズルから気泡106が入り込むか、インク内に溶け込んで存在する窒素等の気体が流路内のインクの急激な振動により気泡106となって流路内に現れる。前述のように、このような状態では、振動板と電極間に蓄えられた電荷を放電して流路の容積を待機状態に戻しても発生したインクを押し出すように働く圧力が気泡106によって吸収され、インクが吐出しないという現象が生じる。このため、充電回路の時定数の下限も規定する必要がある。実験で確認されたところによると、インク内に含まれる窒素等の気体を脱気処理によって取り除き、発泡し難くしたインクを用いた場合でも、2×105 パスカル以上の負圧をかけると、インク流路内に気泡が発生しインクの吐出が不可能になる。
【0057】
実験に用いた静電アクチュエータ方式のインクジェットヘッドでは、ヘッド印加電圧30V、充電時間T0を15μsec、抵抗43を50Ωとした条件にて実験を行ったところ気泡の発生はなく、充分安定した吐出が得られた。この時、電極21−振動板5で構成されるコンデンサの容量を測定したところおよそ270pF程度で、時定数を計算すると、0.0135μsec程度になる。
【0058】
従って、本発明のインクジェットヘッドの駆動方法は、充電抵抗43の値を充電回路の時定数の上限が充電パルス幅の1/2以下となるように規定し、下限をインク吸引時にインクにかかる負圧を2×105 パスカル以下になるように規定したことにより、安定したインク吐出を得られるものである。
【0059】
以上述べたように、本発明は静電アクチュエータを実際のプリンタのインクジェットヘッドに応用するに当たって解決しなければならない駆動上の問題を解決すべくなされたものであり、これにより静電アクチュエータを用いた実用的なインクジェットヘッド駆動装置及びこれを応用したインクジェットプリンタを実現することができた。
【0060】
【発明の効果】
以上述べたように、本発明のインクジェットプリンタは、静電アクチュエータに充電された電荷量を検出する検出手段と、その検出手段によって検出された電荷量と所定の値と比較する比較手段とを有し、制御手段が、比較手段の出力に基づいて、静電アクチュエータへの充電を停止するように構成されているので、充電回路により静電アクチュエータに印加される充電パルスは、時間で規制されるのではなく、電荷量で規制される。これにより、振動板の変位量を常に正確に把握でき、これにより充電回路を構成する充電抵抗の値のバラツキや駆動電圧値の変動の影響を低減できるので、更に安定したインク吐出が得られる。
【図面の簡単な説明】
【図1】本発明に係るインクジェットプリンタに用いるインクジェットヘッドの分解斜視図。
【図2】本発明のインクジェットプリンタに係るインクジェットヘッドの断面側面図。
【図3】図2のA−A線矢視図。
【図4】本発明のインクジェットプリンタに係る振動板と個別電極の部分詳細模式図。
【図5】本発明に係るインクジェットプリンタの機能ブロック図。
【図6】本発明の第1の実施例に係る静電アクチュエータ駆動装置のブロック図。
【図7】本発明の第1の実施例に係る静電アクチュエータ駆動装置の充電回路及び放電回路の例を示す回路図。
【図8】本発明に係る静電アクチュエータ駆動装置への入力信号と振動板−電極の電圧波形と、ノズル先端に形成されたインクのメニスカスの振動を示すタイミング図。
【図9】第1の実施例の動作原理を示すインクジェットヘッドの断面側面図。
【図10】本発明に係る静電アクチュエータ駆動装置のタイミングパルス発生手段の回路例を示す回路図。
【図11】静電アクチュエータの振動板の変位を求めるための簡易モデルを示す図。
【図12】静電アクチュエータに印加する駆動電圧と振動板−電極当接時間との関係を示す図。
【図13】本発明に係る、図6及び図15に示す静電アクチュエータ駆動装置への入力信号と振動板−電極の電圧波形を示すタイミング図。
【図14】本発明に係る静電アクチュエータ駆動装置の電圧検出回路及び比較回路の回路例を示す図。
【図15】本発明の第2の実施例に係る他の静電アクチュエータ駆動装置のブロック図。
【図16】本発明に係る静電アクチュエータ駆動装置の電流積分回路及び比較回路の回路例を示す図。
【図17】本発明の他の実施例に係る静電アクチュエータ駆動装置への入力信号と振動板−電極の電圧波形を示すタイミング図。
【図18】本発明の他の実施例に係る静電アクチュエータ駆動装置のタイミングパルス発生手段の回路例を示す回路図。
【図19】本発明のインクジェットプリンタの充電抵抗値に対するインクジェットヘッド充電時の電極21−振動板5間の電荷量の変化を示す図。
【図20】流路内に気泡が発生したインクジェットヘッドの断面側面図。
【図21】本発明のインクジェットプリンタの機構の概要を示す図。
【図22】振動板の変位量と静電吸引力及び振動板の復元力との関係を示した特性図。
【図23】振動板の変位量とアクチュエータの静電容量との関係を示した特性図。
【符号の説明】
1 第1の基板
2 第2の基板
3 第3の基板
4 ノズル孔
5 振動板
6 吐出室
9 振動室
10 インクジェットヘッド
21 個別電極
24 絶縁膜
27 静電アクチュエータ
40 静電アクチュエータ駆動装置
41 インバータ
42、45 トランジスタ
43 充電抵抗
44 バッファ
46、47 放電抵抗
51 充電信号
52 放電信号
53 電極−振動板間電圧(Vh)
61 印刷要求装置
62 印刷制御装置
63 タイミングパルス発生手段
64 充電回路
65 放電回路
66 電圧検出回路
67、69 比較回路
68 電流積分回路
81、82、83 単安定マルチバイブレータ
84、86、90 オペアンプ
85 コンパレータ
87 電流検出抵抗
88 電流積分コンデンサ
89 放電トランジスタ
102 メニスカス
103 インク
104 インク液滴
105 記録紙
302 キャリッジ
310 キャリッジ駆動手段
Claims (4)
- ノズルと、該ノズルに連通するインク流路と、該インク流路の一部に設けられた振動板と、該振動板と該振動板に対向して該インク流路外に設けられた電極とからなる静電アクチュエータとを有するインクジェットヘッドと、
前記静電アクチュエータに対する電荷の充電を行う充電回路と、
前記静電アクチュエータに対する電荷の放電を行う放電回路と、
前記充電回路による充電の開始並びに停止のタイミング及び前記放電回路による放電の開始並びに停止のタイミングを制御する制御手段とを備え、前記静電アクチュエータに対し電圧を印加して前記振動板を静電気力により変形させ、前記ノズルからインク液滴を吐出し印刷を行うインクジェットプリンタにおいて、
前記静電アクチュエータに充電された電荷量を検出する検出手段と、
当該検出手段によって検出された電荷量と、前記振動板の変位量を定める所定の電荷量と比較する比較手段とを有し、
前記制御手段は、前記比較手段の出力に基づいて、前記静電アクチュエータへの充電を停止するように構成されたことを特徴とするインクジェットプリンタ。 - 請求項1記載のインクジェットプリンタにおいて、前記検出手段が、静電アクチュエータの端子間電圧を検出する電圧検出回路であることを特徴とするインクジェットプリンタ。
- 請求項1記載のインクジェットプリンタにおいて、前記検出手段が、静電アクチュエータへの充電電流の積分値を出力する積分回路であることを特徴とするインクジェットプリンタ。
- 請求項1乃至3いずれか1項記載のインクジェットプリンタにおいて、前記制御手段は、前記静電アクチュエータの充電の停止後、所定時間充電状態をホールドしてから、前記放電回路による静電アクチュエータの放電を開始するように構成されたことを特徴とするインクジェットプリンタ。
Priority Applications (1)
| Application Number | Priority Date | Filing Date | Title |
|---|---|---|---|
| JP2002270263A JP3546880B2 (ja) | 1993-06-16 | 2002-09-17 | インクジェットプリンタ |
Applications Claiming Priority (3)
| Application Number | Priority Date | Filing Date | Title |
|---|---|---|---|
| JP5-145212 | 1993-06-16 | ||
| JP14521293 | 1993-06-16 | ||
| JP2002270263A JP3546880B2 (ja) | 1993-06-16 | 2002-09-17 | インクジェットプリンタ |
Related Parent Applications (1)
| Application Number | Title | Priority Date | Filing Date |
|---|---|---|---|
| JP2001323940A Division JP2002137395A (ja) | 1993-06-16 | 2001-10-22 | インクジェットプリンタ及びその制御方法 |
Publications (2)
| Publication Number | Publication Date |
|---|---|
| JP2003094658A JP2003094658A (ja) | 2003-04-03 |
| JP3546880B2 true JP3546880B2 (ja) | 2004-07-28 |
Family
ID=26476397
Family Applications (1)
| Application Number | Title | Priority Date | Filing Date |
|---|---|---|---|
| JP2002270263A Expired - Fee Related JP3546880B2 (ja) | 1993-06-16 | 2002-09-17 | インクジェットプリンタ |
Country Status (1)
| Country | Link |
|---|---|
| JP (1) | JP3546880B2 (ja) |
Families Citing this family (2)
| Publication number | Priority date | Publication date | Assignee | Title |
|---|---|---|---|---|
| JP2005077284A (ja) | 2003-09-01 | 2005-03-24 | Seiko Epson Corp | 粒子アレイの製造装置及び製造方法と標的物質の検出方法 |
| JP5164635B2 (ja) * | 2008-03-28 | 2013-03-21 | 富士フイルム株式会社 | 信号処理装置、液滴吐出装置及び信号処理方法 |
-
2002
- 2002-09-17 JP JP2002270263A patent/JP3546880B2/ja not_active Expired - Fee Related
Also Published As
| Publication number | Publication date |
|---|---|
| JP2003094658A (ja) | 2003-04-03 |
Similar Documents
| Publication | Publication Date | Title |
|---|---|---|
| US5668579A (en) | Apparatus for and a method of driving an ink jet head having an electrostatic actuator | |
| US5975668A (en) | Ink jet printer and its control method for detecting a recording condition | |
| JP2854575B2 (ja) | インクジエツト記録装置 | |
| WO1995034427A1 (en) | Method of driving ink jet head | |
| WO2000034046A1 (fr) | Tete d'impression a jet d'encre, imprimante a jet d'encre, et procede d'entrainement | |
| US6945627B2 (en) | Ink jet recording apparatus and ink jet recording method | |
| EP0629503B1 (en) | Inkjet recording apparatus having electrostatic actuating means and method of controlling it | |
| JPH05338165A (ja) | 液体噴射記録ヘッドの駆動方法 | |
| JPH07132598A (ja) | インクジェットプリンタ及びその制御方法 | |
| JP3395463B2 (ja) | インクジェットヘッドおよびその駆動方法 | |
| JP3546880B2 (ja) | インクジェットプリンタ | |
| US6805420B2 (en) | Drive unit for liquid ejection head and liquid ejection apparatus provided with such unit | |
| JP2003094633A (ja) | 静電インクジェットヘッドおよび記録装置 | |
| JP4075262B2 (ja) | インクジェットヘッド | |
| JP3252628B2 (ja) | 印刷装置及びその駆動方法 | |
| JP3473045B2 (ja) | インクジェットプリンタ及びその駆動方法 | |
| JP3976817B2 (ja) | インクジェット式記録装置 | |
| JP2002137395A (ja) | インクジェットプリンタ及びその制御方法 | |
| JP3254937B2 (ja) | 印刷装置及びその駆動方法 | |
| JP3473084B2 (ja) | インクジェットヘッド | |
| JP2003094659A (ja) | インクジェットプリンタ及びその制御方法 | |
| JP4541856B2 (ja) | 圧電インクジェットヘッドの駆動方法 | |
| JP2003094660A (ja) | インクジェットプリンタ及びその制御方法 | |
| JP2003094657A (ja) | インクジェットプリンタ | |
| JP2002144604A (ja) | 気泡検出手段を備えた液体噴射装置 |
Legal Events
| Date | Code | Title | Description |
|---|---|---|---|
| TRDD | Decision of grant or rejection written | ||
| A01 | Written decision to grant a patent or to grant a registration (utility model) |
Free format text: JAPANESE INTERMEDIATE CODE: A01 Effective date: 20040323 |
|
| A61 | First payment of annual fees (during grant procedure) |
Free format text: JAPANESE INTERMEDIATE CODE: A61 Effective date: 20040405 |
|
| R150 | Certificate of patent (=grant) or registration of utility model |
Free format text: JAPANESE INTERMEDIATE CODE: R150 |
|
| FPAY | Renewal fee payment (prs date is renewal date of database) |
Year of fee payment: 4 Free format text: PAYMENT UNTIL: 20080423 |
|
| FPAY | Renewal fee payment (prs date is renewal date of database) |
Year of fee payment: 5 Free format text: PAYMENT UNTIL: 20090423 |
|
| FPAY | Renewal fee payment (prs date is renewal date of database) |
Year of fee payment: 5 Free format text: PAYMENT UNTIL: 20090423 |
|
| FPAY | Renewal fee payment (prs date is renewal date of database) |
Free format text: PAYMENT UNTIL: 20100423 Year of fee payment: 6 |
|
| FPAY | Renewal fee payment (prs date is renewal date of database) |
Free format text: PAYMENT UNTIL: 20110423 Year of fee payment: 7 |
|
| LAPS | Cancellation because of no payment of annual fees |