JP2025041295A - 弾性波デバイス、フィルタ、マルチプレクサ、および弾性波デバイスの製造方法 - Google Patents
弾性波デバイス、フィルタ、マルチプレクサ、および弾性波デバイスの製造方法 Download PDFInfo
- Publication number
- JP2025041295A JP2025041295A JP2023148488A JP2023148488A JP2025041295A JP 2025041295 A JP2025041295 A JP 2025041295A JP 2023148488 A JP2023148488 A JP 2023148488A JP 2023148488 A JP2023148488 A JP 2023148488A JP 2025041295 A JP2025041295 A JP 2025041295A
- Authority
- JP
- Japan
- Prior art keywords
- film
- piezoelectric layer
- lower electrode
- upper electrode
- wave device
- Prior art date
- Legal status (The legal status is an assumption and is not a legal conclusion. Google has not performed a legal analysis and makes no representation as to the accuracy of the status listed.)
- Pending
Links
Images
Classifications
-
- H—ELECTRICITY
- H03—ELECTRONIC CIRCUITRY
- H03H—IMPEDANCE NETWORKS, e.g. RESONANT CIRCUITS; RESONATORS
- H03H9/00—Networks comprising electromechanical or electro-acoustic elements; Electromechanical resonators
- H03H9/15—Constructional features of resonators consisting of piezoelectric or electrostrictive material
- H03H9/17—Constructional features of resonators consisting of piezoelectric or electrostrictive material having a single resonator
- H03H9/171—Constructional features of resonators consisting of piezoelectric or electrostrictive material having a single resonator implemented with thin-film techniques, i.e. of the film bulk acoustic resonator [FBAR] type
-
- H—ELECTRICITY
- H03—ELECTRONIC CIRCUITRY
- H03H—IMPEDANCE NETWORKS, e.g. RESONANT CIRCUITS; RESONATORS
- H03H3/00—Apparatus or processes specially adapted for the manufacture of impedance networks, resonating circuits, resonators
- H03H3/007—Apparatus or processes specially adapted for the manufacture of impedance networks, resonating circuits, resonators for the manufacture of electromechanical resonators or networks
- H03H3/02—Apparatus or processes specially adapted for the manufacture of impedance networks, resonating circuits, resonators for the manufacture of electromechanical resonators or networks for the manufacture of piezoelectric or electrostrictive resonators or networks
-
- H—ELECTRICITY
- H03—ELECTRONIC CIRCUITRY
- H03H—IMPEDANCE NETWORKS, e.g. RESONANT CIRCUITS; RESONATORS
- H03H9/00—Networks comprising electromechanical or electro-acoustic elements; Electromechanical resonators
- H03H9/02—Details
- H03H9/02007—Details of bulk acoustic wave devices
- H03H9/02015—Characteristics of piezoelectric layers, e.g. cutting angles
-
- H—ELECTRICITY
- H03—ELECTRONIC CIRCUITRY
- H03H—IMPEDANCE NETWORKS, e.g. RESONANT CIRCUITS; RESONATORS
- H03H9/00—Networks comprising electromechanical or electro-acoustic elements; Electromechanical resonators
- H03H9/02—Details
- H03H9/02007—Details of bulk acoustic wave devices
- H03H9/02086—Means for compensation or elimination of undesirable effects
-
- H—ELECTRICITY
- H03—ELECTRONIC CIRCUITRY
- H03H—IMPEDANCE NETWORKS, e.g. RESONANT CIRCUITS; RESONATORS
- H03H9/00—Networks comprising electromechanical or electro-acoustic elements; Electromechanical resonators
- H03H9/02—Details
- H03H9/02007—Details of bulk acoustic wave devices
- H03H9/02086—Means for compensation or elimination of undesirable effects
- H03H9/02094—Means for compensation or elimination of undesirable effects of adherence
-
- H—ELECTRICITY
- H03—ELECTRONIC CIRCUITRY
- H03H—IMPEDANCE NETWORKS, e.g. RESONANT CIRCUITS; RESONATORS
- H03H9/00—Networks comprising electromechanical or electro-acoustic elements; Electromechanical resonators
- H03H9/02—Details
- H03H9/125—Driving means, e.g. electrodes, coils
- H03H9/13—Driving means, e.g. electrodes, coils for networks consisting of piezoelectric or electrostrictive materials
- H03H9/131—Driving means, e.g. electrodes, coils for networks consisting of piezoelectric or electrostrictive materials consisting of a multilayered structure
-
- H—ELECTRICITY
- H03—ELECTRONIC CIRCUITRY
- H03H—IMPEDANCE NETWORKS, e.g. RESONANT CIRCUITS; RESONATORS
- H03H9/00—Networks comprising electromechanical or electro-acoustic elements; Electromechanical resonators
- H03H9/15—Constructional features of resonators consisting of piezoelectric or electrostrictive material
- H03H9/17—Constructional features of resonators consisting of piezoelectric or electrostrictive material having a single resonator
- H03H9/171—Constructional features of resonators consisting of piezoelectric or electrostrictive material having a single resonator implemented with thin-film techniques, i.e. of the film bulk acoustic resonator [FBAR] type
- H03H9/172—Means for mounting on a substrate, i.e. means constituting the material interface confining the waves to a volume
- H03H9/173—Air-gaps
-
- H—ELECTRICITY
- H03—ELECTRONIC CIRCUITRY
- H03H—IMPEDANCE NETWORKS, e.g. RESONANT CIRCUITS; RESONATORS
- H03H9/00—Networks comprising electromechanical or electro-acoustic elements; Electromechanical resonators
- H03H9/15—Constructional features of resonators consisting of piezoelectric or electrostrictive material
- H03H9/17—Constructional features of resonators consisting of piezoelectric or electrostrictive material having a single resonator
- H03H9/171—Constructional features of resonators consisting of piezoelectric or electrostrictive material having a single resonator implemented with thin-film techniques, i.e. of the film bulk acoustic resonator [FBAR] type
- H03H9/172—Means for mounting on a substrate, i.e. means constituting the material interface confining the waves to a volume
- H03H9/174—Membranes
-
- H—ELECTRICITY
- H03—ELECTRONIC CIRCUITRY
- H03H—IMPEDANCE NETWORKS, e.g. RESONANT CIRCUITS; RESONATORS
- H03H9/00—Networks comprising electromechanical or electro-acoustic elements; Electromechanical resonators
- H03H9/15—Constructional features of resonators consisting of piezoelectric or electrostrictive material
- H03H9/17—Constructional features of resonators consisting of piezoelectric or electrostrictive material having a single resonator
- H03H9/171—Constructional features of resonators consisting of piezoelectric or electrostrictive material having a single resonator implemented with thin-film techniques, i.e. of the film bulk acoustic resonator [FBAR] type
- H03H9/172—Means for mounting on a substrate, i.e. means constituting the material interface confining the waves to a volume
- H03H9/175—Acoustic mirrors
-
- H—ELECTRICITY
- H03—ELECTRONIC CIRCUITRY
- H03H—IMPEDANCE NETWORKS, e.g. RESONANT CIRCUITS; RESONATORS
- H03H9/00—Networks comprising electromechanical or electro-acoustic elements; Electromechanical resonators
- H03H9/46—Filters
- H03H9/54—Filters comprising resonators of piezoelectric or electrostrictive material
-
- H—ELECTRICITY
- H03—ELECTRONIC CIRCUITRY
- H03H—IMPEDANCE NETWORKS, e.g. RESONANT CIRCUITS; RESONATORS
- H03H9/00—Networks comprising electromechanical or electro-acoustic elements; Electromechanical resonators
- H03H9/46—Filters
- H03H9/54—Filters comprising resonators of piezoelectric or electrostrictive material
- H03H9/56—Monolithic crystal filters
- H03H9/564—Monolithic crystal filters implemented with thin-film techniques
-
- H—ELECTRICITY
- H03—ELECTRONIC CIRCUITRY
- H03H—IMPEDANCE NETWORKS, e.g. RESONANT CIRCUITS; RESONATORS
- H03H9/00—Networks comprising electromechanical or electro-acoustic elements; Electromechanical resonators
- H03H9/46—Filters
- H03H9/54—Filters comprising resonators of piezoelectric or electrostrictive material
- H03H9/56—Monolithic crystal filters
- H03H9/566—Electric coupling means therefor
- H03H9/568—Electric coupling means therefor consisting of a ladder configuration
-
- H—ELECTRICITY
- H03—ELECTRONIC CIRCUITRY
- H03H—IMPEDANCE NETWORKS, e.g. RESONANT CIRCUITS; RESONATORS
- H03H3/00—Apparatus or processes specially adapted for the manufacture of impedance networks, resonating circuits, resonators
- H03H3/007—Apparatus or processes specially adapted for the manufacture of impedance networks, resonating circuits, resonators for the manufacture of electromechanical resonators or networks
- H03H3/02—Apparatus or processes specially adapted for the manufacture of impedance networks, resonating circuits, resonators for the manufacture of electromechanical resonators or networks for the manufacture of piezoelectric or electrostrictive resonators or networks
- H03H2003/021—Apparatus or processes specially adapted for the manufacture of impedance networks, resonating circuits, resonators for the manufacture of electromechanical resonators or networks for the manufacture of piezoelectric or electrostrictive resonators or networks the resonators or networks being of the air-gap type
-
- H—ELECTRICITY
- H03—ELECTRONIC CIRCUITRY
- H03H—IMPEDANCE NETWORKS, e.g. RESONANT CIRCUITS; RESONATORS
- H03H3/00—Apparatus or processes specially adapted for the manufacture of impedance networks, resonating circuits, resonators
- H03H3/007—Apparatus or processes specially adapted for the manufacture of impedance networks, resonating circuits, resonators for the manufacture of electromechanical resonators or networks
- H03H3/02—Apparatus or processes specially adapted for the manufacture of impedance networks, resonating circuits, resonators for the manufacture of electromechanical resonators or networks for the manufacture of piezoelectric or electrostrictive resonators or networks
- H03H2003/023—Apparatus or processes specially adapted for the manufacture of impedance networks, resonating circuits, resonators for the manufacture of electromechanical resonators or networks for the manufacture of piezoelectric or electrostrictive resonators or networks the resonators or networks being of the membrane type
-
- H—ELECTRICITY
- H03—ELECTRONIC CIRCUITRY
- H03H—IMPEDANCE NETWORKS, e.g. RESONANT CIRCUITS; RESONATORS
- H03H3/00—Apparatus or processes specially adapted for the manufacture of impedance networks, resonating circuits, resonators
- H03H3/007—Apparatus or processes specially adapted for the manufacture of impedance networks, resonating circuits, resonators for the manufacture of electromechanical resonators or networks
- H03H3/02—Apparatus or processes specially adapted for the manufacture of impedance networks, resonating circuits, resonators for the manufacture of electromechanical resonators or networks for the manufacture of piezoelectric or electrostrictive resonators or networks
- H03H2003/025—Apparatus or processes specially adapted for the manufacture of impedance networks, resonating circuits, resonators for the manufacture of electromechanical resonators or networks for the manufacture of piezoelectric or electrostrictive resonators or networks the resonators or networks comprising an acoustic mirror
Landscapes
- Physics & Mathematics (AREA)
- Acoustics & Sound (AREA)
- Engineering & Computer Science (AREA)
- Manufacturing & Machinery (AREA)
- Chemical & Material Sciences (AREA)
- Crystallography & Structural Chemistry (AREA)
- Surface Acoustic Wave Elements And Circuit Networks Thereof (AREA)
- Piezo-Electric Or Mechanical Vibrators, Or Delay Or Filter Circuits (AREA)
Abstract
【課題】下部電極と上部電極の短絡を抑制することが可能な弾性波デバイスを提供する。
【解決手段】弾性波デバイスは、下部電極12と上部電極16の間に少なくとも一部が挟まれ、共振領域50に沿いかつ上面から下面にかけて貫通して下部電極12の一部まで掘り込まれた貫通孔22を有する圧電層14と、下部電極12と圧電層14の間に設けられ、下部電極12および上部電極16より抵抗率が高い挿入膜18と、上部電極16の側面上に下部電極12に接続して設けられ、下部電極12の構成元素のAlを含む膜44と、上部電極16の側面と膜44の間に設けられ、圧電層14の構成元素のNbの濃度が膜44より高い膜42と、膜44と膜42の間に設けられ、挿入膜18の構成元素であって圧電層14の構成元素と異なるSiの濃度が膜42より高くかつ圧電層14の構成元素であって挿入膜18の構成元素と異なるNbの濃度が膜42より低い膜43とを備える。
【選択図】図8
【解決手段】弾性波デバイスは、下部電極12と上部電極16の間に少なくとも一部が挟まれ、共振領域50に沿いかつ上面から下面にかけて貫通して下部電極12の一部まで掘り込まれた貫通孔22を有する圧電層14と、下部電極12と圧電層14の間に設けられ、下部電極12および上部電極16より抵抗率が高い挿入膜18と、上部電極16の側面上に下部電極12に接続して設けられ、下部電極12の構成元素のAlを含む膜44と、上部電極16の側面と膜44の間に設けられ、圧電層14の構成元素のNbの濃度が膜44より高い膜42と、膜44と膜42の間に設けられ、挿入膜18の構成元素であって圧電層14の構成元素と異なるSiの濃度が膜42より高くかつ圧電層14の構成元素であって挿入膜18の構成元素と異なるNbの濃度が膜42より低い膜43とを備える。
【選択図】図8
Description
本発明は、弾性波デバイス、フィルタ、マルチプレクサ、および弾性波デバイスの製造方法に関する。
携帯端末等の無線端末の高周波回路用のフィルタおよびデュプレクサとして、圧電薄膜共振器を用いたフィルタおよびデュプレクサが知られている。圧電薄膜共振器は、基板上に設けられた圧電層と、圧電層を挟んで基板上に設けられた下部電極および上部電極と、を備える。圧電層を挟み下部電極と上部電極が対向する領域は、弾性波が励振される共振領域である。圧電層にニオブ酸リチウム層またはタンタル酸リチウム層を用いることが知られている(例えば特許文献1)。また、圧電層に共振領域に沿った貫通孔を設けることで弾性波の漏洩が抑制されることが知られている(例えば非特許文献1)。
Ting Wu、外4名、「Application of Free Side Edges to Thickness Shear Bulk Acoustic Resonator On Lithium Niobate for Suppression of Transverse Resonance」、弾性波素子技術コンソーシアム第2回研究会資料、令和3年3月8日
圧電層をエッチングして共振領域に沿った貫通孔を形成する場合、下部電極の一部までエッチングされる場合がある。この場合に、圧電層および下部電極のエッチングにより除去された材料が上部電極の側面上に付着することがある。下部電極のエッチング材料が上部電極の側面上に付着することで、この付着膜を介して下部電極と上部電極が短絡し、デバイス特性が劣化してしまうことがある。
本発明は、上記課題に鑑みなされたものであり、下部電極と上部電極の短絡を抑制することを目的とする。
本発明は、基板と、前記基板上に設けられた下部電極と、前記下部電極上に設けられた上部電極と、前記下部電極と前記上部電極の間に少なくとも一部が挟まれて前記基板上に設けられ、平面視において前記少なくとも一部を挟んで前記下部電極と前記上部電極が重なる共振領域に沿いかつ前記下部電極の一部に接する貫通孔を有する圧電層と、前記下部電極および前記上部電極の少なくとも一方と前記圧電層との間に設けられ、前記下部電極および前記上部電極より抵抗率が高い挿入膜と、前記上部電極の側面に前記下部電極に接続して設けられ、前記下部電極の構成元素を含む第1膜と、前記上部電極の側面と前記第1膜の間に設けられ、前記圧電層の構成元素の濃度が前記第1膜より高い第2膜と、前記上部電極の側面と前記第2膜の間および前記第1膜と前記第2膜の間の少なくとも一方に設けられ、前記挿入膜の構成元素であって前記圧電層の構成元素と異なる元素の濃度が前記第2膜より高くかつ前記圧電層の構成元素であって前記挿入膜の構成元素と異なる元素の濃度が前記第2膜より低い第3膜と、を備える弾性波デバイスである。
上記構成において、前記第2膜および前記第3膜は、前記下部電極の構成元素の濃度が前記第1膜より低い構成とすることができる。
上記構成において、前記第2膜および前記第3膜は、前記下部電極の構成元素を含まない構成とすることができる。
上記構成において、前記第1膜は、前記挿入膜の構成元素の濃度が前記第3膜より低い構成とすることができる。
上記構成において、前記挿入膜は無機絶縁膜である構成とすることができる。
上記構成において、前記挿入膜は、酸化シリコン、窒化シリコン、窒化アルミニウム、酸化アルミニウム、酸化タンタル、酸化ジルコニウム、炭化シリコン、酸化イットリウム、酸化ハフニウム、酸化チタン、および酸化マグネシウムのうち少なくとも1種を含んで形成される構成とすることができる。
上記構成において、前記圧電層は単結晶タンタル酸リチウム層または単結晶ニオブ酸リチウム層である構成とすることができる。
上記構成において、前記下部電極および前記上部電極は前記共振領域における前記圧電層に厚みすべり振動を励振し、前記貫通孔は前記共振領域を挟んで2つ設けられ、前記厚みすべり振動の振動方向は2つの前記貫通孔が前記共振領域を挟んで対向する方向に交差する方向である構成とすることができる。
上記構成において、前記貫通孔と前記共振領域における前記圧電層との間の最大の距離は、前記共振領域における前記圧電層の厚さの3.2倍以下である構成とすることができる。
本発明は、上記に記載の弾性波デバイスを含むフィルタである。
本発明は、上記に記載のフィルタを含むマルチプレクサである。
本発明は、基板上に下部電極、圧電層、上部電極をこの順に形成し、かつ、前記下部電極と前記圧電層の間および前記圧電層と前記上部電極の間の少なくとも一方に前記下部電極および前記上部電極より抵抗率が高い挿入膜を形成する工程と、前記下部電極と前記上部電極が前記圧電層を挟んで重なる共振領域の側方における前記圧電層、前記挿入膜、および前記下部電極をエッチングし、前記下部電極のエッチングにより付着した第1膜と前記上部電極の側面との間に前記圧電層のエッチングにより付着した第2膜が形成され、前記上部電極の側面と前記第2膜の間および前記第1膜と前記第2膜の間の少なくとも一方に前記挿入膜のエッチングにより付着した第3膜が形成されるようにして、前記共振領域に沿った貫通孔を前記圧電層に形成する工程と、を備える弾性波デバイスの製造方法である。
上記構成において、前記圧電層、前記挿入膜、および前記下部電極のエッチングはイオンミリング法を用いる構成とすることができる。
本発明によれば、下部電極と上部電極の短絡を抑制することができる。
以下、図面を参照して、本発明の実施例について説明する。
図1は、実施例1に係る弾性波デバイス100の平面図である。図2(a)は、図1のA-A断面図、図2(b)は、図1のB-B断面図である。図1では、主に下部電極12、圧電層14、および上部電極16を図示している。また、図の明瞭化のために、図1では、共振領域50にハッチングを付し、貫通孔22を他より太い線で図示し、図2(b)では、上部電極16等の側面上に形成された膜については図示を省略している。圧電層14の法線方向をZ方向、圧電層14の平面方向において互いに直交する方向をX方向およびY方向とする。
図1、図2(a)、および図2(b)に示すように、弾性波デバイス100は、下部電極12と圧電層14と上部電極16とを備える圧電薄膜共振器である。基板10上に音響反射膜30が設けられ、音響反射膜30上に圧電層14が設けられている。圧電層14の上面および下面は平坦面である。圧電層14の上下に上部電極16および下部電極12が設けられている。圧電層14の少なくとも一部を挟み下部電極12と上部電極16とが平面視において重なる領域が共振領域50である。共振領域50の平面形状は例えばほぼ矩形である。矩形はほぼ直線の4つの辺を有する。4つの辺のうち一対の辺はほぼY方向に沿って伸び、別の一対の辺はほぼX方向に沿って伸びている。
基板10は、例えばシリコン基板、サファイア基板、アルミナ基板、スピネル基板、石英基板、水晶基板、ガラス基板、セラミック基板、またはGaAs基板等である。圧電層14は、例えば単結晶ニオブ酸リチウム層または単結晶タンタル酸リチウム層である。圧電層14の厚さは例えば200nm~1000nm程度である。下部電極12および上部電極16は、例えばルテニウム(Ru)、クロム(Cr)、アルミニウム(Al)、チタン(Ti)、銅(Cu)、モリブデン(Mo)、タングステン(W)、タンタル(Ta)、白金(Pt)、ロジウム(Rh)、またはイリジウム(Ir)等の単層膜またはこれらの積層膜である。下部電極12および上部電極16の厚さは例えば20nm~150nm程度である。下部電極12および上部電極16は、例えば圧電層14の構成元素と異なる金属元素により形成されている。
下部電極12と上部電極16との間に高周波電力が印加されると、共振領域50内の圧電層14に弾性波が励振する。弾性波の波長λは圧電層14の厚さのほぼ2倍である。圧電層14が単結晶ニオブ酸リチウム層または単結晶タンタル酸リチウム層である場合、圧電層14には弾性波の変位がZ方向にほぼ直交する方向(すなわち厚さに対して歪み方向)に振動する弾性波が励振される。この振動を厚みすべり振動という。厚みすべり振動の変位の最も大きい方向(厚みすべり振動の変位方向)を厚みすべり振動の振動方向60とする。ここでは、厚みすべり振動の振動方向60はY方向である。下部電極12および上部電極16は、共振領域50から厚みすべり振動の振動方向60と同じY方向に引き出されている。
音響反射膜30は、音響インピーダンスの低い膜32と音響インピーダンスの高い膜34とを有する。共振領域50において音響インピーダンスの低い膜32と高い膜34は交互に設けられている。共振領域50における膜32および34の厚さは例えばそれぞれほぼλ/4(λは弾性波の波長)である。これにより、音響反射膜30は弾性波を反射する。膜32と膜34の積層数は任意に設定できる。音響反射膜30は、音響特性の異なる少なくとも2種類の層が間隔をあけて積層されていればよい。また、基板10が音響反射膜30の音響特性の異なる少なくとも2種類の層のうちの1層であってもよい。例えば、音響反射膜30は、基板10中に音響インピーダンスの異なる膜が1層設けられている場合でもよい。平面視において、膜32および膜34の積層部分は共振領域50に重なり共振領域50と同じ大きさまたは共振領域50より大きい。膜32および膜34の積層部分を平面視にて共振領域50より大きくすることで、共振領域50から斜め方向に漏れた弾性波を音響反射膜30で反射させることができ、特性の劣化を抑制することができる。音響インピーダンスの低い膜32は例えば酸化シリコン(SiO2)膜であり、高い膜34は例えばタングステン(W)膜である。
共振領域50において下部電極12と圧電層14の間に挿入膜18が設けられている。挿入膜18は、平面視において共振領域50と同じ大きさまたは共振領域50より大きい。挿入膜18は、下部電極12および上部電極16よりも体積抵抗率の高い膜であり、例えば酸化シリコン(SiO2)膜である。挿入膜18の厚さは、例えば5nm~20nm程度であり、例えば圧電層14の厚さの10%以下である。圧電層14および上部電極16を覆って保護膜20が設けられている。保護膜20は、絶縁膜であり、例えば酸化シリコン(SiO2)膜、窒化シリコン(SiN)膜、または酸化アルミニウム(Al2O3)膜等である。
圧電層14には、X方向において共振領域50を挟み、Y方向において共振領域50に沿った一対の貫通孔22が形成されている。貫通孔22は、下部電極12の一部まで掘り込まれている。一対の貫通孔22それぞれと共振領域50における圧電層14との間の距離はほぼ同じである。貫通孔22は、例えば平面視においてほぼ矩形状をしている。貫通孔22が設けられることで、共振領域50に励振された弾性波が外部に漏れることが抑制される。
ここで、圧電層14がニオブ酸リチウム層またはタンタル酸リチウム層である場合の圧電層14の結晶方位と、厚みすべり振動の振動方向60と、の関係について説明する。まず、オイラー角(φ、θ、ψ)の定義について説明する。右手系のXYZ座標系において、圧電層14の上面の法線方向をZ方向とし、Z方向に直交する方向であって圧電層14の上面の面方向で互いに直交する方向をX方向およびY方向とする。X方向、Y方向、およびZ方向をそれぞれ結晶方位のX軸方向、Y軸方向、およびZ軸方向とする。次に、Z方向を中心に+X方向から+Y方向に角度φ回転させる。角度φ回転後のX方向を中心に+Y方向から+Z方向に角度θ回転させる。角度θ回転後のZ方向を中心に+X方向から+Y方向に角度ψ回転させる。このように回転させたときのオイラー角は(φ、θ、ψ)となる。なお、(φ、θ、ψ)を用い表現されるオイラー角は、等価なオイラー角を含む。
図3(a)および図3(b)は、圧電層14がニオブ酸リチウム層またはタンタル酸リチウム層である場合における圧電層14の結晶方位と厚みすべり振動の振動方向60との関係を示す図である。図3(a)および図3(b)における左側の破線矢印は圧電層14の結晶軸の方位を示す。右側の実線矢印は図1、図2(a)、および図2(b)のX方向、Y方向、およびZ方向に対応する。図3(a)に示すように、+X方向、+Y方向、および+Z方向をそれぞれ圧電層14の結晶方位の+X軸方向、+Y軸方向、および+Z軸方向とする。図3(b)に示すように、図3(a)の状態から、X方向を中心にYZ平面上において+Y方向および+Z方向を+Y方向から-Z方向に105°回転させる。このように回転させると、結晶方位の+Z軸方向を+Y軸方向に向かって105°回転させた方向が+Z方向となる。このとき、Y方向が厚みすべり振動の振動方向60となる。オイラー角では(0°、-105°、0°)となる。なお、上記と同様の方法によって導出されるオイラー角が(0°、-105°、90°)の場合には、X方向が厚みすべり振動の振動方向60となる。オイラー角の各角度は±5°の範囲内を許容し、±1°の範囲内であることがより好ましい。
[シミュレーション]
図4は、シミュレーションに用いたモデルAの断面図である。図4に示すように、モデルAは、基板10上に音響インピーダンスの低い膜32と高い膜34を有する音響反射膜30を備える。音響反射膜30上に圧電層14が設けられている。圧電層14を挟むように下部電極12と上部電極16が設けられている。これにより、共振領域50が形成されている。共振領域50の側方に位置する貫通孔22が圧電層14に設けられている。
図4は、シミュレーションに用いたモデルAの断面図である。図4に示すように、モデルAは、基板10上に音響インピーダンスの低い膜32と高い膜34を有する音響反射膜30を備える。音響反射膜30上に圧電層14が設けられている。圧電層14を挟むように下部電極12と上部電極16が設けられている。これにより、共振領域50が形成されている。共振領域50の側方に位置する貫通孔22が圧電層14に設けられている。
モデルAに対して、貫通孔22と共振領域50との間の距離Lが異なるときのΔYについてシミュレーションをした。ΔYは、アドミッタンス|Y|の周波数特性のシミュレーション結果から、共振周波数でのアドミッタンス|Y|の絶対値と反共振周波数でのアドミッタンス|Y|の絶対値との差を求めることで算出した。シミュレーション条件は以下である。
基板10:シリコン基板
音響インピーダンスの低い膜32:共振領域50での厚さが150nmの酸化シリコン(SiO2)膜
音響インピーダンスの高い膜34:共振領域50での厚さが115nmのタングステン(W)膜
下部電極12:厚さ44nmのアルミニウム(Al)膜
圧電層14:厚さ310nmの単結晶ニオブ酸リチウム(LiNbO3)層
上部電極16:厚さ44nmのアルミニウム(Al)膜
貫通孔22の幅W:1.0μm
弾性波の波長λ:620nm
基板10:シリコン基板
音響インピーダンスの低い膜32:共振領域50での厚さが150nmの酸化シリコン(SiO2)膜
音響インピーダンスの高い膜34:共振領域50での厚さが115nmのタングステン(W)膜
下部電極12:厚さ44nmのアルミニウム(Al)膜
圧電層14:厚さ310nmの単結晶ニオブ酸リチウム(LiNbO3)層
上部電極16:厚さ44nmのアルミニウム(Al)膜
貫通孔22の幅W:1.0μm
弾性波の波長λ:620nm
図5は、モデルAにおける貫通孔22と共振領域50との間の距離Lに対するΔYのシミュレーション結果である。図5に示すように、距離Lが1000nm程度までは、距離Lが大きくなるに連れてΔYは小さくなった。距離Lが1000nmを超えると、ΔYの低下は飽和して、ΔYはほぼ同じ大きさとなった。この結果から、デバイス特性の劣化を抑制しつつデバイスの大型化を抑制する点から、貫通孔22は、共振領域50からの距離Lが1.0μm以下の位置に形成されることが好ましいことが言える。言い換えると、貫通孔22は、共振領域50からの距離Lが1.6λ以下の位置に形成されることが好ましいことが言える。
[製造方法]
図6(a)から図7(b)は、実施例1に係る弾性波デバイス100の製造方法を示す断面図である。図6(a)から図7(b)は、図1のB-B間に相当する箇所の断面図である。図6(a)に示すように、圧電層14として圧電基板を準備する。圧電層14上に挿入膜18と下部電極12を形成する。挿入膜18および下部電極12は、例えばスパッタリング法、真空蒸着法、またはCVD(Chemical Vapor Deposition)法を用いて成膜した後、例えばフォトリソグラフィ法およびエッチング法を用いて所望の形状にパターニングすることで形成する。挿入膜18および下部電極12はリフトオフ法を用いて形成してもよい。
図6(a)から図7(b)は、実施例1に係る弾性波デバイス100の製造方法を示す断面図である。図6(a)から図7(b)は、図1のB-B間に相当する箇所の断面図である。図6(a)に示すように、圧電層14として圧電基板を準備する。圧電層14上に挿入膜18と下部電極12を形成する。挿入膜18および下部電極12は、例えばスパッタリング法、真空蒸着法、またはCVD(Chemical Vapor Deposition)法を用いて成膜した後、例えばフォトリソグラフィ法およびエッチング法を用いて所望の形状にパターニングすることで形成する。挿入膜18および下部電極12はリフトオフ法を用いて形成してもよい。
図6(b)に示すように、圧電層14上に挿入膜18および下部電極12を覆って音響反射膜30を形成する。音響反射膜30は、音響インピーダンスの低い膜32と高い膜34を交互に成膜し、音響インピーダンスの高い膜34に関しては所望の形状にパターニングすることにより形成する。音響インピーダンスの低い膜32と高い膜34の成膜は例えばスパッタリング法またはCVD法を用い、パターニングは例えばフォトリソグラフィ法およびエッチング法を用いる。その後、音響反射膜30の上面を例えばCMP(Chemical Mechanical Polishing)法を用い平坦化する。
図6(c)に示すように、音響反射膜30を基板10に接合させる。接合には例えば表面活性化法を用いる。基板10と音響反射膜30との間にシリコン膜等の接合層を設けてもよい。次いで、圧電層14を所望の厚さに薄膜化する。薄膜化には、例えば研削法および/またはCMP法を用いる。例えば研削法を用いて圧電層14をほぼ所望の厚さとし、CMP法を用いて上面を平坦化する。これにより、圧電層14の上面は製造誤差程度に平坦面となる。
図7(a)に示すように、圧電層14上に上部電極16および保護膜20を形成する。上部電極16および保護膜20は、例えばスパッタリング法、真空蒸着法、またはCVD法を用いて成膜した後、例えばフォトリソグラフィ法およびエッチング法を用いて所望の形状にパターニングすることで形成する。上部電極16はリフトオフ法を用いて形成してもよい。圧電層14の少なくとも一部を挟んで下部電極12と上部電極16が平面視にて重なる共振領域50が形成される。
図7(b)に示すように、共振領域50の側方における圧電層14を除去して、共振領域50に沿った貫通孔22を圧電層14に形成する。圧電層14の除去は例えばフォトリソグラフィ法およびエッチング法を用いる。例えば、圧電層14の除去は、ドライエッチング法により行い、例えばアルゴン(Ar)ガスを用いたイオンミリング法により行う。このときに、圧電層14を貫通する貫通孔22が確実に形成されるようにオーバーエッチングをする。このため、挿入膜18および下部電極12もエッチングされる。以上により、実施例1に係る弾性波デバイス100が形成される。
[貫通孔近傍]
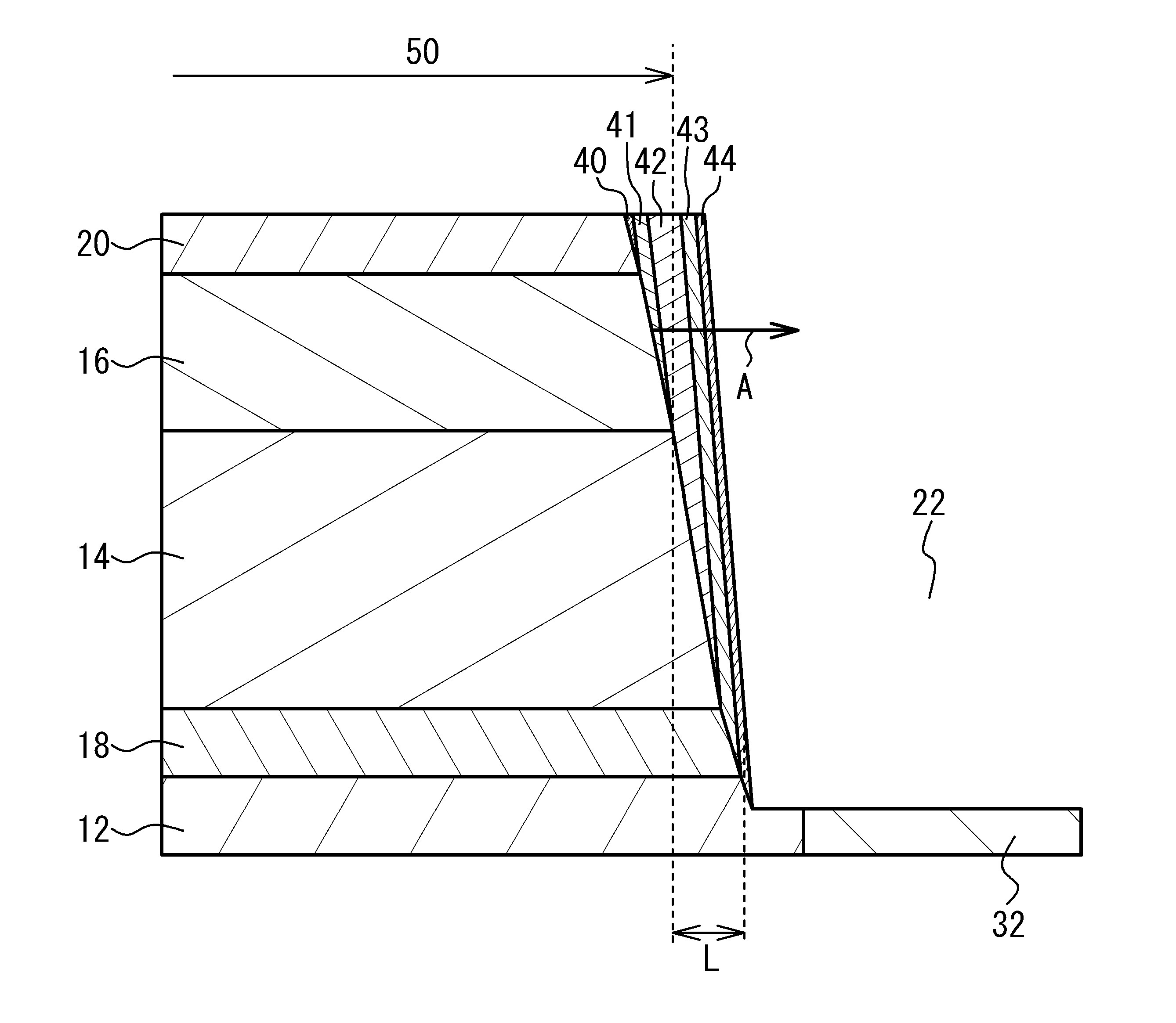
図8は、実施例1における貫通孔22近傍の断面図である。図8に示すように、保護膜20の側面上に保護膜20の材料を含む膜40が形成されている。上部電極16の側面上から膜40の側面上にかけて上部電極16の材料を含む膜41が形成されている。圧電層14の側面上から膜41の側面上にかけて圧電層14の材料を含む膜42が形成されている。挿入膜18の側面上から膜42の側面上にかけて挿入膜18の材料を含む膜43が形成されている。下部電極12の側面上から膜43の側面上にかけて下部電極12の材料を含む膜44が形成されている。膜40、41、42、43、44は、貫通孔22を形成するときに付着した付着膜であるため、規則的な結晶構造状態を取らない、つまりアモルファスの割合が多く含まれる。
図8は、実施例1における貫通孔22近傍の断面図である。図8に示すように、保護膜20の側面上に保護膜20の材料を含む膜40が形成されている。上部電極16の側面上から膜40の側面上にかけて上部電極16の材料を含む膜41が形成されている。圧電層14の側面上から膜41の側面上にかけて圧電層14の材料を含む膜42が形成されている。挿入膜18の側面上から膜42の側面上にかけて挿入膜18の材料を含む膜43が形成されている。下部電極12の側面上から膜43の側面上にかけて下部電極12の材料を含む膜44が形成されている。膜40、41、42、43、44は、貫通孔22を形成するときに付着した付着膜であるため、規則的な結晶構造状態を取らない、つまりアモルファスの割合が多く含まれる。
貫通孔22と共振領域50における圧電層14との間の最大の距離Lは1.0μm以下となっている。これにより、図5のように、デバイス特性の劣化を抑制しつつデバイスの大型化を抑制することができる。デバイス特性の劣化を抑制する点から、距離Lは0.8μm以下が好ましく、0.5μm以下がより好ましく、0.2μm以下が更に好ましい。
膜40、41、42、43、および44が形成される過程について図を用いて説明する。図9(a)から図10(c)は、実施例1における貫通孔22の形成工程を示す断面図である。図9(a)に示すように、上部電極16上にフォトレジストからなるマスク層70を形成する。マスク層70は、上部電極16の端よりも内側に位置して形成される。
図9(b)に示すように、マスク層70をマスクとして保護膜20および上部電極16をエッチングする。エッチングは、ドライエッチング法を用い、例えばArガスを用いたイオンミリング法を用いる。保護膜20のエッチングの際に除去された材料が保護膜20の側面およびマスク層70の側面に付着し、保護膜20の材料を含む膜40が保護膜20の側面上からマスク層70の側面上にかけて形成される。また、上部電極16のエッチングの際に除去された材料が上部電極16の側面および膜40の側面に付着し、上部電極16の材料を含む膜41が上部電極16の側面上から膜40の側面上にかけて形成される。
図10(a)に示すように、保護膜20および上部電極16のエッチングに続いて、マスク層70をマスクとして圧電層14をエッチングする。エッチングは、上述のように、ドライエッチング法を用い、例えばArガスを用いたイオンミリング法を用いる。圧電層14のエッチングの際に除去された材料が圧電層14の側面および膜41の側面に付着し、圧電層14の材料を含む膜42が圧電層14の側面上から膜41の側面上にかけて形成される。
図10(b)に示すように、圧電層14のエッチングに続いて、マスク層70をマスクとして挿入膜18をエッチングする。エッチングは、上述のように、ドライエッチング法を用い、例えばArガスを用いたイオンミリング法を用いる。挿入膜18のエッチングの際に除去された材料が挿入膜18の側面および膜42の側面に付着し、挿入膜18の材料を含む膜43が挿入膜18の側面上から膜42の側面上にかけて形成される。
図10(c)に示すように、挿入膜18のエッチングに続いて、マスク層70をマスクとして下部電極12をエッチングする。下部電極12までエッチングをするのは、貫通孔22が圧電層14を貫通していない場合ではデバイス特性が劣化するため、貫通孔22が圧電層14を確実に貫通するようにオーバーエッチングをするためである。エッチングは、上述のように、ドライエッチング法を用い、例えばArガスを用いたイオンミリング法を用いる。下部電極12のエッチングの際に除去された材料が下部電極12の側面および膜43の側面に付着し、下部電極12の材料を含む膜44が下部電極12の側面上から膜43の側面上にかけて形成される。
[実験]
実施例1において、音響インピーダンスの低い膜32、下部電極12、挿入膜18、圧電層14、上部電極16、および保護膜20を以下の材料および膜厚で形成し、Arガスを用いたイオンミリング法によって貫通孔22を形成した。貫通孔22を形成する際のオーバーエッチングによって下部電極12は22nm程度掘り込まれるようにした。
音響インピーダンスの低い膜32:酸化シリコン膜
下部電極12:厚さが44nmのアルミニウム膜
挿入膜18:厚さが20nmの酸化シリコン膜
圧電層14:厚さが310nmのニオブ酸リチウム層
上部電極16:厚さが44nmのアルミニウム膜
保護膜20:厚さが20nmの酸化シリコン膜
このときに、図8の矢印Aで示す箇所における膜41、42、43、44の組成分析を行った。組成分析はエネルギー分散型X線分光法(EDX)によって行った。
実施例1において、音響インピーダンスの低い膜32、下部電極12、挿入膜18、圧電層14、上部電極16、および保護膜20を以下の材料および膜厚で形成し、Arガスを用いたイオンミリング法によって貫通孔22を形成した。貫通孔22を形成する際のオーバーエッチングによって下部電極12は22nm程度掘り込まれるようにした。
音響インピーダンスの低い膜32:酸化シリコン膜
下部電極12:厚さが44nmのアルミニウム膜
挿入膜18:厚さが20nmの酸化シリコン膜
圧電層14:厚さが310nmのニオブ酸リチウム層
上部電極16:厚さが44nmのアルミニウム膜
保護膜20:厚さが20nmの酸化シリコン膜
このときに、図8の矢印Aで示す箇所における膜41、42、43、44の組成分析を行った。組成分析はエネルギー分散型X線分光法(EDX)によって行った。
図11は、実施例1における組成分析の実験結果を示す図である。図11において、横軸は上部電極16の側面の位置を原点0としたときの矢印Aの方向における上部電極16の側面からの距離であり、縦軸は濃度である。表1は、実施例1における組成分析の実験結果を示す表である。
図11および表1に示すように、膜41はアルミニウム(Al)を含んでいる。このことから、膜41は、上部電極16のエッチングの際に除去された材料が付着したものであることが分かる。なお、炭素(C)はフォトレジストからなるマスク層70がエッチングされたことで取り込まれたものと考えられる。酸素(O)は保護膜20および圧電層14のエッチングの際に除去された材料を含む膜40、42に含まれる酸素が入り込んだものと考えられる。シリコン(Si)は膜40に含まれるシリコンが入り込んだものと考えられる。アルゴン(Ar)はイオンミリング法で用いたガスが取り込まれたものと考えられる。ニオブ(Nb)は膜42に含まれるニオブが入り込んだものと考えられる。
膜42は、アルミニウムを含まず、ニオブの濃度が他の膜41、43、44より高くかつシリコンの濃度が膜43より低くなっている。例えば、膜42のニオブの濃度は、膜44のニオブの濃度の1.3倍以上であり、また1.5倍以上となっている。このことから、膜42は、圧電層14のエッチングの際に除去された材料が付着したものであることが分かる。なお、炭素はマスク層70がエッチングされることで取り込まれたものと考えられる。酸素は圧電層14がエッチングされた際に圧電層14の構成元素である酸素が取り込まれたために濃度が高くなっていると考えられる。シリコンは膜43に含まれるシリコンが入り込んだものと考えられる。アルゴンはイオンミリング法で用いたガスが取り込まれたものと考えられる。なお、膜42に圧電層14の構成元素であるリチウム(Li)が含まれていなかったのは、リチウムは軽いために取り込まれ難かったためと考えられる。
膜43は、アルミニウムを含まず、シリコンの濃度が他の膜41、42、44より高くかつニオブの濃度が膜42より低くなっている。例えば、膜43のシリコンの濃度は、膜42のシリコンの濃度の1.8倍以上であり、また2.0倍以上となっている。膜43のニオブの濃度は、膜42のニオブの濃度の0.8倍以下であり、また0.7倍以下となっている。このことから、膜43は、挿入膜18のエッチングの際に除去された材料が付着したものであることが分かる。なお、炭素はマスク層70がエッチングされることで取り込まれたものと考えられる。酸素は挿入膜18がエッチングされた際に挿入膜18の構成元素である酸素が取り込まれたために濃度が高くなっていると考えられる。アルゴンはイオンミリング法で用いたガスが取り込まれたものと考えられる。ニオブは膜42に含まれるニオブが入り込んだものと考えられる。
膜44はアルミニウムを含んでいる。このことから、膜44は、下部電極12のエッチングの際に除去された材料が付着したものであることが分かる。なお、炭素はマスク層70がエッチングされることで入り込んだものと考えられる。酸素およびシリコンは音響インピーダンスの低い膜32がエッチングされることで取り込まれたものと、膜43に含まれる酸素が入り込んだものと考えられる。アルゴンはイオンミリング法で用いたガスが取り込まれたものと考えられる。ニオブは膜42、43に含まれるニオブが入り込んだものと考えられる。
膜41、42、43、および44の厚さは、例えば上部電極16、圧電層14、挿入膜18、および下部電極12のエッチング量に対応する。例えば、圧電層14が上部電極16、挿入膜18、および下部電極12より厚い場合、膜42は膜41、43、および44より厚くなる。上部電極16の厚さが挿入膜18の厚さおよび下部電極12の掘り込み量より大きい場合、膜41は膜43および膜44より厚くなる。挿入膜18の厚さと下部電極12の掘り込み量が同程度の大きさである場合、膜43と膜44の厚さはほぼ同じになる。
[変形例]
図12は、実施例1の変形例1における貫通孔22近傍の断面図である。図12に示すように、実施例1の変形例1に係る弾性波デバイス110では、共振領域50において、下部電極12と圧電層14の間に挿入膜18は設けられてなく、代わりに、圧電層14と上部電極16の間に挿入膜18aが設けられている。挿入膜18aは、平面視において共振領域50と同じ大きさまたは共振領域50より大きい。このため、挿入膜18aの側面上から膜41の側面上にかけて挿入膜18aの材料を含む膜43aが形成されている。圧電層14の材料を含む膜42は、圧電層14の側面上から膜43aの側面上にかけて形成されている。その他の構成は実施例1と同じであるため説明を省略する。
図12は、実施例1の変形例1における貫通孔22近傍の断面図である。図12に示すように、実施例1の変形例1に係る弾性波デバイス110では、共振領域50において、下部電極12と圧電層14の間に挿入膜18は設けられてなく、代わりに、圧電層14と上部電極16の間に挿入膜18aが設けられている。挿入膜18aは、平面視において共振領域50と同じ大きさまたは共振領域50より大きい。このため、挿入膜18aの側面上から膜41の側面上にかけて挿入膜18aの材料を含む膜43aが形成されている。圧電層14の材料を含む膜42は、圧電層14の側面上から膜43aの側面上にかけて形成されている。その他の構成は実施例1と同じであるため説明を省略する。
図13は、実施例1の変形例2における貫通孔22近傍の断面図である。図13に示すように、実施例1の変形例2に係る弾性波デバイス120では、共振領域50において、下部電極12と圧電層14の間に挿入膜18が設けられていることに加え、圧電層14と上部電極16の間に挿入膜18aが設けられている。このため、挿入膜18aの側面上から膜41の側面上にかけて挿入膜18aの材料を含む膜43aが形成されている。圧電層14の材料を含む膜42は、圧電層14の側面上から膜43aの側面上にかけて形成されている。その他の構成は実施例1と同じであるため説明を省略する。
[比較例]
図14は、比較例における貫通孔22近傍の断面図である。図14に示すように、比較例に係る弾性波デバイス500では、下部電極12と圧電層14の間に挿入膜18は設けられていない。このため、圧電層14の側面上から膜41の側面上にかけて形成された圧電層14の材料を含む膜42に接して下部電極12の側面上から膜42の側面上にかけて下部電極12の材料を含む膜44が形成されている。すなわち、膜42と膜44の間に、挿入膜18の材料を含む膜43は形成されていない。その他の構成は実施例1と同じであるため説明を省略する。
図14は、比較例における貫通孔22近傍の断面図である。図14に示すように、比較例に係る弾性波デバイス500では、下部電極12と圧電層14の間に挿入膜18は設けられていない。このため、圧電層14の側面上から膜41の側面上にかけて形成された圧電層14の材料を含む膜42に接して下部電極12の側面上から膜42の側面上にかけて下部電極12の材料を含む膜44が形成されている。すなわち、膜42と膜44の間に、挿入膜18の材料を含む膜43は形成されていない。その他の構成は実施例1と同じであるため説明を省略する。
[実験]
比較例において、音響インピーダンスの低い膜32、下部電極12、圧電層14、上部電極16、および保護膜20を以下の材料および膜厚で形成し、Arガスを用いたイオンミリング法によって貫通孔22を形成した。貫通孔22を形成する際のオーバーエッチングによって下部電極12は22nm程度掘り込まれるようにした。
音響インピーダンスの低い膜32:酸化シリコン膜
下部電極12:厚さが44nmのアルミニウム膜
圧電層14:厚さが310nmのニオブ酸リチウム層
上部電極16:厚さが44nmのアルミニウム膜
保護膜20:厚さが20nmの酸化シリコン膜
このときに、図14の矢印Aで示す箇所の膜41、42、44の組成分析を行った。組成分析はエネルギー分散型X線分光法(EDX)によって行った。
比較例において、音響インピーダンスの低い膜32、下部電極12、圧電層14、上部電極16、および保護膜20を以下の材料および膜厚で形成し、Arガスを用いたイオンミリング法によって貫通孔22を形成した。貫通孔22を形成する際のオーバーエッチングによって下部電極12は22nm程度掘り込まれるようにした。
音響インピーダンスの低い膜32:酸化シリコン膜
下部電極12:厚さが44nmのアルミニウム膜
圧電層14:厚さが310nmのニオブ酸リチウム層
上部電極16:厚さが44nmのアルミニウム膜
保護膜20:厚さが20nmの酸化シリコン膜
このときに、図14の矢印Aで示す箇所の膜41、42、44の組成分析を行った。組成分析はエネルギー分散型X線分光法(EDX)によって行った。
図15は、比較例における組成分析の実験結果を示す図である。図15において、横軸は上部電極16の側面の位置を原点0としたときの矢印Aの方向における上部電極16の側面からの距離であり、縦軸は濃度である。表2は、比較例における組成分析の実験結果を示す表である。
図15および表2に示すように、膜41はアルミニウムを含んでいる。このことから、膜41は、上部電極16のエッチングの際に除去された材料が付着したものであることが分かる。膜42は、アルミニウムを含まず、ニオブの濃度が膜41、44より高くなっている。このことから、膜42は、圧電層14のエッチングの際に除去された材料が付着したものであることが分かる。膜44はアルミニウムを含んでいる。このことから、膜44は、下部電極12のエッチングの際に除去された材料が付着したものであることが分かる。
比較例では、図14のように、膜44は膜42に接して設けられている。膜41は上部電極16のエッチングの際に除去された材料が付着したものであることから導電性を有する。膜44は下部電極12のエッチングの際に除去された材料が付着したものであることから導電性を有する。膜42は、圧電層14のエッチングの際に除去された材料が付着したものであるが、例えばアモルファスとなっていて膜質が悪いために絶縁性が低い。このため、膜42の薄い箇所において膜41と膜44が電気的に接続し、下部電極12と上部電極16が膜41、42、44を介して短絡することがある。短絡が生じるとデバイス特性が劣化してしまう。なお、膜42が厚くなれば絶縁性は高くなるが、膜42は圧電層14の膜厚に対応していて、圧電層14の膜厚は所望の弾性波の波長により決まることから、膜42を厚くするのは難しい。
一方、実施例1およびその変形例では、図8、図12、および図13のように、下部電極12および上部電極16の少なくとも一方と圧電層14との間に下部電極12および上部電極16より抵抗率が高い挿入膜18、18aが設けられている。このため、膜44と膜42の間、および、上部電極16の側面と膜42の間、の少なくとも一方に、挿入膜18、18aのエッチングの際に除去された材料が付着した膜である膜43、43aが形成されている。膜44(第1膜)は、下部電極12のエッチングの際に除去された材料が付着した膜であるため、下部電極12に接続していて、図11および表1のように、下部電極12の構成元素であるAlを含んでいる。膜42(第2膜)は、圧電層14のエッチングの際に除去された材料が付着した膜であるため、圧電層14の構成元素であるNbの濃度が膜44より高くなっている。膜43、43a(第3膜)は、挿入膜18、18aのエッチングの際に除去された材料が付着した膜であるため、挿入膜18、18aの構成元素であって圧電層14の構成元素でないSiの濃度が膜42より高くかつ圧電層14の構成元素であって挿入膜18、18aの構成元素でないNbの濃度が膜42より低くなっている。膜43、43aは、下部電極12および上部電極16より抵抗率が高い挿入膜18、18aのエッチング時に除去された材料が付着した膜であることから、上部電極16のエッチング時に除去された材料が付着した膜である膜41および下部電極12のエッチング時に除去された材料が付着した膜である膜44よりも絶縁性が高い。したがって、このような膜43および膜43aの少なくとも一方が、膜41と膜44の間に設けられることで、膜41と膜44の電気的な接続が抑制される。よって、下部電極12と上部電極16の短絡を抑制することができる。
また、実施例1およびその変形例の製造方法では、図7(a)のように、基板10上に下部電極12と圧電層14と上部電極16をこの順に形成し、かつ、下部電極12と圧電層14の間および圧電層14と上部電極16の間の少なくとも一方に挿入膜18、18aを形成する(図12、図13も参照)。図7(b)および図9(a)から図10(c)のように、共振領域50の側方における圧電層14、挿入膜18、18a、および下部電極12をエッチングして、貫通孔22を圧電層14に形成する。このときに、下部電極12のエッチングにより付着した膜44(第1膜)と上部電極16の側面との間に圧電層14のエッチングにより付着した膜42(第2膜)が形成され、上部電極16の側面と膜42の間および膜44と膜42の間の少なくとも一方に挿入膜18、18aのエッチングにより付着した膜43、43a(第3膜)が形成されるようにする(図12、図13も参照)。これにより、膜43および膜43aの少なくとも一方が膜41と膜44の間に設けられるため、膜41と膜44の電気的な接続が抑制され、下部電極12と上部電極16の短絡を抑制することができる。
また、実施例1およびその変形例では、圧電層14、挿入膜18、18a、および下部電極12のエッチングにイオンミリング法を用いている。これにより、圧電層14の種類によらず、圧電層14に貫通孔22を形成することができる。イオンミリング法を用いる場合、エッチングの際に除去された材料が上部電極16等の側面上に付着して付着膜が形成され易い。このとき、比較例のように、挿入膜18、18aが設けられていない場合では下部電極12と上部電極16に短絡が生じることがある。したがって、イオンミリング法を用いる場合では、下部電極12と圧電層14の間および圧電層14と上部電極16の間の少なくとも一方に挿入膜18、18aを形成することが好ましい。
また、実施例1およびその変形例では、膜42は、圧電層14のエッチングの際に除去された材料が付着した膜であるため、図11および表1のように、下部電極12の構成元素であるAlの濃度が膜44より低く、例えばAlを含んでいない。膜43、43aは、挿入膜18、18aのエッチングの際に除去された材料が付着した膜であるため、下部電極12の構成元素であるAlの濃度が膜44より低く、例えばAlを含んでいない。これにより、膜41と膜44の電気的な接続が抑制され、下部電極12と上部電極16の短絡を抑制することができる。膜42および膜43のAlの濃度は、膜44のAlの濃度の0.1倍以下が好ましく、0.02倍以下がより好ましく、0.01倍以下が更に好ましい。また、膜44は、下部電極12のエッチングの際に除去された材料が付着した膜であるため、挿入膜18、18aの構成元素であるSiの濃度が膜43、43aより低く、例えば0.9倍以下である。
また、実施例1およびその変形例では、挿入膜18、18aは、Siの酸化物である酸化シリコン膜である。この場合、挿入膜18、18aのエッチング時に除去された材料が付着した膜である膜43、43aの絶縁性を高めることができる。よって、膜41と膜44の電気的な接続が抑制され、下部電極12と上部電極16の短絡を抑制することができる。挿入膜18、18aは、下部電極12および上部電極16よりも抵抗率が高ければ、金属元素の酸化物の他に、金属元素の窒化物または炭化物でもよい。具体的には、酸化シリコン(SiO2)、窒化シリコン(SiN)、窒化アルミニウム(AlN)、酸化アルミニウム(Al2O3)、酸化タンタル(Ta2O5)、酸化ジルコニウム(ZrO2)、炭化シリコン(SiC)、酸化イットリウム(Y2O3)、酸化ハフニウム(HfO2)、酸化チタン(TiO2)、酸化マグネシウム(MgO)、窒化チタン(TiN)、窒化バナジウム(VN)、窒化クロム(CrN)、窒化ニオブ(NbN)、窒化モリブデン(MoN)、窒化ハフニウム(HfN)、窒化タンタル(TaN)、窒化タングステン(WN)、炭化チタン(TiC)、炭化バナジウム(VC)、炭化クロム(CrC)、炭化ニオブ(NbC)、炭化モリブデン(MoC)、炭化ハフニウム(HfC)、炭化タンタル(TaC)、および炭化タングステン(WC)のうちの少なくとも1種を含んで形成される場合でもよい。ここで、本明細書では、ホウ素(B)、シリコン(Si)、およびゲルマニウム(Ge)等の半金属元素も金属元素とする。なお、挿入膜18、18aは、下部電極12および上部電極16よりも抵抗率が高ければ、金属膜である場合でもよい。
挿入膜18、18aは、膜43、43aの絶縁性を高める点から、無機絶縁膜である場合が好ましい。具体的には、挿入膜18、18aは、酸化シリコン(SiO2)、窒化シリコン(SiN)、窒化アルミニウム(AlN)、酸化アルミニウム(Al2O3)、酸化タンタル(Ta2O5)、酸化ジルコニウム(ZrO2)、炭化シリコン(SiC)、酸化イットリウム(Y2O3)、酸化ハフニウム(HfO2)、酸化チタン(TiO2)、および酸化マグネシウム(MgO)のうち少なくとも1種を含んで形成される場合が好ましい。ここで、絶縁膜とは、抵抗率が108Ω・cm以上の膜である。
また、実施例1およびその変形例では、圧電層14は単結晶タンタル酸リチウム層または単結晶ニオブ酸リチウム層である。この場合、圧電層14に貫通孔22を形成するときに一般的にイオンミリング法が用いられる。このため、エッチングの際に除去された材料が上部電極16等の側面上に付着して付着膜が形成され易くなる。したがって、圧電層14が単結晶タンタル酸リチウム層または単結晶ニオブ酸リチウム層である場合では、下部電極12と圧電層14の間および圧電層14と上部電極16の間の少なくとも一方に挿入膜18、18aを形成することが好ましい。なお、圧電層14は、単結晶タンタル酸リチウム層および単結晶ニオブ酸リチウム層以外であってもよく、例えば窒化アルミニウム層、酸化亜鉛層、チタン酸ジルコン酸鉛層、またはチタン酸鉛層であってもよい。
また、実施例1およびその変形例では、下部電極12および上部電極16は共振領域50における圧電層14に厚みすべり振動を励振する。図1のように、貫通孔22は共振領域50を挟んで2つ設けられ、厚みすべり振動の振動方向60は2つの貫通孔22が共振領域50を挟んで対向する方向(例えばX方向)に交差する方向(例えばY方向)である。これにより、共振領域50からの弾性波の漏洩を抑制することができる。
また、実施例1およびその変形例では、貫通孔22と共振領域50における圧電層14との間の最大の距離L(図8参照)は1.6λ以下、すなわち圧電層14の厚さの3.2倍以下である。これにより、図5のように、デバイス特性の劣化を抑制しつつデバイスの大型化を抑制することができる。デバイス特性の劣化を抑制する点から、距離Lは圧電層14の厚さの2.6倍以下が好ましく、1.6倍以下がより好ましく、0.7倍以下が更に好ましい。
図16(a)および図16(b)は、実施例2に係る弾性波デバイス200の断面図である。図16(a)および図16(b)に示すように、実施例2に係る弾性波デバイス200では、音響反射膜30の代わりに空隙36が設けられている。空隙36は、例えば基板10上に設けられた絶縁膜38に形成され、貫通孔22に連通している。その他の構成は実施例1と同じであるため説明を省略する。
弾性波デバイスは、実施例1およびその変形例のように、下部電極12下に弾性波を反射する音響反射膜30が設けられたSMR(Solidly Mounted Resonator)でもよいし、実施例2のように、下部電極12下に空隙36が設けられたFBAR(Film Bulk Acoustic Resonator)でもよい。
図17は、実施例3に係るフィルタ300の回路図である。図17に示すように、実施例3に係るフィルタ300は、入力端子Tinと出力端子Toutとの間に、1または複数の直列共振器S1~S4が直列に接続されている。入力端子Tinと出力端子Toutとの間に、1または複数の並列共振器P1~P3が並列に接続されている。直列共振器S1~S4および並列共振器P1~P3の少なくとも1つに実施例1、実施例1の変形例、および実施例2に係る弾性波デバイスを用いてもよい。直列共振器および並列共振器の個数等は適宜設定できる。フィルタとしてラダー型フィルタを例に示したが、フィルタは多重モード型フィルタでもよい。
なお、実施例3では、実施例1、実施例1の変形例、および実施例2に係る弾性波デバイスをフィルタに用いる場合を例に示したが、この場合に限られるわけではない。例えば、インクジェットを用いたマイクロポンプ、RF-MEMSスイッチ、または光ミラー等のアクチュエータ、もしくは、加速度、ジャイロ、またはエナジーハーベスト等のセンサに用いてもよい。
図18は、実施例4に係るデュプレクサ400の回路図である。図18に示すように、実施例4に係るデュプレクサ400は、共通端子Antと送信端子Txとの間に送信フィルタ80が接続されている。共通端子Antと受信端子Rxとの間に受信フィルタ82が接続されている。送信フィルタ80は、送信端子Txから入力された高周波信号のうち送信帯域の信号を送信信号として共通端子Antに通過させ、他の周波数の信号を抑圧する。受信フィルタ82は、共通端子Antから入力された高周波信号のうち受信帯域の信号を受信信号として受信端子Rxに通過させ、他の周波数の信号を抑圧する。送信フィルタ80および受信フィルタ82の少なくとも一方を実施例2のフィルタとしてもよい。マルチプレクサとしてデュプレクサを例に示したが、トリプレクサまたはクワッドプレクサでもよい。
以上、本願発明の実施形態について詳述したが、本願発明はかかる特定の実施形態に限定されるものではなく、特許請求の範囲に記載された本願発明の要旨の範囲内において、種々の変形・変更が可能である。
10…基板、12…下部電極、14…圧電層、16…上部電極、18、18a…挿入膜、20…保護膜、22…貫通孔、30…音響反射膜、32…音響インピーダンスの低い膜、34…音響インピーダンスの高い膜、36…空隙、38…絶縁膜、40…膜、41…膜、42…膜、43、43a…膜、44…膜、50…共振領域、60…厚みすべり振動の振動方向、70…マスク層、80…送信フィルタ、82…受信フィルタ、100、110、120、200、500…弾性波デバイス、300…フィルタ、400…デュプレクサ
Claims (13)
- 基板と、
前記基板上に設けられた下部電極と、
前記下部電極上に設けられた上部電極と、
前記下部電極と前記上部電極の間に少なくとも一部が挟まれて前記基板上に設けられ、平面視において前記少なくとも一部を挟んで前記下部電極と前記上部電極が重なる共振領域に沿いかつ前記下部電極の一部に接する貫通孔を有する圧電層と、
前記下部電極および前記上部電極の少なくとも一方と前記圧電層との間に設けられ、前記下部電極および前記上部電極より抵抗率が高い挿入膜と、
前記上部電極の側面に前記下部電極に接続して設けられ、前記下部電極の構成元素を含む第1膜と、
前記上部電極の側面と前記第1膜の間に設けられ、前記圧電層の構成元素の濃度が前記第1膜より高い第2膜と、
前記上部電極の側面と前記第2膜の間および前記第1膜と前記第2膜の間の少なくとも一方に設けられ、前記挿入膜の構成元素であって前記圧電層の構成元素と異なる元素の濃度が前記第2膜より高くかつ前記圧電層の構成元素であって前記挿入膜の構成元素と異なる元素の濃度が前記第2膜より低い第3膜と、を備える弾性波デバイス。 - 前記第2膜および前記第3膜は、前記下部電極の構成元素の濃度が前記第1膜より低い、請求項1に記載の弾性波デバイス。
- 前記第2膜および前記第3膜は、前記下部電極の構成元素を含まない、請求項1または2に記載の弾性波デバイス。
- 前記第1膜は、前記挿入膜の構成元素の濃度が前記第3膜より低い、請求項1または2に記載の弾性波デバイス。
- 前記挿入膜は無機絶縁膜である、請求項1または2に記載の弾性波デバイス。
- 前記挿入膜は、酸化シリコン、窒化シリコン、窒化アルミニウム、酸化アルミニウム、酸化タンタル、酸化ジルコニウム、炭化シリコン、酸化イットリウム、酸化ハフニウム、酸化チタン、および酸化マグネシウムのうち少なくとも1種を含んで形成される、請求項5に記載の弾性波デバイス。
- 前記圧電層は単結晶タンタル酸リチウム層または単結晶ニオブ酸リチウム層である、請求項1または2に記載の弾性波デバイス。
- 前記下部電極および前記上部電極は前記共振領域における前記圧電層に厚みすべり振動を励振し、
前記貫通孔は前記共振領域を挟んで2つ設けられ、
前記厚みすべり振動の振動方向は2つの前記貫通孔が前記共振領域を挟んで対向する方向に交差する方向である、請求項7に記載の弾性波デバイス。 - 前記貫通孔と前記共振領域における前記圧電層との間の最大の距離は、前記共振領域における前記圧電層の厚さの3.2倍以下である、請求項8に記載の弾性波デバイス。
- 請求項1または2に記載の弾性波デバイスを含むフィルタ。
- 請求項10に記載のフィルタを含むマルチプレクサ。
- 基板上に下部電極、圧電層、上部電極をこの順に形成し、かつ、前記下部電極と前記圧電層の間および前記圧電層と前記上部電極の間の少なくとも一方に前記下部電極および前記上部電極より抵抗率が高い挿入膜を形成する工程と、
前記下部電極と前記上部電極が前記圧電層を挟んで重なる共振領域の側方における前記圧電層、前記挿入膜、および前記下部電極をエッチングし、前記下部電極のエッチングにより付着した第1膜と前記上部電極の側面との間に前記圧電層のエッチングにより付着した第2膜が形成され、前記上部電極の側面と前記第2膜の間および前記第1膜と前記第2膜の間の少なくとも一方に前記挿入膜のエッチングにより付着した第3膜が形成されるようにして、前記共振領域に沿った貫通孔を前記圧電層に形成する工程と、を備える弾性波デバイスの製造方法。 - 前記圧電層、前記挿入膜、および前記下部電極のエッチングはイオンミリング法を用いる、請求項12に記載の弾性波デバイスの製造方法。
Priority Applications (3)
| Application Number | Priority Date | Filing Date | Title |
|---|---|---|---|
| JP2023148488A JP2025041295A (ja) | 2023-09-13 | 2023-09-13 | 弾性波デバイス、フィルタ、マルチプレクサ、および弾性波デバイスの製造方法 |
| US18/824,825 US20250088165A1 (en) | 2023-09-13 | 2024-09-04 | Acoustic wave device, filter, multiplexer, and method of manufacturing acoustic wave device |
| CN202411263508.0A CN119628592A (zh) | 2023-09-13 | 2024-09-10 | 声波器件、滤波器、复用器以及制造声波器件的方法 |
Applications Claiming Priority (1)
| Application Number | Priority Date | Filing Date | Title |
|---|---|---|---|
| JP2023148488A JP2025041295A (ja) | 2023-09-13 | 2023-09-13 | 弾性波デバイス、フィルタ、マルチプレクサ、および弾性波デバイスの製造方法 |
Publications (1)
| Publication Number | Publication Date |
|---|---|
| JP2025041295A true JP2025041295A (ja) | 2025-03-26 |
Family
ID=94872163
Family Applications (1)
| Application Number | Title | Priority Date | Filing Date |
|---|---|---|---|
| JP2023148488A Pending JP2025041295A (ja) | 2023-09-13 | 2023-09-13 | 弾性波デバイス、フィルタ、マルチプレクサ、および弾性波デバイスの製造方法 |
Country Status (3)
| Country | Link |
|---|---|
| US (1) | US20250088165A1 (ja) |
| JP (1) | JP2025041295A (ja) |
| CN (1) | CN119628592A (ja) |
-
2023
- 2023-09-13 JP JP2023148488A patent/JP2025041295A/ja active Pending
-
2024
- 2024-09-04 US US18/824,825 patent/US20250088165A1/en active Pending
- 2024-09-10 CN CN202411263508.0A patent/CN119628592A/zh active Pending
Also Published As
| Publication number | Publication date |
|---|---|
| US20250088165A1 (en) | 2025-03-13 |
| CN119628592A (zh) | 2025-03-14 |
Similar Documents
| Publication | Publication Date | Title |
|---|---|---|
| JP7017364B2 (ja) | ラダー型フィルタ、圧電薄膜共振器およびその製造方法 | |
| US8084919B2 (en) | Piezoelectric thin-film resonator, filter using the same, and duplexer using the same | |
| US20070228880A1 (en) | Piezoelectric thin film resonator | |
| JP7269719B2 (ja) | 圧電膜およびその製造方法、圧電デバイス、共振器、フィルタ並びにマルチプレクサ | |
| JP7098453B2 (ja) | 弾性波共振器、フィルタ並びにマルチプレクサ | |
| JP7385996B2 (ja) | 圧電薄膜共振器、フィルタおよびマルチプレクサ | |
| US10554196B2 (en) | Acoustic wave device | |
| JP7456788B2 (ja) | 圧電デバイスおよびその製造方法 | |
| US20230172071A1 (en) | Piezoelectric thin film resonator and method of manufacturing the same | |
| JP7383417B2 (ja) | 弾性波デバイスおよびその製造方法、圧電薄膜共振器、フィルタ並びにマルチプレクサ | |
| JP2024140687A (ja) | 弾性波デバイス、フィルタ、およびマルチプレクサ | |
| JP7042178B2 (ja) | 弾性波デバイスおよびマルチプレクサ | |
| US20250088165A1 (en) | Acoustic wave device, filter, multiplexer, and method of manufacturing acoustic wave device | |
| JP7027144B2 (ja) | 弾性波デバイスおよびその製造方法並びにマルチプレクサ | |
| JP7807927B2 (ja) | 圧電薄膜共振器、フィルタおよびマルチプレクサ | |
| JP2023051766A (ja) | 弾性波デバイス、フィルタ、マルチプレクサ、および弾性波デバイスの製造方法 | |
| JP2023180558A (ja) | 弾性波デバイス、フィルタ、マルチプレクサ、および弾性波デバイスの製造方法 | |
| US12413199B2 (en) | Acoustic wave device, filter, multiplexer, and manufacturing method of acoustic wave device | |
| JP2022140991A (ja) | 弾性波デバイス、フィルタおよびマルチプレクサ | |
| JP2018117194A (ja) | 圧電薄膜共振器およびその製造方法、フィルタ並びにマルチプレクサ | |
| JP2022096249A (ja) | 圧電素子およびその製造方法、フィルタ並びにマルチプレクサ | |
| US12255602B2 (en) | Filter and multiplexer | |
| JP2021136613A (ja) | 圧電薄膜共振器、フィルタおよびマルチプレクサ | |
| JP2007288504A (ja) | 圧電薄膜共振子 | |
| US20240056052A1 (en) | Acoustic wave device, filter and multiplexer |


