JP2025041234A - 飲食物容器搬送設備 - Google Patents
飲食物容器搬送設備 Download PDFInfo
- Publication number
- JP2025041234A JP2025041234A JP2023148408A JP2023148408A JP2025041234A JP 2025041234 A JP2025041234 A JP 2025041234A JP 2023148408 A JP2023148408 A JP 2023148408A JP 2023148408 A JP2023148408 A JP 2023148408A JP 2025041234 A JP2025041234 A JP 2025041234A
- Authority
- JP
- Japan
- Prior art keywords
- food
- door
- conveying
- opening
- beverage
- Prior art date
- Legal status (The legal status is an assumption and is not a legal conclusion. Google has not performed a legal analysis and makes no representation as to the accuracy of the status listed.)
- Pending
Links
Images
Landscapes
- Table Equipment (AREA)
Abstract
Description
新規性喪失の例外適用申請有り
本発明は、使用済みの飲食物容器を回収し搬送することができる飲食物容器搬送装置に関する。
回転寿司や焼肉店等の省人化を推進した飲食店には、クレセントチェーンコンベアによって飲食物が載置された飲食物容器を循環搬送するための循環搬送路や、個別に注文された飲食物が載置された飲食物容器を搬送するための注文搬送路等が設置され、飲食物の提供つまり配膳が自動化されている。対して飲食客が飲食を終えた後の使用済みの飲食物容器は、客の入替え時や閉店後等において、店員が洗い場まで下げ膳を行う必要があるが、近年では、循環搬送路や注文搬送路等の下方に飲食物容器を回収搬送する回収搬送路が設置され、下げ膳についても自動化が実現している(例えば、特許文献1参照)。
特許文献1に記載されている飲食物搬送装置において回収搬送路は、飲食物搬送装置を構成する中空のベース構造の内部に敷設されており、ベース構造の側面パネルには、回収搬送路に飲食物容器を投入可能な開口が形成され、この投入口が扉により開閉可能になっている。このように、回収搬送路にアクセス可能な投入口は扉で閉めることができる。しかしながら、特許文献1では、投入口が飲食台の上方に位置していることから、多くの使用済みの飲食物容器が投入される回収搬送路内の臭気が、扉を開いた際に飲食台の上方に溢れ出てしまい、周囲の客席における快適な飲食を阻害する虞があった。
本発明は、このような問題点に着目してなされたもので、快適に飲食を行うことができるようにした飲食物搬送装置を提供することを目的とする。
前記課題を解決するために、本発明の飲食物搬送装置は、
厨房エリアから飲食客エリアへ飲食物容器を提供搬送する提供搬送路と、使用済みの前記飲食物容器を前記飲食客エリアから前記厨房エリアに回収搬送する回収搬送路と、を備えた飲食物搬送装置であって、
前記飲食物搬送装置は、前記提供搬送路に沿って配設された飲食台を備え、かつ前記飲食台の下方の壁部に前記回収搬送路にアクセス可能な投入口と、該投入口を開閉する扉とを備えることを特徴としている。
この特徴によれば、回収搬送路に連通する投入口は飲食台の下方に配されることから、飲食中の飲食客には回収搬送路の存在を隠蔽することができ、衛生管理を行いやすく、かつ美観に優れる。更に、回収搬送路にアクセス可能な投入口は扉により閉じられ、かつ飲食台に阻まれることで、回収搬送路内の臭気が飲食台の上方まで上り難く、快適に飲食を行うことができる。
厨房エリアから飲食客エリアへ飲食物容器を提供搬送する提供搬送路と、使用済みの前記飲食物容器を前記飲食客エリアから前記厨房エリアに回収搬送する回収搬送路と、を備えた飲食物搬送装置であって、
前記飲食物搬送装置は、前記提供搬送路に沿って配設された飲食台を備え、かつ前記飲食台の下方の壁部に前記回収搬送路にアクセス可能な投入口と、該投入口を開閉する扉とを備えることを特徴としている。
この特徴によれば、回収搬送路に連通する投入口は飲食台の下方に配されることから、飲食中の飲食客には回収搬送路の存在を隠蔽することができ、衛生管理を行いやすく、かつ美観に優れる。更に、回収搬送路にアクセス可能な投入口は扉により閉じられ、かつ飲食台に阻まれることで、回収搬送路内の臭気が飲食台の上方まで上り難く、快適に飲食を行うことができる。
前記飲食台は、少なくとも一部が退避動作することで、前記投入口の上方に隙間を形成可能であることを特徴としている。
この特徴によれば、飲食台の下に潜り込まずとも、隙間から飲食台の下方の壁部に形成された投入口にアクセスでき、片付け作業の作業性に優れる。
この特徴によれば、飲食台の下に潜り込まずとも、隙間から飲食台の下方の壁部に形成された投入口にアクセスでき、片付け作業の作業性に優れる。
前記飲食台には該飲食台を上下に貫通する開口部が形成されており、該開口部は前記飲食台を構成する蓋部材により開閉されることを特徴としている。
この特徴によれば、飲食台の下に潜り込まずとも、飲食台を上下に貫通する開口部から飲食台の下方の壁部に形成された投入口にアクセスでき、片付け作業の作業性に優れる。
この特徴によれば、飲食台の下に潜り込まずとも、飲食台を上下に貫通する開口部から飲食台の下方の壁部に形成された投入口にアクセスでき、片付け作業の作業性に優れる。
前記扉は、アームにより荷重が支持される外倒し扉であることを特徴としている。
この特徴によれば、扉の上に使用済みの飲食物容器または飲食物容器を入れた箱体などを仮置きでき、作業性に優れる。
この特徴によれば、扉の上に使用済みの飲食物容器または飲食物容器を入れた箱体などを仮置きでき、作業性に優れる。
前記蓋部材は、前記開口部を閉じた状態で、閉状態の前記扉に係止されて該扉の開方向の動作を規制する規制部を有することを特徴としている。
この特徴によれば、蓋部材の有する規制部が扉の開方向の動作を規制するため、飲食中に扉が開かれることがなく、快適に飲食を行うことができるばかりか、特に客による回収搬送路へのアクセスが防止されるため安全性に優れる。
この特徴によれば、蓋部材の有する規制部が扉の開方向の動作を規制するため、飲食中に扉が開かれることがなく、快適に飲食を行うことができるばかりか、特に客による回収搬送路へのアクセスが防止されるため安全性に優れる。
前記蓋部材は前記開口部を閉じた状態で、閉状態の前記扉の操作部に重合される重合部を備えることを特徴としている。
この特徴によれば、蓋部材の有する重合部が扉の操作部に重合されることで、扉を開く操作が不能となり、快適に飲食を行うことができるばかりか、特に客による回収搬送路へのアクセスが防止されるため安全性に優れる。
この特徴によれば、蓋部材の有する重合部が扉の操作部に重合されることで、扉を開く操作が不能となり、快適に飲食を行うことができるばかりか、特に客による回収搬送路へのアクセスが防止されるため安全性に優れる。
前記飲食台には、前記蓋部材により前記開口部を閉じた状態を維持できる施錠装置を備え、該施錠装置は前記飲食台に内蔵された近距離無線の通信部を用いた電子錠であることを特徴としている。
この特徴によれば、施錠装置が飲食台に内蔵された近距離無線通信の通信部を用いた電子錠であることから、飲食台の表面上に施錠装置を設けたことによる凹凸が生じず、飲食台としての機能を損なわず、加えて施錠装置の存在が意識されにくく、客が飲食に集中できる。
この特徴によれば、施錠装置が飲食台に内蔵された近距離無線通信の通信部を用いた電子錠であることから、飲食台の表面上に施錠装置を設けたことによる凹凸が生じず、飲食台としての機能を損なわず、加えて施錠装置の存在が意識されにくく、客が飲食に集中できる。
本発明に係る飲食物搬送装置を実施するための形態を実施例に基づいて以下に説明する。
実施例に係る飲食物搬送装置につき、図1から図8を参照して説明する。図1は、本発明の飲食物搬送装置1が設置された飲食店設備を示すイメージ図である。飲食物搬送装置1は、例えば店員H1が飲食物を調理したり、店員H2が食器の洗い作業を行う厨房エリア(厨房側)Cと客が飲食を行う飲食客エリア(飲食客側)Aとに亘って設けられる循環搬送路2、注文搬送装置4(図2参照)、同様に厨房エリアCと飲食客エリアAとに亘って設けられる回収搬送装置7(図3参照)、を備えている。尚、図1では、飲食客エリアAにて循環搬送路2の形状に沿って上方に配されるルーフR(図5参照)を省略して図示してある。
厨房エリアCと飲食客エリアAは、隔壁3により仕切られている。飲食客エリアAには、隔壁3を貫通して配置されるクレセントチェーンコンベアより成る提供搬送路である循環搬送路2が無端状に設けられている。本実施例において循環搬送路2は平面視E型を成している。
また、図2に示されるように、飲食客エリアAには、互いに並設される提供搬送路である3列の注文搬送路5(5A、5B、5C)が、厨房エリアCから所定間隔離間して隔壁3を貫通して配置され、これら注文搬送路5A、5B、5Cに直交して、客席を構成する飲食テーブル8が設けられている。このうち注文搬送路5Bには、その幅方向の両側に飲食テーブル8が設けられている。また、このうち注文搬送路5A、5Cの幅方向の一方側には、これら注文搬送路5A、5Cに沿って客席カウンタ6が設けられている。
循環搬送路2には、厨房エリアC側で皿などの飲食容器が載置され、飲食客エリアA側にて各客席(飲食テーブル8,客席カウンタ6の各席)に亘って飲食物が循環される。注文搬送路5A、5B、5Cは、厨房エリアC側で互いの端部が近接して配置されており、厨房側の店員(例えばH1)によって、飲食物が載せられた皿やコップなどが走行体(図示せず)に載置されて各客席まで搬送されるようになっている。尚、注文搬送装置4は、例えば走行体を用いずに、注文搬送路をベルトで構成し、このベルトに飲食物が載せられた皿やコップなどを直接載置させて搬送するものであってもよい。
また、飲食客エリアAの客席から飲食物の注文を受けると、飲食物は厨房エリアCにおいて調理された後、走行体に載置され注文搬送装置4により当該客席まで搬送される。
図3に示されるように、厨房エリアCと飲食客エリアAとに亘って設けられる回収搬送装置7は、飲食テーブル8と客席カウンタ6とに沿って平面視E型を成している。
図4と図5に示されるように、回収搬送装置7は、循環搬送路2及び注文搬送装置4の下方に、これらの形状に沿って配設されている。尚、図5では、注文搬送路5Aの部分の一部断面図であり、注文搬送路5B、5Cについても循環搬送路2及び注文搬送装置4と回収搬送装置7との位置関係は同様である。
注文搬送路5A、5B、5Cは、箱型に構成された基台9の上面に敷設されており、また図4、6、8では図示を省略しているが、基台9の上面から起立する支持フレーム21には、注文搬送路5A、5B、5Cの上方に所定間隔離間して循環搬送路2が敷設されている。
そして、注文搬送路5Cが敷設される基台9の内部空間S1に回収搬送装置7を構成する回収搬送路13Cが敷設されている。同様に、注文搬送路5A、5Bの下方における基台9の内部空間S1には回収搬送路13A,13Bがそれぞれ敷設されている。このように、飲食物搬送装置1では、基礎構造を成す基台9に、循環搬送路2、注文搬送路5、回収搬送路13がそれぞれ支持されている。
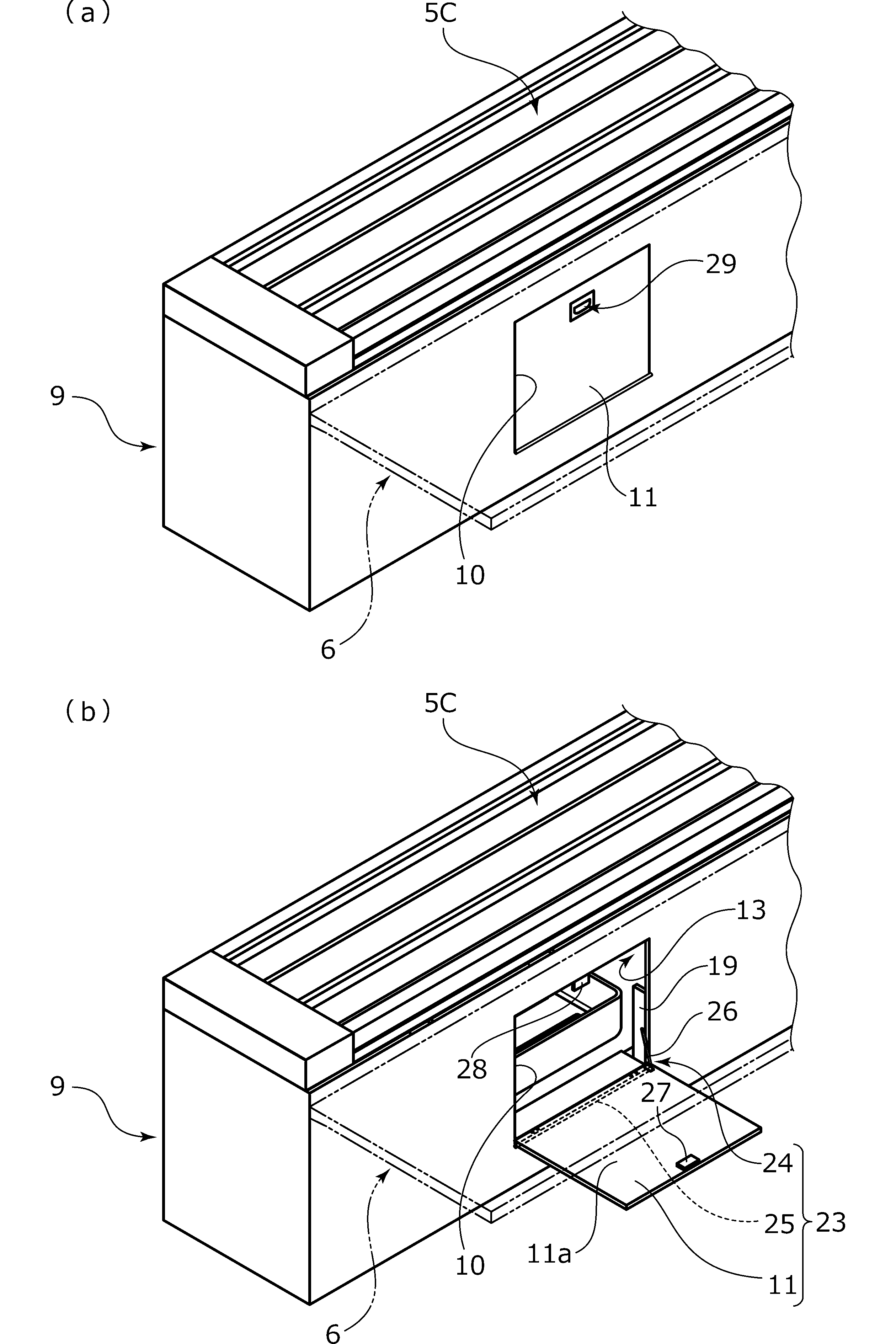
図4と図5に示されるように、基台9は、構造の支持枠19と、支持枠19に取り付けられた側面パネル(壁部)20とにより主に構成されている。そして、飲食客エリアAにおける基台9の側面パネル20には、客席カウンタ6と飲食テーブル8がそれぞれ突き合わせられて設置されている。
回収搬送路13(13A,13B,13C)は、厨房エリアC側から延びて回収ボックス22を往復移動可能なコンベアである。図3に示されるように、回収搬送装置7は回収搬送路13A,13B,13Cと、厨房エリアC側にて循環搬送路2の下方にて隔壁3に沿うように延設される回収搬送路12とで構成されている。これら回収搬送路13と回収搬送路12は、それぞれ複数の使用後の容器を収容可能な回収ボックス(箱体)22の幅よりも若干大きな幅を有しており、これら回収搬送路13と回収搬送路12の長手方向に長手が沿うように載置された回収ボックス22を回収場所30まで搬送可能となっている。
回収搬送路12は、基本的に一方向に駆動され、長手方向における一方側(下流側)先端近傍に配設された洗浄のための回収場所30に回収ボックス22を搬送するようになっている。
図4と図5に示されるように、基台9の側面パネル20には複数箇所に投入口10が形成されており、この投入口10を介して外部と基台9の内部空間S1つまり回収搬送路13とが連通可能となっている。また投入口10は扉11により開閉できるようになっている。
詳しくは、基台9の側面パネル20に形成された矩形状の貫通孔(図示略)に扉装置23が取り付けられている。扉装置23は、貫通孔と同形の矩形状のフレーム(図示略)と、フレーム(図示略)の内側に形成された投入口10を塞ぐ扉11と、扉11を支持する支持機構24とヒンジ25とを備えている。扉11は下辺部が左右複数のヒンジ25によりフレームに接続されている。投入口10は、回収ボックス22の長さ寸法と高さ寸法よりも大きな開口断面積を有している。
本実施例において扉装置23は、扉11が下辺部を軸として上辺部が基台9の外側内に倒れる形で開閉する、外倒し型である。支持機構24は、一方端が扉11に、他方端が支持枠19にそれぞれ枢着された伸縮アーム26を有している。伸縮アーム26は2つの杆部材がスライド可能に連結されて構成され、図示しないストッパにより最長の伸長時の長さが規定されている。尚、本実施例において支持機構24は、回収ボックス22との干渉を最小限にするために扉11の左右一方側にのみ伸縮アーム26を備えているが、両側に一対の伸縮アームを備えていてもよい。
また、扉11の内面における上端には磁性体27が設けられており、フレームに設けられた磁石28と磁着することで、扉11の閉状態が維持されるようになっている。扉11の外面における上端には、手を掛ける把持部(操作部)29が形成されている。把持部29は扉11の外面と面一になるように埋設されている。
投入口10は客席カウンタ6の天板16及び飲食テーブル8の天板の下方に僅かに離間して、側面パネルの左右方向に複数配されている。図5と図6に示されるように、客席カウンタ6の天板16には、投入口10の長手位置に対応する位置に上下方向に貫通する開口部17が形成されている。
開口部17は、客席カウンタ6の天板16の天板本体部16Aにおける基台9の側面パネル20との対向縁部に形成されており、少なくとも回収ボックス22の長さ寸法と幅寸法よりも大きな開口断面積を有している。開口部17は蓋部材16Bにより開閉可能となっており、これら天板本体部16Aと蓋部材16Bとにより天板16が構成されている。
蓋部材16Bは、開口部17と略同形かつ略同寸法の平面部18Aと、平面部18Aの前方端から下方に垂下する突出部18Bを備えている。開口部17の内側の縁部下方からは内側に凸部17aが張り出しており、支持可能になっている。蓋部材16Bの平面部18Aには、操作部18cが埋設されている。
蓋部材16Bの突出部18Bは、開口部17の閉状態において基台9の側面パネル20の前方に重なるように配されている。尚、開口部17の凸部17aは基台9の側面パネル20との対向縁部には形成されていない。蓋部材16Bが開口部17の凸部17aに支持された状態において、平面部18Aが客席カウンタ6の天板本体部16Aと面一となり、突出部18Bが扉11の上端部の手前に重なるように配置される(図5参照)。
詳しくは、突出部18Bは蓋部材16Bが凸部17aに支持された状態で、扉11の外面における上端の把持部29に対して、把持部29の上下方向寸法の少なくとも半分以上に重なる上下寸法で平面部18Aの下方に延設されている。そのため、蓋部材16Bにより開口部17が閉じられた状態において、突出部18Bは把持部29に重なる重合部として機能し、突出部18Bが前方に重なることで把持部29の把持が不能になり、客による不用意な開操作を防止することができる。また、突出部18Bは扉11の上端部側に張り出し、扉11の開方向への回動そのものを規制する規制部としても機能する。
客席カウンタ6は、開口部17から蓋部材16Bが意図せず離脱すること防止する施錠装置を備えている。施錠装置は客席カウンタ6の天板本体部16Aに内蔵された近距離無線通信を用いた電子錠である。近距離無線通信を用いた電子錠については、従前の技術を用いているため、詳しくは説明しないが、図6に示されるように、天板本体部16Aの特定の箇所に内蔵した通信部31に、例えばRFIDタグを備えたカードをかざすことで、施錠装置の解錠及び施錠が可能になっている。
次いで、飲食後のバッシング作業つまり客席の片付け作業について、客席カウンタ6の1席を例に取り説明する。まず、店員は回収ボックス22を客席カウンタ6の当該席まで持参する。そして、この席の使用済みの食器を回収ボックス22内に入れる。
店員は、RFIDタグを備えたカードを通信部(図示略)にかざして施錠装置を解錠し、操作部18cを持って蓋部材16Bを引き上げ、開口部17を開く(図7(a)参照)。
店員は回収搬送路13に繋がる投入口10を開く前に、各扉11の近傍に配設された操作ボタン(図示する)を押すことで、回収搬送路13を停止させる。店員は回収搬送路13の停止を確認した後、把持部29を持って扉11を開操作する。
開操作された扉11は、支持機構24により基台9の側面パネル20に対して直角に支持される。言い換えると、側面パネル20の外側に開かれた扉11は、客席カウンタ6の天板16に形成された開口部17の下方に展開される。そのため、店員が手作業で開口部17を通して客席カウンタ6の下に向けて下ろされた回収ボックス22は、扉11の内面11aの上に載置される。このように、回収ボックス22は扉11の上に仮置きすることができる(図7(b)参照)。
図7(b)に示されるように、開操作された扉11の内面11aは、回収搬送路13Cの搬送面よりも高い位置にあるため、扉11の内面11a上を滑らせ、投入口10から回収ボックス22を回収搬送路13C内に押し込んだ際に、扉11の内面11aから回収搬送路13C上に回収ボックス22を容易に移載させることができる。
店員は扉11を閉操作した後、操作ボタンを再度押して回収搬送路13Cを再度駆動させ、回収ボックス22を厨房エリアCの回収場所30に搬送させる。最後に、蓋部材16Bにより開口部17を閉じ、施錠機構を施錠操作し、片付け作業を完了させる。尚、使用済みの食器は、回収ボックス22の代わりのトレー等に載置されて回収搬送路13Cにより厨房エリアCの回収場所30に搬送されてもよい。
また、図8に示されるように、飲食テーブル8にも同様の開口37が形成され、開口37から回収ボックス22を回収搬送装置7に移載させることで、それぞれの飲食テーブル8毎に片付けを行うことができる。
以上説明したように、本実施例における飲食物搬送装置1は、注文搬送路5及び循環搬送路2に沿って配設された飲食台である客席カウンタ6と飲食テーブル8とを備え、客席カウンタ6には天板16の下方の側面パネル(壁部)20に回収搬送路13にアクセス可能な投入口10と、投入口10を開閉する扉11とを備える。これによれば、回収搬送路13に連通する投入口10は天板16の下方に配されることから、飲食中の飲食客には回収搬送路13の存在を外観上、隠蔽することができ、また衛生管理を行いやすい。更に、回収搬送路13にアクセス可能な投入口10は扉11により閉じられ、かつ天板16に阻まれることで、回収搬送路13内の臭気が客席カウンタ6の上方まで上り難く、快適に飲食を行うことができる。
また、飲食台である客席カウンタ6には、天板16を上下に貫通する開口部17が形成されており、この開口部17は天板本体部16Aとともに客席カウンタ6を構成する蓋部材16Bにより開閉されるようになっている。そのため、客席カウンタ6の下に潜り込まずとも、天板16を上下に貫通する開口部17から客席カウンタ6下方の側面パネル20に形成された投入口10にアクセスでき、片付け作業の作業性に優れる。加えて、蓋部材16Bは客席カウンタ6を構成する隠し扉であるため、客による投入口10へのアクセスが防止されるため安全性に優れる。
また、蓋部材16Bの規制部である突出部18Bが扉11の開方向の動作を規制するため、飲食中に扉11が開かれることがなく、快適に飲食を行うことができるばかりか、特に客による回収搬送路13へのアクセスが防止されるため安全性に優れる。
また、蓋部材16Bの重合部である突出部18Bが扉11の把持部29に重合されることで、扉11を開く操作が不能となる。
また、蓋部材16Bの閉状態を維持できる施錠装置が客席カウンタ6の天板16に内蔵された近距離無線通信の通信部31を用いた電子錠であることから、客席カウンタ6の天板16の表面上に施錠装置を設けたことによる凹凸が生じず、飲食台としての機能を損なわず、加えて施錠装置の存在が意識されにくく、客が飲食に集中することができる。
以上、本発明の実施例を図面に基づいて説明してきたが、具体的な構成はこれら実施例に限られるものではなく、本発明の要旨を逸脱しない範囲内における追加や変更があっても、本発明に含まれる。
例えば、前記実施例において蓋部材16Bは、天板16に形成された開口部17に対して着脱されることで開口部17を開閉できる構成であったが、これに限らず、例えば天板16に対して軸支されて水平方向または上下方向に回転することで開口部17を開閉できる構成であってもよい。
また、蓋部材の代わりに、例えば図9に示される変形例1のように、天板46側に設けられたスライド機構40により、閉塞部材46Bが水平方向にスライドされることで開口部47を開閉できる構成であってもよい。なお、このような構成を採用する場合には、開口部47を跨いで天板46の前後方向に架設された補強部材41を備えることが強度確保の観点から好ましい。また、図のように閉塞部材46Bを2つ備えた両開き構造とすることで、開作業を容易に行なえ、かつ天板46の左右への張り出し量を小さくできる。
また、投入口10を開閉する扉11は、前記実施例のような外倒し型に限らず、例えば左右にスライドする引き戸構造であってもよい。
また、前記実施例の飲食物搬送装置1は提供搬送路として、循環搬送路2と注文搬送路5とのいずれも備えているが、これに限らずこれらのうち一方だけを備える構成であってもよい。
また、回収ボックス22は回収搬送路13内に常設されて厨房エリアCと飲食客エリアAとの間で行き来する構成とし、店員は食器のみを投入口から回収コンベア上の回収ボックスに投入するという使い方を選択することもできる。
また、投入口10を開閉する扉11の内面11aは平坦面に限らず、例えば扉11の上下方向に延びる複数のレールを有する構成としてもよく、これによれば扉11の内面側に載置されて仮置きされた回収ボックス22をレールに沿って回収搬送路13内までよりスムーズにスライド移動させることができる。
また、図10に示される変形例2のように、基台9の側面パネル20側に設けられたスライド機構44及び脚部材43側に設けられたスライド機構42により、飲食テーブル80自体を側面パネル20に対して相対的に前後にスライド移動可能とし、側面パネル20と飲食テーブル80の端部との間に投入口10にアクセス可能な隙間(開口部に相当)81を形成する構成であってもよい。
1 飲食物搬送装置
2 循環搬送路
4 注文搬送装置
5 注文搬送路
6 客席カウンタ
7 回収搬送装置
8 飲食テーブル
9 基台
10 投入口
11 扉
11a 内面
12,13 回収搬送路
16 天板
16A 天板本体部
17 開口部
18A 平面部
18B 突出部
19 支持枠
20 側面パネル(壁部)
22 回収ボックス
24 支持機構
29 把持部
30 回収場所
31 通信部
37 開口
A 飲食客エリア
C 厨房エリア
2 循環搬送路
4 注文搬送装置
5 注文搬送路
6 客席カウンタ
7 回収搬送装置
8 飲食テーブル
9 基台
10 投入口
11 扉
11a 内面
12,13 回収搬送路
16 天板
16A 天板本体部
17 開口部
18A 平面部
18B 突出部
19 支持枠
20 側面パネル(壁部)
22 回収ボックス
24 支持機構
29 把持部
30 回収場所
31 通信部
37 開口
A 飲食客エリア
C 厨房エリア
Claims (7)
- 厨房エリアから飲食客エリアへ飲食物容器を提供搬送する提供搬送路と、使用済みの前記飲食物容器を前記飲食客エリアから前記厨房エリアに回収搬送する回収搬送路と、を備えた飲食物搬送装置であって、
前記飲食物搬送装置は、前記提供搬送路に沿って配設された飲食台を備え、かつ前記飲食台の下方の壁部に前記回収搬送路にアクセス可能な投入口と、該投入口を開閉する扉とを備えることを特徴とする飲食物搬送装置。 - 前記飲食台は、少なくとも一部が退避動作することで、前記投入口の上方に隙間を形成可能であることを特徴とする請求項1に記載の飲食物搬送装置。
- 前記飲食台には該飲食台を上下に貫通する開口部が形成されており、該開口部は前記飲食台を構成する蓋部材により開閉されることを特徴とする請求項1に記載の飲食物搬送装置。
- 前記扉は、アームにより荷重が支持される外倒し扉であることを特徴とする請求項1に記載の飲食物搬送装置。
- 前記蓋部材は、前記開口部を閉じた状態で、閉状態の前記扉に係止されて該扉の開方向の動作を規制する規制部を有することを特徴とする請求項3に記載の飲食物搬送装置。
- 前記蓋部材は前記開口部を閉じた状態で、閉状態の前記扉の操作部に重合される重合部を備えることを特徴とする請求項3に記載の飲食物搬送装置。
- 前記飲食台には、前記蓋部材により前記開口部を閉じた状態を維持できる施錠装置を備え、該施錠装置は前記飲食台に内蔵された近距離無線の通信部を用いた電子錠であることを特徴とする請求項3に記載の飲食物搬送装置。
Priority Applications (1)
| Application Number | Priority Date | Filing Date | Title |
|---|---|---|---|
| JP2023148408A JP2025041234A (ja) | 2023-09-13 | 2023-09-13 | 飲食物容器搬送設備 |
Applications Claiming Priority (1)
| Application Number | Priority Date | Filing Date | Title |
|---|---|---|---|
| JP2023148408A JP2025041234A (ja) | 2023-09-13 | 2023-09-13 | 飲食物容器搬送設備 |
Publications (1)
| Publication Number | Publication Date |
|---|---|
| JP2025041234A true JP2025041234A (ja) | 2025-03-26 |
Family
ID=95105115
Family Applications (1)
| Application Number | Title | Priority Date | Filing Date |
|---|---|---|---|
| JP2023148408A Pending JP2025041234A (ja) | 2023-09-13 | 2023-09-13 | 飲食物容器搬送設備 |
Country Status (1)
| Country | Link |
|---|---|
| JP (1) | JP2025041234A (ja) |
-
2023
- 2023-09-13 JP JP2023148408A patent/JP2025041234A/ja active Pending
Similar Documents
| Publication | Publication Date | Title |
|---|---|---|
| US20080072802A1 (en) | Portable folding table | |
| JP4173188B1 (ja) | 回転寿司カウンター | |
| CN101797098B (zh) | 收纳柜 | |
| US1478371A (en) | Camping cabinet | |
| KR20220007328A (ko) | 테이블 기능을 겸한 덮개 일체형 캠핑용 수납 박스 | |
| JP2008110104A (ja) | システムキッチン | |
| JP2025041234A (ja) | 飲食物容器搬送設備 | |
| JP4596545B2 (ja) | 回収飲食物容器搬送設備 | |
| JP6966819B1 (ja) | 飲食用テーブル | |
| JP2004049565A (ja) | アイランド型キッチン | |
| JP4763433B2 (ja) | 食器洗浄機を備えたキッチン台 | |
| KR101283236B1 (ko) | 음식 배달용 가방 | |
| JP3600327B2 (ja) | 引き出し式補助カウンター | |
| JP3812664B2 (ja) | 両面引出し | |
| JP3035304U (ja) | 盆 | |
| KR200435736Y1 (ko) | 서류 투입구가 형성된 사물함 및 이를 구비한 보안용 책상 | |
| KR100712446B1 (ko) | 다층 증숙기용 조리기 운반장치 | |
| JP2024126312A (ja) | 容器提供用具及び容器提供ユニット | |
| KR100282654B1 (ko) | 다용도 이동식 조리대 | |
| JP2023146241A (ja) | 飲食物取扱い装置 | |
| JP3145753U (ja) | 調理台ユニット | |
| JPH0427418Y2 (ja) | ||
| WO2012033400A1 (en) | Service drawer for a trolley and a trolley | |
| JP2025137183A (ja) | 収納装置 | |
| KR200201141Y1 (ko) | 상판가변식탁자 |
Legal Events
| Date | Code | Title | Description |
|---|---|---|---|
| A80 | Written request to apply exceptions to lack of novelty of invention |
Free format text: JAPANESE INTERMEDIATE CODE: A80 Effective date: 20230928 |
