JP2023541663A - 診断試験キット及びその分析方法 - Google Patents
診断試験キット及びその分析方法 Download PDFInfo
- Publication number
- JP2023541663A JP2023541663A JP2023517379A JP2023517379A JP2023541663A JP 2023541663 A JP2023541663 A JP 2023541663A JP 2023517379 A JP2023517379 A JP 2023517379A JP 2023517379 A JP2023517379 A JP 2023517379A JP 2023541663 A JP2023541663 A JP 2023541663A
- Authority
- JP
- Japan
- Prior art keywords
- test
- diagnostic test
- image
- diagnostic
- control markings
- Prior art date
- Legal status (The legal status is an assumption and is not a legal conclusion. Google has not performed a legal analysis and makes no representation as to the accuracy of the status listed.)
- Pending
Links
Images
Classifications
-
- G—PHYSICS
- G06—COMPUTING OR CALCULATING; COUNTING
- G06T—IMAGE DATA PROCESSING OR GENERATION, IN GENERAL
- G06T7/00—Image analysis
- G06T7/0002—Inspection of images, e.g. flaw detection
- G06T7/0012—Biomedical image inspection
- G06T7/0014—Biomedical image inspection using an image reference approach
-
- G—PHYSICS
- G16—INFORMATION AND COMMUNICATION TECHNOLOGY [ICT] SPECIALLY ADAPTED FOR SPECIFIC APPLICATION FIELDS
- G16H—HEALTHCARE INFORMATICS, i.e. INFORMATION AND COMMUNICATION TECHNOLOGY [ICT] SPECIALLY ADAPTED FOR THE HANDLING OR PROCESSING OF MEDICAL OR HEALTHCARE DATA
- G16H30/00—ICT specially adapted for the handling or processing of medical images
- G16H30/40—ICT specially adapted for the handling or processing of medical images for processing medical images, e.g. editing
-
- G—PHYSICS
- G01—MEASURING; TESTING
- G01N—INVESTIGATING OR ANALYSING MATERIALS BY DETERMINING THEIR CHEMICAL OR PHYSICAL PROPERTIES
- G01N21/00—Investigating or analysing materials by the use of optical means, i.e. using sub-millimetre waves, infrared, visible or ultraviolet light
- G01N21/84—Systems specially adapted for particular applications
- G01N21/8483—Investigating reagent band
-
- G—PHYSICS
- G01—MEASURING; TESTING
- G01N—INVESTIGATING OR ANALYSING MATERIALS BY DETERMINING THEIR CHEMICAL OR PHYSICAL PROPERTIES
- G01N33/00—Investigating or analysing materials by specific methods not covered by groups G01N1/00 - G01N31/00
- G01N33/48—Biological material, e.g. blood, urine; Haemocytometers
- G01N33/483—Physical analysis of biological material
- G01N33/487—Physical analysis of biological material of liquid biological material
- G01N33/48785—Electrical and electronic details of measuring devices for physical analysis of liquid biological material not specific to a particular test method, e.g. user interface or power supply
-
- G—PHYSICS
- G01—MEASURING; TESTING
- G01N—INVESTIGATING OR ANALYSING MATERIALS BY DETERMINING THEIR CHEMICAL OR PHYSICAL PROPERTIES
- G01N33/00—Investigating or analysing materials by specific methods not covered by groups G01N1/00 - G01N31/00
- G01N33/48—Biological material, e.g. blood, urine; Haemocytometers
- G01N33/50—Chemical analysis of biological material, e.g. blood, urine; Testing involving biospecific ligand binding methods; Immunological testing
- G01N33/53—Immunoassay; Biospecific binding assay; Materials therefor
- G01N33/5302—Apparatus specially adapted for immunological test procedures
-
- G—PHYSICS
- G01—MEASURING; TESTING
- G01N—INVESTIGATING OR ANALYSING MATERIALS BY DETERMINING THEIR CHEMICAL OR PHYSICAL PROPERTIES
- G01N33/00—Investigating or analysing materials by specific methods not covered by groups G01N1/00 - G01N31/00
- G01N33/48—Biological material, e.g. blood, urine; Haemocytometers
- G01N33/50—Chemical analysis of biological material, e.g. blood, urine; Testing involving biospecific ligand binding methods; Immunological testing
- G01N33/53—Immunoassay; Biospecific binding assay; Materials therefor
- G01N33/543—Immunoassay; Biospecific binding assay; Materials therefor with an insoluble carrier for immobilising immunochemicals
- G01N33/54366—Apparatus specially adapted for solid-phase testing
- G01N33/54386—Analytical elements
- G01N33/54387—Immunochromatographic test strips
- G01N33/54388—Immunochromatographic test strips based on lateral flow
-
- G—PHYSICS
- G06—COMPUTING OR CALCULATING; COUNTING
- G06T—IMAGE DATA PROCESSING OR GENERATION, IN GENERAL
- G06T7/00—Image analysis
- G06T7/90—Determination of colour characteristics
-
- G—PHYSICS
- G06—COMPUTING OR CALCULATING; COUNTING
- G06V—IMAGE OR VIDEO RECOGNITION OR UNDERSTANDING
- G06V10/00—Arrangements for image or video recognition or understanding
- G06V10/20—Image preprocessing
- G06V10/25—Determination of region of interest [ROI] or a volume of interest [VOI]
-
- G—PHYSICS
- G06—COMPUTING OR CALCULATING; COUNTING
- G06V—IMAGE OR VIDEO RECOGNITION OR UNDERSTANDING
- G06V10/00—Arrangements for image or video recognition or understanding
- G06V10/40—Extraction of image or video features
- G06V10/56—Extraction of image or video features relating to colour
-
- G—PHYSICS
- G06—COMPUTING OR CALCULATING; COUNTING
- G06V—IMAGE OR VIDEO RECOGNITION OR UNDERSTANDING
- G06V10/00—Arrangements for image or video recognition or understanding
- G06V10/98—Detection or correction of errors, e.g. by rescanning the pattern or by human intervention; Evaluation of the quality of the acquired patterns
- G06V10/993—Evaluation of the quality of the acquired pattern
-
- G—PHYSICS
- G06—COMPUTING OR CALCULATING; COUNTING
- G06V—IMAGE OR VIDEO RECOGNITION OR UNDERSTANDING
- G06V40/00—Recognition of biometric, human-related or animal-related patterns in image or video data
- G06V40/60—Static or dynamic means for assisting the user to position a body part for biometric acquisition
- G06V40/63—Static or dynamic means for assisting the user to position a body part for biometric acquisition by static guides
-
- G—PHYSICS
- G01—MEASURING; TESTING
- G01N—INVESTIGATING OR ANALYSING MATERIALS BY DETERMINING THEIR CHEMICAL OR PHYSICAL PROPERTIES
- G01N21/00—Investigating or analysing materials by the use of optical means, i.e. using sub-millimetre waves, infrared, visible or ultraviolet light
- G01N21/84—Systems specially adapted for particular applications
- G01N21/8483—Investigating reagent band
- G01N2021/8488—Investigating reagent band the band presenting reference patches
-
- G—PHYSICS
- G01—MEASURING; TESTING
- G01N—INVESTIGATING OR ANALYSING MATERIALS BY DETERMINING THEIR CHEMICAL OR PHYSICAL PROPERTIES
- G01N21/00—Investigating or analysing materials by the use of optical means, i.e. using sub-millimetre waves, infrared, visible or ultraviolet light
- G01N21/75—Systems in which material is subjected to a chemical reaction, the progress or the result of the reaction being investigated
- G01N21/77—Systems in which material is subjected to a chemical reaction, the progress or the result of the reaction being investigated by observing the effect on a chemical indicator
- G01N21/78—Systems in which material is subjected to a chemical reaction, the progress or the result of the reaction being investigated by observing the effect on a chemical indicator producing a change of colour
-
- G—PHYSICS
- G01—MEASURING; TESTING
- G01N—INVESTIGATING OR ANALYSING MATERIALS BY DETERMINING THEIR CHEMICAL OR PHYSICAL PROPERTIES
- G01N2201/00—Features of devices classified in G01N21/00
- G01N2201/02—Mechanical
- G01N2201/022—Casings
- G01N2201/0221—Portable; cableless; compact; hand-held
-
- G—PHYSICS
- G01—MEASURING; TESTING
- G01N—INVESTIGATING OR ANALYSING MATERIALS BY DETERMINING THEIR CHEMICAL OR PHYSICAL PROPERTIES
- G01N2458/00—Labels used in chemical analysis of biological material
-
- G—PHYSICS
- G06—COMPUTING OR CALCULATING; COUNTING
- G06T—IMAGE DATA PROCESSING OR GENERATION, IN GENERAL
- G06T2207/00—Indexing scheme for image analysis or image enhancement
- G06T2207/10—Image acquisition modality
- G06T2207/10024—Color image
-
- G—PHYSICS
- G06—COMPUTING OR CALCULATING; COUNTING
- G06T—IMAGE DATA PROCESSING OR GENERATION, IN GENERAL
- G06T2207/00—Indexing scheme for image analysis or image enhancement
- G06T2207/30—Subject of image; Context of image processing
- G06T2207/30004—Biomedical image processing
-
- G—PHYSICS
- G06—COMPUTING OR CALCULATING; COUNTING
- G06V—IMAGE OR VIDEO RECOGNITION OR UNDERSTANDING
- G06V2201/00—Indexing scheme relating to image or video recognition or understanding
- G06V2201/03—Recognition of patterns in medical or anatomical images
- G06V2201/034—Recognition of patterns in medical or anatomical images of medical instruments
Landscapes
- Engineering & Computer Science (AREA)
- Health & Medical Sciences (AREA)
- Life Sciences & Earth Sciences (AREA)
- Physics & Mathematics (AREA)
- General Physics & Mathematics (AREA)
- Immunology (AREA)
- Chemical & Material Sciences (AREA)
- General Health & Medical Sciences (AREA)
- Theoretical Computer Science (AREA)
- Biomedical Technology (AREA)
- Molecular Biology (AREA)
- Urology & Nephrology (AREA)
- Hematology (AREA)
- Multimedia (AREA)
- Biochemistry (AREA)
- Pathology (AREA)
- Analytical Chemistry (AREA)
- Quality & Reliability (AREA)
- Medicinal Chemistry (AREA)
- Food Science & Technology (AREA)
- Medical Informatics (AREA)
- Nuclear Medicine, Radiotherapy & Molecular Imaging (AREA)
- Radiology & Medical Imaging (AREA)
- Computer Vision & Pattern Recognition (AREA)
- Microbiology (AREA)
- Cell Biology (AREA)
- Biotechnology (AREA)
- Human Computer Interaction (AREA)
- Biophysics (AREA)
- Primary Health Care (AREA)
- Epidemiology (AREA)
- Public Health (AREA)
- Chemical Kinetics & Catalysis (AREA)
- Plasma & Fusion (AREA)
- Investigating Or Analysing Materials By The Use Of Chemical Reactions (AREA)
- Investigating Or Analysing Biological Materials (AREA)
- Investigating Or Analyzing Non-Biological Materials By The Use Of Chemical Means (AREA)
Abstract
【選択図】 図2A
Description
本出願は、2020年9月17日に出願された米国特許出願第63/079,975号に対する優先権を主張し、その全体がこの引用により本明細書に組み込まれる。
本発明は、一般に、コンピュータビジョン支援分析を使用した診断試験の分野に関する。
以下に更に詳細に説明するように、診断試験キットは、コンピュータビジョン技術を使用して診断試験の分析を支援するための1又は2以上の構成要素を含むことができる。幾つかのバリエーションにおいて、診断試験キットは、別個の(例えば、サードパーティ又は既製の)診断試験と共に使用するように構成することができる。例えば、診断試験キットは、特定のタイプ又はカテゴリの診断試験(例えば、イムノアッセイ試験、比色ディップスティック試験、比色等温増幅試験、又はラテラルフロー等温増幅試験など)を支援するように構成された構成要素を含むことができるが、このような診断試験を省略するか、又はこの診断試験とは別個にパッケージングすることができる。しかしながら、幾つかのバリエーションにおいて、診断試験キットは、画像分析支援と1又は2以上の診断試験の両方を含むことができる。言い換えれば、診断試験キットは、1又は2以上の適切な診断試験と共にパッケージング又は他の方法で供給される、診断試験の分析を支援するための構成要素を含むことができる。
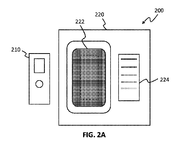
診断試験キット200は、1又は2以上の適切な診断試験210(例えば、迅速診断試験)を含むことができる(又は、その分析をサポートするように構成することができる)。好適な診断試験は、ライン、色変化、又は他のフィデューシャルのような、試験結果の視覚的表示を描写する迅速診断試験を含む。例示的なタイプの診断試験は、ラテラルフローイムノアッセイ試験及び比色診断試験(例えば、ダイレクトフローイムノアッセイ試験、紙の読み出し情報を有する等温増幅試験、比色読み出し情報を有する等温増幅試験、等)を含む。例えば、ラテラルフローイムノアッセイ試験は、試験ストリップの試験領域を縁取るウィンドウを有するカセットに収容された試験ストリップを含むことができ、陽性試験結果の場合、試験結果ライン(コントロールラインとの組み合わせ)がカセットのウィンドウ内で見ることができる。
幾つかのバリエーションにおいて、診断試験キット200は、ユーザからのサンプルの採取を容易にするために、1又は2以上のサンプル採取ツールを更に含むことができる。適切なサンプル採取ツールは、例えば、鼻腔スワブ、口腔採取スワブ、唾液採取容器、カップ、チューブ等を含む。サンプル採取ツールは、ユーザがサンプル採取ツールの1又は2以上を用いてサンプルを採取しているビデオにおいて、サンプルが正しく採取されたかどうかを検証するために、1又は2以上のコンピュータビジョン技術がサンプル採取ツールの位置及び動きを追跡できるよう構成することができる。
上述したように、診断試験キット200は、コンピュータビジョンベースの分析のための支援として任意の適切な診断試験の背後に配置することができる1又は2以上のスキャン面220を含むことができる。スキャン面は、例えば、カード、トレイ、マット、台座、ハウジング、取扱説明書、又は診断試験を受け入れるように構成された任意の適切な物理的構造上に配置することができる。スキャン面は、紙、プラスチック、厚紙、又は他の適切な材料上に形成することができる。
幾つかのバリエーションにおいて、スキャン面は、画像化及び分析のためにユーザが診断試験をどこに置くべきかという指示を提供する試験配置ガイドを含むことができる。試験配置ガイドは、診断試験の自動分析を支援するための1又は2以上の特徴部を含むことができる。
幾つかのバリエーションにおいて、スキャン面は、画像における診断試験及び/又は試験領域(試験結果を表示する診断試験の領域)の空間的な位置決め及び/又は識別を容易にするように機能する1又は2以上の空間マーカを含むことができる。幾つかのバリエーションにおいて、空間マーカは、画像における診断試験の境界を定める配置で、試験配置ガイド(すなわち、診断試験を受けると予想されるスキャン面の領域)内及び/又はその周辺に配置することができる。空間マーカを識別することによって、診断試験の周りのこの境界を識別することができ、これにより、画像の背景からの干渉なしに更なる分析のために診断試験を分離するための画像のクロッピングを可能にすることができる。例えば、スキャン面は、境界領域の頂点を形成する少なくとも3つの空間マーカを含むことができる。一般に、空間マーカは、ArUcoマーカ、QRコード(登録商標)マーカ、他のコンピュータ可読マーカ、又は十分に対照的な視覚特性を有するカスタムマーカなど、任意の適切なフィデューシャルを含むことができる。画像分析中の空間マーカの使用に関する追加の詳細は、以下で更に詳細に説明される。
幾つかのバリエーションにおいて、スキャン面は、較正又は他の参照用の他の適切なマーカを含むことができる。例えば、スキャン面は、正確な試験結果の判読を妨げる可能性のある照明条件の影響を低減するように、画像センサによる自動色補正(例えば、ホワイトバランス)のための基準として機能することができる標準色及び/又はグレースケールマークを含むことができる。加えて又は代替的に、かかる色較正マーカは、診断試験を受けるためのスキャン面とは別の面など、任意の適切な面に現れてもよい。例えば、色較正マーカは、スキャン面上で診断試験を画像化する前に、別個に参照することができる別個の較正カード上に存在することができる。
図2Aに示すように、幾つかのバリエーションにおいて、スキャン面220は、診断試験に関する1又は2以上の所定の試験結果を表す1又は2以上のコントロールマーキング224を含むことができる。例えば、コントロールマーキングは、診断試験における試験結果及び/又は診断試験コントロールマーキングの予想される形状、色、太さ、及び/又は強度に対応する特定の色、太さ、及び/又は強度を有する形状を含むことができる。幾つかのバリエーションにおいて、コントロールマーキング224は、診断試験の検出又は定量の下限(又は下限付近)に対応する少なくとも1つのマーキングを含むことができる。
幾つかのバリエーションにおいて、診断試験キットは、診断試験キット及び/又はその構成要素の容易且つ信頼できる識別及び/又はトレーサビリティのための1又は2以上のコンピュータ可読コードを含むことができる。例えば、診断試験キットは、有効期限、製品SKU、ロット番号、及び/又は同様のものなど、診断試験キットに関連する情報をコード化するQRコード、バーコード、及び/又は他の適切なマーキングを含むことができる。加えて又は代替的に、コンピュータ可読コードは、通信ソフトウェア(例えば、モバイルコンピュータデバイス上で実行されるモバイルアプリケーション内)に、試験結果及び/又は任意の関連メタデータ(例えば、名前、診断試験の日付/時間、校正又は画像品質管理に関する情報等)を、特定のサーバ、クラウドサービス、電子メールアドレス、携帯番号等、特定の指定宛先に送信するように指示するルーティング情報を符号化することができる。
加えて又は代替的に、幾つかのバリエーションにおいて、スキャン面は、比色診断試験の試験結果を分析する際に使用するための例示的な色を含む色基準アレイ又は他のパターンを含むことができる。例えば、色基準アレイは、それぞれが特定の試験結果に対応し、特定の試験結果(例えば、分析物濃度)を有するアッセイの色を評価するためのものであってもよい色ブロック又は他のアイコンの群を含むことができる。色基準配列は、グリッド、芸術的な配列、又は任意の適切なパターンで配置された色付きアイコンを含むことができる。幾つかのバリエーションにおいて、上記のようなコントロールマーキングは、試験分析の目的のために色基準アレイとして追加的に機能することができる。追加的又は代替的に、色基準アレイは、米国特許第8,655,009号及び第8,911,679号に記載されているものと同様であってよく、この各々は、引用により本明細書に組み込まれる。
幾つかのバリエーションにおいて、診断試験キットは、ハウジングを含むことができる。例えば、図4Aに示すように、幾つかのバリエーションにおいて、診断試験キットは、1又は2以上の診断試験キット構成要素を受け入れることができる少なくとも1つのコンパートメント430を含むハウジング400を含むことができる。幾つかのバリエーションにおいて、ハウジングは、プラスチック製の筐体又はカセットを欠いている診断試験に有用である場合がある。コンパートメント430は、例えば、サンプル採取及び/又はサンプル操作のための1又は2以上のツール(例えば、スワブ、カップ、チューブ、遠心分離管、毛細管、使い捨てピペット、他のサンプル容器、試験ストリップ、注射器、針、注射器フィルタ、アルコールワイプ、試薬など)などの構成要素を格納するように構成することができる。幾つかのバリエーションにおいて、構成要素は、トレイ(例えば、構成要素に対応する形状の空洞を有する射出成形トレイ)、箱、及び/又は区画430内の任意の適切な方法で整理することができる。構成要素は、試験プロセス中に使用するために取り出することができる。
幾つかのバリエーションにおいて、診断試験キットは、加熱デバイスを含むことができる。多くの診断試験は等温増幅ステップを利用し、そのために加熱デバイスは熱を提供することができる。図4Aに概略的に示すように、加熱デバイス432は、ハウジング内及び/又はハウジングの周囲の1又は2以上のレセプタクルに置かれたアイテムを温めるように、ハウジングの区画430に配置することができる。例えば、区画430に配置された場合、加熱デバイスは、スキャン面420及び/又はハウジングカバー440上の診断試験(診断試験サンプル、コントロールなどを含む)を温めるように構成することができる。しかしながら、1又は2以上の加熱デバイスは、任意の適切な場所(例えば、前面、背面、底面、側面などのハウジングの外面)に配置することができる。更に、幾つかのバリエーションにおいて、加熱デバイスは、試験サンプルを温めるために構成されたスタンドアロン構造など、ハウジングから分離されていてもよい。
(アッセイスタンド)
幾つかのバリエーションにおいて、診断試験キットは、診断試験の照明を改善し、診断試験のより良い画像を達成するために、スキャン面及び診断試験を適切な角度で方向付けるように構成されたスタンドを追加的又は代替的に含むことができる。アッセイスタンドは、アッセイスタンドがハウジング区画を省略してもよいことを除いて、図4Bに関して上述した角度付きハウジング402と同様であってよい。幾つかのバリエーションにおいて、スタンドは、プラスチック製の筐体又はカセットを欠いている診断試験に有用である場合がある。図4Eの例示的な概略図に示すように、アッセイスタンド450は、例えば、診断試験(T)を受け入れるための、上述したものと同様のスキャン面(例えば、アライメントマーカを有する)を含むことができるトレイ又は他のホルダー352を含むことができる。スタンドは、診断試験上の照明の均質性を向上させるために、診断試験を上向きに角度を付け、及び/又はアッセイに向かって周囲光を上向きに反射するように構成することができる。例えば、スタンドは、約10°と約80°の間、約25°と約65°の間、約35°と約55°の間、又は約45°等の角度で診断試験を傾斜させるように構成することができる。スキャン面は、スタンドの角度の付いた面、及び/又は水平面に対するスタンドの角度に起因して角度を付けられてもよい。角度は、静的な角度の付いたブラケットや他の構造などで固定することができる。或いは、角度は、角度の付いたキックスタンド(例えば、図4Eに示されるキックスタンド454として)のように、調整可能であってもよい。
幾つかのバリエーションにおいて、診断試験キットは、イメージングをサポートするための蛍光関連アクセサリを含むことができる。例えば、診断試験キットは、蛍光読み出し機構(例えば、蛍光粒子又は色素を有する製品)を使用する診断試験に適合するためのアクセサリを含むことができる。幾つかのバリエーションにおいて、診断試験キットは、診断試験において蛍光粒子又は色素を励起するための1又は2以上の励起光源(例えば、紫外線(UV)光源)を含むことができる。加えて又は代替的に、診断試験キットは、診断試験分析目的のために、診断試験キットから放出される蛍光光の画像化を容易にするために、画像化中に診断試験とカメラとの間に配置するための、1又は2以上の適切なUVフィルタを含むことができる。
図5に示すように、診断試験を分析する方法500は、1又は2以上のプロセッサにおいて、診断試験が試験結果を示す試験領域を含む診断試験510を描写する画像を受信するステップ510と、画像の品質を確認するステップ520と、診断試験の試験領域を描写する画像の試験領域画像部分を位置特定するステップ530と、試験領域画像部分に基づいて試験結果を予測するステップ540と、を含むことができる。更に、幾つかのバリエーションにおいて、方法500は、予測された試験結果をユーザ又は他のエンティティに伝達するステップ550、及び/又は予測された試験結果を(例えば、ユーザの電子健康記録、診断プラットフォームと関連付けられたユーザアカウント等)格納するステップ560を更に含むことができる。幾つかのバリエーションにおいて、方法は、図2B~2Dを参照して上述したような技術を使用して、サンプル採取を(試験結果を決定するための画像分析の前、間、又は後に)検証するステップ502を含むことができる。更に、幾つかのバリエーションにおいて、方法は、スキャン面上の1又は2以上のコントロールマーキングの検出を検証するステップ504を含んでもよく、これは、例えば、診断試験分析のための画像を得るために使用されるカメラ品質を評価するために使用することができる。
幾つかのバリエーションにおいて、本方法は、分析のため診断試験の画像を取得するのに使用されるカメラ及び/又は画像センサ(及び/又は画像化条件)の品質を評価するステップを含むことができる。例えば、図7Aに示すように、診断試験の分析を容易にするための方法700は、診断試験の画像と1又は2以上のコントロールマーキングを受信するステップを含むことができる(710)。コントロールマーキングは、上記で更に詳細に説明したように、診断試験に関する1又は2以上の所定の試験結果を表す適切なマーキングを含むことができる。コンピュータビジョン技術は、コントロールマーキングの全て(又は十分な部分)が画像において検出することができるか否か(720)を評価することができる。コントロールマーキングの全てが画像内で検出されない場合、ユーザにエラーを通知することができる(730)。例えば、異なるカメラを試すこと、1又は2以上のカメラ設定を変更すること、1又は2以上の環境要因を調整すること、又はこれらの任意の組み合わせ等の提案をユーザに提供することができる。コントロールマーキングが画像内で検出された場合、画像を更に分析して試験結果を予測することができ(740)、試験結果は、以下に説明するような出力又は他の方法で通信することができる(750)。
図6は、診断試験の画像を分析するためのコンピュータビジョン技術の様々な態様を詳細に示している。上述したように、背景に対して診断試験を描写する画像が受信することができる(610)。背景は、フィデューシャルを有する指定されたスキャン面を含むことができるし、含まなくてもよい。幾つかのバリエーションにおいて、画像は、モバイルコンピュータデバイス上で実行されるアプリケーションの支援により、又は、コンピュータデバイス及びディスプレイを有する試験装置に接続されたカメラにより、ユーザによって取得することができる。アプリケーションは、例えば、ユーザが適切な画像を取得するための画面上の指示及び/又はガイダンス(例えば、表示されたレチクル)を表示することができる。幾つかのバリエーションにおいて、アプリケーションは、追加的又は代替的に、光センサなどのコンピュータデバイス又は試験装置内のセンサを利用して、カメラ設定(例えば、ホワイト/カラーバランスなど)を最適な条件に自動的に調整し、且つ/又はユーザへの提案(例えば、「もっと光のあるところに移動して下さい」)、及び/又はフィードバックループを閉じて試験の照度を自動的に上昇させてもよい。画像は、jpeg、png、RAWなど、任意の適切なフォーマットであってもよい。
画像のラフクロップされたバージョンは、画像の品質を確保するために、一連の1又は2以上の検証プロセスを通じて分析されてもよい(620)。画像の1又は2以上の様々な側面は、受信した画像における照明レベル、カラーバランス、露出レベル、ノイズレベル、画像ボケレベル、影の存在、及び/又はグレアの存在を含むがこれらに限定されない品質について検証することができる。以下に詳細に説明するように、これらの態様は、コンピュータビジョン技術などの様々な技術を使用して、画像品質を確認するために特徴付けることができる。幾つかのバリエーションにおいて、これらの側面のうちの1つ又は複数は、1又は2以上の適切な訓練された機械学習モデル(例えば、深層学習技術)を使用して画像品質を確認するために特徴付けられてもよい。例えば、機械学習モデルは、特定の特性に関して適切な品質の画像を識別するためにニューラルネットワーク又は他の適切なタイプの機械学習技術を訓練するために使用することができるラベル付けされた特徴(例えば、診断試験の許容できる又はできない向き、画像における許容できる又はできないボケ及び/又はノイズレベル、露出、照明又はカラーバランスの許容できる又はできないレベル、画像のクロップの識別された空間座標、背景に対する孤立した診断試験又は試験領域、診断試験の識別された向き、等)の画像を含む訓練データを使用して教師あり方式で訓練することができる。教師なし又は半教師ありの様式で訓練された機械学習モデルは、画像の1又は2以上の側面に関して画質を検証するために追加的又は代替的に使用することができる。
診断試験分析を進めるために、試験領域(例えば、アッセイウィンドウ)が位置特定され得る。試験領域は、様々な好適な態様で位置特定され得る。例えば、上述した大まかな試験領域分離技術(例えば、図11を参照して、及び/又は外形ベースの技術)は、分析を進めるために幾つかの実施例において十分に正確であってよい。或いは、幾つかのバリエーションにおいて、図6に示すように、画像が十分な品質であることが検証された後、診断試験の試験領域(例えば、アッセイウィンドウ)をより正確に分離するために、画像のより精密又は正確なクロッピングを実行することができる(630)。幾つかのバリエーションにおいて、以下で詳細に説明するように、適切なコンピュータビジョン技術を使用して、画像における試験領域を位置決め及び/又は分離することができる。加えて又は代替的に、試験領域は、1又は2以上の適切な訓練された機械学習モデル(例えば、深層学習技術)を使用して、分離及び/又は位置特定することができる。例えば、機械学習モデルは、画像における試験領域を識別及び/又は分離するためにニューラルネットワーク又は他の好適なタイプの機械学習技術を訓練するために使用することができるラベル付けされた試験領域部分(例えば、アッセイウィンドウ、試薬パッドなど)を有する画像を含む訓練データを用いて教師あり方式で訓練することができる。教師なし又は半教師ありの方法で訓練された機械学習モデルを用いて、追加的又は代替的に、画像における試験領域を特定及び/又は分離することができる。
画像における診断試験の試験領域を適切に分離する十分にクロッピングされた画像が与えられると、画像内に描かれた試験領域の分析に基づいて試験結果を予測することができる(640)。図6に示すように、精密又は正確にクロッピングされた画像は、グレースケール(642a)又は適切な高コントラスト色空間(642b)に変換されてもよく、又は更なる分析のためにグレースケール及び色空間バージョンを含む複数のバージョンに変換されるかもしれない。更に、試験領域内の試験ラインは、影からの干渉に強いLAB「A」又はLAB「B」又はYUV「V」チャンネルなどのレシオメトリック色チャンネルにおける影からより容易に区別することができる。従って、幾つかのバリエーションにおいて、試験領域内のラインの位置を決定する場合、輝度と色の尺度を組み合わせたチャンネルを使用するよりも、これらのチャンネルを使用することが好ましい場合がある。
試験結果が予測された後、これらは、適切なエンティティに出力されるか、又は他の方法で伝達することができる。例えば、幾つかのバリエーションにおいて、試験結果は、診断プラットフォームに関連するモバイルアプリケーションを通じて、通知メッセージを通じて、電子メールを通じて、又は任意の適切な方法で、ユーザに伝達することができる。加えて又は代替的に、試験結果は、診断プラットフォームと通信する関連するダッシュボード又は他の適切なシステムを介してなど、ユーザのための医療ケアチームに伝達することができる。更に、幾つかのバリエーションにおいて、試験結果は、ユーザのための適切な電子健康記録又は他のメモリ記憶デバイスに伝達することができる。
実施形態1.
診断試験を分析するための方法であって、
1又は2以上のプロセッサにおいて、
診断試験を描写する画像を受信するステップであって、診断試験は、試験結果を示す試験領域を含む、ステップと、
画像の品質を確認するステップと、
診断試験の試験領域を描写している画像の試験領域画像部分を位置特定するステップと、
試験領域画像部分に基づいて試験結果を予測するステップと、
を含む、方法。
画像の品質を確認するステップが、受信した画像における照明レベル、カラーバランス、ノイズレベル、画像ボケレベル、影の存在、及びグレアの存在のうちの少なくとも1つを評価するステップを含む、実施形態1に記載の方法。
画像の品質を確認するステップが、受信した画像における診断試験の位置及び方向のうちの少なくとも1つを評価するステップを含む、実施形態1に記載の方法。
画像の品質を確認するステップが、受信した画像における1又は2以上のコントロールマーキングの画像化品質を確認するステップを含む、実施形態1に記載の方法。
1又は2以上のコントロールマーキングが、複数のラインを含む、実施形態1に記載の方法。
1又は2以上のコントロールマーキングが、複数の色を含む、実施形態4に記載の方法。
試験領域画像部分を位置特定するステップが、画像における診断試験の境界を特定するステップを含む、実施形態1に記載の方法。
画像における診断試験の境界を特定するステップが、高コントラストの背景に対して診断試験の境界を特定するステップを含む、実施形態7に記載の方法。
試験領域画像部分を位置特定するステップが、画像における診断試験の境界に対する1又は2以上の所定の試験領域座標に少なくとも部分的に基づいて、試験領域画像部分を位置特定するステップを含む、実施形態7に記載の方法。
1又は2以上の所定の試験領域座標は、診断試験のタイプと関連付けられている、実施形態9に記載の方法。
試験領域画像部分を位置特定するステップが、画像におけるスキャン面上に1又は2以上のフィデューシャルを特定するステップと、1又は2以上のフィデューシャルの位置に基づいて試験領域画像部分を位置特定するステップとを含む、実施形態1記載の方法。
試験領域画像部分を位置特定するステップが、画像における所定のカラーチャンネルのピーク代表値を有する関心画像部分を特定するステップと、関心画像部分における所定のカラーチャンネルの最大輪郭の位置に基づいて試験領域画像部分を位置特定するステップとを含む、実施形態1に記載の方法。
所定のカラーチャンネルは、LAB、YUV、HSV、XYZ、及びCYMKからなる群から選択される色空間内にある、実施形態11に記載の方法。
試験結果を予測するステップが、試験領域画像部分における所定のカラーチャンネル内の1又は2以上のピークプロミネンスを特定するステップを含む、実施形態1に記載の方法。
試験結果を予測するステップが、試験領域画像部分におけるコントロール及び結果インジケータの少なくとも1つについて、1又は2以上のピークプロミネンスを評価するステップを含む、実施形態1に記載の方法。
ユーザの1又は2以上の画像を受信するステップと、ユーザの1又は2以上の画像に基づいてユーザによりサンプル採取を検証するステップとを更に含む、実施形態1に記載の方法。
受信した画像に描かれた診断試験のタイプを特定するステップを更に含む、実施形態1に記載の方法。
予測された試験結果をユーザに伝達するステップを更に含む、実施形態1に記載の方法。
診断試験が、ラテラルフローイムノアッセイ試験を含む、実施形態1に記載の方法。
ラテラルフローイムノアッセイ試験が、ダイレクトフローイムノアッセイ試験である、実施形態19に記載の方法。
診断試験が、比色イムノアッセイ試験を含む、実施形態1記載の方法。
比色イムノアッセイ試験が、等温増幅試験である、実施形態21記載の方法。
診断試験の分析を容易にする方法であって、
1又は2以上のプロセッサにおいて、
スキャン面上の1又は2以上のコントロールマーキングを描写する1又は2以上の画像を受信するステップであって、1又は2以上のコントロールマーキングは、診断試験に関する1又は2以上の所定の試験結果を表す、ステップと、
少なくとも1つのコンピュータビジョン技術を使用して、1又は2以上の画像における1又は2以上のコントロールマーキングの検出を検証するステップと、
を含む、方法。
画像の少なくとも1つは、診断試験及び1又は2以上のコントロールマーキングを描写する、実施形態23に記載の方法。
診断試験を描写する1又は2以上の画像を別々に受信するステップを更に含む、実施形態23に記載の方法。
1又は2以上の画像における1又は2以上のコントロールマーキングの検出を検証するステップが、1又は2以上のコントロールマーキングに関連する一連の画素の代表値のアレイを生成するステップと、アレイにおけるピーク及び/又はプロミネンスを決定するステップと、ピーク及び/又はプロミネンスを1又は2以上の所定の閾値と比較するステップとを含む、実施形態23に記載の方法。
1又は2以上のコントロールマーキングの検出を検証するステップは、1又は2以上の画像における白色空間をネガティブコントロールとして処理するステップを含む、実施形態26に記載の方法。
1又は2以上のコントロールマーキングを描写する1又は2以上の画像において1又は2以上のコントロールマーキングを検出することに応答して、診断試験の画像に基づいて診断試験の試験結果を予測するステップを更に含む、実施形態23に記載の方法。
1又は2以上のコントロールマーキングを描写する1又は2以上の画像において1又は2以上のコントロールマーキングを検出できないことに応答してユーザに通知するステップを更に含む、実施形態23に記載の方法。
診断試験が、ラテラルフローイムノアッセイ試験を含み、1又は2以上のコントロールマーキングが、1又は2以上のラインを含む、実施形態23に記載の方法。
1又は2以上のラインが、太さ、色、色相、及び反射率のうちの少なくとも1つが異なる、実施形態30に記載の方法。
1又は2以上のラインは、黒色及び/又は灰色のラインを含む、実施形態30に記載の方法。
診断試験が、比色イムノアッセイ試験を含み、1又は2以上のコントロールマーキングが、1又は2以上の色を含む、実施形態23に記載の方法。
スキャン面が更に、1又は2以上のコントロールマーキングに近接した試験配置ガイドを備え、試験配置ガイドが、診断試験の配置をガイドするように構成される、実施形態23に記載の方法。
診断試験の分析を容易にするためのシステムであって、
1又は2以上のコントロールマーキングを含むスキャン面を備え、
1又は2以上のコントロールマーキングは、診断試験に関する1又は2以上の所定の試験結果を表す、システム。
スキャン面は更に、診断試験の配置を示す試験配置ガイドを備える、実施形態35に記載のシステム。
試験配置ガイドが、診断試験と対照的な色を有する、実施形態36に記載のシステム。
試験配置ガイドが、診断試験の外形を示す、実施形態36に記載のシステム。
診断試験が、ラテラルフローイムノアッセイ試験を含み、1又は2以上のコントロールマーキングが、1又は2以上のラインを含む、実施形態35に記載のシステム。
1又は2以上のラインが、太さ、色、色相、及び反射率の少なくとも1つが異なる、実施形態39に記載のシステム。
1又は2以上のラインは、黒色及び/又は灰色ラインを含む、実施形態39に記載のシステム。
診断試験が、比色イムノアッセイ試験を含み、1又は2以上のコントロールマーキングが、1又は2以上の色を含む、実施形態35に記載のシステム。
スキャン面が更に、少なくとも1つの空間フィデューシャルを含む、実施形態35に記載のシステム。
スキャン面が、識別情報を有する少なくとも1つのコンピュータ可読コードを含む、実施形態35に記載のシステム。
1又は2以上のコントロールマーキングは、スキャン面上に印刷されている、実施形態35に記載のシステム。
1又は2以上のコントロールマーキングは、インク又はトナーで印刷される、実施形態45に記載のシステム。
1又は2以上のコントロールマーキングは、蛍光インクで印刷されている、実施形態46に記載のシステム。
蛍光インクが、ユーロピウム、ローダミン、フルオレセイン、アレクサフロ、量子ドット、及び蛍光ナノ粒子からなる群から選択される少なくとも1つを含む、実施形態47に記載のシステム。
診断試験キットであって、
試験結果を示すための試験領域を含む診断試験と、
1又は2以上のコントロールマーキングを含むスキャン面と、
を備え、1又は2以上のコントロールマーキングは、診断試験に関する1又は2以上の所定の試験結果を表す、診断試験キット。
診断試験が、ラテラルフローイムノアッセイ試験を含み、1又は2以上のコントロールマーキングが、1又は2以上のラインを含む、実施形態49に記載の診断試験キット。
1又は2以上のラインは太さが異なる、実施形態50に記載の診断試験キット。
1又は2以上のラインは色が異なる、実施形態50に記載の診断試験キット。
1又は2以上のラインは色相が異なる、実施形態50に記載の診断試験キット。
1又は2以上のラインは反射率が異なる、実施形態50に記載の診断試験キット。
1又は2以上のラインは、黒色及び/又は灰色である、実施形態50に記載の診断試験キット。
1又は2以上のラインは、診断試験における試験結果ラインの予想される色に一致する色である、実施形態50に記載の診断試験キット。
診断試験が、比色イムノアッセイ試験を含み、1又は2以上のコントロールマーキングが、複数の色を含む、実施形態49に記載の診断試験キット。
1又は2以上のコントロールマーキングは、スキャン面上に印刷される、実施形態49に記載の診断試験キット。
1又は2以上のコントロールマーキングは、インク又はトナーで印刷される、実施形態58に記載の診断試験キット。
1又は2以上のコントロールマーキングは、蛍光インクで印刷されている、実施形態59に記載の診断試験キット。
蛍光インクが、ユーロピウム、ローダミン、フルオレセイン、アレキサフルオロ、量子ドット、及び蛍光ナノ粒子からなる群から選択される少なくとも1つを含む、実施形態60に記載の診断試験キット。
スキャン面が更に、1又は2以上のコントロールマーキングに近接した試験配置ガイドを備え、試験配置ガイドが、診断試験の配置をガイドするように構成される、実施形態49に記載の診断試験キット。
スキャン面が第1のスキャン面であり、診断試験キットが更に、第1のスキャン面とは別の第2のスキャン面を備え且つ試験配置ガイドを含む、実施形態49に記載の診断試験キット。
加熱デバイスを更に備える、実施形態49に記載の診断試験キット。
加熱デバイスと加熱デバイスに近接した試験配置ガイドとを含むハウジングを更に備え、試験配置ガイドは、診断試験の配置をガイドするように構成される、実施形態64に記載の診断試験キット。
スキャン面が、ハウジング上に配置される、実施形態65に記載の診断試験キット。
ハウジングが、診断試験サンプルを受け入れるように構成されている、実施形態66に記載の診断試験キット。
ハウジングが、試験サンプル容器を受け入れるように構成されたレセプタクルを備える、実施形態67に記載の診断試験キット。
レセプタクルが、加熱デバイスに近接している、実施形態68に記載の診断試験キット。
Claims (69)
- 診断試験を分析するための方法であって、
1又は2以上のプロセッサにおいて、
診断試験を描写する画像を受信するステップであって、前記診断試験は、試験結果を示す試験領域を含む、ステップと、
前記画像の品質を確認するステップと、
前記診断試験の前記試験領域を描写している前記画像の試験領域画像部分を位置特定するステップと、
前記試験領域画像部分に基づいて前記試験結果を予測するステップと、
を含む、方法。 - 前記画像の品質を確認するステップが、前記受信した画像における照明レベル、カラーバランス、ノイズレベル、画像ボケレベル、影の存在、及びグレアの存在のうちの少なくとも1つを評価するステップを含む、請求項1に記載の方法。
- 前記画像の品質を確認するステップが、前記受信した画像における診断試験の位置及び方向のうちの少なくとも1つを評価するステップを含む、請求項1に記載の方法。
- 前記画像の品質を確認するステップが、前記受信した画像における1又は2以上のコントロールマーキングの画像化品質を確認するステップを含む、請求項1に記載の方法。
- 前記1又は2以上のコントロールマーキングが、複数のラインを含む、請求項1に記載の方法。
- 前記1又は2以上のコントロールマーキングが、複数の色を含む、請求項4に記載の方法。
- 試験領域画像部分を位置特定するステップが、前記画像における前記診断試験の境界を特定するステップを含む、請求項1に記載の方法。
- 前記画像における前記診断試験の境界を特定するステップが、高コントラストの背景に対して前記診断試験の境界を特定するステップを含む、請求項7に記載の方法。
- 前記試験領域画像部分を位置特定するステップが、前記画像における前記診断試験の境界に対する1又は2以上の所定の試験領域座標に少なくとも部分的に基づいて、前記試験領域画像部分を位置特定するステップを含む、請求項7に記載の方法。
- 前記1又は2以上の所定の試験領域座標は、前記診断試験のタイプと関連付けられている、請求項9に記載の方法。
- 前記試験領域画像部分を位置特定するステップが、前記画像におけるスキャン面上に1又は2以上のフィデューシャルを特定するステップと、前記1又は2以上のフィデューシャルの位置に基づいて前記試験領域画像部分を位置特定するステップとを含む、請求項1記載の方法。
- 前記試験領域画像部分を位置特定するステップが、前記画像における所定のカラーチャンネルのピーク代表値を有する関心画像部分を特定するステップと、前記関心画像部分における所定のカラーチャンネルの最大輪郭の位置に基づいて前記試験領域画像部分を位置特定するステップとを含む、請求項1に記載の方法。
- 前記所定のカラーチャンネルは、LAB、YUV、HSV、XYZ、及びCYMKからなる群から選択される色空間内にある、請求項11に記載の方法。
- 前記試験結果を予測するステップが、前記試験領域画像部分における所定のカラーチャンネル内の1又は2以上のピークプロミネンスを特定するステップを含む、請求項1に記載の方法。
- 前記試験結果を予測するステップが、前記試験領域画像部分におけるコントロール及び結果インジケータの少なくとも1つについて、前記1又は2以上のピークプロミネンスを評価するステップを含む、請求項1に記載の方法。
- 前記ユーザの1又は2以上の画像を受信するステップと、前記ユーザの前記1又は2以上の画像に基づいて前記ユーザによりサンプル採取を検証するステップとを更に含む、請求項1に記載の方法。
- 前記受信した画像に描かれた前記診断試験のタイプを特定するステップを更に含む、請求項1に記載の方法。
- 前記予測された試験結果をユーザに伝達するステップを更に含む、請求項1に記載の方法。
- 前記診断試験が、ラテラルフローイムノアッセイ試験を含む、請求項1に記載の方法。
- 前記ラテラルフローイムノアッセイ試験が、ダイレクトフローイムノアッセイ試験である、請求項19に記載の方法。
- 前記診断試験が、比色イムノアッセイ試験を含む、請求項1記載の方法。
- 前記比色イムノアッセイ試験が、等温増幅試験である、請求項21記載の方法。
- 診断試験の分析を容易にする方法であって、
1又は2以上のプロセッサにおいて、
スキャン面上の1又は2以上のコントロールマーキングを描写する1又は2以上の画像を受信するステップであって、前記1又は2以上のコントロールマーキングは、前記診断試験に関する1又は2以上の所定の試験結果を表す、ステップと、
少なくとも1つのコンピュータビジョン技術を使用して、前記1又は2以上の画像における前記1又は2以上のコントロールマーキングの検出を検証するステップと、
を含む、方法。 - 前記画像の少なくとも1つは、前記診断試験及び前記1又は2以上のコントロールマーキングを描写する、請求項23に記載の方法。
- 前記診断試験を描写する1又は2以上の画像を別々に受信するステップを更に含む、請求項23に記載の方法。
- 前記1又は2以上の画像における前記1又は2以上のコントロールマーキングの検出を検証するステップが、前記1又は2以上のコントロールマーキングに関連する一連の画素の代表値のアレイを生成するステップと、前記アレイにおけるピーク及び/又はプロミネンスを決定するステップと、前記ピーク及び/又はプロミネンスを1又は2以上の所定の閾値と比較するステップとを含む、請求項23に記載の方法。
- 前記1又は2以上のコントロールマーキングの検出を検証するステップは、前記1又は2以上の画像における白色空間をネガティブコントロールとして処理するステップを含む、請求項26に記載の方法。
- 前記1又は2以上のコントロールマーキングを描写する前記1又は2以上の画像において前記1又は2以上のコントロールマーキングを検出することに応答して、前記診断試験の画像に基づいて前記診断試験の試験結果を予測するステップを更に含む、請求項23に記載の方法。
- 前記1又は2以上のコントロールマーキングを描写する前記1又は2以上の画像において前記1又は2以上のコントロールマーキングを検出できないことに応答してユーザに通知するステップを更に含む、請求項23に記載の方法。
- 前記診断試験が、ラテラルフローイムノアッセイ試験を含み、前記1又は2以上のコントロールマーキングが、1又は2以上のラインを含む、請求項23に記載の方法。
- 1又は2以上のラインが、太さ、色、色相、及び反射率のうちの少なくとも1つが異なる、請求項30に記載の方法。
- 前記1又は2以上のラインは、黒色及び/又は灰色のラインを含む、請求項30に記載の方法。
- 前記診断試験が、比色イムノアッセイ試験を含み、前記1又は2以上のコントロールマーキングが、1又は2以上の色を含む、請求項23に記載の方法。
- 前記スキャン面が更に、前記1又は2以上のコントロールマーキングに近接した試験配置ガイドを備え、前記試験配置ガイドが、前記診断試験の配置をガイドするように構成される、請求項23に記載の方法。
- 診断試験の分析を容易にするためのシステムであって、
1又は2以上のコントロールマーキングを含むスキャン面を備え、
前記1又は2以上のコントロールマーキングは、前記診断試験に関する1又は2以上の所定の試験結果を表す、システム。 - 前記スキャン面は更に、前記診断試験の配置を示す試験配置ガイドを備える、請求項35に記載のシステム。
- 前記試験配置ガイドが、前記診断試験と対照的な色を有する、請求項36に記載のシステム。
- 前記試験配置ガイドが、前記診断試験の外形を示す、請求項36に記載のシステム。
- 前記診断試験が、ラテラルフローイムノアッセイ試験を含み、前記1又は2以上のコントロールマーキングが、1又は2以上のラインを含む、請求項35に記載のシステム。
- 前記1又は2以上のラインが、太さ、色、色相、及び反射率の少なくとも1つが異なる、請求項39に記載のシステム。
- 前記1又は2以上のラインは、黒色及び/又は灰色ラインを含む、請求項39に記載のシステム。
- 前記診断試験が、比色イムノアッセイ試験を含み、前記1又は2以上のコントロールマーキングが、1又は2以上の色を含む、請求項35に記載のシステム。
- 前記スキャン面が更に、少なくとも1つの空間フィデューシャルを含む、請求項35に記載のシステム。
- 前記スキャン面が、識別情報を有する少なくとも1つのコンピュータ可読コードを含む、請求項35に記載のシステム。
- 前記1又は2以上のコントロールマーキングは、前記スキャン面上に印刷されている、請求項35に記載のシステム。
- 前記1又は2以上のコントロールマーキングは、インク又はトナーで印刷される、請求項45に記載のシステム。
- 前記1又は2以上のコントロールマーキングは、蛍光インクで印刷されている、請求項46に記載のシステム。
- 前記蛍光インクが、ユーロピウム、ローダミン、フルオレセイン、アレクサフロ、量子ドット、及び蛍光ナノ粒子からなる群から選択される少なくとも1つを含む、請求項47に記載のシステム。
- 診断試験キットであって、
試験結果を示すための試験領域を含む診断試験と、
1又は2以上のコントロールマーキングを含むスキャン面と、
を備え、前記1又は2以上のコントロールマーキングは、前記診断試験に関する1又は2以上の所定の試験結果を表す、診断試験キット。 - 前記診断試験が、ラテラルフローイムノアッセイ試験を含み、前記1又は2以上のコントロールマーキングが、1又は2以上のラインを含む、請求項49に記載の診断試験キット。
- 前記1又は2以上のラインは太さが異なる、請求項50に記載の診断試験キット。
- 前記1又は2以上のラインは色が異なる、請求項50に記載の診断試験キット。
- 前記1又は2以上のラインは色相が異なる、請求項50に記載の診断試験キット。
- 前記1又は2以上のラインは反射率が異なる、請求項50に記載の診断試験キット。
- 前記1又は2以上のラインは、黒色及び/又は灰色である、請求項50に記載の診断試験キット。
- 前記1又は2以上のラインは、前記診断試験における試験結果ラインの予想される色に一致する色である、請求項50に記載の診断試験キット。
- 前記診断試験が、比色イムノアッセイ試験を含み、前記1又は2以上のコントロールマーキングが、複数の色を含む、請求項49に記載の診断試験キット。
- 前記1又は2以上のコントロールマーキングは、前記スキャン面上に印刷される、請求項49に記載の診断試験キット。
- 前記1又は2以上のコントロールマーキングは、インク又はトナーで印刷される、請求項58に記載の診断試験キット。
- 前記1又は2以上のコントロールマーキングは、蛍光インクで印刷されている、請求項59に記載の診断試験キット。
- 前記蛍光インクが、ユーロピウム、ローダミン、フルオレセイン、アレキサフルオロ、量子ドット、及び蛍光ナノ粒子からなる群から選択される少なくとも1つを含む、請求項60に記載の診断試験キット。
- 前記スキャン面が更に、1又は2以上のコントロールマーキングに近接した試験配置ガイドを備え、前記試験配置ガイドが、前記診断試験の配置をガイドするように構成される、請求項49に記載の診断試験キット。
- 前記スキャン面が第1のスキャン面であり、前記診断試験キットが更に、第1のスキャン面とは別の第2のスキャン面を備え且つ試験配置ガイドを含む、請求項49に記載の診断試験キット。
- 加熱デバイスを更に備える、請求項49に記載の診断試験キット。
- 前記加熱デバイスと前記加熱デバイスに近接した試験配置ガイドとを含むハウジングを更に備え、前記試験配置ガイドは、前記診断試験の配置をガイドするように構成される、請求項64に記載の診断試験キット。
- 前記スキャン面が、前記ハウジング上に配置される、請求項65に記載の診断試験キット。
- 前記ハウジングが、診断試験サンプルを受け入れるように構成されている、請求項66に記載の診断試験キット。
- 前記ハウジングが、試験サンプル容器を受け入れるように構成されたレセプタクルを備える、請求項67に記載の診断試験キット。
- 前記レセプタクルが、前記加熱デバイスに近接している、請求項68に記載の診断試験キット。
Applications Claiming Priority (3)
| Application Number | Priority Date | Filing Date | Title |
|---|---|---|---|
| US202063079975P | 2020-09-17 | 2020-09-17 | |
| US63/079,975 | 2020-09-17 | ||
| PCT/US2021/025789 WO2022060415A1 (en) | 2020-09-17 | 2021-04-05 | Diagnostic test kits and methods of analyzing the same |
Publications (2)
| Publication Number | Publication Date |
|---|---|
| JP2023541663A true JP2023541663A (ja) | 2023-10-03 |
| JPWO2022060415A5 JPWO2022060415A5 (ja) | 2024-04-16 |
Family
ID=75675000
Family Applications (1)
| Application Number | Title | Priority Date | Filing Date |
|---|---|---|---|
| JP2023517379A Pending JP2023541663A (ja) | 2020-09-17 | 2021-04-05 | 診断試験キット及びその分析方法 |
Country Status (8)
| Country | Link |
|---|---|
| US (2) | US11996183B2 (ja) |
| EP (1) | EP4214669A1 (ja) |
| JP (1) | JP2023541663A (ja) |
| KR (1) | KR20230082616A (ja) |
| CN (1) | CN116250004A (ja) |
| AU (1) | AU2021345448A1 (ja) |
| CA (1) | CA3192942A1 (ja) |
| WO (1) | WO2022060415A1 (ja) |
Families Citing this family (26)
| Publication number | Priority date | Publication date | Assignee | Title |
|---|---|---|---|---|
| US12235217B2 (en) | 2019-11-13 | 2025-02-25 | Scanwell Health, Inc. | Diagnostic test kits for sample preparation and analysis |
| WO2022049438A1 (en) * | 2020-09-04 | 2022-03-10 | 3M Innovative Properties Company | Chromatographic reader devices for biodetection |
| KR20230082616A (ko) | 2020-09-17 | 2023-06-08 | 스캔웰 헬스, 인크. | 진단 테스트 키트들 및 이를 분석하는 방법들 |
| USD970033S1 (en) | 2020-10-23 | 2022-11-15 | Becton, Dickinson And Company | Cartridge imaging background device |
| AU2021366678A1 (en) | 2020-10-23 | 2023-05-18 | Becton, Dickinson And Company | Systems and methods for imaging and image-based analysis of test devices |
| US11289196B1 (en) | 2021-01-12 | 2022-03-29 | Emed Labs, Llc | Health testing and diagnostics platform |
| CA3210183A1 (en) * | 2021-02-14 | 2022-08-18 | Becton, Dickinson And Company | Lateral flow assay with sample adequacy line |
| US20220375594A1 (en) * | 2021-05-24 | 2022-11-24 | Emed Labs, Llc | Systems, devices, and methods for diagnostic aid kit apparatus |
| US11929168B2 (en) * | 2021-05-24 | 2024-03-12 | Emed Labs, Llc | Systems, devices, and methods for diagnostic aid kit apparatus |
| US20220375595A1 (en) * | 2021-05-24 | 2022-11-24 | Emed Labs, Llc | Systems, devices, and methods for diagnostic aid kit apparatus |
| JP2022182513A (ja) * | 2021-05-28 | 2022-12-08 | セイコーエプソン株式会社 | 測色システム、測色方法及びプログラム |
| US20230057531A1 (en) * | 2021-08-17 | 2023-02-23 | Emed Labs, Llc | Mobile device stands for at-home diagnostics and healthcare |
| US20230080048A1 (en) * | 2021-09-16 | 2023-03-16 | Specialty Diagnostic (SDI) Laboratories, Inc. | Method and apparatus for generating a contagion prevention health assessment |
| ES3025965T3 (en) * | 2021-12-13 | 2025-06-10 | Liftric Gmbh | Machine-learning based evaluation of lateral flow tests |
| US12272454B2 (en) * | 2022-02-21 | 2025-04-08 | Brightermd Llc | Asynchronous administration and virtual proctoring of a diagnostic test |
| US11810662B2 (en) * | 2022-03-04 | 2023-11-07 | Imagemovermd, Inc. | Collection, storage, and management of images or image results |
| CN115096878A (zh) * | 2022-04-06 | 2022-09-23 | 新绎健康科技有限公司 | 一种便检试纸的检测方法及系统 |
| TW202413946A (zh) * | 2022-09-22 | 2024-04-01 | 國立成功大學 | 試片檢測載台、試片檢測系統以及試片檢測方法 |
| WO2024138209A1 (en) * | 2022-12-23 | 2024-06-27 | Emed Labs, Llc | Systems, methods, and devices for an integrated telehealth platform |
| KR20240156846A (ko) * | 2023-04-24 | 2024-10-31 | 한국전자통신연구원 | 신속진단키트 리더기 |
| CN117058359A (zh) * | 2023-08-11 | 2023-11-14 | 云南省农业科学院质量标准与检测技术研究所 | 基于计算机视觉的定量胶体金试纸检测方法和系统 |
| KR102854750B1 (ko) * | 2023-10-12 | 2025-09-03 | 주식회사 대곤코퍼레이션 | 복수 개의 학습방법을 통해 획득한 이미지를 활용하는 객체 표면 검사 시스템 |
| GB2635230A (en) * | 2023-11-06 | 2025-05-07 | Bha Global Ltd | System and method for managing diagnostic testing and results |
| WO2025125304A1 (en) * | 2023-12-14 | 2025-06-19 | Roche Diabetes Care Gmbh | Method for determining an item of information about a quality of an image |
| WO2025173009A1 (en) * | 2024-02-14 | 2025-08-21 | Quadpoint Labs Ltd | Device, system and method for ai-based quantitative colorimetric lateral flow analysis |
| FR3162856A1 (fr) | 2024-05-31 | 2025-12-05 | Belmont Diagnostics | Procede et terminal mobile de mesure quantitative par chromatographie d'un analyte d'interet |
Citations (5)
| Publication number | Priority date | Publication date | Assignee | Title |
|---|---|---|---|---|
| US20150308961A1 (en) * | 2012-08-08 | 2015-10-29 | Scanadu Incorporated | Quantifying color changes of chemical test pads induced by specific concentrations of biological analytes under different lighting conditions |
| US20160125600A1 (en) * | 2014-11-04 | 2016-05-05 | Samsung Electronics Co., Ltd. | Method of and apparatus for measuring biometric information |
| JP6480988B2 (ja) * | 2011-03-31 | 2019-03-13 | ノバラム ディーエックス リミテッド | ソフトウェアアプリケーションおよびプロセッサ |
| JP2021522469A (ja) * | 2018-05-07 | 2021-08-30 | イムンディアグノスティック アー ゲー | 定量的なラテラルフロークロマトグラフィーの分析システム |
| JP2021533385A (ja) * | 2018-07-27 | 2021-12-02 | ルモス・ダイアグノスティックス・アイピー・プロプライエタリー・リミテッド | ラテラルフローアッセイデバイスおよび使用方法 |
Family Cites Families (157)
| Publication number | Priority date | Publication date | Assignee | Title |
|---|---|---|---|---|
| US4843377A (en) | 1987-04-21 | 1989-06-27 | Guardian Technologies, Inc. | Remote confinement system |
| US4976923A (en) | 1989-05-12 | 1990-12-11 | Rhode Island Hospital | Sample container |
| CA2008414A1 (en) | 1989-11-15 | 1991-05-15 | David Bar-Or | Detection of appendicits by measurement of ortho-hydroxyhippuric acid |
| US5260219A (en) | 1990-12-11 | 1993-11-09 | Robert Fritz | Method of determining nitrogen balance and fat loss for persons involved in diet and/or physical training program |
| US5119830A (en) | 1991-04-03 | 1992-06-09 | Code Blue Medical Corporation | Analytical specimen cup with testing means |
| US5408535A (en) | 1993-09-07 | 1995-04-18 | Miles Inc. | Video test strip reader and method for evaluating test strips |
| US5595187A (en) | 1994-06-20 | 1997-01-21 | Urocath Corporation | Analytical specimen cup system and method |
| US5501837A (en) | 1994-07-15 | 1996-03-26 | Sayles; Philip W. | One-step test device |
| US5640969A (en) | 1995-05-16 | 1997-06-24 | Urocath Corporation | Lid for an analytical specimen cup |
| US6718053B1 (en) | 1996-11-27 | 2004-04-06 | Chromavision Medical Systems, Inc. | Method and apparatus for automated image analysis of biological specimens |
| US6254385B1 (en) | 1997-01-02 | 2001-07-03 | Lj Laboratories, Llc | Apparatus and method for measuring optical characteristics of teeth |
| US6514461B1 (en) | 1997-02-14 | 2003-02-04 | Escreen, Inc. | System for automatically testing a fluid specimen |
| KR100577699B1 (ko) | 1998-03-18 | 2006-05-09 | 세키스이가가쿠 고교가부시키가이샤 | 진공 검체 채취 용기용 마개 부재, 진공 검체 채취 용기,진공 검체 채취 시스템, 진공 검체 채취 홀더 및 마개부재용 열가소성 엘라스토머 조성물 |
| GB2339615B (en) | 1998-07-14 | 2001-02-07 | Cozart Bioscience Ltd | Screening device and method of screening an immunoassay test |
| USD457246S1 (en) | 1999-12-20 | 2002-05-14 | Merck & Co., Inc. | Pharmaceutical kit |
| US6534014B1 (en) | 2000-05-11 | 2003-03-18 | Irm Llc | Specimen plate lid and method of using |
| US7300626B2 (en) | 2001-05-21 | 2007-11-27 | John Wu | Fluid-specimen collecting and testing device and method for recording chromatographic assay test results |
| US7267799B1 (en) | 2002-08-14 | 2007-09-11 | Detekt Biomedical, L.L.C. | Universal optical imaging and processing system |
| US7200252B2 (en) | 2002-10-28 | 2007-04-03 | Ventana Medical Systems, Inc. | Color space transformations for use in identifying objects of interest in biological specimens |
| US7197169B2 (en) | 2003-01-02 | 2007-03-27 | Kuo-Jeng Wang | Method for detecting a response of each probe zone on a test strip |
| US7097103B2 (en) | 2003-05-22 | 2006-08-29 | Wen-Chao Tseng | Method of automatically detecting a test result of a probe zone of a test strip |
| EP1725973A4 (en) | 2004-03-05 | 2013-12-11 | Siemens Healthcare Diagnostics | HAND-HELD OPTICAL DIAGNOSTIC DEVICE WITH IMAGE SYSTEM ARRAY |
| US20050221504A1 (en) | 2004-04-01 | 2005-10-06 | Petruno Patrick T | Optoelectronic rapid diagnostic test system |
| US7763454B2 (en) | 2004-07-09 | 2010-07-27 | Church & Dwight Co., Inc. | Electronic analyte assaying device |
| CA2601720C (en) | 2005-04-01 | 2014-08-12 | Advanced Medical Products Gmbh | Body fluid testing component for analyte detection |
| US7420663B2 (en) | 2005-05-24 | 2008-09-02 | Bwt Property Inc. | Spectroscopic sensor on mobile phone |
| EP1801568A1 (de) | 2005-12-21 | 2007-06-27 | Micronas Holding GmbH | Teststreifen und Verfahren zum Messen einer Analytkonzentration in einer Probe eines biologischen Fluids |
| US7652268B2 (en) | 2006-01-31 | 2010-01-26 | Jp Laboratories, Inc | General purpose, high accuracy dosimeter reader |
| US7474390B2 (en) | 2006-05-26 | 2009-01-06 | Lifescan Scotland Limited | Test strip with permutative grey scale calibration pattern |
| GB2445187B (en) | 2006-12-29 | 2010-10-27 | Mologic Ltd | Diagnostic test device |
| US7776618B2 (en) | 2007-03-01 | 2010-08-17 | Church & Dwight Co., Inc. | Diagnostic detection device |
| JP4528336B2 (ja) | 2007-03-10 | 2010-08-18 | ローム アンド ハース カンパニー | 試験ストリップを読み取る方法 |
| US8150115B2 (en) | 2007-04-18 | 2012-04-03 | Iris International, Inc. | Chemistry strip reader and method |
| US8073248B2 (en) | 2007-06-08 | 2011-12-06 | Apple Inc. | Automatic detection of calibration charts in images |
| USD633209S1 (en) | 2008-11-27 | 2011-02-22 | Clondiag Gmbh | Cartridge for counting particles in blood |
| WO2010101865A1 (en) | 2009-03-02 | 2010-09-10 | Zymo Research Corporation | Universal column |
| USD637310S1 (en) | 2009-12-03 | 2011-05-03 | Gilson Sas | Assay device |
| US8655009B2 (en) | 2010-09-15 | 2014-02-18 | Stephen L. Chen | Method and apparatus for performing color-based reaction testing of biological materials |
| US8506901B2 (en) | 2010-11-03 | 2013-08-13 | Teco Diagnostics | All-in-one specimen cup with optically readable results |
| JP5267617B2 (ja) | 2011-06-23 | 2013-08-21 | ウシオ電機株式会社 | 分析装置および分析方法 |
| US9354181B2 (en) | 2011-08-04 | 2016-05-31 | Saint Mary's College | Analytical devices for detection of low-quality pharmaceuticals |
| EP2754124A1 (en) | 2011-09-06 | 2014-07-16 | Canfield Scientific, Incorporated | Systems, devices, and methods for image analysis |
| US9939385B2 (en) | 2011-09-09 | 2018-04-10 | Church & Dwight Co., Inc. | Systems, methods, and test kits for analyte variation detection |
| US8889424B2 (en) | 2011-09-13 | 2014-11-18 | Joel R. L. Ehrenkranz | Device and method for performing a diagnostic test |
| AU342348S (en) | 2011-09-22 | 2012-05-03 | Conidia Bioscience Ltd | Testing apparatus |
| US9042630B2 (en) | 2011-10-26 | 2015-05-26 | Definiens Ag | Biomarker evaluation through image analysis |
| US8999728B2 (en) | 2011-12-21 | 2015-04-07 | Church & Dwight Co., Inc. | Diagnostic detection device |
| US9818193B2 (en) | 2012-01-30 | 2017-11-14 | Scanadu, Inc. | Spatial resolution enhancement in hyperspectral imaging |
| CA2864135A1 (en) * | 2012-02-03 | 2013-08-08 | University Of Cincinnati | Method and system for analyzing a colorimetric assay |
| KR102005597B1 (ko) | 2012-02-06 | 2019-07-30 | 더 리전트 오브 더 유니버시티 오브 캘리포니아 | 휴대용 신속 진단 테스트 리더기 |
| US9588113B2 (en) | 2012-02-22 | 2017-03-07 | Church & Dwight Co., Inc. | Methods for electronic analyte assaying |
| US9230187B2 (en) | 2012-03-15 | 2016-01-05 | Qualcomm Incorporated | System and method for robust estimation of color dependent measurements |
| US9063091B2 (en) | 2012-04-06 | 2015-06-23 | Ixensor Inc. | Test strips and method for reading test strips |
| US10132802B2 (en) | 2012-04-17 | 2018-11-20 | i-calQ, LLC | Device for performing a diagnostic test and methods for use thereof |
| US10983065B2 (en) | 2012-08-08 | 2021-04-20 | Healthy.Io Ltd. | Method, apparatus and system for detecting and determining compromised reagent pads by quantifying color changes induced by exposure to a hostile environment |
| CN104969068B (zh) | 2012-08-08 | 2019-06-18 | 思勘度股份有限公司 | 用于在自动校准环境中执行及量化由特定浓度的生物分析物诱发的色彩改变的方法及设备 |
| USD690828S1 (en) | 2012-09-17 | 2013-10-01 | Intron Biotechnology, Inc. | Culture media device |
| ES2401443B1 (es) | 2012-10-11 | 2013-11-15 | Blazer Technologies, Slu | Procedimiento y sistema de medición de una tira reactiva |
| US9778200B2 (en) | 2012-12-18 | 2017-10-03 | Ixensor Co., Ltd. | Method and apparatus for analyte measurement |
| US9787815B2 (en) | 2013-01-21 | 2017-10-10 | Cornell University | Smartphone-based apparatus and method |
| CN105164514A (zh) | 2013-01-21 | 2015-12-16 | 康奈尔大学 | 基于智能手机的装置和用于获取可重复的定量比色测量的方法 |
| US8976252B2 (en) | 2013-01-30 | 2015-03-10 | Hewlett-Packard Development Company, L.P. | Acquisition of color calibration charts |
| US9240039B2 (en) | 2013-02-01 | 2016-01-19 | Ge Cong | Method for fast test strip intensity recognition |
| WO2014178062A2 (en) | 2013-02-25 | 2014-11-06 | Biosense Technologies Private Ltd | Method and system for analysing body fluids |
| FI20135189A7 (fi) | 2013-02-28 | 2014-08-29 | iStoc Oy | Kannettava lateraalinen koetulosten lukija |
| FI20135204A7 (fi) | 2013-03-04 | 2014-09-25 | iStoc Oy | Testihallinta |
| US9042663B2 (en) | 2013-03-15 | 2015-05-26 | Pictech Management Limited | Two-level error correcting codes for color space encoded image |
| KR101941135B1 (ko) | 2013-07-12 | 2019-01-22 | 나우다이아그노스틱스, 인코포레이티드 | 트랜스-비주얼 감도를 가진 보편적 신속 진단 테스트 판독기 |
| CN106030608A (zh) | 2013-11-06 | 2016-10-12 | 理海大学 | 生物组织分析诊断系统与方法 |
| KR101492972B1 (ko) | 2013-11-26 | 2015-02-12 | 에스케이텔레콤 주식회사 | 컴퓨팅 단말 장치의 광학 특성 캘리브레이션 방법과 광학 진단검사 보조장치 |
| CN103606221B (zh) * | 2013-12-04 | 2016-01-20 | 广州广电运通金融电子股份有限公司 | 清分机故障自动诊断方法以及装置 |
| US10101342B2 (en) | 2014-02-12 | 2018-10-16 | Church & Dwight Co., Inc. | Devices and methods for electronic analyte assaying |
| US9569858B2 (en) | 2014-02-13 | 2017-02-14 | James Bennett Babcock | Cloud-based system for water analysis |
| CN103888689B (zh) | 2014-03-13 | 2017-10-31 | 北京智谷睿拓技术服务有限公司 | 图像采集方法及图像采集装置 |
| US11030778B2 (en) | 2014-03-31 | 2021-06-08 | Healthy.Io Ltd. | Methods and apparatus for enhancing color vision and quantifying color interpretation |
| WO2015160997A1 (en) | 2014-04-15 | 2015-10-22 | Gauss Surgical, Inc. | Method for estimating a quantity of a blood component in a fluid canister |
| CA2945063C (en) | 2014-04-17 | 2023-08-08 | Z-Integrated Digital Technologies, Inc. | Electronic test device data communication |
| US10498936B2 (en) | 2014-04-21 | 2019-12-03 | i-calQ, LLC | Assay detector device compatible with any digital camera/portable computing device |
| US10991096B2 (en) | 2014-05-12 | 2021-04-27 | Healthy.Io Ltd. | Utilizing personal communications devices for medical testing |
| US11087467B2 (en) | 2014-05-12 | 2021-08-10 | Healthy.Io Ltd. | Systems and methods for urinalysis using a personal communications device |
| US9972077B2 (en) * | 2014-05-12 | 2018-05-15 | Healthy.Io Ltd. | Method and system for automated visual analysis of a dipstick using standard user equipment |
| US10068329B2 (en) | 2014-05-12 | 2018-09-04 | Healthy.Io Ltd | Method and system for automated visual analysis of a dipstick using standard user equipment |
| EP3149489B1 (en) | 2014-05-31 | 2021-05-05 | Relay Medical Corp. | Joint spectroscopic and biosensor system for point-of-care testing |
| US9424628B2 (en) | 2014-06-19 | 2016-08-23 | Microsoft Technology Licensing, Llc | Identifying gray regions for auto white balancing |
| US9933359B2 (en) | 2014-06-23 | 2018-04-03 | Xerox Corporation | Vendor exclusivity security feature for paper-based diagnostic solution |
| US9686540B2 (en) | 2014-06-23 | 2017-06-20 | Xerox Corporation | Robust colorimetric processing method for paper based sensors |
| WO2016025935A2 (en) | 2014-08-15 | 2016-02-18 | Scanadu Incorporated | Precision luxmeter methods for digital cameras to quantify colors in uncontrolled lighting environments |
| US10753932B2 (en) | 2014-09-05 | 2020-08-25 | Axxin Pty Ltd | Immunoassay test apparatus |
| US20160139156A1 (en) * | 2014-11-18 | 2016-05-19 | Welltwigs LLC | Apparatuses, methods, and systems for home monitoring of physiological states and conditions |
| US9307214B1 (en) | 2014-12-19 | 2016-04-05 | Omnivision Technologies, Inc. | Automatic white balance methods and systems for electronic cameras |
| US10362984B2 (en) | 2015-01-27 | 2019-07-30 | Healthy.Io Ltd | Measuring and monitoring skin feature colors, form and size |
| JP6345612B2 (ja) | 2015-02-06 | 2018-06-20 | 株式会社ソニー・インタラクティブエンタテインメント | 撮像装置、情報処理システム、マット、および画像生成方法 |
| US9990560B2 (en) | 2015-02-09 | 2018-06-05 | Digital Concepts Of Missouri, Inc. | Test strip mobile APP system and method |
| US10088411B2 (en) | 2015-02-19 | 2018-10-02 | Renalyx Health Systems Pvt Ltd. | Method and device for performing colorimetric analysis of a test fluid to evaluate physiological parameters |
| EP4089398B1 (en) | 2015-03-24 | 2024-09-04 | Illumina, Inc. | Carrier assemblies and systems for imaging samples for biological or chemical analysis |
| JP6030732B1 (ja) | 2015-09-09 | 2016-11-24 | 株式会社小森コーポレーション | 見当誤差量検出方法および装置 |
| US10354412B2 (en) | 2015-11-30 | 2019-07-16 | Detectachem, Inc. | Receptacle for detection of targeted substances |
| EP3391285B1 (en) | 2015-12-18 | 2020-10-21 | Abbott Laboratories | Methods and systems for assessing histological stains |
| US11276483B2 (en) | 2016-01-22 | 2022-03-15 | Healthy.Io Ltd. | Systems, methods, and apparatus for personal medical record keeping |
| WO2017138946A1 (en) | 2016-02-11 | 2017-08-17 | Massachusetts Institute Of Technology | Multiplexed lateral flow assay |
| DE102016202428B4 (de) | 2016-02-17 | 2018-06-21 | Axagarius Gmbh & Co. Kg | Messsystem für colorimetrische Assays |
| TR201603524A2 (ja) | 2016-03-18 | 2016-08-22 | Anadolu Ueniversitesi | |
| US9689803B1 (en) | 2016-04-20 | 2017-06-27 | Chroma Fish Corp. | Method and system for measuring a colorimetric characteristic of a sample and calibration of same |
| US9857372B1 (en) | 2016-10-17 | 2018-01-02 | Reliant Immune Diagnostics, LLC | Arbovirus indicative birth defect risk test |
| US9857373B1 (en) | 2016-10-17 | 2018-01-02 | Reliant Immune Diagnostics, LLC | Pregnancy test to assess disease risk |
| US11107585B2 (en) | 2016-10-17 | 2021-08-31 | Reliant Immune Diagnostics, Inc | System and method for a digital consumer medical wallet and storehouse |
| US11125746B2 (en) | 2016-12-14 | 2021-09-21 | Reliant Immune Diagnostics, Inc. | Two-sided flow-through immunoassay |
| US10331924B2 (en) | 2016-12-14 | 2019-06-25 | Reliant Immune Diagnostics, Inc. | System and method for audiovisual response to retail diagnostic product |
| US10527555B2 (en) | 2016-12-14 | 2020-01-07 | Reliant Immune Disgnostics, Inc. | System and method for visual trigger to perform diagnostic test |
| US11915810B2 (en) | 2016-12-14 | 2024-02-27 | Reliant Immune Diagnostics, Inc. | System and method for transmitting prescription to pharmacy using self-diagnostic test and telemedicine |
| WO2018125271A1 (en) | 2016-12-28 | 2018-07-05 | Neogen Corporation | Fluid retainer cartridge assembly and method for utilizing the same |
| USD857228S1 (en) | 2017-01-03 | 2019-08-20 | Illumina, Inc. | Full flowcell cartridge |
| CN206489079U (zh) | 2017-01-05 | 2017-09-12 | Teco诊断有限公司 | 一种生物样品测试盒 |
| BR112019018787B1 (pt) | 2017-03-13 | 2023-11-14 | Zoetis Services Llc | Sistema de teste de fluxo lateral |
| US9756324B1 (en) | 2017-04-10 | 2017-09-05 | GELT Inc. | System and method for color calibrating an image |
| CA3062287A1 (en) * | 2017-04-21 | 2018-10-25 | Mesa Biotech, Inc. | Fluidic test cassette |
| US10354166B2 (en) | 2017-05-22 | 2019-07-16 | Bio-Rad Laboratories (Israel) Inc. | Reading test cards using a mobile device |
| US11397176B2 (en) | 2017-06-23 | 2022-07-26 | Everyplace Labs, Inc. | Medical diagnostic system and method |
| US10089753B1 (en) | 2017-07-05 | 2018-10-02 | Almotive Kft. | Method, system and computer-readable medium for camera calibration |
| EP3477286B1 (en) | 2017-10-25 | 2023-03-01 | Roche Diabetes Care GmbH | Methods and devices for performing an analytical measurement |
| PT3477270T (pt) | 2017-10-25 | 2021-09-16 | Hoffmann La Roche | Métodos e dispositivos para realizar uma medição analítica com base numa reação de formação de cor |
| US11437142B2 (en) | 2017-11-10 | 2022-09-06 | Reliant Immune Diagnostics, Inc. | Biofluidic triggering system and method |
| EP3724659A4 (en) * | 2017-12-15 | 2022-04-06 | Jana Care Inc. | BIOMEDICAL MEASURING DEVICES, SYSTEMS AND METHODS FOR MEASURING PEPTIDE CONCENTRATION FOR MONITORING A DISEASE CONDITION |
| GB2569803B (en) | 2017-12-22 | 2021-11-24 | Novarum Dx Ltd | Analysis of a captured image to determine a test outcome |
| WO2019126693A1 (en) | 2017-12-22 | 2019-06-27 | Quest Diagnostics Investments Llc | Automated analysis of analytical gels and blots |
| CN108333176A (zh) | 2018-02-07 | 2018-07-27 | 曾嵘斌 | 一种移动终端定量分析干化学检测试条的系统和方法 |
| CN112020640B (zh) | 2018-02-26 | 2024-03-08 | 豪夫迈·罗氏有限公司 | 用于校准和使用相机检测样本中分析物的方法和系统 |
| US11243160B2 (en) | 2018-03-28 | 2022-02-08 | Detekt Biomedical, Llc | Custom optical reference calibrator fabrication system |
| US10835122B2 (en) | 2018-05-14 | 2020-11-17 | Reliant Immune Diagnostics, Inc. | System and method for image processing of medical test results using generalized curve field transform |
| US11125749B2 (en) | 2018-06-06 | 2021-09-21 | Reliant Immune Diagnostics, Inc. | System and method for remote colorimetry and ratiometric comparison and quantification in analysis of medical test results |
| US10636527B2 (en) | 2018-06-06 | 2020-04-28 | Reliant Immune Diagnostics, Inc. | System and method for quantifying, ensuring, and triggering the prescriptive authority for a telemedicine session |
| EP3581921A1 (en) | 2018-06-11 | 2019-12-18 | Roche Diabetes Care GmbH | Method for evaluating a suitability of lighting conditions for detecting an analyte in a sample using a camera of a mobile device |
| PL3803350T3 (pl) | 2018-06-11 | 2025-05-19 | F. Hoffmann-La Roche Ag | Sposób kalibracji służący do kalibracji aparatu urządzenia mobilnego w celu wykrywania analitu w próbce |
| US11112406B2 (en) | 2018-06-15 | 2021-09-07 | Reliant Immune Diagnostics, Inc. | System and method for digital remote primary, secondary, and tertiary color calibration via smart device in analysis of medical test results |
| EP3811057A4 (en) | 2018-06-22 | 2022-02-23 | Oova, Inc. | ANALYTE LEVEL DETECTION METHODS, DEVICES AND SYSTEMS |
| US10605741B2 (en) | 2018-06-28 | 2020-03-31 | International Business Machines Corporation | Accurate colorimetric based test strip reader system |
| EP3591385A1 (en) | 2018-07-06 | 2020-01-08 | Roche Diabetes Care GmbH | A detection method for detecting an analyte in a sample |
| GB201811927D0 (en) * | 2018-07-20 | 2018-09-05 | Experiment X Ltd | Lateral flow test strip immunoassay in vitro diagnostic device |
| USD886901S1 (en) | 2018-10-23 | 2020-06-09 | Talis Biomedical Corporation | Cartridge |
| EP3647774B1 (en) | 2018-10-31 | 2022-05-04 | Roche Diabetes Care GmbH | Devices and method for measuring an analyte concentration in a sample of bodily fluid |
| USD879999S1 (en) | 2018-11-02 | 2020-03-31 | Group K Diagnostics, Inc. | Microfluidic device |
| EP4033496A1 (en) | 2018-11-07 | 2022-07-27 | Roche Diabetes Care GmbH | Methods and devices for performing an analytical measurement |
| KR20210127180A (ko) | 2019-02-06 | 2021-10-21 | 파이브로티엑스 오유 | 측방 유동 장치 |
| US20220163525A1 (en) | 2019-02-15 | 2022-05-26 | Immundiagnostik Ag | Rapid test for diagnosis of bacterial infections in neonates |
| USD915618S1 (en) | 2019-02-21 | 2021-04-06 | Testcard Ltd | Medical test card |
| US20210016280A1 (en) | 2019-07-19 | 2021-01-21 | CytoRecovery, Inc. | Microfluidic package, holder, nad methods of making the same |
| US11739997B2 (en) | 2019-09-19 | 2023-08-29 | Rocky Research | Compressor-assisted thermal energy management system |
| US11961608B2 (en) | 2019-11-11 | 2024-04-16 | Healthy.Io Ltd. | Image processing systems and methods for caring for skin features |
| US12235217B2 (en) | 2019-11-13 | 2025-02-25 | Scanwell Health, Inc. | Diagnostic test kits for sample preparation and analysis |
| WO2021155103A1 (en) | 2020-01-31 | 2021-08-05 | Reliant Immune Diagnostics, Inc. | Automated dynamic generation of interface sequences for data record creation and methods of use thereof |
| WO2021155170A1 (en) | 2020-01-31 | 2021-08-05 | Reliant Immune Diagnostics, Inc. | Automated self-organized queuing of data records with matching profiles and methods of use thereof |
| WO2021155082A1 (en) | 2020-01-31 | 2021-08-05 | Reliant Immune Diagnostics, Inc. | Computer-based systems configured for automated feature detection for image analysis and methods thereof |
| WO2021155153A1 (en) | 2020-01-31 | 2021-08-05 | Reliant Immune Diagnostics, Inc. | Computer-based systems configured for reference-free color correction and methods thereof |
| WO2021155105A1 (en) | 2020-01-31 | 2021-08-05 | Reliant Immune Diagnostics, Inc. | Automated profile classification and prediction and methods of use thereof |
| KR20230082616A (ko) | 2020-09-17 | 2023-06-08 | 스캔웰 헬스, 인크. | 진단 테스트 키트들 및 이를 분석하는 방법들 |
| AU2021366678A1 (en) | 2020-10-23 | 2023-05-18 | Becton, Dickinson And Company | Systems and methods for imaging and image-based analysis of test devices |
| USD970033S1 (en) | 2020-10-23 | 2022-11-15 | Becton, Dickinson And Company | Cartridge imaging background device |
-
2021
- 2021-04-05 KR KR1020237011335A patent/KR20230082616A/ko active Pending
- 2021-04-05 AU AU2021345448A patent/AU2021345448A1/en active Pending
- 2021-04-05 CA CA3192942A patent/CA3192942A1/en active Pending
- 2021-04-05 WO PCT/US2021/025789 patent/WO2022060415A1/en not_active Ceased
- 2021-04-05 US US17/222,819 patent/US11996183B2/en active Active
- 2021-04-05 JP JP2023517379A patent/JP2023541663A/ja active Pending
- 2021-04-05 EP EP21721737.1A patent/EP4214669A1/en active Pending
- 2021-04-05 CN CN202180063419.XA patent/CN116250004A/zh active Pending
-
2023
- 2023-03-16 US US18/185,243 patent/US20230296600A1/en active Pending
Patent Citations (5)
| Publication number | Priority date | Publication date | Assignee | Title |
|---|---|---|---|---|
| JP6480988B2 (ja) * | 2011-03-31 | 2019-03-13 | ノバラム ディーエックス リミテッド | ソフトウェアアプリケーションおよびプロセッサ |
| US20150308961A1 (en) * | 2012-08-08 | 2015-10-29 | Scanadu Incorporated | Quantifying color changes of chemical test pads induced by specific concentrations of biological analytes under different lighting conditions |
| US20160125600A1 (en) * | 2014-11-04 | 2016-05-05 | Samsung Electronics Co., Ltd. | Method of and apparatus for measuring biometric information |
| JP2021522469A (ja) * | 2018-05-07 | 2021-08-30 | イムンディアグノスティック アー ゲー | 定量的なラテラルフロークロマトグラフィーの分析システム |
| JP2021533385A (ja) * | 2018-07-27 | 2021-12-02 | ルモス・ダイアグノスティックス・アイピー・プロプライエタリー・リミテッド | ラテラルフローアッセイデバイスおよび使用方法 |
Also Published As
| Publication number | Publication date |
|---|---|
| US11996183B2 (en) | 2024-05-28 |
| EP4214669A1 (en) | 2023-07-26 |
| US20230296600A1 (en) | 2023-09-21 |
| CA3192942A1 (en) | 2022-03-24 |
| WO2022060415A1 (en) | 2022-03-24 |
| AU2021345448A1 (en) | 2023-04-20 |
| CN116250004A (zh) | 2023-06-09 |
| US20220084659A1 (en) | 2022-03-17 |
| KR20230082616A (ko) | 2023-06-08 |
Similar Documents
| Publication | Publication Date | Title |
|---|---|---|
| US11996183B2 (en) | Methods of analyzing diagnostic test kits | |
| JP6546605B2 (ja) | 液体キャニスタ内の血液成分量の推定方法 | |
| ES3009600T3 (en) | A calibration method for calibrating a camera of a mobile device for detecting an analyte in a sample | |
| JP7651585B2 (ja) | スキャナとして使用するためのデジタルカメラのキャリブレーション | |
| AU2018356385B2 (en) | Methods and devices for performing an analytical measurement | |
| WO2015016960A1 (en) | Universal assay reader | |
| EP4065965B1 (en) | Method of performing an analytical measurement | |
| US20230184689A1 (en) | Test strip fixation device for optical measurements of an analyte | |
| JP2014533857A (ja) | 画像処理 | |
| Svelto et al. | Skin prick test digital imaging system with manual, semiautomatic, and automatic wheal edge detection and area measurement | |
| TWI902818B (zh) | 測定體液樣品中分析物濃度之方法 | |
| RU2809608C2 (ru) | Способ калибровки для калибровки камеры мобильного устройства для определения аналита в образце | |
| HK40031569B (zh) | 用於执行分析测量的方法和设备 | |
| HK40044459A (en) | A calibration method for calibrating a camera of a mobile device for detecting an analyte in a sample | |
| HK40031569A (en) | Methods and devices for performing an analytical measurement |
Legal Events
| Date | Code | Title | Description |
|---|---|---|---|
| A521 | Request for written amendment filed |
Free format text: JAPANESE INTERMEDIATE CODE: A523 Effective date: 20240403 |
|
| A621 | Written request for application examination |
Free format text: JAPANESE INTERMEDIATE CODE: A621 Effective date: 20240403 |
|
| A131 | Notification of reasons for refusal |
Free format text: JAPANESE INTERMEDIATE CODE: A131 Effective date: 20250605 |
|
| A601 | Written request for extension of time |
Free format text: JAPANESE INTERMEDIATE CODE: A601 Effective date: 20250904 |
|
| A601 | Written request for extension of time |
Free format text: JAPANESE INTERMEDIATE CODE: A601 Effective date: 20251105 |
|
| A521 | Request for written amendment filed |
Free format text: JAPANESE INTERMEDIATE CODE: A523 Effective date: 20251204 |

