JP2023517618A - 可動式カメラを備える内視鏡デバイス - Google Patents
可動式カメラを備える内視鏡デバイス Download PDFInfo
- Publication number
- JP2023517618A JP2023517618A JP2022554642A JP2022554642A JP2023517618A JP 2023517618 A JP2023517618 A JP 2023517618A JP 2022554642 A JP2022554642 A JP 2022554642A JP 2022554642 A JP2022554642 A JP 2022554642A JP 2023517618 A JP2023517618 A JP 2023517618A
- Authority
- JP
- Japan
- Prior art keywords
- tissue
- camera
- anvil
- endoscope
- endoscopic device
- Prior art date
- Legal status (The legal status is an assumption and is not a legal conclusion. Google has not performed a legal analysis and makes no representation as to the accuracy of the status listed.)
- Pending
Links
- 238000003780 insertion Methods 0.000 claims abstract description 42
- 230000037431 insertion Effects 0.000 claims abstract description 42
- 238000000034 method Methods 0.000 claims abstract description 33
- 230000012010 growth Effects 0.000 claims description 35
- 238000002271 resection Methods 0.000 claims description 5
- 238000010304 firing Methods 0.000 claims description 3
- 238000007689 inspection Methods 0.000 claims description 3
- 238000005286 illumination Methods 0.000 description 20
- 238000010586 diagram Methods 0.000 description 18
- 230000033001 locomotion Effects 0.000 description 10
- 238000012800 visualization Methods 0.000 description 6
- 230000008569 process Effects 0.000 description 5
- 208000037062 Polyps Diseases 0.000 description 4
- 230000007246 mechanism Effects 0.000 description 4
- 230000003213 activating effect Effects 0.000 description 3
- 230000003287 optical effect Effects 0.000 description 3
- 206010028980 Neoplasm Diseases 0.000 description 2
- 238000013461 design Methods 0.000 description 2
- 239000000835 fiber Substances 0.000 description 2
- 239000012781 shape memory material Substances 0.000 description 2
- 230000002159 abnormal effect Effects 0.000 description 1
- 230000006978 adaptation Effects 0.000 description 1
- 238000013459 approach Methods 0.000 description 1
- 230000008859 change Effects 0.000 description 1
- 238000001839 endoscopy Methods 0.000 description 1
- 125000001475 halogen functional group Chemical group 0.000 description 1
- 230000002262 irrigation Effects 0.000 description 1
- 238000003973 irrigation Methods 0.000 description 1
- 238000012986 modification Methods 0.000 description 1
- 230000004048 modification Effects 0.000 description 1
- 239000013307 optical fiber Substances 0.000 description 1
- 238000004091 panning Methods 0.000 description 1
- 238000001356 surgical procedure Methods 0.000 description 1
- 210000001835 viscera Anatomy 0.000 description 1
Images
Classifications
-
- A—HUMAN NECESSITIES
- A61—MEDICAL OR VETERINARY SCIENCE; HYGIENE
- A61B—DIAGNOSIS; SURGERY; IDENTIFICATION
- A61B1/00—Instruments for performing medical examinations of the interior of cavities or tubes of the body by visual or photographical inspection, e.g. endoscopes; Illuminating arrangements therefor
- A61B1/04—Instruments for performing medical examinations of the interior of cavities or tubes of the body by visual or photographical inspection, e.g. endoscopes; Illuminating arrangements therefor combined with photographic or television appliances
- A61B1/05—Instruments for performing medical examinations of the interior of cavities or tubes of the body by visual or photographical inspection, e.g. endoscopes; Illuminating arrangements therefor combined with photographic or television appliances characterised by the image sensor, e.g. camera, being in the distal end portion
- A61B1/053—Instruments for performing medical examinations of the interior of cavities or tubes of the body by visual or photographical inspection, e.g. endoscopes; Illuminating arrangements therefor combined with photographic or television appliances characterised by the image sensor, e.g. camera, being in the distal end portion being detachable
-
- A—HUMAN NECESSITIES
- A61—MEDICAL OR VETERINARY SCIENCE; HYGIENE
- A61B—DIAGNOSIS; SURGERY; IDENTIFICATION
- A61B1/00—Instruments for performing medical examinations of the interior of cavities or tubes of the body by visual or photographical inspection, e.g. endoscopes; Illuminating arrangements therefor
- A61B1/00163—Optical arrangements
- A61B1/00174—Optical arrangements characterised by the viewing angles
- A61B1/00177—Optical arrangements characterised by the viewing angles for 90 degrees side-viewing
-
- A—HUMAN NECESSITIES
- A61—MEDICAL OR VETERINARY SCIENCE; HYGIENE
- A61B—DIAGNOSIS; SURGERY; IDENTIFICATION
- A61B1/00—Instruments for performing medical examinations of the interior of cavities or tubes of the body by visual or photographical inspection, e.g. endoscopes; Illuminating arrangements therefor
- A61B1/00163—Optical arrangements
- A61B1/00174—Optical arrangements characterised by the viewing angles
- A61B1/00183—Optical arrangements characterised by the viewing angles for variable viewing angles
-
- A—HUMAN NECESSITIES
- A61—MEDICAL OR VETERINARY SCIENCE; HYGIENE
- A61B—DIAGNOSIS; SURGERY; IDENTIFICATION
- A61B1/00—Instruments for performing medical examinations of the interior of cavities or tubes of the body by visual or photographical inspection, e.g. endoscopes; Illuminating arrangements therefor
- A61B1/04—Instruments for performing medical examinations of the interior of cavities or tubes of the body by visual or photographical inspection, e.g. endoscopes; Illuminating arrangements therefor combined with photographic or television appliances
- A61B1/045—Control thereof
-
- A—HUMAN NECESSITIES
- A61—MEDICAL OR VETERINARY SCIENCE; HYGIENE
- A61B—DIAGNOSIS; SURGERY; IDENTIFICATION
- A61B1/00—Instruments for performing medical examinations of the interior of cavities or tubes of the body by visual or photographical inspection, e.g. endoscopes; Illuminating arrangements therefor
- A61B1/04—Instruments for performing medical examinations of the interior of cavities or tubes of the body by visual or photographical inspection, e.g. endoscopes; Illuminating arrangements therefor combined with photographic or television appliances
- A61B1/05—Instruments for performing medical examinations of the interior of cavities or tubes of the body by visual or photographical inspection, e.g. endoscopes; Illuminating arrangements therefor combined with photographic or television appliances characterised by the image sensor, e.g. camera, being in the distal end portion
-
- A—HUMAN NECESSITIES
- A61—MEDICAL OR VETERINARY SCIENCE; HYGIENE
- A61B—DIAGNOSIS; SURGERY; IDENTIFICATION
- A61B1/00—Instruments for performing medical examinations of the interior of cavities or tubes of the body by visual or photographical inspection, e.g. endoscopes; Illuminating arrangements therefor
- A61B1/06—Instruments for performing medical examinations of the interior of cavities or tubes of the body by visual or photographical inspection, e.g. endoscopes; Illuminating arrangements therefor with illuminating arrangements
-
- A—HUMAN NECESSITIES
- A61—MEDICAL OR VETERINARY SCIENCE; HYGIENE
- A61B—DIAGNOSIS; SURGERY; IDENTIFICATION
- A61B17/00—Surgical instruments, devices or methods
- A61B17/068—Surgical staplers, e.g. containing multiple staples or clamps
- A61B17/072—Surgical staplers, e.g. containing multiple staples or clamps for applying a row of staples in a single action, e.g. the staples being applied simultaneously
-
- A—HUMAN NECESSITIES
- A61—MEDICAL OR VETERINARY SCIENCE; HYGIENE
- A61B—DIAGNOSIS; SURGERY; IDENTIFICATION
- A61B17/00—Surgical instruments, devices or methods
- A61B17/32—Surgical cutting instruments
- A61B17/320016—Endoscopic cutting instruments, e.g. arthroscopes, resectoscopes
- A61B17/32002—Endoscopic cutting instruments, e.g. arthroscopes, resectoscopes with continuously rotating, oscillating or reciprocating cutting instruments
-
- A—HUMAN NECESSITIES
- A61—MEDICAL OR VETERINARY SCIENCE; HYGIENE
- A61B—DIAGNOSIS; SURGERY; IDENTIFICATION
- A61B18/00—Surgical instruments, devices or methods for transferring non-mechanical forms of energy to or from the body
- A61B18/04—Surgical instruments, devices or methods for transferring non-mechanical forms of energy to or from the body by heating
- A61B18/08—Surgical instruments, devices or methods for transferring non-mechanical forms of energy to or from the body by heating by means of electrically-heated probes
-
- A—HUMAN NECESSITIES
- A61—MEDICAL OR VETERINARY SCIENCE; HYGIENE
- A61B—DIAGNOSIS; SURGERY; IDENTIFICATION
- A61B17/00—Surgical instruments, devices or methods
- A61B17/00234—Surgical instruments, devices or methods for minimally invasive surgery
- A61B2017/00238—Type of minimally invasive operation
- A61B2017/00278—Transorgan operations, e.g. transgastric
-
- A—HUMAN NECESSITIES
- A61—MEDICAL OR VETERINARY SCIENCE; HYGIENE
- A61B—DIAGNOSIS; SURGERY; IDENTIFICATION
- A61B17/00—Surgical instruments, devices or methods
- A61B17/00234—Surgical instruments, devices or methods for minimally invasive surgery
- A61B2017/00292—Surgical instruments, devices or methods for minimally invasive surgery mounted on or guided by flexible, e.g. catheter-like, means
- A61B2017/00296—Surgical instruments, devices or methods for minimally invasive surgery mounted on or guided by flexible, e.g. catheter-like, means mounted on an endoscope
-
- A—HUMAN NECESSITIES
- A61—MEDICAL OR VETERINARY SCIENCE; HYGIENE
- A61B—DIAGNOSIS; SURGERY; IDENTIFICATION
- A61B17/00—Surgical instruments, devices or methods
- A61B17/00234—Surgical instruments, devices or methods for minimally invasive surgery
- A61B2017/00292—Surgical instruments, devices or methods for minimally invasive surgery mounted on or guided by flexible, e.g. catheter-like, means
- A61B2017/003—Steerable
-
- A—HUMAN NECESSITIES
- A61—MEDICAL OR VETERINARY SCIENCE; HYGIENE
- A61B—DIAGNOSIS; SURGERY; IDENTIFICATION
- A61B17/00—Surgical instruments, devices or methods
- A61B17/00234—Surgical instruments, devices or methods for minimally invasive surgery
- A61B2017/00349—Needle-like instruments having hook or barb-like gripping means, e.g. for grasping suture or tissue
-
- A—HUMAN NECESSITIES
- A61—MEDICAL OR VETERINARY SCIENCE; HYGIENE
- A61B—DIAGNOSIS; SURGERY; IDENTIFICATION
- A61B17/00—Surgical instruments, devices or methods
- A61B2017/00535—Surgical instruments, devices or methods pneumatically or hydraulically operated
-
- A—HUMAN NECESSITIES
- A61—MEDICAL OR VETERINARY SCIENCE; HYGIENE
- A61B—DIAGNOSIS; SURGERY; IDENTIFICATION
- A61B17/00—Surgical instruments, devices or methods
- A61B17/068—Surgical staplers, e.g. containing multiple staples or clamps
- A61B17/072—Surgical staplers, e.g. containing multiple staples or clamps for applying a row of staples in a single action, e.g. the staples being applied simultaneously
- A61B2017/07214—Stapler heads
- A61B2017/07221—Stapler heads curved
-
- A—HUMAN NECESSITIES
- A61—MEDICAL OR VETERINARY SCIENCE; HYGIENE
- A61B—DIAGNOSIS; SURGERY; IDENTIFICATION
- A61B17/00—Surgical instruments, devices or methods
- A61B17/068—Surgical staplers, e.g. containing multiple staples or clamps
- A61B17/072—Surgical staplers, e.g. containing multiple staples or clamps for applying a row of staples in a single action, e.g. the staples being applied simultaneously
- A61B2017/07214—Stapler heads
- A61B2017/07228—Arrangement of the staples
-
- A—HUMAN NECESSITIES
- A61—MEDICAL OR VETERINARY SCIENCE; HYGIENE
- A61B—DIAGNOSIS; SURGERY; IDENTIFICATION
- A61B17/00—Surgical instruments, devices or methods
- A61B17/068—Surgical staplers, e.g. containing multiple staples or clamps
- A61B17/072—Surgical staplers, e.g. containing multiple staples or clamps for applying a row of staples in a single action, e.g. the staples being applied simultaneously
- A61B2017/07214—Stapler heads
- A61B2017/07271—Stapler heads characterised by its cartridge
-
- A—HUMAN NECESSITIES
- A61—MEDICAL OR VETERINARY SCIENCE; HYGIENE
- A61B—DIAGNOSIS; SURGERY; IDENTIFICATION
- A61B18/00—Surgical instruments, devices or methods for transferring non-mechanical forms of energy to or from the body
- A61B2018/00571—Surgical instruments, devices or methods for transferring non-mechanical forms of energy to or from the body for achieving a particular surgical effect
-
- A—HUMAN NECESSITIES
- A61—MEDICAL OR VETERINARY SCIENCE; HYGIENE
- A61B—DIAGNOSIS; SURGERY; IDENTIFICATION
- A61B18/00—Surgical instruments, devices or methods for transferring non-mechanical forms of energy to or from the body
- A61B2018/00571—Surgical instruments, devices or methods for transferring non-mechanical forms of energy to or from the body for achieving a particular surgical effect
- A61B2018/00601—Cutting
-
- A—HUMAN NECESSITIES
- A61—MEDICAL OR VETERINARY SCIENCE; HYGIENE
- A61B—DIAGNOSIS; SURGERY; IDENTIFICATION
- A61B90/00—Instruments, implements or accessories specially adapted for surgery or diagnosis and not covered by any of the groups A61B1/00 - A61B50/00, e.g. for luxation treatment or for protecting wound edges
- A61B90/30—Devices for illuminating a surgical field, the devices having an interrelation with other surgical devices or with a surgical procedure
-
- A—HUMAN NECESSITIES
- A61—MEDICAL OR VETERINARY SCIENCE; HYGIENE
- A61B—DIAGNOSIS; SURGERY; IDENTIFICATION
- A61B90/00—Instruments, implements or accessories specially adapted for surgery or diagnosis and not covered by any of the groups A61B1/00 - A61B50/00, e.g. for luxation treatment or for protecting wound edges
- A61B90/36—Image-producing devices or illumination devices not otherwise provided for
- A61B90/361—Image-producing devices, e.g. surgical cameras
Landscapes
- Health & Medical Sciences (AREA)
- Life Sciences & Earth Sciences (AREA)
- Surgery (AREA)
- General Health & Medical Sciences (AREA)
- Public Health (AREA)
- Veterinary Medicine (AREA)
- Nuclear Medicine, Radiotherapy & Molecular Imaging (AREA)
- Animal Behavior & Ethology (AREA)
- Molecular Biology (AREA)
- Engineering & Computer Science (AREA)
- Biomedical Technology (AREA)
- Heart & Thoracic Surgery (AREA)
- Medical Informatics (AREA)
- Biophysics (AREA)
- Radiology & Medical Imaging (AREA)
- Physics & Mathematics (AREA)
- Pathology (AREA)
- Optics & Photonics (AREA)
- Orthopedic Medicine & Surgery (AREA)
- Endoscopes (AREA)
- Surgical Instruments (AREA)
Abstract
挿入チューブと、遠位先端と、遠位先端または挿入チューブの上もしくは中の初期位置に配置された少なくとも1つのカメラとを備える、内視鏡デバイスが開示される。内視鏡デバイスは、内視鏡デバイスの近位端から活性化される機械的装置を備え、機械的装置は、(a)少なくとも1つのカメラを初期位置から、遠位先端または挿入チューブの上の、中の、もしくはそこから離隔された、1つまたは複数の異なる位置へと移動させること、ならびに(b)少なくとも1つのカメラの観察方向を変更すること、のうちの少なくとも1つを行うように構成されることを特徴とする。また、内視鏡デバイスの実施形態を使用して内視鏡処置を実施する方法が開示される。【選択図】なし
Description
本発明は、内視鏡デバイスの分野に関する。特に、本発明は、内視鏡デバイスに設けられた可視化手段に関する。
内視鏡デバイスは、ハンドル(制御部分)と、挿入チューブ(挿入軸)と、一般的には、遠位面の可視化および照明手段と、可視化手段によって獲得された画像を表示デバイスに送信する手段と、を備えるデバイスである。挿入軸は、剛性、可撓性、またはそれらの組み合わせのいずれかであり得る。挿入軸はまた、関節部分を備えることができる。
医療処置で使用される内視鏡デバイスは、特に、内視鏡または腹腔鏡として知られている。内視鏡デバイスは、体内臓器を検査するために、小さい切り口を通して、または口などの身体の自然開口を通して、患者の体内に挿入される。内視鏡は、挿入軸に装着されるか、または挿入軸を通る1つもしくは複数の作業チャネルを介して手術位置に導入される、追加のデバイスを用いて、例えば腫瘍またはポリープなどの異常組織の除去など、外科処置を実施するのに使用される。内視鏡デバイス、例えばボアスコープは、工業用途で使用される。本明細書では、内視鏡という単語は、医療用および工業用両方の全てのタイプの内視鏡デバイスを指すのに使用される。
例えば、CCDまたはCMOS型のスチルカメラもしくはビデオカメラ、光中継システム、光ファイバー、「チップオンスティック(chip on a stick)」など、多くの異なるタイプの可視化手段が、挿入チューブの遠位端から近位端へと近位方向に画像を伝達する、内視鏡検査の分野で知られている。ほとんどの現代の内視鏡デバイスはビデオカメラを備えるので、本明細書(特許請求の範囲を含む)では、カメラという単語はこれらのシステムのいずれかを表すのに使用される。
本発明者らが知っている全ての内視鏡デバイスは、内視鏡の遠位先端または挿入軸のどちらかに固定的に取り付けられた、1つまたは複数のカメラを備える。これらのカメラは、内視鏡の意図される用途に従って予め定められる、観察方向および視野を有する。特定の状況では、この視野または観察方向は、意図されるタスクを実施するのには不適切であり、また他の状況では、視野は、例えば、医療処置の間に操作されている組織がカメラのレンズと外科用器具との間に来ると、部分的または完全に遮断される。これらの状況では、外科医は、「見えない」状態で処置を実施するか、またはより見やすくするために内視鏡デバイスの位置を変えなければならない。したがって、内視鏡デバイスが、様々な視野から画像を取得することができ、内視鏡処置全体を通して内視鏡を回転させたり位置を変えたりする必要なく、継続的な内視鏡観察を維持することができるようにするのが有利であろう。
したがって、本発明の1つの目的は、内視鏡処置の間、複数の観察方向および対応する視野からの画像を提供することができる、内視鏡デバイスを提供することである。
本発明の別の目的は、内視鏡処置全体を通して継続的な内視鏡観察を維持することができる、内視鏡デバイスを提供することである。
本発明の更なる目的および利点は、説明が進むにつれて明らかになるであろう。
第1の態様では、本発明は、挿入チューブと、遠位先端と、遠位先端または挿入チューブの上もしくは中の初期位置に配置された少なくとも1つのカメラとを備える、内視鏡デバイスである。内視鏡デバイスは、内視鏡デバイスの近位端から活性化される機械的装置を備え、機械的装置は、
(a)少なくとも1つのカメラを初期位置から、遠位先端または挿入チューブの上の、中の、もしくはそこから離隔された、1つまたは複数の異なる位置へと移動させること、ならびに
(b)少なくとも1つのカメラの観察方向を変更すること、のうちの少なくとも1つを行うように構成されることを特徴とする。
(a)少なくとも1つのカメラを初期位置から、遠位先端または挿入チューブの上の、中の、もしくはそこから離隔された、1つまたは複数の異なる位置へと移動させること、ならびに
(b)少なくとも1つのカメラの観察方向を変更すること、のうちの少なくとも1つを行うように構成されることを特徴とする。
内視鏡デバイスの実施形態は、内視鏡デバイスの遠位先端または挿入チューブに固定的に取り付けられた、1つまたは複数のカメラを備える第1のセットのカメラと、内視鏡デバイスの遠位先端または挿入チューブから外側へと可逆的に延長されるように構成された少なくとも1つのロッドにそれぞれ装着された、1つまたは複数のカメラを備える第2のセットとを備える。第1のセットのカメラは、内視鏡デバイスの内部から外側を見る観察方向を提供し、第2のセットのカメラは、内視鏡デバイスに向かって内側を見る観察方向を提供する。
第1および第2のセットのカメラを備える内視鏡デバイスの実施形態では、少なくとも1つのロッドは、内視鏡に固定的に取り付けられたカメラでは得ることができない視野を提供するために、内視鏡の表面に対して任意の方向で可逆的に延長されるように構成することができる。
内視鏡デバイスの実施形態では、カメラのうちの少なくとも1つは、内視鏡を回転または移動させることなく様々な視角を提供するために、カメラをパン、チルト、または回転させることができるようなやり方で装着される。
第1および第2のセットのカメラを備える内視鏡デバイスの実施形態では、第1のセットのカメラは、遠位先端の遠位面に固定的に取り付けられた、1つの前方に面するカメラを備え、第2のセットのカメラは、基部に当接する第1の位置から、基部から離隔された第2の位置へと延長させ、第2の位置から近位側に後退させて第1の位置に戻すことができる、少なくとも1つのロッドに取り付けられたカメラマウントに装着された、1つの後方に面するカメラを備える。基部は、
a)専用の内視鏡の一体部品であり、少なくとも1つのロッドを中を通して遠位側および近位側に摺動させることができる少なくとも1つのボアを備える、特別に構成された遠位先端、ならびに
b)内視鏡の遠位先端の上を滑動する、遠位先端に取り付けられたカラーであって、少なくとも1つのロッドを中を通して遠位側および近位側に摺動させることができる少なくとも1つのボアを備える、カラー、のうちの1つであることができる。
a)専用の内視鏡の一体部品であり、少なくとも1つのロッドを中を通して遠位側および近位側に摺動させることができる少なくとも1つのボアを備える、特別に構成された遠位先端、ならびに
b)内視鏡の遠位先端の上を滑動する、遠位先端に取り付けられたカラーであって、少なくとも1つのロッドを中を通して遠位側および近位側に摺動させることができる少なくとも1つのボアを備える、カラー、のうちの1つであることができる。
内視鏡デバイスのこの実施形態は、(i)アンビルおよびステープルカートリッジで構成されたステープル留めデバイスであって、アンビルが、遠位側に延長させて開放構成を得ることができる、または近位側に後退させて閉止構成を得ることができる2つのロッドに装着され、ステープルカートリッジが、カートリッジの近位部分内へと近位側に摺動するように構成された遠位部分を備える、ステープル留めデバイス、(ii)基部から可逆的に延長されるように構成された少なくとも1つの組織把持具を備える、少なくとも1つの組織把持デバイス、ならびに(iii)組織を切り取るように構成された少なくとも1つの切断デバイス、のうちの少なくとも1つを備えることができる。
ステープル留めデバイスを備える内視鏡デバイスの実施形態では、アンビルは、第1の位置にあるときの直線構成と第2の位置にあるときの曲がった構成とを有する、2つのロッドに取り付けられる。
第2の態様では、本発明は、内視鏡クロージャ処置を実施する方法であり、該方法は、
a)前方に面するカメラと、後方に面するカメラと、アンビルおよびステープルカートリッジで構成されたステープル留めデバイスであって、アンビルが、遠位側に延長させて開放構成を得ることができる、または近位側に後退させて閉止構成を得ることができる2つのロッドに装着され、ステープルカートリッジが、カートリッジの近位部分内へと近位側に摺動するように構成された遠位部分を備える、ステープル留めデバイスと、少なくとも1つの組織把持デバイスと、を備える内視鏡デバイスを患者の体内に挿入し、前方に面するカメラを使用して、患者の組織にある閉鎖すべき穴の位置へと挿入チューブを案内するステップと、
b)前方に面するカメラを使用して、内視鏡デバイスの遠位先端を閉鎖すべき穴の上方で穴に対して平行に位置決めするステップと、
c)ワイヤを作動させることで、ステープル留めデバイスのアンビルおよびカメラマウントを遠位側に移動させるステップと、
d)少なくとも1つの組織把持具を作動させて延長させ、穴の周りの組織をしっかり掴ませるステップと、
e)閉鎖すべき穴を取り囲む組織が全て、ステープルカートリッジの近位部分に格納されたステープルがそこを通ってカートリッジの遠位部分から排出されるスロットの上方に来るまで、組織把持具および付随する組織を上方かつ近位側に引っ張るステップと、
f)後方に面するカメラを使用して、組織がステープルカートリッジに対して適正に位置決めされていることを確保するステップと、
g)アンビルをステープルカートリッジに向かって後退させることによって、穴を取り囲む組織をアンビルとカートリッジとの間で圧迫するステップと、
h)アンビルをステープルカートリッジに向かって後退させ続けることによって、ステープル列をステープルカートリッジから組織を通して排出するステップと、
i)アンビルを遠位側に移動させることによって、ステープル留めされた組織を解放し、後方に面するカメラを使用して、ステープル留め処置が適切に実行されたことを検査し確認するステップと、
j)内視鏡を患者の身体から撤回するステップと、を含む。
a)前方に面するカメラと、後方に面するカメラと、アンビルおよびステープルカートリッジで構成されたステープル留めデバイスであって、アンビルが、遠位側に延長させて開放構成を得ることができる、または近位側に後退させて閉止構成を得ることができる2つのロッドに装着され、ステープルカートリッジが、カートリッジの近位部分内へと近位側に摺動するように構成された遠位部分を備える、ステープル留めデバイスと、少なくとも1つの組織把持デバイスと、を備える内視鏡デバイスを患者の体内に挿入し、前方に面するカメラを使用して、患者の組織にある閉鎖すべき穴の位置へと挿入チューブを案内するステップと、
b)前方に面するカメラを使用して、内視鏡デバイスの遠位先端を閉鎖すべき穴の上方で穴に対して平行に位置決めするステップと、
c)ワイヤを作動させることで、ステープル留めデバイスのアンビルおよびカメラマウントを遠位側に移動させるステップと、
d)少なくとも1つの組織把持具を作動させて延長させ、穴の周りの組織をしっかり掴ませるステップと、
e)閉鎖すべき穴を取り囲む組織が全て、ステープルカートリッジの近位部分に格納されたステープルがそこを通ってカートリッジの遠位部分から排出されるスロットの上方に来るまで、組織把持具および付随する組織を上方かつ近位側に引っ張るステップと、
f)後方に面するカメラを使用して、組織がステープルカートリッジに対して適正に位置決めされていることを確保するステップと、
g)アンビルをステープルカートリッジに向かって後退させることによって、穴を取り囲む組織をアンビルとカートリッジとの間で圧迫するステップと、
h)アンビルをステープルカートリッジに向かって後退させ続けることによって、ステープル列をステープルカートリッジから組織を通して排出するステップと、
i)アンビルを遠位側に移動させることによって、ステープル留めされた組織を解放し、後方に面するカメラを使用して、ステープル留め処置が適切に実行されたことを検査し確認するステップと、
j)内視鏡を患者の身体から撤回するステップと、を含む。
第3の態様では、本発明は、成長部(growth)を除去する全層切除(FTR)処置を実施する方法であり、該方法は、
a)前方に面するカメラと、後方に面するカメラと、アンビルおよびステープルカートリッジで構成されたステープル留めデバイスであって、アンビルが、遠位側に延長させて開放構成を得ることができる、または近位側に後退させて閉止構成を得ることができる2つのロッドに装着され、ステープルカートリッジが、カートリッジの近位部分内へと近位側に摺動するように構成された遠位部分を備える、ステープル留めデバイスと、少なくとも1つの組織把持デバイスと、切断デバイスと、を備える内視鏡を患者の体内に挿入し、前方に面するカメラを使用して、除去すべき成長部の位置へと内視鏡を案内するステップと、
b)前方に面するカメラを使用して、内視鏡を成長部の上方で成長部に対して平行に位置決めするステップと、
c)ワイヤを作動させることで、アンビルおよびカメラマウントを遠位側に移動させるステップと、
d)前方に面するカメラおよび後方に面するカメラの両方を使用して、成長部が内視鏡の遠位先端の下方かつ前方に適正に位置決めされるように、内視鏡の位置を調節するステップと、
e)組織把持具を作動させて成長部をしっかり把持するステップと、
f)把持具を後退させることによって、成長部を取り囲む組織の部分が、カートリッジの近位部分にあるステープルがカートリッジの遠位部分から排出される際に通る、カートリッジの遠位部分にあるスロットに対向して配置されるまで、成長部全体をステープルカートリッジの上方へと引っ張るステップと、
g)後方に面するカメラを使用して、成長部が適正位置にあることを確保するステップと、
h)アンビルをステープルカートリッジに向かって後退させることによって、成長部を取り囲む組織をアンビルとステープルカートリッジとの間で圧迫するステップと、
i)アンビルをステープルカートリッジに向かって後退させ続けることによって、少なくとも1つのステープルをステープルカートリッジから成長部を取り囲む組織を通して排出するステップと、
j)切断デバイスを作動させることによって、成長部を取り囲む組織をステープルラインの下方で切断するステップと、
k)アンビルを遠位側に移動させることによって、成長部が把持具に接続されたままの状態で、ステープル留めされた組織を解放するステップと、
l)成長部を内視鏡とともに患者の身体から撤回するステップと、を含む。
a)前方に面するカメラと、後方に面するカメラと、アンビルおよびステープルカートリッジで構成されたステープル留めデバイスであって、アンビルが、遠位側に延長させて開放構成を得ることができる、または近位側に後退させて閉止構成を得ることができる2つのロッドに装着され、ステープルカートリッジが、カートリッジの近位部分内へと近位側に摺動するように構成された遠位部分を備える、ステープル留めデバイスと、少なくとも1つの組織把持デバイスと、切断デバイスと、を備える内視鏡を患者の体内に挿入し、前方に面するカメラを使用して、除去すべき成長部の位置へと内視鏡を案内するステップと、
b)前方に面するカメラを使用して、内視鏡を成長部の上方で成長部に対して平行に位置決めするステップと、
c)ワイヤを作動させることで、アンビルおよびカメラマウントを遠位側に移動させるステップと、
d)前方に面するカメラおよび後方に面するカメラの両方を使用して、成長部が内視鏡の遠位先端の下方かつ前方に適正に位置決めされるように、内視鏡の位置を調節するステップと、
e)組織把持具を作動させて成長部をしっかり把持するステップと、
f)把持具を後退させることによって、成長部を取り囲む組織の部分が、カートリッジの近位部分にあるステープルがカートリッジの遠位部分から排出される際に通る、カートリッジの遠位部分にあるスロットに対向して配置されるまで、成長部全体をステープルカートリッジの上方へと引っ張るステップと、
g)後方に面するカメラを使用して、成長部が適正位置にあることを確保するステップと、
h)アンビルをステープルカートリッジに向かって後退させることによって、成長部を取り囲む組織をアンビルとステープルカートリッジとの間で圧迫するステップと、
i)アンビルをステープルカートリッジに向かって後退させ続けることによって、少なくとも1つのステープルをステープルカートリッジから成長部を取り囲む組織を通して排出するステップと、
j)切断デバイスを作動させることによって、成長部を取り囲む組織をステープルラインの下方で切断するステップと、
k)アンビルを遠位側に移動させることによって、成長部が把持具に接続されたままの状態で、ステープル留めされた組織を解放するステップと、
l)成長部を内視鏡とともに患者の身体から撤回するステップと、を含む。
本発明の第3の態様の一実施形態は、ステップiとjとの間に導入される追加のステップを含む。追加のステップは、ステープルを発射した後にアンビルを遠位側に移動させて、後方に面するカメラを使用して、ステープル留めされた組織の詳細な検査を実施し、続いてアンビルを近位側に移動させてから組織を切断することを含む。
本発明の上述および他の特徴ならびに利点は全て、添付図面を参照して、本発明の実施形態の以下の例示的かつ非限定的な記載を通して更に理解されるであろう。
本発明は、挿入チューブ(可撓性デバイスの場合、または剛性デバイスの場合は挿入軸であり、以下、本明細書では、「挿入チューブ」という用語は両方の場合に対して使用される)と、遠位先端と、遠位先端または挿入チューブの上もしくは中の初期位置に配置された少なくとも1つのカメラと、を備える内視鏡デバイスである。内視鏡デバイスはまた、内視鏡デバイスの近位端から活性化される機械的装置を備える。機械的装置は、(a)カメラを初期位置から、挿入チューブの遠位端の上の、中の、もしくはそこから離隔された、1つまたは複数の異なる位置へと移動させること、ならびに(b)カメラの観察方向、即ちカメラの光学軸が指す方向を、挿入チューブの長手方向対称軸によって画定される遠位方向に対して変更すること、のうちの少なくとも1つを行うように構成される。
本発明は、多くの異なる手法で実現することができる。図8A~図12Cは、これらの手法のいくつかを概略的に例示している。図1~図7は、図11A~図12Bに示される実施形態の更なる詳細を概略的に例示している。
図8A~図8Fは、内視鏡デバイスの遠位先端10の様々な図を概略的に示している。この実施形態では、機械的装置は、カメラ12および照明源14、例えばLEDまたは光ファイバーの遠位端が装着される、ボール18を備える玉継手である。また、図には、作業チャネル16の遠位端が見えている。ボール18は、ケーブルまたは小型電動モータおよびギヤシステムを活性化させることによって、内視鏡デバイスのオペレータが回転させることができ、それによって、これらの図に見られるようにカメラの観察方向が変更される。
図9A~図9Cは、カメラ12および照明源14が装着された回転式カラー22を備える内視鏡デバイスの遠位先端10の様々な図を概略的に示している。また、遠位先端の遠位面にある第2のカメラ20および照明源14も図中に見られる。カメラ20は、固定された前方視の観察方向を有することができ、またはその観察方向を機械的装置によって変更することができる。内視鏡デバイスのオペレータは、カラーに接続されたケーブルを回転させることによって、または小型電動モータおよびギヤシステムを活性化させることによって、二重矢印24によって示される方向にカラー22を移動させ、それによって、図中に見られるようにカメラの観察方向を変更することができる。
図10A~図12Cは、遠位先端のソケット30内の初期位置から、遠位先端からある距離だけ離れた位置まで位置を移動させることができる、カメラマウント26に装着されたカメラ12および照明源14を備える、内視鏡デバイスの遠位先端10の実施形態の様々な図を概略的に示している。またこれらの図全てにおいて、遠位先端にある第2のカメラ20、照明源14、および作業チャネル16も見えている。
図10Aは、本明細書で詳細に後述するメカニズムによって活性化されている、ロッド28によって支持されたカメラマウント26を示しており、カメラマウント26がソケット30から遠位先端10の前方の位置へと押し出されている。この実施形態では、カメラ14はカメラマウント26の前面に装着されて、前方視の観察方向が与えられている。図10Bは、ロッド28が遠位側に引っ張られてカメラマウント26をソケット30に引き込んでいる、図10Aの実施形態を示している。
図11A~図11Cは、カメラ12がカメラマウント26の底部に装着されていること(図11Bを参照)を除いて、図10Aおよび図10Bに示されるものと本質的に同じである、一実施形態を概略的に示している。この実施形態では、カメラ12および20の視野は、遠位先端の前方で互いに重なり合っている。これにより、遠位先端の前方に位置する物体を異なる観察方向から撮像することが可能になる。
図12A~図12Cでは、ロッド32は、上述の図のロッド28のように直線ではない。ロッド32は、形状記憶材料から作ることができ、または関節部分を備えることができる。これにより、カメラ12を遠位先端から離すことが可能になり、また観察方向を、内視鏡デバイスの挿入チューブの長手方向軸線と比較して軸外にすることが可能になる。
本明細書に記載する本発明の実施形態は単に例示のためのものである。本発明を実現する他の多くの手法が可能である。例えば、内視鏡デバイスは、内視鏡の遠位先端または挿入チューブに固定的に取り付けられた少なくとも1つのカメラと、内視鏡に固定的に取り付けられたカメラによって得ることができない視野を提供するために、内視鏡デバイスの表面に対して任意の方向に可逆的に延長されるように構成された1つまたは複数のロッドによって、内視鏡の遠位先端または挿入チューブに取り付けられた少なくとも1つのカメラと、を備えてもよい。別の例では、カメラのうちの1つまたは複数、例えば必須ではないが、遠位先端に固定されたカメラ、または伸縮式の1つもしくは複数のロッドによって内視鏡に取り付けられたカメラのうちの1つは、様々な観察方向を提供するために、カメラをパン、チルト、または回転させることができるような手法で装着されてもよい。他の例では、本明細書に記載する構成要素の異なる置換を利用することができ、例えば、図10A~図12Cの可動式カメラ12または固定された第2のカメラ20を、図8A~図8Fのように玉継手に装着されたカメラと入れ替えることができる。
本発明の実施形態は、内視鏡デバイスであり、内視鏡デバイスの遠位先端または挿入チューブに固定的に取り付けられた1つもしくは複数のカメラを備える第1のセットのカメラと、内視鏡デバイスの遠位先端または挿入チューブから外側へと可逆的に延長されるように構成された、1つもしくは複数のロッドにそれぞれ装着された第2のセットのカメラとで構成された可視化手段を備え、第1のセットのカメラは、内視鏡デバイスの内部から外側を見る視野を提供し、第2のセットのカメラは、内視鏡デバイスに向かって内側を見る視野を提供する。
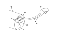
図1は、本発明による、可視化手段を備える内視鏡100の一実施形態の正面図を概略的に示している。図1は、内視鏡100の遠位面の中心にある、前方に面するカメラ101の位置と、この実施形態では光輪104である照明源とを示している。他の実施形態では、照明源は、当該分野で知られている他の任意のタイプのもの、例えばLEDまたは光ファイバーであることができる。内視鏡はまた、図を単純にするために遠位先端に示されていない、作業チャネル、および洗浄またはガス注入用のチャネルなど、他の従来の構成要素を備えてもよい。カメラマウント102は遠位先端の頂部に配置される。カメラマウント102は、後方に面するカメラ(図2Bに図示)と照明源(図には図示なし)とを備える。遠位先端100の下側にはステープラアンビル103が見えている。
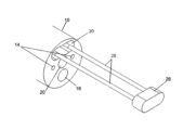
図2Aおよび図2Bは、開放構成にある内視鏡100の遠位端の概略斜視図である。図2Aおよび図2Bには、図には図示しない照明源とともにカメラマウント102に装着される、後方に面する第2のカメラ(図2Bの209)が見えている。この実施形態では、カメラマウント102は、基部202に当接する第1の位置から、基部202から離隔された第2の位置へと遠位側に延長させ、第2の位置から近位側に後退させて第1の位置に戻すことができる、2つのロッド203に取り付けられる。
本発明の一実施形態では、基部202は、専用の内視鏡の一体部品である、特別に構成された遠位先端である。この実施形態では、遠位先端は2つのボアを備え、それらを通してロッド203を遠位側および近位側に摺動させることができる。本発明の別の実施形態では、基部202は、標準的な内視鏡の遠位先端の上を滑動するとともに遠位先端に取り付けられるカラーである。この実施形態では、カラーは2つのボアを備え、それらを通してロッド203を遠位側および近位側に摺動させることができる。この追加の実施形態では、本明細書で後述するように、ロッドおよび電線をカメラマウント102上のカメラおよび照明手段まで移動させる操作ワイヤと、内視鏡の挿入チューブの外部に配置される信号線とを被覆するのに、エラストマー性のシース(図7を参照)が使用される。
伸縮式カメラロッド203は、カメラマウント102を基部202から離すように遠位側に、またそれに向かって近位側に移動させるように構成される。カメラロッド203の運動は、ロッド203の近位端に取り付けられた、ケーブル、ロッド、または他の機械的手段(図示なし)によって制御される。単純にするため、ロッドを横方向に移動させる当該分野で知られている任意の装置を、以下、ワイヤと呼ぶ。ワイヤは、ワイヤが遠位側に押されたときにカメラロッド203を遠位側に移動させるのに十分な固さのものである。基部202が内視鏡の一体部品である実施形態では、ワイヤは、内視鏡の挿入チューブのチャネルを貫通してハンドルまで至り、そこでワイヤの近位端が、カメラロッド203を延長し後退させるように構成されたメカニズムに取り付けられる。基部202が内視鏡上に追加される実施形態では、ワイヤは、シースによって内視鏡の挿入軸に接して保持されたチューブ217aおよび217bを貫通し、内視鏡の近位端に配置された専用の制御ボックスまで至る。
アンビル103およびステープルカートリッジ205で構成されたステープル留めデバイスは、基部202上に配置される。カートリッジ205およびアンビル103の設計は、本特許出願の出願人に対するWO2007/141776に既に記載されている。アンビル103は、遠位側に延長させて開放構成(図2Aに図示)を得ることができる、または近位側に後退させて閉止構成(図1に図示)を得ることができる、伸縮式ロッド207に装着される。ロッド207の運動は、ロッド203に関して本明細書で上述したものと類似の、機械式、空圧式、または油圧式装置によって制御される。基部202が内視鏡の一体部品である実施形態では、ロッド207の移動を制御するワイヤは、内視鏡の挿入チューブのチャネルを貫通してハンドルまで至り、そこでワイヤの近位端が、ロッド207を延長し後退させるように構成されたメカニズムに取り付けられる。基部202が内視鏡に追加される実施形態では、ワイヤは、追加のシースによって封止されたチューブ220aおよび220bを貫通する。アンビル103を後退させると、即ちロッド207を近位側に移動させると、基部202に固定的に取り付けられた位置合わせピン215がアンビル103の位置合わせ開口部214に入って、アンビルがカートリッジ205と完璧に位置合わせされる。他の実施形態では、超音波または光センサシステムなどの装置を、位置合わせピン215および開口部214の代わりに使用して、アンビルとカートリッジとの位置合わせを得て検証することができる。
ステープラのこの設計では、ステープラカートリッジ205は、医療用ステープラで従来見出されるものなど、ステープルを動的に排出するカムの装置は備えていない。本発明のステープル留めデバイスでは、本明細書で上述したようにアンビル103を近位側に後退させると、アンビル103の面が、アンビルとカートリッジ300との間にある組織の部分を係合し、その組織の部分をカートリッジ300の遠位面に押し付け、アンビル103を継続して後退させると、カートリッジ205の遠位部分が近位側へと摺動して近位部分に入る。ステープルプッシャもステープルも近位部分の内部では移動せず、ステープルの脚が、カートリッジ205の遠位端にあるスロット208を通ってカートリッジ205の遠位部分から受動的に押し出され、アンビル103の面にある一致する窪み210を係合する。アンビル103の伸縮式ロッド207に取り付けられたワイヤを引っ張り続けることで、ステープルの脚が窪み210の中で丸まり始めるまで、ステープルの脚の長さが次第にスロット208および組織層を通って外に出る。プロセスは、ステープルがカートリッジ205を完全に出て、脚が完全に丸まり、組織層をともにステープル留めするプロセスが完了するまで続く。
少なくとも1つの組織把持具204を備える組織把持デバイスは、基部202から可逆的に延長されるように構成される。図2Aおよび図2Bに示される実施形態では、把持具204は固いワイヤで作られ、その遠位端はらせん形状に曲げられる。把持手段の他の実施形態は、例えば、鉗子または当該分野で知られている任意の類似の把持器具を含むことができる。把持具204の近位端はワイヤ216に接続され、ワイヤは、内視鏡のハンドル内の、または把持具204の長手方向運動および回転運動を制御する専用の制御ボックス内のメカニズムに接続される。基部202が内視鏡の一体部品である実施形態では、ワイヤ216は内視鏡の挿入チューブ内のチャネルを貫通し、基部202が内視鏡上に追加される実施形態では、ワイヤ216はチューブ218を貫通して内視鏡100の近位端に至る。
図2Aおよび図2Bに示される開放構成では、2本の破線間のギャップとして示される操作空間206が、ロッド207間、およびカートリッジ205とアンビル103との間の空間内に存在する。操作空間206内で、穴の閉鎖またはポリープ除去などの医療処置を行うことができる。ワイヤ216を遠位側に延長させ回転させると、内視鏡100の遠位面の前方に位置する組織(図示なし)に貫入し把持するために、把持具204がらせん運動で前進させられる。組織のしっかりした把持が達成されると、把持具204を後退させ、それによって組織が操作空間206内へと上方かつ後方に引っ張られる。
後方に面するカメラ209によって、前方視のカメラ101によって得られない視点からだけではなく、前方に面するカメラ101の視野が操作空間206内に位置する組織によって完全に遮断されているとき、例えば、端部を互いにステープル留めし、穴を閉鎖するために、穴を取り囲む組織が把持具204によって引き上げられているときも、操作空間206内で実施される処置の継続的な観察が可能になる。
図3および図4はそれぞれ、開放構成にある内視鏡100の側面図および下面図を示している。図3では、把持具204は、操作空間206を通って延長されて示されている。図4は、後方に面するカメラ209と操作空間206との間の明確な見通し線を示している。本明細書では1つの把持具のみが例示されているが、組織を掴んで操作空間206に引き込む、2つ以上の把持具を有するECDの実施形態を提供できることが注目される。
図5は、内視鏡100の追加の実施形態を概略的に示している。チューブ217a、217b、218、220a、および220bは、シース810の近位端に示されている。把持具204を制御するのに使用されるワイヤ216(図5には図示なし)は、チューブ218を貫通する。同様に、ロッド207の長手方向運動を制御するワイヤが、チューブ220aおよび220bを貫通する。ロッド203の長手方向運動を制御するワイヤは、チューブ217aおよび217bを貫通する。
図6Aは、本明細書で上述した内視鏡クロージャデバイス(ECD)の実施形態を使用する、内視鏡クロージャプロセスを説明するフローチャートである。最初のステップ501で、内視鏡100が患者の体内に挿入され、前方に面するカメラ101を使用して、挿入チューブが閉鎖すべき組織の穴の位置へと案内され、ステップ502で、遠位先端が閉鎖すべき穴の上方で穴に対して平行に位置決めされる。ステップ503で、オペレータがワイヤを作動させて、アンビル103およびカメラマウント102を遠位側に移動させることによって、操作空間206が作られる。ステップ504で、オペレータがワイヤ216を作動させて、把持具204を操作空間206を通して延長させ、関心の組織を把持するために回転させる。把持具204が穴の周りの組織をしっかり掴むと、ステップ505で、把持具204および付随する組織が操作空間を通して上方かつ近位側に引っ張られて、閉鎖すべき穴全体がカートリッジ205の遠位端にあるスロット208の上方に来るまで、関心の組織が操作空間を通して引っ張られる。ステップ506で、後方に面するカメラ209を使用して、組織がステープルカートリッジに対して適正位置にあることが確保される。ステップ507で、アンビルをカートリッジに向かって後退させて、組織がアンビルとカートリッジとの間で圧迫される。ステップ508で、本明細書で上述したように、ステープル列がカートリッジから組織を通して排出される。ステップ509で、アンビルを遠位側に移動させて、ステープル留めされた組織が操作空間から解放され、その後、後方に面するカメラ209を使用して、ステープル留め処置が適切に実行されたことが検査され確認される。最後に、ステップ510で、内視鏡100が患者の身体から撤回される。
図6Aのステップの順序は単に例示のために与えられるものである。ステップの他の順序が可能であり、例えば、ステップ502および503を入れ替えて、ECDを穴に対して位置決めする助けとするのに後方に面するカメラを使用するのを可能にすることができる。
別の実施形態によれば、内視鏡100は、組織を切り取るように適合された切断デバイス、例えばブレードまたは加熱したワイヤを備え、それにより、組織閉鎖を実施することに加えて、組織、例えばポリープを除去することを可能にする。異なる実施形態では、切断デバイスは、アンビルの近位面に装着されるか、カートリッジの遠位面に装着されるか、または内視鏡の作業チャネルを貫通させる別個の器具として実現される。
図6Bは、ポリープまたは腫瘍などの成長部を除去する全層切除(FTR)処置を実施する、内視鏡100の使用を説明するフローチャートである。この図では、内視鏡デバイス100は全層切除デバイス(FTRD)として知られている。最初のステップ511で、内視鏡100が患者の体内に挿入され、前方に面するカメラ101の助けによって、除去すべき成長部の位置へと案内され、ステップ512で、成長部の上方で成長部に対して平行に位置決めされる。ステップ513で、オペレータがワイヤを作動させて、アンビルおよびカメラマウントを遠位側に移動させることによって、操作空間206が作られる。ステップ514で、前方に面するカメラおよび後方に面するカメラの両方を使用して、成長部が操作空間の下方にあるように、内視鏡の位置が調節される。ステップ515で、オペレータがワイヤを作動させて、把持具204を操作空間206を通して延長させ、成長部を把持するために回転させる。把持具204が成長部をしっかり把持した後、ステップ516で、把持具を操作空間を通して後退させて、成長部全体がステープルカートリッジの上方に来て、成長部の下方にある組織の部分がカートリッジ205の遠位端にあるスロット208に対向して配置されるまで、成長部が操作空間を通して引っ張られる。処置のこの時点で、前方に面するカメラ101の視野は成長部によって遮断されるので、次のステップ517で、後方に面するカメラ209を使用して、成長部が適正位置にあることが確保される。ステップ518で、アンビルをカートリッジに向かって後退させて、成長部の下方にある組織がアンビルとカートリッジとの間で圧迫される。ステップ519で、少なくとも1つのステープルが、カートリッジから成長部の下方にある組織を通して排出される。ステップ520で、切断デバイスをオペレータが作動させ、成長部の下方にある組織がステープルラインの上方で切断される。次のステップ521で、アンビルを遠位側に移動させて、ステープル留めされた組織が操作空間から解放され、成長部は把持具に接続されたままにされる。次の最終ステップ522で、成長部が内視鏡100とともに患者の身体から撤回される。
追加のステップをステップ519と520との間に導入することができる。この追加のステップは、ステープルを発射した後にアンビルを遠位側に移動させて、後方に面するカメラ209を使用して、ステープル留めされた組織の詳細な検査を実施し、続いてアンビルを近位側に移動させてから組織を切断することを含む。
図6Bに示されるステップの順序は単に例示のために提示されるものである。ステップの他の順序が可能であり、例えば、ステップ512および513を入れ替えて、内視鏡を成長部に対して位置決めする助けとするのに後方に面するカメラを使用するのを可能にすることができる。
本明細書で上述した内視鏡100の実施形態では、図6Aおよび図6Bに記載したものなどの処置を実施するために、伸縮式アンビルロッド207の間に固定の距離があり、そこを通して成長部および組織を引っ張ることができる。この距離は、内視鏡100の挿入軸の最大径によって決定され、その最大径は、処置が実施されるべき部位に達するために挿入軸が通らなければならない管腔の最小内径によって決定される。したがって、場合によっては、ロッド207間の開口部よりも大きい直径を有する成長部または穴は、ロッド間の操作空間に全体を引き込むことができないので、うまく操作することができない。
図7(図面の2/11ページを参照)は、ロッド間の限定された距離の問題に対する解決策を提供するように構成されたロッド401によって、基部202に取り付けられたアンビル103の斜視図である。本明細書で上述したロッド207の場合のように、ロッド401の近位端は、内視鏡のハンドルまたは専用ボックスから遠位側および近位側へのアンビルの移動を制御する、ワイヤの遠位端に接続される。これらのワイヤは、内視鏡100の挿入チューブの内部にあるチューブを貫通するか、または追加の実施形態におけるチューブ220aおよび220bを貫通する。ワイヤが近位側に引っ張られると、ロッド401は、直線構成のチューブ内部で拘束された第1の位置にある。ワイヤが遠位側に引っ張られ、チューブを出るにつれて、それらのプレ形状記憶特性によって、基部202の前方で完全に延長されたとき、図7に示される形状を有する第2の位置に達するまで外側に曲がる。
ECD100を関心の組織の上方で位置決めし、ロッド401を延長した後、組織は把持具204によって掴まれ、操作空間206に引き込まれる。組織が掴まれ操作空間に引き込まれた後、ロッド401が近位側に後退させられて、チューブ220aおよび220bに引き込まれる。ロッド401がチューブに入ると、ロッドは真っ直ぐにされ、上述したように、組織がステープル留めのためにカートリッジ205とアンビル103との間で最終的に圧迫されるまで、ロッド401が包囲している組織がロッドの間で圧縮される。
本発明の実施形態を例示として記載してきたが、本発明は、特許請求の範囲を超えることなく、多くの変形、修正、および適応を含めて実施されてもよいことが理解されるであろう。
Claims (13)
- 挿入チューブと、遠位先端と、前記遠位先端または前記挿入チューブの上もしくは中の初期位置に配置された少なくとも1つのカメラとを備える、内視鏡デバイスであって、前記内視鏡デバイスの近位端から活性化される機械的装置を備え、前記機械的装置が、
(a)前記少なくとも1つのカメラを前記初期位置から、前記遠位先端または前記挿入チューブの上の、中の、もしくはそこから離隔された、1つまたは複数の異なる位置へと移動させること、ならびに
(b)前記少なくとも1つのカメラの観察方向を変更すること、のうちの少なくとも1つを行うように構成されることを特徴とする、内視鏡デバイス。 - 前記内視鏡デバイスの前記遠位先端または前記挿入チューブに固定的に取り付けられた、1つまたは複数のカメラを備える第1のセットのカメラと、前記内視鏡デバイスの前記遠位先端または前記挿入チューブから外側へと可逆的に延長されるように構成された少なくとも1つのロッドにそれぞれ装着された、1つまたは複数のカメラを備える第2のセットのカメラとを備え、前記第1のセットのカメラが、前記内視鏡デバイスの内部から外側を見る観察方向を提供し、前記第2のセットのカメラが、前記内視鏡デバイスに向かって内側を見る観察方向を提供する、請求項1に記載の内視鏡デバイス。
- 前記少なくとも1つのロッドが、前記内視鏡に固定的に取り付けられたカメラでは得ることができない視野を提供するために、前記内視鏡の表面に対して任意の方向で可逆的に延長されるように構成された、請求項2に記載の内視鏡デバイス。
- 少なくとも1つのカメラが、前記内視鏡を回転または移動させることなく様々な視角を提供するために、前記カメラをパン、チルト、または回転させることができるようなやり方で装着された、請求項1に記載の内視鏡デバイス。
- 前記第1のセットのカメラが、前記遠位先端の遠位面に固定的に取り付けられた、1つの前方に面するカメラを含み、前記第2のセットのカメラが、基部に当接する第1の位置から、前記基部から離隔された第2の位置へと延長させ、前記第2の位置から近位側に後退させて前記第1の位置に戻すことができる、少なくとも1つのロッドに取り付けられたカメラマウントに装着された、1つの後方に面するカメラを含む、請求項2に記載の内視鏡デバイス。
- 前記基部が、
a)専用の内視鏡の一体部品であり、前記少なくとも1つのロッドを中を通して遠位側および近位側に摺動させることができる少なくとも1つのボアを備える、特別に構成された遠位先端、ならびに
b)内視鏡の前記遠位先端の上を滑動する、前記遠位先端に取り付けられたカラーであって、前記少なくとも1つのロッドを中を通して遠位側および近位側に摺動させることができる少なくとも1つのボアを備える、カラー、のうちの1つである、請求項5に記載の内視鏡デバイス。 - アンビルおよびステープルカートリッジで構成されたステープル留めデバイスを備え、前記アンビルが、前記第1の位置から前記第2の位置へと遠位側に延長させて開放構成を得ることができる、または前記第2の位置から前記第1の位置へと近位側に後退させて閉止構成を得ることができる2つのロッドに装着され、前記ステープルカートリッジが、前記ステープルカートリッジの近位部分内へと近位側に摺動するように構成された遠位部分を備える、請求項5に記載の内視鏡デバイス。
- 前記基部から可逆的に延長されるように構成された少なくとも1つの組織把持具を備える、少なくとも1つの組織把持デバイスを備える、請求項7に記載の内視鏡デバイス。
- 組織を切り取るように構成された少なくとも1つの切断デバイスを備える、請求項8に記載の内視鏡デバイス。
- 前記アンビルが、前記閉止構成にあるときの直線構成と前記開放構成にあるときの曲がった構成とを有する、2つのロッドに取り付けられた、請求項9に記載の内視鏡デバイス。
- 請求項8に記載の内視鏡デバイスを使用して、内視鏡クロージャ処置を実施する方法であって、
a)請求項8に記載の内視鏡デバイスを患者の体内に挿入し、前記前方に面するカメラを使用して、患者の組織にある閉鎖すべき穴の位置へと前記挿入チューブを案内するステップと、
b)前記前方に面するカメラを使用して、前記内視鏡デバイスの前記遠位先端を閉鎖すべき前記穴の上方で前記穴に対して平行に位置決めするステップと、
c)ワイヤを作動させることで、前記ステープル留めデバイスの前記アンビルおよび前記カメラマウントを遠位側に移動させるステップと、
d)前記少なくとも1つの組織把持具を作動させて延長させ、前記穴の周りの組織をしっかり掴ませるステップと、
e)閉鎖すべき前記穴を取り囲む組織が全て、前記ステープルカートリッジの前記近位部分に格納されたステープルがそこを通って前記ステープルカートリッジの前記遠位部分から排出されるスロットの上方に来るまで、前記組織把持具および付随する組織を上方かつ近位側に引っ張るステップと、
f)前記後方に面するカメラを使用して、前記組織が前記ステープルカートリッジに対して適正に位置決めされていることを確保するステップと、
g)前記アンビルを前記ステープルカートリッジに向かって後退させることによって、前記穴を取り囲む前記組織を前記アンビルと前記ステープルカートリッジとの間で圧迫するステップと、
h)前記アンビルを前記ステープルカートリッジに向かって後退させ続けることによって、ステープル列を前記ステープルカートリッジから前記組織を通して排出するステップと、
i)前記アンビルを遠位側に移動させることによって、ステープル留めされた前記組織を解放し、前記後方に面するカメラを使用して、ステープル留め処置が適切に実行されたことを検査し確認するステップと、
j)前記内視鏡を前記患者の身体から撤回するステップと、を含む方法。 - 請求項9または10に記載の内視鏡デバイスを使用して、成長部を除去する全層切除(FTR)処置を実施する方法であって、
a)請求項9または10に記載の内視鏡を患者の体内に挿入し、前記前方に面するカメラを使用して、除去すべき成長部の位置へと前記内視鏡を案内するステップと、
b)前記前方に面するカメラを使用して、前記内視鏡を前記成長部の上方で前記成長部に対して平行に位置決めするステップと、
c)ワイヤを作動させることで、前記アンビルおよび前記カメラマウントを遠位側に移動させるステップと、
d)前記前方に面するカメラおよび前記後方に面するカメラの両方を使用して、前記成長部が前記内視鏡の前記遠位先端の下方かつ前方に適正に位置決めされるように、前記内視鏡の位置を調節するステップと、
e)前記組織把持具を作動させて前記成長部をしっかり把持するステップと、
f)前記把持具を後退させることによって、前記成長部を取り囲む組織の部分が、前記ステープルカートリッジの前記近位部分にあるステープルが前記ステープルカートリッジの前記遠位部分から排出される際に通るスロットに対向して配置されるまで、前記成長部全体を前記ステープルカートリッジの上方へと引っ張るステップと、
g)前記後方に面するカメラを使用して、前記成長部が適正位置にあることを確保するステップと、
h)前記アンビルを前記ステープルカートリッジに向かって後退させることによって、前記成長部を取り囲む組織を前記アンビルと前記ステープルカートリッジとの間で圧迫するステップと、
i)前記アンビルを前記ステープルカートリッジに向かって後退させ続けることによって、少なくとも1つのステープルを前記ステープルカートリッジから前記成長部を取り囲む前記組織を通して排出するステップと、
j)前記切断デバイスを作動させることによって、前記成長部を取り囲む前記組織をステープルラインの下方で切断するステップと、
k)前記アンビルを遠位側に移動させることによって、前記成長部が前記把持具に接続されたままの状態で、ステープル留めされた前記組織を解放するステップと、
l)前記成長部を前記内視鏡とともに前記患者の身体から撤回するステップと、を含む方法。 - ステップiおよびjの間に導入される追加のステップを含み、前記追加のステップが、前記ステープルを発射した後に前記アンビルを遠位側に移動させて、前記後方に面するカメラを使用して前記ステープル留めされた組織の詳細な検査を実施し、続いて前記アンビルを近位側に移動させてから前記組織を切断することを含む、請求項12に記載の方法。
Applications Claiming Priority (3)
| Application Number | Priority Date | Filing Date | Title |
|---|---|---|---|
| US202062988466P | 2020-03-12 | 2020-03-12 | |
| US62/988,466 | 2020-03-12 | ||
| PCT/IL2021/050245 WO2021181376A1 (en) | 2020-03-12 | 2021-03-07 | Endoscope devices comprising a moveable camera |
Publications (1)
| Publication Number | Publication Date |
|---|---|
| JP2023517618A true JP2023517618A (ja) | 2023-04-26 |
Family
ID=77671342
Family Applications (1)
| Application Number | Title | Priority Date | Filing Date |
|---|---|---|---|
| JP2022554642A Pending JP2023517618A (ja) | 2020-03-12 | 2021-03-07 | 可動式カメラを備える内視鏡デバイス |
Country Status (6)
| Country | Link |
|---|---|
| US (1) | US20230000328A1 (ja) |
| EP (1) | EP4117502A4 (ja) |
| JP (1) | JP2023517618A (ja) |
| KR (1) | KR20230002380A (ja) |
| CN (1) | CN115279246A (ja) |
| WO (1) | WO2021181376A1 (ja) |
Families Citing this family (9)
| Publication number | Priority date | Publication date | Assignee | Title |
|---|---|---|---|---|
| US20230000495A1 (en) * | 2021-06-30 | 2023-01-05 | Covidien Lp | Circular stapling device with tissue grasping members |
| US12586226B2 (en) | 2021-07-13 | 2026-03-24 | General Electric Company | Method for inspecting an object |
| US12602808B2 (en) | 2021-07-13 | 2026-04-14 | General Electric Company | Method for inspecting an object |
| US12610116B2 (en) * | 2022-11-11 | 2026-04-21 | General Electric Company | Inspection systems and methods employing directional light for enhanced imaging |
| US12596076B2 (en) | 2022-11-11 | 2026-04-07 | General Electric Company | Inspection systems and methods employing different wavelength directional light for enhanced imaging |
| US12495214B2 (en) | 2023-03-15 | 2025-12-09 | General Electric Company | Pulse illumination imaging of a target element |
| DE102023126150A1 (de) * | 2023-09-26 | 2025-03-27 | Karl Storz Se & Co. Kg | Resektoskopvorrichtung, Resektoskop, Resektionssystem und Bildgebungsverfahren |
| US12593131B2 (en) | 2023-09-05 | 2026-03-31 | General Electric Company | Velocity matching imaging of a target element |
| CN117204944A (zh) * | 2023-11-07 | 2023-12-12 | 上海宇度医学科技股份有限公司 | 一种带电切刀的内窥镜 |
Family Cites Families (9)
| Publication number | Priority date | Publication date | Assignee | Title |
|---|---|---|---|---|
| US6277064B1 (en) * | 1997-12-30 | 2001-08-21 | Inbae Yoon | Surgical instrument with rotatably mounted offset endoscope |
| US6478210B2 (en) * | 2000-10-25 | 2002-11-12 | Scimed Life Systems, Inc. | Method and device for full thickness resectioning of an organ |
| JP5435957B2 (ja) * | 2006-01-23 | 2014-03-05 | アヴァンティス メディカル システムズ インコーポレイテッド | 内視鏡 |
| IL176133A0 (en) * | 2006-06-05 | 2006-10-05 | Medigus Ltd | Stapler |
| KR101150350B1 (ko) * | 2011-12-26 | 2012-06-08 | 윤치순 | 삼차원 내시경 수술장치 |
| US20130284792A1 (en) * | 2012-04-26 | 2013-10-31 | Covidien Lp | Surgical Stapling Device Including A Camera |
| US9986899B2 (en) * | 2013-03-28 | 2018-06-05 | Endochoice, Inc. | Manifold for a multiple viewing elements endoscope |
| US20190082940A1 (en) * | 2013-08-31 | 2019-03-21 | Morena Medical Applications Ltd. | Endoscope with shared working channel |
| JP6930062B2 (ja) * | 2015-05-12 | 2021-09-01 | レビー、エイブラハム | 動的視野内視鏡 |
-
2021
- 2021-03-07 JP JP2022554642A patent/JP2023517618A/ja active Pending
- 2021-03-07 EP EP21768612.0A patent/EP4117502A4/en not_active Withdrawn
- 2021-03-07 KR KR1020227035049A patent/KR20230002380A/ko not_active Withdrawn
- 2021-03-07 WO PCT/IL2021/050245 patent/WO2021181376A1/en not_active Ceased
- 2021-03-07 CN CN202180020613.XA patent/CN115279246A/zh active Pending
-
2022
- 2022-09-08 US US17/930,495 patent/US20230000328A1/en not_active Abandoned
Also Published As
| Publication number | Publication date |
|---|---|
| WO2021181376A1 (en) | 2021-09-16 |
| EP4117502A4 (en) | 2024-03-13 |
| EP4117502A1 (en) | 2023-01-18 |
| US20230000328A1 (en) | 2023-01-05 |
| CN115279246A (zh) | 2022-11-01 |
| KR20230002380A (ko) | 2023-01-05 |
Similar Documents
| Publication | Publication Date | Title |
|---|---|---|
| JP2023517618A (ja) | 可動式カメラを備える内視鏡デバイス | |
| JP5407036B2 (ja) | 処置用内視鏡 | |
| US10292693B2 (en) | Devices for introducing multiple instruments and methods of use | |
| US9649015B2 (en) | Treatment tool for endoscope | |
| CN101489491B (zh) | 用于将外科器械引入到患者体内的展开系统 | |
| US8480700B2 (en) | Full thickness resection device | |
| JP7518252B2 (ja) | 組織を引き込む為の装置および方法 | |
| JP6427109B2 (ja) | 屈曲処置具 | |
| JP2014519873A (ja) | デバイス | |
| US20250352204A1 (en) | Stapler apparatus and methods for use | |
| US20210093163A1 (en) | Endoscope with integrated tissue acquisition capability | |
| US12376880B2 (en) | Medical systems, devices, and related methods | |
| US20240050319A1 (en) | Medical device with integrated instrument and related methods | |
| JP7798980B2 (ja) | 内視鏡ツール安定化、及び関連の使用方法 | |
| US20230056943A1 (en) | Stapler apparatus and methods for use | |
| US9549661B2 (en) | Medical device actuation systems and related methods of use | |
| KR101750628B1 (ko) | 내시경 장비에 부착된 수술 팔을 포함하는 수술용 장치 및 이를 포함하는 수술 시스템 | |
| US20220095888A1 (en) | Medical systems, devices, and related methods | |
| US20210068637A1 (en) | Endoscope and channel tube | |
| KR102172603B1 (ko) | 내시경 장치 및 내시경 장치에 부착되는 폴립 회수 장치 | |
| JP2002282202A (ja) | 体腔内照明装置 | |
| US20210059659A1 (en) | Devices and methods for closure of openings in tissue | |
| CN118119346A (zh) | 可扩展装置和系统 |