JP2023178564A - スライドドア駆動装置 - Google Patents
スライドドア駆動装置 Download PDFInfo
- Publication number
- JP2023178564A JP2023178564A JP2022091321A JP2022091321A JP2023178564A JP 2023178564 A JP2023178564 A JP 2023178564A JP 2022091321 A JP2022091321 A JP 2022091321A JP 2022091321 A JP2022091321 A JP 2022091321A JP 2023178564 A JP2023178564 A JP 2023178564A
- Authority
- JP
- Japan
- Prior art keywords
- belt
- holding
- sliding door
- guide frame
- drive device
- Prior art date
- Legal status (The legal status is an assumption and is not a legal conclusion. Google has not performed a legal analysis and makes no representation as to the accuracy of the status listed.)
- Granted
Links
Images
Landscapes
- Power-Operated Mechanisms For Wings (AREA)
Abstract
【解決手段】スライドドア駆動装置40は、長尺のガイドフレーム50と、ガイドフレーム50の長手方向における両端部にそれぞれ回転可能に支持される第1従動プーリ74及び第2従動プーリと、第1従動プーリ74及び第2従動プーリに巻き掛けられるベルト81と、ベルト81に連結されるベルト連結部821及びスライドドア30に連結されるドア連結部822を有するベルトブラケット82と、ガイドフレーム50の上方に設置される保持機構90と、を備える。保持機構90は、ベルトブラケット82を保持可能な保持位置及びベルト81を被覆可能な被覆位置の間を変位する保持部91と、ガイドフレーム50に固定される固定部92と、保持部91及び固定部92を相対変位可能に接合する接合部と、を有する。
【選択図】図8
Description
上記課題を解決するスライドドア駆動装置は、車両のボディパネルに固定され、前記車両のスライドドアを開方向及び閉方向に作動させるスライドドア駆動装置であって、長尺のガイドフレームと、前記ガイドフレームの長手方向における両端部にそれぞれ回転可能に支持される第1従動プーリ及び第2従動プーリと、前記第1従動プーリ及び前記第2従動プーリに巻き掛けられるベルトと、前記ベルトに連結されるベルト連結部と、前記スライドドアに連結されるドア連結部と、を有するベルトブラケットと、前記ガイドフレームの上方に設置される保持機構であって、前記ベルトブラケットを保持可能な保持位置及び前記ベルトを被覆可能な被覆位置の間を変位する保持部と、前記ガイドフレームに固定される固定部と、前記保持部及び前記固定部を相対変位可能に接合する接合部と、を有する前記保持機構と、を備える。
スライドドア駆動装置において、保持部は、保持位置及び被覆位置の間を回転しつつ変位する。このため、スライドドア駆動装置は、保持部を保持位置から被覆位置に容易に変位させることができる。
上記スライドドア駆動装置において、前記保持位置に位置する前記保持部に保持されるときに前記ベルトブラケットが取る姿勢を退避姿勢としたとき、前記ガイドフレームは、前記退避姿勢を取る前記ベルトブラケットの前記ベルト連結部が係合する係合凹部を有することが好ましい。
<本実施形態の構成>
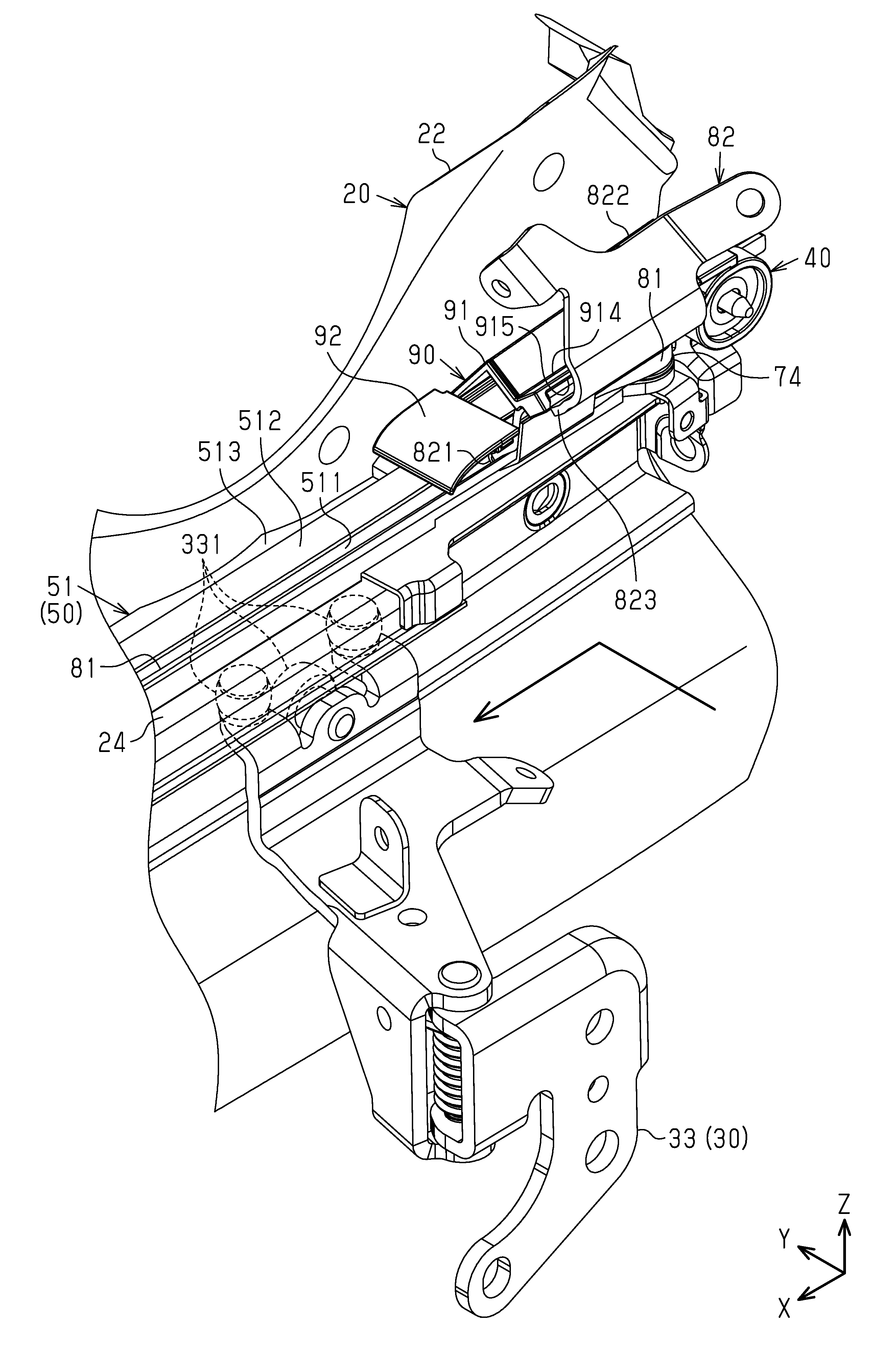
図1に示すように、車両10は、車体20と、スライドドア30と、ドア駆動装置40と、を備える。以降の説明では、車両10の幅方向を「幅方向」ともいい、車両10の前後方向を「前後方向」ともいい、車両10の上下方向を「上下方向」ともいう。また、幅方向において、車両10の中央を向く方向を「内方」といい、「内方」の逆方向を「外方」という。前後方向に延びる軸をX軸として記載し、幅方向に延びる軸をY軸として記載し、上下方向に延びる軸をZ軸として記載している。
図1及び図2に示すように、車体20は、ドア開口部21と、ボディパネル22と、アッパレール23と、センターレール24と、ロアレール25と、を有する。
図1に示すように、スライドドア30は、ドア本体31と、アッパヒンジユニット32と、センターヒンジユニット33と、ロアヒンジユニット34と、を備える。
図2に示すように、ドア駆動装置40は、ボディパネル22に固定される。このとき、ドア駆動装置40は、センターレール24と上下に並んでいる。詳しくは、ドア駆動装置40は、センターレール24の直上に位置している。
図3に示すように、ベルト駆動部60は、モータ61と、モータ61から伝達される動力によって駆動される出力軸62と、ベルト駆動部60の構成部品を収容するケース63と、を有する。ベルト駆動部60は、ケース63内に、モータ61の動力を出力軸62に伝達する不図示の減速機を有する。出力軸62は、駆動プーリ71に連結されている。図2に示すように、ドア駆動装置40を車両10に固定したとき、ベルト駆動部60は、ボディパネル22の内側に配置される。
図4に示すように、駆動プーリ71、第1押さえプーリ72及び第2押さえプーリ73は、ガイドフレーム50の収容部53に収容されている。詳しくは、駆動プーリ71、第1押さえプーリ72及び第2押さえプーリ73は、収容部53に回転可能に支持されている。このとき、駆動プーリ71は、ガイドフレーム50の長手方向において、第1押さえプーリ72及び第2押さえプーリ73の間に位置している。また、ドア駆動装置40を車体20に固定したとき、駆動プーリ71、第1押さえプーリ72及び第2押さえプーリ73の回転軸線は、幅方向に延びている。なお、駆動プーリ71は、歯付きのプーリである。
ベルト81は、ゴム及び樹脂などのエラストマーからなる歯付ベルトである。ベルト81は、ガイドフレーム50の直線部51のガイド壁511及び湾曲部52のガイド壁521を囲った状態で、駆動プーリ71、2つの押さえプーリ72,73及び3つの従動プーリ74~76に巻き掛けられる。ここで、ベルト81は、駆動プーリ71に巻き掛ける部分が2つの押さえプーリ72,73によって押さえ付けられる。こうして、ベルト駆動部60の出力軸62の動力が駆動プーリ71を介して、ベルト81に効率よく伝達される。
ベルトカバー83は、ガイドフレーム50の湾曲部52に対応する形状をなしている。ベルトカバー83は、ガイドフレーム50の湾曲部52に上方から固定される。ガイドフレーム50にベルトカバー83を固定したとき、ベルト81は、ベルトカバー83に覆われる。ベルトカバー83は、ガイドフレーム50の湾曲部52に沿って作動されるベルト81に異物が接触することを抑制する。
図5及び図6に示すように、保持機構90は、ベルトブラケット82を保持する保持部91と、ガイドフレーム50に固定される固定部92と、保持部91と固定部92とを接続するヒンジ93と、を有する。保持機構90は、樹脂材料によって成形されている。本実施形態において、保持部91と固定部92とヒンジ93とは一体に成形されている。
以上のように構成されたドア駆動装置40は、スライドドア30を開閉作動させる場合には、ベルト駆動部60のモータ61を駆動する。すると、ベルト駆動部60の出力軸62が回転することにより、ベルト81が回転する。スライドドア30を開作動する場合には、ベルトブラケット82が後方に移動するようにベルト81が回転される。その結果、スライドドア30には、センターヒンジユニット33を介して、後方に荷重が作用する。こうして、スライドドア30は、後方に移動することにより、開作動される。一方、スライドドア30を閉作動する場合には、ベルトブラケット82が前方に移動するようにベルト81が回転される。その結果、スライドドア30には、センターヒンジユニット33を介して、前方に荷重が作用する。こうして、スライドドア30は、前方に移動することにより、閉作動される。
図7~図12を参照して、車体20にスライドドア30を組み付けるときの作用について説明する。スライドドア30の車体20に対する組付作業は、例えば、車両10の製造工場において、作業員又は作業ロボットによって実施される。なお、図7~図10では、説明理解の容易のために、スライドドア30のドア本体31を省略している。
(1)ガイドフレーム50の後端部では、内側上壁513が存在しているが外側上壁512が存在していない。このため、保持機構90の保持部91に保持されることにより退避姿勢を取るベルトブラケット82は、ガイドフレーム50に接触することを回避できる。また、ベルトブラケット82が退避姿勢を取らなくなった後、言い換えれば、ベルトブラケット82がスライドドア30に連結された後は、保持機構90の保持部91は、ベルト81を被覆するために被覆位置に配置される。つまり、ベルト81において、外側上壁512に上方から被覆されない部分は、保持機構90の保持部91によって覆われるようになる。詳しくは、ベルト81の外側上壁512に上方から被覆されない部分は、保持部91の第1上壁911及び第2上壁912によって覆われるようになる。こうして、ドア駆動装置40は、保持部91の位置を変化させることにより、車両10の組み立て前までのベルトブラケット82の保持と車両10の組み立て後におけるベルト81の保護とを両立できる。
・保持機構90において、ヒンジ93は、保持部91が保持位置及び被覆位置の間を直線的に変位できるように保持部91と固定部92とを接合する接合部としてもよい。この場合、ベルトブラケット82が退避姿勢を取るとき、ドア連結部822は、ベルト連結部821よりも下方に位置していてもよい。
20…車体
21…ドア開口部
22…ボディパネル
30…スライドドア
40…スライドドア駆動装置
50…ガイドフレーム
51…直線部
511…ガイド壁
512…外側上壁
513…内側上壁
514…係合凹部
515…係合孔
52…湾曲部
521…ガイド壁
522…上壁
523…底壁
53…収容部
60…ベルト駆動部
71…駆動プーリ
72,73…押さえプーリ
74~76…従動プーリ
77…プーリカバー
81…ベルト
82…ベルトブラケット
821…ベルト連結部
822…ドア連結部
823…接続部
83…ベルトカバー
90…保持機構
91…保持部
911…第1上壁
912…第2上壁
913…側壁
914…保持壁
915…スリット
92…固定部
921…第1固定壁
922…第2固定壁
923…突出部
93…ヒンジ(接合部の一例)
Claims (7)
- 車両のボディパネルに固定され、前記車両のスライドドアを開方向及び閉方向に作動させるスライドドア駆動装置であって、
長尺のガイドフレームと、
前記ガイドフレームの長手方向における両端部にそれぞれ回転可能に支持される第1従動プーリ及び第2従動プーリと、
前記第1従動プーリ及び前記第2従動プーリに巻き掛けられるベルトと、
前記ベルトに連結されるベルト連結部と、前記スライドドアに連結されるドア連結部と、を有するベルトブラケットと、
前記ガイドフレームの上方に設置される保持機構であって、前記ベルトブラケットを保持可能な保持位置及び前記ベルトを被覆可能な被覆位置の間を変位する保持部と、前記ガイドフレームに固定される固定部と、前記保持部及び前記固定部を相対変位可能に接合する接合部と、を有する前記保持機構と、を備える
スライドドア駆動装置。 - 前記保持位置に位置する前記保持部に保持されるときに前記ベルトブラケットが取る姿勢を退避姿勢としたとき、
前記ベルトブラケットが前記退避姿勢を取る場合、前記ドア連結部は前記ベルト連結部よりも上方に位置する
請求項1に記載のスライドドア駆動装置。 - 前記接合部は、ヒンジであり、
前記保持部は、前記保持位置及び前記被覆位置の間を回転しつつ変位する
請求項1又は請求項2に記載のスライドドア駆動装置。 - 前記保持機構は、樹脂材料によって一体に構成されており、
前記ヒンジは、前記保持部及び前記固定部よりも薄肉のインテグラルヒンジである
請求項3に記載のスライドドア駆動装置。 - 前記保持位置に位置する前記保持部に保持されるときに前記ベルトブラケットが取る姿勢を退避姿勢としたとき、
前記ガイドフレームは、前記退避姿勢を取る前記ベルトブラケットの前記ベルト連結部が係合する係合凹部を有する
請求項1又は請求項2に記載のスライドドア駆動装置。 - 前記ベルトブラケットは、前記ベルト連結部及び前記ドア連結部を接続する板状をなす接続部を有し、
前記保持機構は、前記ガイドフレームの長手方向に延びるスリットを有し、
前記ベルトブラケットは、前記接続部が前記スリットに挿入されることにより、前記保持機構に保持される
請求項1又は請求項2に記載のスライドドア駆動装置。 - 前記保持位置に位置する前記保持部に保持されるときに前記ベルトブラケットが取る姿勢を退避姿勢とし、前記保持部に保持されなくなるときに前記ベルトブラケットが取る姿勢を解除姿勢としたとき、
前記退避姿勢は、前記解除姿勢に対して、前記ベルトにおける前記ベルトブラケットが連結される部分を当該ベルトの周方向に通る軸線回りに回転させた姿勢である
請求項1又は請求項2に記載のスライドドア駆動装置。
Priority Applications (1)
| Application Number | Priority Date | Filing Date | Title |
|---|---|---|---|
| JP2022091321A JP7764317B2 (ja) | 2022-06-06 | 2022-06-06 | スライドドア駆動装置 |
Applications Claiming Priority (1)
| Application Number | Priority Date | Filing Date | Title |
|---|---|---|---|
| JP2022091321A JP7764317B2 (ja) | 2022-06-06 | 2022-06-06 | スライドドア駆動装置 |
Publications (2)
| Publication Number | Publication Date |
|---|---|
| JP2023178564A true JP2023178564A (ja) | 2023-12-18 |
| JP7764317B2 JP7764317B2 (ja) | 2025-11-05 |
Family
ID=89189605
Family Applications (1)
| Application Number | Title | Priority Date | Filing Date |
|---|---|---|---|
| JP2022091321A Active JP7764317B2 (ja) | 2022-06-06 | 2022-06-06 | スライドドア駆動装置 |
Country Status (1)
| Country | Link |
|---|---|
| JP (1) | JP7764317B2 (ja) |
Citations (5)
| Publication number | Priority date | Publication date | Assignee | Title |
|---|---|---|---|---|
| US6802154B1 (en) * | 2000-06-23 | 2004-10-12 | Multimatic, Inc. | Automatic sliding door opening and closing system with a releasing mechanism for fixably and releasably attaching a vehicle door to a belt drive system |
| JP2015123792A (ja) * | 2013-12-25 | 2015-07-06 | アイシン精機株式会社 | ドア開閉装置 |
| JP2018178696A (ja) * | 2017-04-14 | 2018-11-15 | アイシン精機株式会社 | 車両用ドア開閉装置 |
| JP2019100081A (ja) * | 2017-12-01 | 2019-06-24 | 三井金属アクト株式会社 | 車両用ドア開閉装置およびその取付方法 |
| JP2021095761A (ja) * | 2019-12-18 | 2021-06-24 | 三井金属アクト株式会社 | 車両用ドア開閉装置 |
-
2022
- 2022-06-06 JP JP2022091321A patent/JP7764317B2/ja active Active
Patent Citations (5)
| Publication number | Priority date | Publication date | Assignee | Title |
|---|---|---|---|---|
| US6802154B1 (en) * | 2000-06-23 | 2004-10-12 | Multimatic, Inc. | Automatic sliding door opening and closing system with a releasing mechanism for fixably and releasably attaching a vehicle door to a belt drive system |
| JP2015123792A (ja) * | 2013-12-25 | 2015-07-06 | アイシン精機株式会社 | ドア開閉装置 |
| JP2018178696A (ja) * | 2017-04-14 | 2018-11-15 | アイシン精機株式会社 | 車両用ドア開閉装置 |
| JP2019100081A (ja) * | 2017-12-01 | 2019-06-24 | 三井金属アクト株式会社 | 車両用ドア開閉装置およびその取付方法 |
| JP2021095761A (ja) * | 2019-12-18 | 2021-06-24 | 三井金属アクト株式会社 | 車両用ドア開閉装置 |
Also Published As
| Publication number | Publication date |
|---|---|
| JP7764317B2 (ja) | 2025-11-05 |
Similar Documents
| Publication | Publication Date | Title |
|---|---|---|
| JP4674175B2 (ja) | スライド構造体用の給電装置 | |
| US7585014B2 (en) | Slide door opening and closing apparatus for vehicle | |
| US11585133B2 (en) | Hinge device | |
| US20110126466A1 (en) | Door opening and closing apparatus for vehicle | |
| US7287804B2 (en) | Tension controller and opening-and-closing device for vehicle having the same | |
| WO2015080024A1 (ja) | ワイヤハーネス | |
| JP7077671B2 (ja) | 車両用ドア開閉装置 | |
| US7815242B2 (en) | Automatic opening/closing apparatus for vehicle | |
| JP7490986B2 (ja) | 車両用開閉体駆動装置 | |
| CN214740708U (zh) | 车辆用开闭体驱动装置 | |
| US20100006809A1 (en) | Driving device | |
| JP4022210B2 (ja) | ウィンドウレギュレータ | |
| JP2023178564A (ja) | スライドドア駆動装置 | |
| JP5602405B2 (ja) | スライドドア自動開閉装置 | |
| US7686380B2 (en) | Electrical feeding unit and cable holder | |
| JP7411305B2 (ja) | スライドドア駆動装置 | |
| US7556577B2 (en) | Wire reciprocating device | |
| JP2007209120A (ja) | 給電用ハーネス配索構造 | |
| US12078002B2 (en) | Sliding door drive device | |
| JP5478932B2 (ja) | パワースライド装置 | |
| US7341304B2 (en) | Opening/closing device for vehicle | |
| JP2023148156A (ja) | スライドドア駆動装置 | |
| JP4412144B2 (ja) | ワイヤハーネスの配索構造 | |
| JP4084579B2 (ja) | テールゲートの自動開閉システム | |
| JP7739867B2 (ja) | スライドドア駆動装置 |
Legal Events
| Date | Code | Title | Description |
|---|---|---|---|
| A521 | Request for written amendment filed |
Free format text: JAPANESE INTERMEDIATE CODE: A523 Effective date: 20240315 |
|
| A711 | Notification of change in applicant |
Free format text: JAPANESE INTERMEDIATE CODE: A711 Effective date: 20240315 |
|
| A521 | Request for written amendment filed |
Free format text: JAPANESE INTERMEDIATE CODE: A821 Effective date: 20240315 |
|
| A621 | Written request for application examination |
Free format text: JAPANESE INTERMEDIATE CODE: A621 Effective date: 20250226 |
|
| A977 | Report on retrieval |
Free format text: JAPANESE INTERMEDIATE CODE: A971007 Effective date: 20250930 |
|
| TRDD | Decision of grant or rejection written | ||
| A01 | Written decision to grant a patent or to grant a registration (utility model) |
Free format text: JAPANESE INTERMEDIATE CODE: A01 Effective date: 20251007 |
|
| A61 | First payment of annual fees (during grant procedure) |
Free format text: JAPANESE INTERMEDIATE CODE: A61 Effective date: 20251023 |
|
| R150 | Certificate of patent or registration of utility model |
Ref document number: 7764317 Country of ref document: JP Free format text: JAPANESE INTERMEDIATE CODE: R150 |
