JP2022040177A - 電子部品搭載基板および電子機器 - Google Patents
電子部品搭載基板および電子機器 Download PDFInfo
- Publication number
- JP2022040177A JP2022040177A JP2021211604A JP2021211604A JP2022040177A JP 2022040177 A JP2022040177 A JP 2022040177A JP 2021211604 A JP2021211604 A JP 2021211604A JP 2021211604 A JP2021211604 A JP 2021211604A JP 2022040177 A JP2022040177 A JP 2022040177A
- Authority
- JP
- Japan
- Prior art keywords
- electromagnetic wave
- wave shielding
- electronic component
- substrate
- layer
- Prior art date
- Legal status (The legal status is an assumption and is not a legal conclusion. Google has not performed a legal analysis and makes no representation as to the accuracy of the status listed.)
- Pending
Links
Images
Landscapes
- Structure Of Printed Boards (AREA)
- Structures Or Materials For Encapsulating Or Coating Semiconductor Devices Or Solid State Devices (AREA)
- Shielding Devices Or Components To Electric Or Magnetic Fields (AREA)
Abstract
【課題】被覆性に優れる信頼性の高い電磁波シールド部材を有する電子部品搭載基板、並びに電子機器を提供する。【解決手段】本発明に係る電子部品搭載基板51は、基板20と、基板20の少なくとも一方の面に搭載された電子部品30と、電子部品30上面から基板20に亘って被覆され、電子部品30の搭載によって形成された段差部の側面および基板20の少なくとも一部を被覆する電磁波シールド部材1と、を備える。電磁波シールド部材1は、バインダー樹脂と導電性フィラーを含む電磁波シールド層5を有し、電磁波シールド部材1の表層のJISB0601;2001に準拠して測定した二乗平均平方根高さRqが0.05μm以上、0.3μm未満である。【選択図】図1
Description
本発明は、電磁波シールド部材を有する電子部品搭載基板に関する。また、前記電子部品搭載基板の電磁波シールド部材の形成に好適な電磁波シールド用積層体、並びに前記電子部品搭載基板が搭載された電子機器に関する。
ICチップ等を搭載した電子部品は、外部からの磁場や電波による誤動作を防止するために、通常、電磁波シールド構造が設けられている。例えば、等方導電性接着剤と異方導電性接着剤からなる導電性接着フィルムを、電子部品が搭載された基板に被覆する方法が開示されている(特許文献1)。また、導電性接着剤層および特定の貯蔵弾性率をもつ基材層を有する電磁波シールド用フィルムを、電子部品が搭載された基板に被覆する方法(特許文献2)や、等方導電性を示す鱗片状粒子含有層を有する、特定の引張破断歪を有する電磁波シールド部材を、電子部品が搭載された基板に被覆する方法(特許文献3)が開示されている。
電子部品が搭載された基板に対して、例えば以下の方法により電磁波シールド部材が被覆され、電子部品搭載基板が製造される。まず、図17に示すように、基板120に搭載された複数の電子部品130の天面に、電磁波シールド用部材102と離形性クッション部材103の積層体である電磁波シールド用積層体104を載置する。次いで、電磁波シールド用積層体104を熱圧着させ、図18に示すように、電子部品130および基板120の一部を電磁波シールド部材101により被覆する。その後、図19に示すように離形性クッション部材103を剥離し、続いて図20に示すように、基板120を製品単位に個片化する工程を行う。この個片化工程は、例えば、ダイシングテープ(不図示)を介して電磁波シールド部材101をダイシング台141に当接させ、この当接状態を維持しながら基板120側から電子部品130の間隙である溝125に対向する位置に対して切断工具142により基板120および電磁波シールド部材101を切断する。そして、個片化後にダイシングテープと電磁波シールド部材101を剥離する工程を経て電子部品搭載基板が製造される。
ところが、個片化後にダイシングテープを剥離する際に、電磁波シールド部材101に浮きが発生する場合がある。また、電磁波シールド部材の一部が剥離してしまう場合もある。また、温度サイクル試験(-50℃~125℃)を実施すると、電磁波シールド部材に罅割れが生じることがある。
このような電磁波シールド部材101の浮き、罅割れは外観不良のみならず、様々な問題を引き起こすことがある。例えば、電磁波シールド部材101と筐体を導電性接着剤や導電性粘着剤でグランド接地する際に、接着力や接続抵抗が悪化し、電子機器の電磁波シールド性の信頼性低下を招来し、回路基板に実装する際の障害となる。
本発明は上記背景に鑑みてなされたものであり、被覆性に優れる信頼性の高い電磁波シールド部材を有する電子部品搭載基板並びに電子機器を提供することを目的とする。
本発明者らが鋭意検討を重ねたところ、以下の態様において、本発明の課題を解決し得ることを見出し、本発明を完成するに至った。
[1]: 基板と、前記基板の少なくとも一方の面に搭載された電子部品と、前記電子部品上面から前記基板に亘って被覆され、前記電子部品の搭載によって形成された段差部の側面および前記基板の少なくとも一部を被覆する電磁波シールド部材と、を備え、前記電磁波シールド部材は、バインダー樹脂と導電性フィラーを含む電磁波シールド層を有し、前記電磁波シールド部材の表層の二乗平均平方根高さRqが0.05μm以上、0.3μm未満である電子部品搭載基板。
[2]: 前記電磁波シールド部材の表層の二乗平均平方根傾斜Rdqが0.05~0.4である[1]に記載の電子部品搭載基板。
[3]: 前記電磁波シールド部材の表層の水接触角が90~130°である[1]又は[2]に記載の電子部品搭載基板。
[4]: 前記導電性フィラーは、デンドライト状および針状の導電性フィラーの少なくとも一方および鱗片状の導電性フィラーを含有している[1]~[3]のいずれかに記載の電子部品搭載基板。
[5]: [1]~[4]のいずれかに記載の電子部品搭載基板が搭載された、電子機器。
[1]: 基板と、前記基板の少なくとも一方の面に搭載された電子部品と、前記電子部品上面から前記基板に亘って被覆され、前記電子部品の搭載によって形成された段差部の側面および前記基板の少なくとも一部を被覆する電磁波シールド部材と、を備え、前記電磁波シールド部材は、バインダー樹脂と導電性フィラーを含む電磁波シールド層を有し、前記電磁波シールド部材の表層の二乗平均平方根高さRqが0.05μm以上、0.3μm未満である電子部品搭載基板。
[2]: 前記電磁波シールド部材の表層の二乗平均平方根傾斜Rdqが0.05~0.4である[1]に記載の電子部品搭載基板。
[3]: 前記電磁波シールド部材の表層の水接触角が90~130°である[1]又は[2]に記載の電子部品搭載基板。
[4]: 前記導電性フィラーは、デンドライト状および針状の導電性フィラーの少なくとも一方および鱗片状の導電性フィラーを含有している[1]~[3]のいずれかに記載の電子部品搭載基板。
[5]: [1]~[4]のいずれかに記載の電子部品搭載基板が搭載された、電子機器。
本発明によれば、被覆性に優れる信頼性の高い電磁波シールド部材を有する電子部品搭載基板、並びに電子機器を提供できるという優れた効果を奏する。
以下、本発明を適用した実施形態の一例について説明する。なお、本明細書において特定する数値は、実施形態または実施例に開示した方法により求められる値である。また、本明細書で特定する数値「A~B」は、数値Aと数値Aより大きい値および数値Bと数値Bより小さい値を満たす範囲をいう。また、本明細書におけるシートとは、JISにおいて定義されるシートのみならず、フィルムも含むものとする。説明を明確にするため、以下の記載および図面は、適宜、簡略化されている。本明細書中に出てくる各種成分は特に注釈しない限り、それぞれ独立に一種単独でも二種以上を併用してもよい。
[第1実施形態]
<電子部品搭載基板>
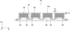
図1に第1実施形態に係る電子部品搭載基板の一例を示す模式的斜視図を、図2に図1のII-II切断部断面図を示す。電子部品搭載基板51は、基板20、電子部品30および電磁波シールド部材1等を有する。
<電子部品搭載基板>
図1に第1実施形態に係る電子部品搭載基板の一例を示す模式的斜視図を、図2に図1のII-II切断部断面図を示す。電子部品搭載基板51は、基板20、電子部品30および電磁波シールド部材1等を有する。
基板20は電子部品30を搭載可能であり、且つ後述する熱圧着工程に耐え得る基板であればよく、任意に選択できる。例えば銅箔等からなる導電パターンが表面又は内部に形成されたワークボード、実装モジュール基板、プリント配線板またはビルドアップ法等により形成されたビルドアップ基板が挙げられる。また、フィルムやシート状のフレキシブル基板を用いてもよい。前記導電パターンは、例えば、電子部品30と電気的に接続するための電極・配線パターン(不図示)、電磁波シールド部材1と電気的に接続するためのグランドパターン22である。基板20内部には電極・配線パターン、ビア(不図示)等を任意に設けることができる。基板20はリジッド基板のみならず、フレキシブル基板であってもよい。
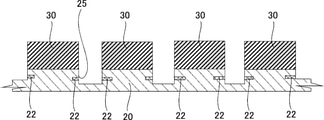
電子部品30は、図1の例においては基板20上に5×4個アレイ状に配置されている。そして、基板20および電子部品30の露出面を被覆するように電磁波シールド部材1が設けられている。即ち、電磁波シールド部材1は、電子部品30により形成される凹凸に追従するように被覆されている。電磁波シールド部材1により、電子部品30および/または基板20に内蔵された信号配線等から発生する不要輻射を遮蔽し、また、外部からの磁場や電波による誤動作を防止できる。
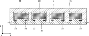
電子部品30の個数、配置、形状および種類は任意である。アレイ状に電子部品30を配置する態様に代えて、電子部品30を任意の位置に配置してもよい。電子部品搭載基板51を単位モジュールに個片化する場合、図2に示すように、基板上面から基板の厚み方向に単位モジュールを区画するようにハーフダイシング溝25を設けてもよい。なお、第1実施形態に係る電子部品搭載基板は、単位モジュールに個片化する前の基板、および単位モジュールに個片化した後の基板の両方を含む。即ち、図1,2のような複数の単位モジュール(電子部品30)が搭載された電子部品搭載基板51の他、図3のような単位モジュールに個片化した後の電子部品搭載基板52も含む。無論、個片化工程を経ずに、基板20上に1つの電子部品30を搭載し、電磁波シールド部材で被覆した電子部品搭載基板も含まれる。即ち、第1実施形態に係る電子部品搭載基板は、基板上に少なくとも1つの電子部品が搭載されており、電子部品の搭載により形成された段差部の少なくとも一部に電磁波シールド部材が被覆された構造を包括する。
電子部品30は、半導体集積回路等の電子素子が絶縁体により一体的に被覆された部品全般を含む。例えば、集積回路(不図示)が形成された半導体チップ31(図3参照)が封止材(モールド樹脂32)によりモールド成型されている態様がある。基板20と半導体チップ31は、これらの当接領域を介して、又はボンディングワイヤ33、はんだボール(不図示)等を介して基板20に形成された配線又は電極21と電気的に接続される。電子部品は、半導体チップの他、インダクタ、サーミスタ、キャパシタおよび抵抗等が例示できる。
第1実施形態に係る電子部品30および基板20は、公知の態様に対して広く適用できる。図3の例においては、半導体チップ31は、インナービア23を介して基板20の裏面にはんだボール24が接続されている。また、基板20内には、電磁波シールド部材1と電気的に接続するためのグランドパターン22が形成されている。また、後述する第4実施形態のように、個片化後の電子部品搭載基板もしくは個片化しない電子部品搭載基板に、複数の電子部品30が搭載されていてもよい(図12(c)参照)。また、電子部品30内には、単数又は複数の電子素子等を搭載できる。
<電磁波シールド部材>
電磁波シールド部材1は、基板20上に搭載された電子部品30の天面に電磁波シールド用積層体を載置して熱圧着により電子部品30および基板20を被覆することにより得られる。電磁波シールド部材1は、電子部品30上面から基板20に亘って被覆され、電子部品30の搭載によって形成された段差部の側面および基板20の少なくとも一部を被覆する。電子部品30が搭載された面側全体を被覆していることは必須ではない。電磁波シールド部材1は、シールド効果を充分に発揮させるために、基板20の側面または上面に露出するグランドパターン22または/および電子部品30の接続用配線等のグランドパターン(不図示)に接続する構成が好ましい。
電磁波シールド部材1は、基板20上に搭載された電子部品30の天面に電磁波シールド用積層体を載置して熱圧着により電子部品30および基板20を被覆することにより得られる。電磁波シールド部材1は、電子部品30上面から基板20に亘って被覆され、電子部品30の搭載によって形成された段差部の側面および基板20の少なくとも一部を被覆する。電子部品30が搭載された面側全体を被覆していることは必須ではない。電磁波シールド部材1は、シールド効果を充分に発揮させるために、基板20の側面または上面に露出するグランドパターン22または/および電子部品30の接続用配線等のグランドパターン(不図示)に接続する構成が好ましい。
電磁波シールド部材1は、電磁波シールド用積層体を用いて形成することができる。図4に、電磁波シールド用積層体の模式的断面図を示す。第1実施形態に係る電磁波シールド用積層体4は、電磁波シールド用部材2と離形性クッション部材3からなる。この電磁波シールド用部材2は、第1実施形態においては導電性接着剤層6の単層からなる。導電性接着剤層6は熱圧着により電子部品30および基板20に接合されて電磁波シールド層5が形成される。第1実施形態においては、この電磁波シールド層5が電磁波シールド部材1として機能する。
電磁波シールド用部材2は、後述する第2実施形態のように2層以上の導電性接着剤層の積層体から形成したり、第3実施形態のように導電性接着剤層とハードコート層の積層体から形成したり、第4実施形態のように絶縁性接着剤層と導電性接着剤層の積層体から形成したりする等、他の層の積層体から形成してもよい。電磁波シールド用部材2を熱圧着して得られる電磁波シールド部材1は、第2実施形態では2層以上の電磁波シールド層の積層体から構成され、第3実施形態では電磁波シールド層とハードコート層の積層体から構成され、第4実施形態では絶縁被覆層と電磁波シールド層の積層体から構成されている。このように電磁波シールド部材は、電磁波シールド層と他の層との積層体から構成してもよい。
電磁波シールド層5には、バインダー樹脂と導電性フィラーが含まれる。電磁波シールド層5中の導電性フィラーは連続的に接触されており導電性を示す。電磁波シールド性を高める観点から電磁波シールド層5のシート抵抗値は1Ω/□以下が好ましい。
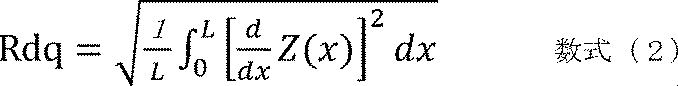
電磁波シールド部材1は、その表層のJISB0601;2001に準拠して測定した二乗平均平方根高さRqを0.05μm以上、0.3μm未満とする。二乗平均平方根高さRqは、平均面からの距離の標準偏差に相当するパラメータであり、高さの標準偏差に相当し、一つの軸(x軸)に沿った表面の高さ変化をZ(x)として以下の数式(1)で表される。Lは基準長さである。
本発明者らが鋭意検討を重ねた結果、電磁波シールド部材1の表層の接触界面の形状として二乗平均平方根高さRqを0.05μm以上、0.3μm未満の範囲とすることにより、温度サイクル試験(-50℃~125℃)に対し、電磁波シールド部材の罅割れを効果的に防止でき、被覆性に優れる電磁波シールド部材を提供できることを見出した。このため、信頼性の高い電子部品搭載基板を提供できる。本実施形態の電子部品搭載基板は、温度差の大きい苛酷な環境下で使用する電子機器に用いられる電子部品搭載基板(例えば、自動車に搭載される電子部品搭載基板)として特に好適である。
ところで、電子部品搭載基板の製造工程において、ダイシングテープを介して電磁波シールド部材をダイシング台に固定し、この状態を維持しながら基板側から製品毎に個片化する工程を行う場合がある。その場合、工程終了後にダイシングテープと電磁波シールド部材を剥離するが、この際に、電磁波シールド部材と電子部品の間に浮き(部分的な密着不良)や剥離が生じる場合がある。本実施形態の電子部品搭載基板によれば、電磁波シールド部材の表層の二乗平均平方根高さRqを0.05μm以上、0.3μm未満とすることにより、係る問題に対しても優れた効果を発揮できる。
本実施形態によれば、温度リサイクル性、並びに個片化工程後の電子部品との密着性に優れる、被覆性の優れた電磁波シールド層を有するので、信頼性の高い電子部品搭載基板を提供することができる。
また、電子部品搭載基板は、リフロー工程などの高温処理を行う場合があるが、この際、電子部品搭載基板内の物質、例えば半田フラックスの成分が電磁波シールド部材101上に付着することがある。係る問題に対しても、二乗平均平方根高さRqを0.05μm以上、0.3μm未満とすることにより優れた効果を発揮できる。即ち、電磁波シールド部材1上の物質の付着を効果的に防止する効果がある。これは、電磁波シールド部材1の表面の凹凸を適切なものとし、凹凸面に半田フラックスの成分などの物質が残留してしまうのを効果的に防止できることによると考えられる。
上述の温度サイクル試験に対し優れた被覆性を実現する観点からは、電磁波シールド部材の二乗平均平方根高さRqの好ましい範囲は0.05~0.29μmであり、より好ましい範囲は0.05~0.27μm、特に好ましい範囲は0.05~0.25μmである。
電磁波シールド部材1の表層の二乗平均平方根傾斜Rdqは0.05~0.4の範囲とすることが好ましく、0.05~0.37とすることがより好ましく、0.1~0.35とすることが更に好ましい。本明細書において、二乗平均平方根高さRqと二乗平均平方根傾斜Rdqは、JISB0601;2001に準拠して測定した得られた値であり、後述する実施例に記載の方法により求めた値をいう。二乗平均平方根傾斜Rdqを0.05~0.4とすることにより、防汚性と罅割れをより効果的に良好にすることができる。
二乗平均平方根傾斜Rdqは、基準長さにおいて、局部傾斜dz/dxの二乗平均平方根であり、以下の式(2)によって表される。
Rdqは、光学顕微鏡、レーザー顕微鏡、および電子顕微鏡いずれかで得られる表面形状を、解析ソフトによって処理することにより、算出することができる。Rdqは、表面における凹凸の険しさを表現するパラメータである。表面の性状を表現するパラメータとしては、算術平均高さRaや最大高さRzおよびRqが用いられるが、これらは凹凸の高さのみを表したパラメータであり、表面の状態を正確に表すには適当でない。
Rdqの数値が大きい程、表面凹凸はより険しくなる。即ち、Rdqの数値によって、表面凹凸険しさの程度を判断することができる。
二乗平均平方根傾斜Rdqは、基準長さにおいて、局部傾斜dz/dxの二乗平均平方根であり、以下の式(2)によって表される。
Rdqの数値が大きい程、表面凹凸はより険しくなる。即ち、Rdqの数値によって、表面凹凸険しさの程度を判断することができる。
電磁波シールド部材1の表面の二乗平均平方根高さRqおよび二乗平均平方根傾斜Rdqは、電磁波シールド用積層体4中の電磁波シールド用部材2の製造工程により調整することができる。また、電磁波シールド部材1を形成するための、熱圧着前の電磁波シールド用部材の組成物の成分およびその配合量によって調整できる。詳細は後述する。なお、本発明者らが検討を重ねたところ、電磁波シールド層として機能し得る量の導電性フィラーを配合することにより、リフロー処理前後において二乗平均平方根高さRqおよび二乗平均平方根傾斜Rdqの値は実質的に変動しないか、変動してもその変化量は小さいことを確認した。後述する実施形態において開示するハードコート層などの絶縁層においても無機フィラーを配合することにより、リフロー処理前後において二乗平均平方根高さRqおよび二乗平均平方根傾斜Rdqの値は実質的に変動しないか、変動してもその変化量は小さいことを確認した。
電磁波シールド部材1の表層の水接触角は90~130°とすることが好ましい。この範囲とすることにより、浮きをより効果的に抑制し、且つ防汚性をより効果的に抑制することができる。電磁波シールド部材の水接触角のより好ましい範囲は95~125°であり、更に好ましい範囲は100~120°である。電磁波シールド部材の水接触角は、電磁波シールド部材を形成する組成物において表面調整剤の添加量によりその数値を調整することができる。電磁波シールド部材1における表面調整剤の添加量が増えるにつれて水接触角の値が大きくなる傾向にある。
<電子部品搭載基板の製造方法>
以下、第1実施形態の電子部品搭載基板の製造方法の一例について図5~図8を用いて説明する。但し、本発明の電子部品搭載基板の製造方法は、以下の製造方法に限定されるものではない。
以下、第1実施形態の電子部品搭載基板の製造方法の一例について図5~図8を用いて説明する。但し、本発明の電子部品搭載基板の製造方法は、以下の製造方法に限定されるものではない。
第1実施形態に係る電子部品搭載基板の製造方法は、[a]基板20に電子部品30を搭載する工程と、[b]電子部品30が搭載された基板20上に電磁波シールド用積層体4を載置する工程と、[c]電子部品30の搭載により形成された段差部の側面および基板20の露出面の少なくとも一部に追従するように熱圧着によって電磁波シールド部材1を接合する工程と、[d]離形性クッション部材3を剥離する工程と、[e]電子部品搭載基板51を個片化する工程を備える。以下、各工程について説明する。
[a]基板に電子部品を搭載する工程:
まず、基板20に電子部品30を搭載する。例えば、基板20上に半導体チップ(不図示)を搭載し、半導体チップが形成されている基板20上を封止樹脂によりモールド成形し、電子部品30間の上方から基板20内部まで到達するように、モールド樹脂および基板20をダイシング等によりハーフカットする。予めハーフカットされた基板20上に電子部品30をアレイ状に配置する方法でもよい。これらの工程を経て、例えば、図5に示すような電子部品30が搭載された基板20が得られる。なお、電子部品30とは、図5の例においては半導体チップをモールド成形した一体物をいい、絶縁体により保護された電子素子全般をいう。ハーフカットは、基板20内部まで到達させる態様の他、基板20の表面までカットする態様がある。また、基板20全体をこの段階でカットしてもよい。この場合には、粘着テープ付き基体上に基板20を載置して位置ずれが生じないようにしておくことが好ましい。モールド成形する場合の封止樹脂の材料は特に限定されないが、熱硬化性樹脂が通常用いられる。封止樹脂の形成方法は特に限定されず、印刷、ラミネート、トランスファー成形、コンプレッション、注型等が挙げられる。モールド成形は任意であり、電子部品30の搭載方法も任意に変更できる。
まず、基板20に電子部品30を搭載する。例えば、基板20上に半導体チップ(不図示)を搭載し、半導体チップが形成されている基板20上を封止樹脂によりモールド成形し、電子部品30間の上方から基板20内部まで到達するように、モールド樹脂および基板20をダイシング等によりハーフカットする。予めハーフカットされた基板20上に電子部品30をアレイ状に配置する方法でもよい。これらの工程を経て、例えば、図5に示すような電子部品30が搭載された基板20が得られる。なお、電子部品30とは、図5の例においては半導体チップをモールド成形した一体物をいい、絶縁体により保護された電子素子全般をいう。ハーフカットは、基板20内部まで到達させる態様の他、基板20の表面までカットする態様がある。また、基板20全体をこの段階でカットしてもよい。この場合には、粘着テープ付き基体上に基板20を載置して位置ずれが生じないようにしておくことが好ましい。モールド成形する場合の封止樹脂の材料は特に限定されないが、熱硬化性樹脂が通常用いられる。封止樹脂の形成方法は特に限定されず、印刷、ラミネート、トランスファー成形、コンプレッション、注型等が挙げられる。モールド成形は任意であり、電子部品30の搭載方法も任意に変更できる。
[b]基板上に電磁波シールド用積層体を載置する工程:
次いで、電子部品30が搭載された基板20を熱圧着により溶融させて被覆させる、電磁波シールド用積層体4を用意する(図4参照)。電磁波シールド用積層体4の導電性接着剤層6が電子部品30側になるように電子部品30の天面上に電磁波シールド用積層体4を載置する。このとき、電磁波シールド用積層体4を電子部品30の一部または全面に仮貼付してもよい。仮貼付とは、電子部品30の少なくとも一部の上面と接触するように仮接合するものであり、導電性接着剤層6がBステージで被着体に固定されている状態をいう。剥離力としては、90°ピール試験で、カプトン200に対する剥離力が1~5N/cm程度が好ましい。仮貼りする手法として、電子部品30を搭載した基板20上に電磁波シールド用積層体4を載せ、アイロン等の熱源で軽く全面または端部を熱圧着して仮貼りする方法が例示できる。製造設備あるいは基板20のサイズ等に応じて、基板20の領域毎に複数の電磁波シールド用積層体4を用いてもよい。また、電子部品30毎に電磁波シールド用積層体4を用いてもよい。製造工程の簡略化の観点からは、基板20上に搭載された複数の電子部品30全体に1枚の電磁波シールド用積層体4を用いることが好ましい。
次いで、電子部品30が搭載された基板20を熱圧着により溶融させて被覆させる、電磁波シールド用積層体4を用意する(図4参照)。電磁波シールド用積層体4の導電性接着剤層6が電子部品30側になるように電子部品30の天面上に電磁波シールド用積層体4を載置する。このとき、電磁波シールド用積層体4を電子部品30の一部または全面に仮貼付してもよい。仮貼付とは、電子部品30の少なくとも一部の上面と接触するように仮接合するものであり、導電性接着剤層6がBステージで被着体に固定されている状態をいう。剥離力としては、90°ピール試験で、カプトン200に対する剥離力が1~5N/cm程度が好ましい。仮貼りする手法として、電子部品30を搭載した基板20上に電磁波シールド用積層体4を載せ、アイロン等の熱源で軽く全面または端部を熱圧着して仮貼りする方法が例示できる。製造設備あるいは基板20のサイズ等に応じて、基板20の領域毎に複数の電磁波シールド用積層体4を用いてもよい。また、電子部品30毎に電磁波シールド用積層体4を用いてもよい。製造工程の簡略化の観点からは、基板20上に搭載された複数の電子部品30全体に1枚の電磁波シールド用積層体4を用いることが好ましい。
[c]電磁波シールド部材を形成する工程:
続いて、電子部品30が搭載された基板20上に電磁波シールド用積層体4を一対のプレス基板40間に挟持し、熱圧着する(図6参照)。電磁波シールド用積層体4は、導電性接着剤層6および離形性クッション部材3が熱により溶融され、押圧によって製造基板に設けられたハーフカット溝に沿うように延伸され、電子部品30および基板20に追従して被覆される。導電性接着剤層6が電子部品30や基板20と接合されると共に熱圧着により電磁波シールド層5として機能する。第1実施形態においては、電磁波シールド部材1は電磁波シールド層5の単層からなるので、導電性接着剤層6を熱圧着したものが電磁波シールド部材1たる電磁波シールド層5となる。熱圧着後に、熱硬化を促すこと等を目的として別途加熱処理を行うこともできる。
続いて、電子部品30が搭載された基板20上に電磁波シールド用積層体4を一対のプレス基板40間に挟持し、熱圧着する(図6参照)。電磁波シールド用積層体4は、導電性接着剤層6および離形性クッション部材3が熱により溶融され、押圧によって製造基板に設けられたハーフカット溝に沿うように延伸され、電子部品30および基板20に追従して被覆される。導電性接着剤層6が電子部品30や基板20と接合されると共に熱圧着により電磁波シールド層5として機能する。第1実施形態においては、電磁波シールド部材1は電磁波シールド層5の単層からなるので、導電性接着剤層6を熱圧着したものが電磁波シールド部材1たる電磁波シールド層5となる。熱圧着後に、熱硬化を促すこと等を目的として別途加熱処理を行うこともできる。
電磁波シールド用積層体4を加熱プレスする際に、この電磁波シールド用積層体4とプレス基板40との間に、必要に応じて、熱軟化性部材やクッション紙等を用いてもよい。
熱圧着工程の温度および圧力は、電子部品30の耐熱性、耐久性、製造設備あるいはニーズに応じて、導電性接着剤層6の被覆性が確保できる範囲においてそれぞれ独立に任意に設定できる。圧力範囲としては限定されないが、0.1~5.0MPa程度が好ましく、0.5~2.0MPaの範囲がより好ましい。プレス基板40をリリースすることにより図7に示すような製造基板が得られる。このようにして、電磁波シールド部材1により電子部品の天面および側面と基板の露出面とが被覆される。
熱圧着工程の加熱温度は100℃以上であることが好ましく、より好ましくは110℃以上、さらに好ましくは120℃以上である。また、上限値としては、電子部品30の耐熱性に依存するが、220℃であることが好ましく、200℃であることがより好ましく、180℃であることがさらに好ましい。
熱圧着時間は電子部品30の耐熱性、電磁波シールド部材1に用いるバインダー樹脂、および生産工程等に応じて設定できる。バインダー樹脂前駆体として熱硬化性樹脂を用いる場合には、1分~2時間程度の範囲が好適である。なお、熱圧着時間は1分~1時間程度がより好ましい。この熱圧着により熱硬化性樹脂は、硬化する。但し、熱硬化性樹脂は、流動が可能であれば熱圧着前に部分的に硬化あるいは実質的に硬化が完了していてもよい。
導電性接着剤層6の厚みは、電子部品30の天面および側面および基板20の露出面に被覆して、電磁波シールド層5を形成することが可能な厚みとする。用いるバインダー樹脂前駆体の流動性や、電子部品30間の距離およびサイズにより変動し得るが、通常、10~200μm程度が好ましく、15~100μm程度がより好ましく、20~70μm程度がさらに好ましい。これにより、封止樹脂への被覆性を良好にしつつ、電磁波シールド性を効果的に発揮することができる。
離形性クッション部材3は、軟化して導電性接着剤層6の被覆を促し、電子部品30の天面および側面並びに基板20の露出面を被覆する機能を有すると共に、剥離工程において離形性に優れる材料を用いることができる。離形性クッション部材3の上層に、必要に応じて、クッション材として機能する熱軟化性部材を用いてもよい。電磁波シールド部材1の被覆により、第1実施形態の例においては、基板20内に形成されたグランドパターン22と電磁波シールド部材1とが電気的に接続される(図7参照)。
導電性接着剤層6は、バインダー樹脂前駆体と導電性フィラーを含有する。バインダー樹脂前駆体としては、熱可塑性樹脂、自己架橋性樹脂、複数種の反応性樹脂および硬化性樹脂と架橋剤の混合物を例示できる。これらは組み合わせて用いてもよい。バインダー樹脂前駆体として専ら熱可塑性樹脂を用いる場合には、架橋構造を有していないという意味において、バインダー樹脂前駆体とバインダー樹脂が実質的に同じといえる。
[d]離形性クッション部材を剥離する工程:
電磁波シールド部材1の上層に被覆されている離形性クッション部材3を剥離する。これにより、電子部品30を被覆する電磁波シールド部材1を有する電子部品搭載基板51を得る(図1、図2参照)。例えば、離形性クッション部材3の剥離は端部から人力で剥がしてもよく、離形性クッション部材3の外面を吸引して電磁波シールド部材1から引き剥がしてもよい。自動化による歩留まり向上の観点から吸引による剥離が好ましい。
電磁波シールド部材1の上層に被覆されている離形性クッション部材3を剥離する。これにより、電子部品30を被覆する電磁波シールド部材1を有する電子部品搭載基板51を得る(図1、図2参照)。例えば、離形性クッション部材3の剥離は端部から人力で剥がしてもよく、離形性クッション部材3の外面を吸引して電磁波シールド部材1から引き剥がしてもよい。自動化による歩留まり向上の観点から吸引による剥離が好ましい。
[e]個片化する工程:
ダイシングブレード等の切削工具を用いて、電子部品搭載基板51の個品の製品エリアに対応する位置でX方向およびY方向にダイシングする(図2参照)。これらの工程を経て、電子部品30が電磁波シールド部材1で被覆され、且つ基板20に形成されたグランドパターン22と電磁波シールド部材1が電気的に接続された、個片化された電子部品搭載基板51が得られる。ダイシングの方法は、個片化できればよく特に限定されないが、通常、ダイシングは基板20側若しくは電磁波シールド部材1側から行われる。
ダイシングブレード等の切削工具を用いて、電子部品搭載基板51の個品の製品エリアに対応する位置でX方向およびY方向にダイシングする(図2参照)。これらの工程を経て、電子部品30が電磁波シールド部材1で被覆され、且つ基板20に形成されたグランドパターン22と電磁波シールド部材1が電気的に接続された、個片化された電子部品搭載基板51が得られる。ダイシングの方法は、個片化できればよく特に限定されないが、通常、ダイシングは基板20側若しくは電磁波シールド部材1側から行われる。
本実施形態においては、ダイシングテープを用いて電磁波シールド部材1をダイシング台に固定し、基板20側からダイシングカットを行う場合について説明する。基板20の外側主面に半田ボールが接合している場合には、この方法が好適である。
第1実施形態に係る電磁波シールド部材1によれば、電磁波シールド部材1の表層の二乗平均平方根高さRqを0.05μm以上、0.3μm未満の範囲にすることにより、個片化工程において電磁波シールド部材1側をダイシングテープで固定する場合においても、電磁波シールド部材の電子部品との浮き(部分密着性不良)、剥離を効果的に防止して、被覆性の良好な電子部品搭載基板を提供することができる。
第1実施形態に係る電磁波シールド部材1によれば、電磁波シールド部材1の表層の二乗平均平方根高さRqを0.05μm以上、0.3μm未満の範囲にすることにより、個片化工程において電磁波シールド部材1側をダイシングテープで固定する場合においても、電磁波シールド部材の電子部品との浮き(部分密着性不良)、剥離を効果的に防止して、被覆性の良好な電子部品搭載基板を提供することができる。
<電磁波シールド用積層体>
第1実施形態の電磁波シールド用積層体は、図4において説明したように、電磁波シールド用部材2と離形性クッション部材3の2層からなる。第1実施形態においては、電磁波シールド用部材2は単層の導電性接着剤層6からなる。導電性接着剤層6は熱圧着工程を経て電子部品30や基板20と接合され、電磁波シールド層5として機能する。
第1実施形態の電磁波シールド用積層体は、図4において説明したように、電磁波シールド用部材2と離形性クッション部材3の2層からなる。第1実施形態においては、電磁波シールド用部材2は単層の導電性接着剤層6からなる。導電性接着剤層6は熱圧着工程を経て電子部品30や基板20と接合され、電磁波シールド層5として機能する。
(導電性接着剤層)
導電性接着剤層6は、バインダー樹脂前駆体と導電性フィラーとを含有する樹脂組成物から形成された層である。バインダー樹脂前駆体は、少なくとも熱軟化性樹脂を含む。熱軟化性樹脂は、熱可塑性樹脂、熱硬化性樹脂および活性光線硬化性樹脂が例示できる。熱硬化性樹脂および活性光線硬化性樹脂は、通常、反応性官能基を有する。熱硬化性樹脂を用いる場合は、硬化性化合物や熱硬化助剤を併用できる。また、活性光線硬化性樹脂を用いる場合は光重合開始剤、増感剤等を併用できる。製造工程の簡便性からは、熱圧着時に硬化する熱硬化タイプが好ましい。
また、自己架橋性樹脂や互いに架橋する複数の樹脂を用いてもよい。また、これらの樹脂に加えて熱可塑性樹脂を混合させてもよい。樹脂および硬化性化合物等の配合成分は、それぞれ独立に単独または複数の併用とすることができる。
なお、導電性接着剤層6の段階で架橋が一部形成されてBステージ(半硬化した状態)となっていてもよい。例えば、熱硬化性樹脂と硬化性化合物の一部が反応して半硬化した状態が含まれていてもよい。
導電性接着剤層6は、バインダー樹脂前駆体と導電性フィラーとを含有する樹脂組成物から形成された層である。バインダー樹脂前駆体は、少なくとも熱軟化性樹脂を含む。熱軟化性樹脂は、熱可塑性樹脂、熱硬化性樹脂および活性光線硬化性樹脂が例示できる。熱硬化性樹脂および活性光線硬化性樹脂は、通常、反応性官能基を有する。熱硬化性樹脂を用いる場合は、硬化性化合物や熱硬化助剤を併用できる。また、活性光線硬化性樹脂を用いる場合は光重合開始剤、増感剤等を併用できる。製造工程の簡便性からは、熱圧着時に硬化する熱硬化タイプが好ましい。
また、自己架橋性樹脂や互いに架橋する複数の樹脂を用いてもよい。また、これらの樹脂に加えて熱可塑性樹脂を混合させてもよい。樹脂および硬化性化合物等の配合成分は、それぞれ独立に単独または複数の併用とすることができる。
なお、導電性接着剤層6の段階で架橋が一部形成されてBステージ(半硬化した状態)となっていてもよい。例えば、熱硬化性樹脂と硬化性化合物の一部が反応して半硬化した状態が含まれていてもよい。
熱軟化性樹脂の好適な例は、ポリウレタン樹脂、ポリカーボネート樹脂、スチレンエラストマー樹脂、フェノキシ樹脂、ポリウレタンウレア樹脂、ポリイミド樹脂、ポリアミド樹脂、ポリカーボネートイミド樹脂、ポリアミドイミド樹脂、エポキシ系樹脂、エポキシエステル系樹脂、アクリル系樹脂、ポリエステル樹脂、ポリスチレン、ポリエステルアミド樹脂およびポリエーテルエステル樹脂が挙げられる。リフロー時における過酷な条件で使用する場合の熱硬化性樹脂としては、エポキシ系樹脂、エポキシエステル系樹脂、ウレタン系樹脂、ウレタンウレア系樹脂、およびポリアミドのうちの少なくとも1つを含んでいることが好ましい。
これらの中でも、ポリウレタン樹脂、ポリカーボネート樹脂、スチレンエラストマー樹脂、フェノキシ樹脂、ポリアミド樹脂、ポリイミド樹脂が好ましい。熱軟化性樹脂は、1種単独または任意の比率で2種以上を混合して用いることができる。
ポリカーボネート骨格を有する樹脂としては、ポリカーボネート樹脂の他、ポリカーボネート骨格を有する(-O-CO-O-骨格を有する)ポリウレタン樹脂、ポリアミド樹脂およびポリイミド樹脂が例示できる。例えば、ポリカーボネートイミド樹脂によれば、ポリイミド骨格を有することにより、耐熱性、絶縁性および耐薬品性を高めることができる。一方、ポリカーボネート骨格を有することにより、柔軟性、密着性を効果的に高めることができる 。
ポリカーボネートウレタン樹脂としては、1,6-ヘキサンジオール、3-メチル-1,5-ペンタンジオール、1,4-シクロヘキサンジメタノール、1,9-ノナンジオール、又は2-メチル-1,8-オクタンジオール等のジオール1種又は2種以上とをベースにしたポリカーボネートポリオールをポリオール成分として用いることができる。
上記熱軟化性樹脂は、熱硬化性樹脂として、加熱による架橋反応に利用できる官能基を複数有していてもよい。官能基は、例えば、水酸基、フェノール性水酸基、カルボキシル基、アミノ基、エポキシ基、オキセタニル基、オキサゾリン基、オキサジン基、アジリジン基、チオール基、イソシアネート基、ブロック化イソシアネート基、シラノール基等が挙げられる。
硬化性化合物は、熱硬化性樹脂の反応性官能基と架橋可能な官能基を有している。硬化性化合物は、エポキシ化合物、酸無水物基含有化合物、イソシアネート化合物、ポリカルボジイミド化合物、アジリジン化合物、ジシアンジアミド化合物、芳香族ジアミン化合物等のアミン化合物、フェノールノボラック樹脂等のフェノール化合物、有機金属化合物等が好ましい。硬化性化合物は、樹脂であってもよい。この場合、熱硬化性樹脂と硬化性化合物の区別は、含有量の多い方を熱硬化性樹脂とし、含有量の少ない方を硬化性化合物として区別する。
硬化性化合物は、熱硬化性樹脂100質量部に対して1~70質量部含むことが好ましく、3~65質量部がより好ましく、3~60質量部が更に好ましい。硬化性化合物は、1種単独でまたは複数種を併用して用いることができる。
熱可塑性樹脂の好適な例は、ポリエステル、アクリル系樹脂、ポリエーテル、ウレタン系樹脂、スチレンエラストマー、ポリカーボネート、ブタジエンゴム、ポリアミド、エステルアミド系樹脂、ポリイソプレン、およびセルロースが例示できる。粘着付与樹脂としては、ロジン系樹脂、テルペン系樹脂、脂環式系石油樹脂、および芳香族系石油樹脂等が例示できる。また、導電性ポリマーを用いることができる。導電性ポリマーとしては、ポリエチレンジオキシチオフェン、ポリアセチレン、ポリピロール、ポリチオフェン、ポリアニリンが例示できる。熱可塑性樹脂の好適な例は、ポリエステル、アクリル系樹脂、ポリエーテル、ウレタン系樹脂、スチレンエラストマー、ポリカーボネート、ブタジエンゴム、ポリアミド、エステルアミド系樹脂、ポリイソプレン、およびセルロースが例示できる。
導電性フィラーは、金属フィラー、導電性セラミックス粒子およびそれらの混合物が例示できる。金属フィラーは、金、銀、銅、ニッケル等の金属粉、ハンダ等の合金粉、銀コート銅粉、金コート銅粉、銀コートニッケル粉、金コートニッケル粉のコアシェル型粒子が例示できる。優れた導電特性を得る観点から、銀を含有する導電性フィラーが好ましい。コストの観点からは、銅粉を銀で被覆した銀コート銅粉が特に好ましい。
銀コート銅における銀の含有量は、銀および銅の合計100質量%中、3~20質量%が好ましく、より好ましくは8~17質量%であり、更に好ましくは10~15質量%である。コアシェル型粒子の場合、コア部に対するコート層の被覆率は、平均で60%以上が好ましく、70%以上がより好ましく、80%以上がさらに好ましい。コア部は非金属でもよいが、導電性の観点からは導電性物質が好ましく、金属粒子がより好ましい。
導電性フィラーとして、電磁波吸収フィラーを用いてもよい。例えば、鉄、Fe-Ni合金、Fe-Co合金、Fe-Cr合金、Fe-Si合金、Fe-Al合金、Fe-Cr-Si合金、Fe-Cr-Al合金、Fe-Si-Al合金等の鉄合金、Mg-Znフェライト、Mn-Znフェライト、Mn-Mgフェライト、Cu-Znフェライト、Mg-Mn-Srフェライト、Ni-Znフェライト等のフェライト系物質並びに、カーボンフィラーなどが挙げられる。カーボンフィラーは、アセチレンブラック、ケッチェンブラック、ファーネスブラック、カーボンブラック、カーボンファイバー、カーボンナノナノチューブからなる粒子、グラフェン粒子、グラファイト粒子およびカーボンナノウォールが例示できる。
導電性接着剤層に用いる導電性フィラーの形状は、鱗片(フレーク)状粒子、デンドライト(樹枝)状粒子、針状粒子、プレート状粒子、ブドウ状粒子、繊維状粒子、球状粒子が例示できるが、鱗片状粒子の比率を高めることにより二乗平均平方根高さRqが低下する傾向にあり、鱗片状粒子の比率を下げることにより二乗平均平方根高さRqが高くなる傾向にある。所望の二乗平均平方根高さRqおよび二乗平均平方根傾斜Rdqの数値を調整する観点からは、針状粒子または/およびデンドライト状粒子の導電性フィラーを含有させることが好ましい。ここで、針状とは長径が短径の3倍以上のものをいい、いわゆる針形状の他、紡錘形状、円柱形状等も含む。また、デンドライト状とは、電子顕微鏡(500~20、000倍)で観察した際に、棒状の主軸から複数の分岐枝が2次元的または3次元的に延在した形状をいう。デンドライト状には、前記分岐枝が折れ曲がったり、分岐枝から更に分岐枝が延在していてもよい。
また、導電性フィラーとして鱗片状粒子を含有させることで、被覆性に優れた電磁波シールド部材を提供することができる。ここで鱗片状とは、薄片状、板状も含む。導電性フィラーは粒子全体として鱗片状であればよく、楕円状、円状または微粒子の周囲に切れ込み等が存在してもよい。
導電性フィラーは、単独または混合して用いられる。導電性フィラーを併用する場合、所望の二乗平均平方根高さRqを得て、信頼性の高い電磁波シールド部材を提供する観点から、鱗片状粒子およびデンドライト状粒子の組み合わせ、鱗片状粒子および針状粒子の組み合わせ、鱗片状粒子、デンドライト状粒子および針状粒子の組み合わせが好適である。特に好ましくは、鱗片状粒子とデンドライト状粒子の組み合わせである。ここで鱗片状粒子は厚みが0.2μm以下であることが好ましい。
導電性フィラーの含有量は、熱軟化性樹脂組成物層の固形分(100質量%)中、40~85質量%であることが好ましく、50~80質量%がより好ましい。
導電性接着剤層中の導電性フィラー100質量%に対して、針状粒子または/およびデンドライト状粒子を30質量%以下とすることが好ましい。より好ましくは0.1~20質量%、更に好ましくは1~20質量%、特に好ましい範囲は3~16質量%である。二乗平均平方根高さRqを0.05μm以上、0.3μm未満に調整する方法は、種々の方法があり、特に限定されない。例えば、電磁波シールド部材の表層、第1実施形態においては導電性接着剤層6の表層を、クッション部材を積層する前にロールで予め押圧処理し、次いで、クッション部材の、電磁波シールド部材の表層と接合する側の表面の二乗平均平方根高さが所望のRqであるクッション部材を用いることにより、二乗平均平方根高さRqを容易に調整することができる。
針状粒子の平均粒子径D50は1~50μmが好ましく、2~25μmがより好ましい。更に好ましくは5~15μmである。デンドライト状粒子の平均粒子径D50の好ましい範囲は、2~100μmが好ましく、2~80μmがより好ましい。更に好ましくは3~50μmであり、特に好ましくは5~20μmである。鱗片状粒子の平均粒子径D50は2~70μmが好ましく、2~50μmがより好ましい。更に好ましくは3~25μmであり、特に好ましくは5~15μmである。
平均粒子径D50は、レーザー回折・散乱法により測定できる。具体的には、例えば、レーザー回折・散乱法粒度分布測定装置LS 13320(ベックマン・コールター社製)を使用し、トルネードドライパウダーサンプルモジュールにて、各導電性微粒子を測定して得た数値であり、粒子の積算値が50%である粒度の直径の平均粒径である。なお、屈折率の設定は1.6として測定する。電磁波シールド部材1中の各粒子の平均粒子径D50は、走査型電子顕微鏡(SEM)を用いて100個の粒径を測定し、度数分布を求めることができる。針状粒子およびデンドライト状粒子の場合、粒径は各粒子の最長の長さを用いる。
デンドライト状粒子および/または針状粒子と、鱗片状粒子を併用することによって、導電性フィラー同士の接触点を多くし、シールド特性を向上させることができる。また、デンドライト状粒子および/または針状粒子の併用によって、バインダー成分との接触面積を増加させ、信頼性の高い電磁波シールド部材を提供できる。
導電性接着剤層を構成する組成物には、さらに着色剤、難燃剤、無機添加剤、滑剤、ブロッキング防止剤等を含んでいてもよい。
着色剤としては、例えば、有機顔料、カーボンブラック、群青、弁柄、亜鉛華、酸化チタン、黒鉛等が挙げられる。この中でも黒色系の着色剤を含むことでシールド層の印字視認性が向上する。
難燃剤としては、例えば、ハロゲン含有難燃剤、りん含有難燃剤、窒素含有難燃剤、無機難燃剤等が挙げられる。
無機添加剤としては、例えば、ガラス繊維、シリカ、タルク、セラミック等が挙げられる。
滑剤としては、例えば、脂肪酸エステル、炭化水素樹脂、パラフィン、高級脂肪酸、脂肪酸アミド、脂肪族アルコール、金属石鹸、変性シリコーン等が挙げられる。
ブロッキング防止剤としては、例えば、炭酸カルシウム、シリカ、ポリメチルシルセスキオサン、ケイ酸アルミニウム塩等が挙げられる。
着色剤としては、例えば、有機顔料、カーボンブラック、群青、弁柄、亜鉛華、酸化チタン、黒鉛等が挙げられる。この中でも黒色系の着色剤を含むことでシールド層の印字視認性が向上する。
難燃剤としては、例えば、ハロゲン含有難燃剤、りん含有難燃剤、窒素含有難燃剤、無機難燃剤等が挙げられる。
無機添加剤としては、例えば、ガラス繊維、シリカ、タルク、セラミック等が挙げられる。
滑剤としては、例えば、脂肪酸エステル、炭化水素樹脂、パラフィン、高級脂肪酸、脂肪酸アミド、脂肪族アルコール、金属石鹸、変性シリコーン等が挙げられる。
ブロッキング防止剤としては、例えば、炭酸カルシウム、シリカ、ポリメチルシルセスキオサン、ケイ酸アルミニウム塩等が挙げられる。
導電性接着剤層は、熱圧着により導電性フィラーが連続的に接触して導電性を有する層であればよく、熱圧着前の段階で必ずしも導電性を有していなくてもよい。導電性接着剤層は、上述した導電性フィラーと、バインダー樹脂前駆体を含有する組成物を混合攪拌し、離形性基材上に塗工後乾燥することで形成することができる。また離形性クッション部材3に直接塗工し乾燥する方法でも形成することができる。
導電性接着剤層の塗液を塗工後、乾燥して離形性基材上に導電性接着剤層を形成する。乾燥工程は、加熱(例えば、80~120℃)を行うことが好ましい。電磁波シールド部材の二乗平均平方根高さRqを調整するために、塗液を塗工後、加熱乾燥前に25℃(室温)・常圧で乾燥を1~17分行うことが好ましい。より好ましい加熱乾燥前の25℃(室温)での乾燥時間は2~14分である。加熱乾燥前に室温で乾燥するプロセスを設けることにより、二乗平均平方根高さRqの値を調整することができる。
次に、塗液の粘度と加熱乾燥前の25℃での乾燥時間が電磁波シールド部材1の二乗平均平方根高さRqおよび二乗平均平方根傾斜Rdqに与える影響について説明する。離形性基材上に導電性接着剤層を形成するために塗液を塗布する。溶剤が含まれている乾燥途上の導電性接着剤層が得られる。
加熱途上の導電性接着剤層に対し、25℃での乾燥時間を長く設定することにより、溶剤の蒸発速度が遅い状態を意図的に長くし、それによってバインダー樹脂前駆体の下方への沈み込みを促すことができる。一方、25℃での乾燥時間を短く設定することにより、バインダー樹脂前駆体の下方への沈み込みを抑え、その段階で加熱乾燥することによって導電性フィラーが立ち上がり易くなる。また、溶剤の蒸発に伴う発泡が生じやすくなり、表面が荒れる傾向となる。なお、25℃の温度設定は一例であり、適宜設定可能であることは言うまでもない。
前記塗液の固形分は、20~30%とすることが好ましい。また、電磁波シールド部材の二乗平均平方根高さRqを調整するために、前記塗液のB型粘度計で測定した塗液粘度を600~1800mPa・sの範囲とすることが好ましい。更に、電磁波シールド部材の二乗平均平方根高さRqを調整するために、前記塗液のチキソトロピーインデックスを1.2~1.5とすることが好ましい。
二乗平均平方根高さRqおよび二乗平均平方根傾斜Rdqの値は、導電性接着剤層を形成するための塗液の粘度によっても変わる。塗液の粘度が高い方が導電性フィラーの流動性が抑えられる傾向にある。このため、粘度が高い場合、導電性フィラーは配向せずランダムとなる傾向がある。一方、粘度が低い場合、鱗片状粒子は基板面に対して、主面が凡そ対向するように配向する傾向がある。また、25℃での乾燥時間を短くして加熱乾燥を行うと、粘度が高いと発泡による表面荒れが大きくなる傾向にあり、粘度が低いと導電性フィラーが縦方向に移動しやすい傾向となる。
このように、塗液の粘度および25℃での乾燥時間を調整することにより、二乗平均平方根高さRqを調整することができる。
このように、塗液の粘度および25℃での乾燥時間を調整することにより、二乗平均平方根高さRqを調整することができる。
また、電磁波シールド部材1の二乗平均平方根高さRqおよび二乗平均平方根傾斜Rdqは、デンドライト状粒子および/または針状粒子の粒子径によっても調整することができる。デンドライト状粒子または/および針状粒子の粒子径が電磁波シールド部材1の二乗平均平方根高さRqおよび二乗平均平方根傾斜Rdqに与える影響について説明する。離形性基材上に導電性接着剤層6を形成するために塗液を塗布することにより、乾燥途上の導電性接着剤層が得られる。導電性フィラーの一種であるデンドライト状粒子の平均粒子径D50が小さいと二乗平均平方根高さRqおよび二乗平均平方根傾斜Rdqの値が低下する傾向にあり、逆に、デンドライト状粒子の平均粒子径D50が大きいと二乗平均平方根高さRqおよび二乗平均平方根傾斜Rdqの値が大きくなる傾向にある。
二乗平均平方根傾斜Rdqはまた、針状粒子の形状に依存する。針状粒子の粒子径D50が大きいとRdqが大きくなる。また、針状粒子の粒子径D50が小さいとRdqが小さくなる。
二乗平均平方根傾斜Rdqはまた、針状粒子の形状に依存する。針状粒子の粒子径D50が大きいとRdqが大きくなる。また、針状粒子の粒子径D50が小さいとRdqが小さくなる。
電磁波シールド部材1の二乗平均平方根高さRqおよび二乗平均平方根傾斜Rdqは、上述したプロセスによる調整方法の他に、熱圧着前の電磁波シールド用部材2を形成する組成物において鱗片状の導電性フィラーと、針状または/およびデンドライト状の導電性フィラーとの添加量比によって調整することができる。また、電磁波シールド部材1の二乗平均平方根高さRqは、導電性フィラーの平均粒子径D50およびD90によっても調整することができる。
第1実施形態においては、電磁波シールド用部材2は導電性接着剤層6の単層からなるので、この導電性接着剤層6上に離形性クッション部材3を接合する。接合方法はラミネートによる方法等がある。
離形性基材は、片面あるいは両面が離形性のある基材であり、150℃における引張破断歪が50%未満のシートである。離形性基材は例えば、ポリエチレンテレフタレート、ポリエチレンナフタレート、ポリフッ化ビニル、ポリフッ化ビニリデン、硬質ポリ塩化ビニル、ポリ塩化ビニリデン、ナイロン、ポリイミド、ポリスチレン、ポリビニルアルコール、エチレン・ビニルアルコール共重合体、ポリカーボネート、ポリアクリロニトリル、ポリブテン、軟質ポリ塩化ビニル、ポリフッ化ビニリデン、ポリエチレン、ポリプロピレン、ポリウレタン樹脂、エチレン酢酸ビニル共重合体、ポリ酢酸ビニル等のプラスチックシート等、グラシン紙、上質紙、クラフト紙、コート紙等の紙類、各種の不織布、合成紙、金属箔や、これらを組み合わせた複合フィルムなどが挙げられる。
(離形性クッション部材)
離形性クッション部材は、導電性接着剤層の電子部品への追従性を促すクッション材として機能し、且つ離形性があるシートである。つまり、熱圧着工程後に電磁波シールド部材1から剥離可能な層である。また、150℃における引張破断歪が50%以上で、熱圧着時に溶融する層であることが好ましい。
離形性クッション部材は、導電性接着剤層の電子部品への追従性を促すクッション材として機能し、且つ離形性があるシートである。つまり、熱圧着工程後に電磁波シールド部材1から剥離可能な層である。また、150℃における引張破断歪が50%以上で、熱圧着時に溶融する層であることが好ましい。
なお、離形性基材および離形性クッション部材3の引張破断歪は以下の方法によって求めた値である。離形性基材および離形性クッション部材を幅200mm×長さ600mmの大きさに切断し測定試料とした。測定試料について小型卓上試験機EZ-TEST(島津製作所社製)を用いて、温度25℃、相対湿度50%の条件下で引っ張り試験(試験速度50mm/min)を実施した。得られたS-S曲線(Stress-Strain曲線)から引張破断歪(%)を算出した。
離形性クッション部材3としては、ポリエチレン、ポリプロピレン、ポリエーテルスルフォン、ポリフェニレンスルフィド、ポリスチレン、ポリメチルペンテン、ポリブチレンテレフタレート、環状オレフィンポリマー、シリコーンが好ましい。この中でも埋め込み性と剥離性を両立する観点から、ポリプロピレン、ポリメチルペンテン、ポリブチレンテレフタレート、シリコーンがさらに好ましい。離形性クッション部材は、単層で用いても複層で用いてもよい。複層とする場合、同一または異なる種類のシートを積層できる。
離形性クッション部材3と導電性接着剤層6の積層方法は特に限定されないが、これらのシートをラミネートする方法が挙げられる。離形性クッション部材3は最終的には剥離するので、離形性の優れた材料が好ましい。離形性クッション部材の厚みは、例えば50μm~3mm程度であり、100μm~1mm程度がより好ましい。
[第2実施形態]
次に、第1実施形態とは異なる電子部品搭載基板の例について説明する。第2実施形態に係る電子部品搭載基板は、電磁波シールド部材が2層の電磁波シールド層からなっている点において、単層の電磁波シールド層からなる電磁波シールド部材を用いた第1実施形態と相違するが、その他の基本的な構成および製造方法は第1実施形態と同様である。なお、第1実施形態と重複する記載は適宜省略する。
次に、第1実施形態とは異なる電子部品搭載基板の例について説明する。第2実施形態に係る電子部品搭載基板は、電磁波シールド部材が2層の電磁波シールド層からなっている点において、単層の電磁波シールド層からなる電磁波シールド部材を用いた第1実施形態と相違するが、その他の基本的な構成および製造方法は第1実施形態と同様である。なお、第1実施形態と重複する記載は適宜省略する。
第2実施形態の電磁波シールド部材は、図9に示すように、第1導電性接着剤層6a1および第2導電性接着剤層6a2の2層からなる導電性接着剤層6aである電磁波シールド用部材2aと、離形性クッション部材3aからなる電磁波シールド用積層体4aを用いて形成される。この電磁波シールド用積層体4aを熱圧着することにより、電子部品30が搭載された基板20上に第1電磁波シールド層と第2電磁波シールド層からなる電磁波シールド部材が被覆される。2層の電磁波シールド層により構成することで、電磁波シールド部材の設計自由度を高めることができる。上層の第2導電性接着剤層6a2は第1実施形態と同様の組成や工程により製造し、下層の第1導電性接着剤層6a1は、二乗平均平方根高さRqの範囲に限定されずにニーズに応じた設計とすることができる。例えば、第1導電性接着剤層6a1に含まれる導電性フィラーとして、繊維状粒子、球状粒子等のフィラーを用いた層としたりすることができる。また、第1導電性接着剤層6a1を異方導電性接着剤層、第2導電性接着剤層6a2を等方導電性接着剤層とする等の設計とすることも可能である。また、電磁波反射層と電磁波吸収層の積層体とする態様も好ましい。電磁波シールド層を3層以上積層してもよい。
第2実施形態に係る電子部品搭載基板によれば、2層の電磁波シールド層からなる電磁波シールド部材を用いることにより、第1実施形態と同様の効果が得られる。また、電磁波シールド層を2層積層したことにより各層の設計自由度を高められるので、ニーズに応じた電磁波シールド部材を提供しやすいというメリットがある。
[第3実施形態]
第3実施形態に係る電子部品搭載基板は、電磁波シールド部材が電磁波シールド層とハードコート層の積層体からなっている点において、単層の電磁波シールド層からなる電磁波シールド部材を用いた第1実施形態と相違するが、その他の基本的な構成および製造方法は同様である。
第3実施形態に係る電子部品搭載基板は、電磁波シールド部材が電磁波シールド層とハードコート層の積層体からなっている点において、単層の電磁波シールド層からなる電磁波シールド部材を用いた第1実施形態と相違するが、その他の基本的な構成および製造方法は同様である。
第3実施形態に係る電磁波シールド部材は、図10に示すように、1層の導電性接着剤層6bと絶縁性樹脂層7bの積層体である電磁波シールド用部材2bおよび離形性クッション部材3bからなる電磁波シールド用積層体4bを用いて形成される。この電磁波シールド用積層体4bを熱圧着することにより、電子部品が搭載された基板上に導電性接着剤層6bから形成された電磁波シールド層と絶縁性樹脂層7bから形成されたハードコート層とからなる電磁波シールド部材が得られる。第3実施形態に係る電磁波シールド部材は、ハードコート層側から測定したときの二乗平均平方根高さRqを0.05μm以上、0.3μm未満とする。
絶縁性樹脂層7bはバインダー樹脂前駆体と無機フィラーを含有する樹脂組成物から形成された層である。バインダー樹脂前駆体は、少なくとも熱軟化性樹脂を含む。バインダー樹脂前駆体の例示および好適例は、第1実施形態で述べた電磁波シールド用部材の導電性接着剤層と同じである。導電性接着剤層と絶縁性樹脂層のバインダー樹脂前駆体は同一であっても異なっていてもよい。
無機フィラーは、第1実施形態の導電性接着剤層と異なり導電性を有していないが、好ましい無機フィラーの特性、例えば形状・配合量・D50・D90等は導電性フィラーで挙げた例と同じである。無機フィラーとしては、例えば、シリカ(溶融シリカ、結晶性シリカ、非結晶性シリカ)、ベリリア、アルミナ、水酸化マグネシウム、硫酸バリウム、炭酸カルシウム、酸化チタン、酸化亜鉛、三酸化アンチモン、酸化アンチモン、酸化マグネシウム、タルク、カオリナイト、マイカ、塩基炭酸マグネシウム、セリサイト、モンモロリナイト、カオリナイト、ベントナイト、カオリン、クレー、ハイドロタルサイト、ウォラストナイト、ゾノトライト、窒化ケイ素、窒化ホウ素、窒化アルミニウム、リン酸水素カルシウム、リン酸カルシウム、ガラスフレーク、水和ガラス、チタン酸カルシウム、セピオライト、硫酸マグネシウム、水酸化アルミニウム、水酸化ジルコニウム、水酸化バリウム、水酸化カルシウム、酸化カルシウム、酸化スズ、酸化アルミニウム、酸化ジルコニウム、酸化モリブデン、酸化ニッケル、炭酸亜鉛、炭酸マグネシウム、炭酸バリウム、ホウ酸亜鉛、ホウ酸アルミニウム、ケイ酸カルシウム、炭化ケイ素、炭化チタン、ダイヤモンド、グラファイト、グラフェン等の無機化合物が挙げられる。
無機フィラーとして、熱伝導性フィラーを用いることにより、ハードコート層を熱伝導層としても機能させることができる。用途に応じて、ハードコート層、熱伝導層(例えば放熱層)、若しくは両者の機能を有する層として利用することができる。
無機フィラーとして、熱伝導性フィラーを用いることにより、ハードコート層を熱伝導層としても機能させることができる。用途に応じて、ハードコート層、熱伝導層(例えば放熱層)、若しくは両者の機能を有する層として利用することができる。
絶縁性樹脂層に用いるバインダー樹脂前駆体の好ましい配合成分および配合量の好適な例は第1実施形態の導電性接着剤層と同じである。また、絶縁性樹脂層に用いる無機フィラーの好ましい形状、好ましい平均粒子径D50等は、第1実施形態の導電性フィラーと同じである。
熱軟化性樹脂組成物、および熱軟化性樹脂組成物層は、必要に応じて着色剤、シランカップリング剤、イオン捕集剤、酸化防止剤、粘着付与樹脂、可塑剤、紫外線吸収剤、レベリング調整剤、難燃剤等を含むことができる。
第3実施形態に係る電子部品搭載基板によれば、ハードコート層を有する電磁波シールド部材を用いることにより、第1実施形態で述べた効果に加え、電磁波シールド層をハードコート層で被覆することにより、より優れた耐久性を有する電磁波シールド部材を提供できる。
[第4実施形態]
第4実施形態に係る電子部品搭載基板は、電磁波シールド部材が電磁波シールド層と絶縁被覆層の積層体からなる点において、単層の電磁波シールド層からなる電磁波シールド部材を用いた第1実施形態と相違するが、その他の基本的な構成および製造方法は第1実施形態と同様である。
第4実施形態に係る電子部品搭載基板は、電磁波シールド部材が電磁波シールド層と絶縁被覆層の積層体からなる点において、単層の電磁波シールド層からなる電磁波シールド部材を用いた第1実施形態と相違するが、その他の基本的な構成および製造方法は第1実施形態と同様である。
第4実施形態に係る電磁波シールド部材は、図11に示すように、絶縁性接着剤層8cと導電性接着剤層6cの積層体である電磁波シールド用部材2cおよび離形性クッション部材3cからなる電磁波シールド用積層体4cを用いて形成される。
第4実施形態においては、個片化工程を行わない若しくは個片化済みの、複数の電子部品(例えば半導体パッケージ)が形成された基板上に、電磁波シールド部材を被覆する例について説明する。図12(a)に示すように、基板20との接続端子として機能するはんだボール24を有する電子部品30が搭載された基板20の上方に、電磁波シールド用積層体4cを配置し、離形性クッション部材3c側から電子部品30が搭載された基板20に熱圧着を行う(図12(b))。その後、離形性クッション部材3cを剥離することにより、図12(c)の電磁波シールド部材1cが積層された電子部品搭載基板53が得られる。
得られた電子部品搭載基板53は、電磁波シールド層5cの上面からGNDを取ることが可能である。この方法に代えて、基板20上にグランドパターンを設け、このグランドパターンと電磁波シールド層5cを導通させるために、グランドパターン上に、絶縁被覆層9cを突き破り、電磁波シールド層5cと導通する導電性のコネクタ部を設けてもよい。
第4実施形態では、個片化工程が不要の電子部品搭載基板の製造方法の一例について説明したが、マザー基板上に、図12(c)の製品単位のユニットをアレイ状に形成し、電磁波シールド用積層体4cを載置して熱圧着して電磁波シールド層を形成し、その後、個片化工程を行うことにより、図12(c)に示す電子部品搭載基板を得ることもできる。
絶縁性接着剤層8cは、バインダー樹脂前駆体を含有する樹脂組成物から形成された層である。バインダー樹脂前駆体は、少なくとも熱軟化性樹脂を含む。バインダー樹脂前駆体の例示および好適例は、第1実施形態で述べた導電性接着剤層のバインダー樹脂前駆体が挙げられる。絶縁性接着剤層8cと導電性接着剤層6cのバインダー樹脂前駆体は同一であっても異なっていてもよい。
熱軟化性樹脂組成物および熱軟化性樹脂組成物層は、必要に応じて着色剤、シランカップリング剤、イオン捕集剤、酸化防止剤、粘着付与樹脂、可塑剤、紫外線吸収剤、レベリング調整剤、難燃剤、無機フィラー等を含むことができる。
第4実施形態に係る電子部品搭載基板によれば、絶縁被覆層9cを有する電磁波シールド部材1cを用いることにより、第1実施形態で述べた効果に加え、グランドパターン以外の回路または電極パターン等の導体部と電磁波シールド部材との短絡を防ぎ、電子部品と電磁波シールド層の接合信頼性を高めることができる。また、電子部品の絶縁信頼性を高めることができる。従って、優れた耐久性を有する電磁波シールド部材を提供できる。その結果、優れた電磁波シールド性を有する電子部品搭載基板を提供できる。また、基板全体に一括でシールド層を形成できるので、製造工程が簡便であり、シールド缶等に比べて顕著に厚みを縮小できるというメリットがある。
なお、第4実施形態において、絶縁被覆層9cは主として電子部品と電磁波シールド部材との接合を強化するために用いる例を挙げたが、絶縁被覆層9cを封止材に適用することもできる。絶縁被覆層9cを封止材に適用する場合、半導体チップ等の封止工程と電磁波シールド部材の被覆を同一工程で行うことができるというメリットがある。即ち、第4実施形態に係る電磁波シールド部材は、絶縁体により一体的に被覆されていない電子部品に対して適用し、絶縁性接着剤層から封止材(モールド樹脂)に対応する絶縁被覆層を得ることもできる。この場合、電子部品の側面に電磁波シールド部材を被覆するために、電子部品に対応する凹部がアレイ状に形成されたプレス板(電子部品の間隙に電磁波シールド部材を埋め込む凸部が形成されたプレス板)を用いてもよい。
[第5実施形態]
第5実施形態に係る電子部品搭載基板は、電磁波シールド層とグランドパターンが直接接触して導通しており、電磁波シールド用積層体の内部層に位置する導電性接着剤層が、当該積層体の段階で露出している領域を有する電磁波シールド用積層体を用いる。この露出領域は、基板等に形成されたグランドパターン等の導電パターンと電磁波シールド層が接触して導通するために設けられている。第5実施形態は、これらの点において第4実施形態と相違するが、その他の基本的な構成および製造方法は同様である。
第5実施形態に係る電子部品搭載基板は、電磁波シールド層とグランドパターンが直接接触して導通しており、電磁波シールド用積層体の内部層に位置する導電性接着剤層が、当該積層体の段階で露出している領域を有する電磁波シールド用積層体を用いる。この露出領域は、基板等に形成されたグランドパターン等の導電パターンと電磁波シールド層が接触して導通するために設けられている。第5実施形態は、これらの点において第4実施形態と相違するが、その他の基本的な構成および製造方法は同様である。
第5実施形態に係る電磁波シールド用積層体は、積層構成は第4実施形態と同様であるが、図13(a)に示すように、基板20上に形成されたグランドパターン22を被覆する領域に対応する位置の電磁波シールド用積層体4dにおいて導電性接着剤層6dが露出している。具体的には、絶縁性接着剤層8d側からの上面視において、導電性接着剤層6dの露出領域が設けられている。図13(a)の電磁波シールド用積層体4dの例では、絶縁性接着剤層8dのサイズを電磁波シールド用積層体4dのサイズよりも一回り小さくし、電磁波シールド用積層体4dの額縁領域において導電性接着剤層6dが露出するようにする。係る構成により、図13(b)、図13(c)に示すように、熱圧着によりグランドパターン22と電磁波シールド層5dとが接触して導通した電子部品搭載基板54が得られる。電磁波シールド用積層体4dにおける導電性接着剤層6dの露出部の位置は、図13(a)の例に限定されず、露出部を開口パターンとして形成してもよい。
<変形例>
次に、本実施形態に係る電子部品搭載基板等の変形例について説明する。但し、本発明は、上記実施形態および変形例に限定されるものではなく、本発明の趣旨に合致する限り、他の実施形態も本発明の範疇に属し得る。また、各実施形態および変形例は、互いに好適に組み合わせられる。
次に、本実施形態に係る電子部品搭載基板等の変形例について説明する。但し、本発明は、上記実施形態および変形例に限定されるものではなく、本発明の趣旨に合致する限り、他の実施形態も本発明の範疇に属し得る。また、各実施形態および変形例は、互いに好適に組み合わせられる。
第4、5実施形態においては、絶縁性接着剤層、導電性接着剤層および離形性クッション部材の積層体からなる電磁波シールド用積層体を用いた例を説明したが、以下のように製造することも可能である。即ち、図14(a)に示すように、複数の電子部品30が搭載された基板20上に、まず、図14(b)に示すように、絶縁被覆層9eを形成する。この絶縁被覆層9eは、絶縁性接着剤層を含むシートを熱プレスすることにより得られる。その後、導電性接着剤層6eおよび離形性クッション部材3eの積層体からなる電磁波シールド用積層体4eを用いることにより電磁波シールド層5eを形成する(図14(c)、(d))。これらの工程を経て、電磁波シールド部材が形成された電子部品搭載基板55が得られる。なお、絶縁被覆層9eは、シートを熱プレスする方法に代えて、溶液樹脂を塗布する方法および溶液樹脂をスプレーする方法を例示できる。
上記実施形態においては、部品の一例として電子部品を例として説明したが、電磁波から遮蔽したい部品全般に対して本発明を適用できる。また、部品の形状は矩形状に限定されず、角部がR形状である部品、部品の上面と側面の成す角度が鋭角の部品、鈍角の部品も含む。また、上面に凹凸形状がある部品、電子部品の外面が球状等の曲面になっている場合も含む。また、上記実施形態においては、基板20にハーフダイシング溝25(図2参照)が形成されていたが、ハーフダイシング溝25は必須ではなくフラットな基板に電磁波シールド部材を載置して被覆させてもよい。加えて、本発明の電子部品搭載基板には、例えば基板20をオールダイシングして個片化した電子部品が搭載された電子部品搭載基板が別の保持基材等に載置されている場合も含む。
また、電磁波シールド用積層体は上記実施形態の積層形態に限定されない。例えば、離形性クッション部材上に、支持基板が積層されていてもよい。支持基板を積層することにより、熱圧着時の装置の汚れを簡易に防止することができる。また、支持基板により、電磁波シールド用積層体の貼付工程が容易になるというメリットがある。また、電子部品は基板の片面のみならず両面に搭載し、各電子部品に電磁波シールド部材を形成することもできる。
本実施形態に係る電子部品搭載基板によれば、凹凸構造に対する被覆性に優れることから、パーソナルコンピュータ、モバイル機器或いはデジタルカメラ等の各種電子機器に好適に適用できる。また、寒暖差の大きい用途、例えば、自動車の部品などの各種電子機器に好適である。
≪実施例≫
以下、本発明を実施例によりさらに詳細に説明するが、本発明は以下の実施例に限定されるものではない。また、実施例中の「部」とあるのは「質量部」を、「%」とあるのは「質量%」をそれぞれ表すものとする。また、本発明に記載の値は、以下の方法により求めた。
以下、本発明を実施例によりさらに詳細に説明するが、本発明は以下の実施例に限定されるものではない。また、実施例中の「部」とあるのは「質量部」を、「%」とあるのは「質量%」をそれぞれ表すものとする。また、本発明に記載の値は、以下の方法により求めた。
(試験基板1)
ガラスエポキシからなる基板上に、モールド封止された電子部品(1cm×1cm)を5×5個アレイ状に搭載した基板を用意した。基板の厚みは0.3mmであり、モールド封止厚、即ち基板上面からモールド封止材の頂面までの高さ(部品高さ)Hは0.7mmである。その後、部品同士の間隙である溝に添ってハーフダイシングを行い、試験基板を得た(図15参照)。ハーフカット溝深さは0.8mm(基板20のカット溝深さは0.1mm)、ハーフカット溝幅は200μmとした。
ガラスエポキシからなる基板上に、モールド封止された電子部品(1cm×1cm)を5×5個アレイ状に搭載した基板を用意した。基板の厚みは0.3mmであり、モールド封止厚、即ち基板上面からモールド封止材の頂面までの高さ(部品高さ)Hは0.7mmである。その後、部品同士の間隙である溝に添ってハーフダイシングを行い、試験基板を得た(図15参照)。ハーフカット溝深さは0.8mm(基板20のカット溝深さは0.1mm)、ハーフカット溝幅は200μmとした。
以下、実施例で使用した材料を示す。
・バインダー樹脂前駆体
熱硬化性樹脂1:ポリカーボネート樹脂(トーヨーケム社製)
熱硬化性樹脂2:フェノキシ樹脂(トーヨーケム社製)
硬化性化合物1:デコナールEX830(ナガセケムテック社製)
硬化性化合物2:jERYX8000(三菱ケミカル社製)
硬化性化合物3:jER157S70(三菱ケミカル社製)
・硬化促進剤:PZ-33
・導電性フィラー1:鱗片状Ag(平均粒子径D50:9.5μm、D90=19μm、厚み0.1μm)
・導電性フィラー2:デンドライト状銀コート銅(平均粒子径D50:7.1μm、D90=15.1μm)
・添加剤1:BYK337
・バインダー樹脂前駆体
熱硬化性樹脂1:ポリカーボネート樹脂(トーヨーケム社製)
熱硬化性樹脂2:フェノキシ樹脂(トーヨーケム社製)
硬化性化合物1:デコナールEX830(ナガセケムテック社製)
硬化性化合物2:jERYX8000(三菱ケミカル社製)
硬化性化合物3:jER157S70(三菱ケミカル社製)
・硬化促進剤:PZ-33
・導電性フィラー1:鱗片状Ag(平均粒子径D50:9.5μm、D90=19μm、厚み0.1μm)
・導電性フィラー2:デンドライト状銀コート銅(平均粒子径D50:7.1μm、D90=15.1μm)
・添加剤1:BYK337
[実施例1]
(導電性接着剤層の樹脂組成物の調製)
表1に示すように、バインダー樹脂前駆体として熱硬化性樹脂1(ポリカーボネート樹脂)を20部(固形分)と、熱硬化性樹脂2(フェノキシ樹脂)を80部(固形分)と、硬化性化合物1(エポキシ樹脂)を20部と、硬化性化合物2(エポキシ樹脂)を15部と、硬化性化合物3(エポキシ樹脂)を10部と、導電性フィラー1(鱗片状Ag)を365部と、導電性フィラー2(デンドライト状AgコートCu)を5部と、硬化促進剤を1部と、とを容器に仕込み、不揮発分濃度が25質量%になるようトルエン:イソプロピルアルコール(質量比2:1)の混合溶剤を加えディスパーで10分攪拌することで導電性接着剤層を形成するための樹脂組成物を得た。
(導電性接着剤層の樹脂組成物の調製)
表1に示すように、バインダー樹脂前駆体として熱硬化性樹脂1(ポリカーボネート樹脂)を20部(固形分)と、熱硬化性樹脂2(フェノキシ樹脂)を80部(固形分)と、硬化性化合物1(エポキシ樹脂)を20部と、硬化性化合物2(エポキシ樹脂)を15部と、硬化性化合物3(エポキシ樹脂)を10部と、導電性フィラー1(鱗片状Ag)を365部と、導電性フィラー2(デンドライト状AgコートCu)を5部と、硬化促進剤を1部と、とを容器に仕込み、不揮発分濃度が25質量%になるようトルエン:イソプロピルアルコール(質量比2:1)の混合溶剤を加えディスパーで10分攪拌することで導電性接着剤層を形成するための樹脂組成物を得た。
(電磁波シールド用積層体の作製)
この樹脂組成物を乾燥厚みが50μmになるようにドクターブレードを使用して離形性基材に塗工した。そして、25℃で14分間、常温乾燥した後、100℃で2分間乾燥することで電磁波シールド用部材(導電性接着剤層)を得た。その後、離形性クッション部材(CR1020)、軟質樹脂層の両面をポリメチルペンテンで挟み込んだ層構成(厚み150μm)、三井化学東セロ社製)を用意し、電磁波シールド用部材とラミネートすることにより離形性基材上に実施例1に係る電磁波シールド用積層体を得た。
この樹脂組成物を乾燥厚みが50μmになるようにドクターブレードを使用して離形性基材に塗工した。そして、25℃で14分間、常温乾燥した後、100℃で2分間乾燥することで電磁波シールド用部材(導電性接着剤層)を得た。その後、離形性クッション部材(CR1020)、軟質樹脂層の両面をポリメチルペンテンで挟み込んだ層構成(厚み150μm)、三井化学東セロ社製)を用意し、電磁波シールド用部材とラミネートすることにより離形性基材上に実施例1に係る電磁波シールド用積層体を得た。
(電子部品搭載基板の試験片の作製)
次に、この離形性基材上の電磁波シールド用積層体を10×10cmにカットし、離形性基材を剥離した後、前記試験基板(図15参照)に対して、電磁波シールド用積層体の導電性接着剤層面側が接するように載置し仮貼付した。そして、この電磁波シールド用積層体の上方から基板面に対し2MPa、180℃の条件で2時間熱圧着した。熱圧着後、離形性クッション部材を剥離することで、電磁波シールド部材が被覆された実施例1に係る電子部品搭載基板(試験片)を得た。
次に、この離形性基材上の電磁波シールド用積層体を10×10cmにカットし、離形性基材を剥離した後、前記試験基板(図15参照)に対して、電磁波シールド用積層体の導電性接着剤層面側が接するように載置し仮貼付した。そして、この電磁波シールド用積層体の上方から基板面に対し2MPa、180℃の条件で2時間熱圧着した。熱圧着後、離形性クッション部材を剥離することで、電磁波シールド部材が被覆された実施例1に係る電子部品搭載基板(試験片)を得た。
[実施例2~7、比較例1]
表1の記載の組成に変更した以外は、実施例1と同様にして、導電性接着剤層の樹脂組成物、電磁波シールド用積層体を得た。
表1の記載の組成に変更した以外は、実施例1と同様にして、導電性接着剤層の樹脂組成物、電磁波シールド用積層体を得た。
<二乗平均平方根高さRq>
実施例1~10、比較例1,2の電磁波シールド用積層体を用意し、厚み300μmのFR4基板に載置し、離形性クッション部材側から面方向に8MPaの条件で170℃5分加熱圧着を行った。その後、離形性クッション部材を剥がし180℃2時間の加熱を行い、電磁波シールド部材を形成した試験片を得た。
実施例1~10、比較例1,2の電磁波シールド用積層体を用意し、厚み300μmのFR4基板に載置し、離形性クッション部材側から面方向に8MPaの条件で170℃5分加熱圧着を行った。その後、離形性クッション部材を剥がし180℃2時間の加熱を行い、電磁波シールド部材を形成した試験片を得た。
上記試験片において、離形性クッション部材を剥離した電磁波シールド部材の表面に金属スパッタ処理を施した。金属スパッタ処理条件は、日本電子株式会社製スパッタ装置「Smart Coater」を使用し、ターゲットとして金を用い、ターゲットとサンプル表面との離間距離を2cmとし、0.5分間スパッタした。得られた試料の金属スパッタ処理面に対し、JIS B 0601:2001に準拠し、レーザー顕微鏡((株)キーエンス社製(VK-X100))を用いて二乗平均平方根高さRqを求めた。測定条件は、形状測定モードで測定倍率を1000倍とし、表面形状を取得した。得られた表面形状画像を解析アプリケーションの表面粗さ測定にて、全領域を選択しλs輪郭曲線フィルタを2.5μm、λc輪郭曲線フィルタを0.8mmとし、二乗平均平方根高さRqを測定した。上記測定を異なる5箇所で行い測定値の平均値を二乗平均平方根高さRqの値とした。
なお、電磁波シールド部材の二乗平均平方根高さRqの測定において、電子部品搭載基板上に実際に被覆されている電磁波シールド部材を測定する場合には、電子部品基板上に被覆された電磁波シールド部材を直接測定すればよい。
なお、電磁波シールド部材の二乗平均平方根高さRqの測定において、電子部品搭載基板上に実際に被覆されている電磁波シールド部材を測定する場合には、電子部品基板上に被覆された電磁波シールド部材を直接測定すればよい。
<二乗平均平方根傾斜Rdq>
Rqの測定で得られた表面形状画像を用い、解析アプリケーションの線粗さ測定にて、2点線を画像全体に均一に20本引き、λ0026s輪郭曲線フィルタを2.5μm、λc輪郭曲線フィルタを0.8mmとし、二乗平均平方根傾斜Rdqを測定した。上記測定を異なる5箇所で行い測定値の平均値を二乗平均平方根傾斜Rdqの値とした。
Rqの測定で得られた表面形状画像を用い、解析アプリケーションの線粗さ測定にて、2点線を画像全体に均一に20本引き、λ0026s輪郭曲線フィルタを2.5μm、λc輪郭曲線フィルタを0.8mmとし、二乗平均平方根傾斜Rdqを測定した。上記測定を異なる5箇所で行い測定値の平均値を二乗平均平方根傾斜Rdqの値とした。
<水接触角>
各実施例、比較例の電磁波シールド用積層体を用意し、厚み300μmの押込み弾性率の測定試料と同様にして作製したFR4基板の試験片に載置し、離形性クッション部材側から面方向に2MPaの条件で180℃2時間の加熱を行った。その後、離形性クッション部材を剥離して電磁波シールド部材を形成したFR4基板の試験片を得た。そして、離形性クッション部材が積層されていた側から以下の方法により水接触角を測定した。即ち、電磁波シールド層の表面に対して、協和界面科学(株)製「自動接触角計DM‐501/解析ソフトウェアFAMAS」を用いて電磁波シールド部材の水接触角を測定した。測定は液適法により行った。
各実施例、比較例の電磁波シールド用積層体を用意し、厚み300μmの押込み弾性率の測定試料と同様にして作製したFR4基板の試験片に載置し、離形性クッション部材側から面方向に2MPaの条件で180℃2時間の加熱を行った。その後、離形性クッション部材を剥離して電磁波シールド部材を形成したFR4基板の試験片を得た。そして、離形性クッション部材が積層されていた側から以下の方法により水接触角を測定した。即ち、電磁波シールド層の表面に対して、協和界面科学(株)製「自動接触角計DM‐501/解析ソフトウェアFAMAS」を用いて電磁波シールド部材の水接触角を測定した。測定は液適法により行った。
<塗液の粘度およびチキソトロピーインデックス>
得られた導電性樹脂組成物を25℃のウォーターバスに30分静置した後に「B型粘度計」(東機産業株式会社製)にて、回転数6rpmの粘度(v1)および回転数60rpmの粘度(v2)を測定した。(v1)を(v2)で除した値をチキソトロピーインデックスとした。
得られた導電性樹脂組成物を25℃のウォーターバスに30分静置した後に「B型粘度計」(東機産業株式会社製)にて、回転数6rpmの粘度(v1)および回転数60rpmの粘度(v2)を測定した。(v1)を(v2)で除した値をチキソトロピーインデックスとした。
<テープ被覆性>
厚み300μmのFR4基板に、5×5cmにカットした各実施例および比較例の電磁波シールド用積層体をそれぞれ載置し、170℃で8MPaの条件で5分熱プレスを行い、180℃で2時間キュアすることで試験基板を得た。次いで、離形性クッション部材を剥離した。その後、得られた試験基板の電磁波シールド部材をダイシングテープ(UHP-110AT(UVタイプ、基材PET、総厚み110μm(粘着層厚10μmを含む))、デンカ社製)と接着させ、基板20の外側表面からダイシングカットして電子部品搭載基板の個片化を行った。個片化後、電磁波シールド部材からダイシングテープを剥離し、電磁波シールド部材の状態を光学顕微鏡(倍率200倍)で観察し下記の基準で判断した。
+++:外観に異常なし。
++:1cm2あたり電磁波シールド部材に直径0.5mm以下の浮きが1~2個生じている。
+:1cm2あたり電磁波シールド部材に直径0.5mm以下の浮きが3~4個生じている。
NG:1cm2あたり電磁波シールド部材に直径0.5mm越えの浮き、剥がれ、又は直径0.5mm以下の浮きが5個以上生じている。
厚み300μmのFR4基板に、5×5cmにカットした各実施例および比較例の電磁波シールド用積層体をそれぞれ載置し、170℃で8MPaの条件で5分熱プレスを行い、180℃で2時間キュアすることで試験基板を得た。次いで、離形性クッション部材を剥離した。その後、得られた試験基板の電磁波シールド部材をダイシングテープ(UHP-110AT(UVタイプ、基材PET、総厚み110μm(粘着層厚10μmを含む))、デンカ社製)と接着させ、基板20の外側表面からダイシングカットして電子部品搭載基板の個片化を行った。個片化後、電磁波シールド部材からダイシングテープを剥離し、電磁波シールド部材の状態を光学顕微鏡(倍率200倍)で観察し下記の基準で判断した。
+++:外観に異常なし。
++:1cm2あたり電磁波シールド部材に直径0.5mm以下の浮きが1~2個生じている。
+:1cm2あたり電磁波シールド部材に直径0.5mm以下の浮きが3~4個生じている。
NG:1cm2あたり電磁波シールド部材に直径0.5mm越えの浮き、剥がれ、又は直径0.5mm以下の浮きが5個以上生じている。
<防汚性評価>
厚さ125μmのポリイミドフィルム(東レ・デュポン社製「カプトン500H」)に、5×15cmにカットした各実施例および比較例の電磁波シールド用積層体をそれぞれ載置し、180℃で2MPaの条件で10分熱プレスを行い、180℃で2時間キュアすることで試験基板を得た。その後、離形性クッション部材を剥離した。擬似フラックスとして電磁波シールド部材の天面にn-オクタン酸を塗布した。その後、ジオキソランとイソプロパノールを8/2で混合した洗浄液に浸漬し超音波洗浄した。洗浄後、光学顕微鏡(倍率200倍)を用いて防汚性について評価した。評価基準は以下の通りである。
+++:3分間の洗浄で、残渣が無い。
++:5分間の洗浄で、残渣が無い。
+:5分間の洗浄で、電磁波シールド部材表面1cm2あたり1~2か所残渣がある。
NG:5分間の洗浄で、電磁波シールド部材表面1cm2あたり2か所越えで残渣がある。
厚さ125μmのポリイミドフィルム(東レ・デュポン社製「カプトン500H」)に、5×15cmにカットした各実施例および比較例の電磁波シールド用積層体をそれぞれ載置し、180℃で2MPaの条件で10分熱プレスを行い、180℃で2時間キュアすることで試験基板を得た。その後、離形性クッション部材を剥離した。擬似フラックスとして電磁波シールド部材の天面にn-オクタン酸を塗布した。その後、ジオキソランとイソプロパノールを8/2で混合した洗浄液に浸漬し超音波洗浄した。洗浄後、光学顕微鏡(倍率200倍)を用いて防汚性について評価した。評価基準は以下の通りである。
+++:3分間の洗浄で、残渣が無い。
++:5分間の洗浄で、残渣が無い。
+:5分間の洗浄で、電磁波シールド部材表面1cm2あたり1~2か所残渣がある。
NG:5分間の洗浄で、電磁波シールド部材表面1cm2あたり2か所越えで残渣がある。
<温度サイクル試験>
図15に示す試験基板に対し、実施例1に係る電子部品搭載基板(試験片)電磁波シールド部材が被覆された電子部品搭載基板(試験片)を用意し、電磁波シールド部材1が被覆された電子部品の二つの天面(図16中の矢印)間の初期接続抵抗値を、三菱化学アナリテック製「ロレスターGP」のBSPプローブを用いて測定した。次いで、冷熱衝撃装置(「TSE‐11‐A」、エスペック社製)に投入し、高温さらし:125℃、15分、低温さらし:-50℃、15分の曝露条件にて交互曝露を1000回実施した。その後、試料の接続抵抗値を、初期と同様に測定した。
冷熱サイクル信頼性の評価基準は以下の通りである。測定値は、3箇所測定を行い、その平均値とした。
なお、ハードコート層等の絶縁層が最表面に積層された場合においては、温度リサイクル試験後に当該絶縁層の測定箇所を除去して、電磁波シールド層5を露出させて上記と同様の試験を行う。この場合において、温度リサイクル試験前の電磁波シールド層5の接続抵抗値は、同サンプルの別の場所において、絶縁層の測定箇所を上記と同様の方法により除去して求める。
+++:(交互曝露後の接続抵抗値)/(初期接続抵抗値)が1.5未満 極めて良好である。
++:(交互曝露後の接続抵抗値)/(初期接続抵抗値)が1.5以上、3.0未満 良好。
+:(交互曝露後の接続抵抗値)/(初期接続抵抗値)が3.0以上、5.0未満 実用可。
NG:(交互曝露後の接続抵抗値)/(初期接続抵抗値)が5.0以上。
図15に示す試験基板に対し、実施例1に係る電子部品搭載基板(試験片)電磁波シールド部材が被覆された電子部品搭載基板(試験片)を用意し、電磁波シールド部材1が被覆された電子部品の二つの天面(図16中の矢印)間の初期接続抵抗値を、三菱化学アナリテック製「ロレスターGP」のBSPプローブを用いて測定した。次いで、冷熱衝撃装置(「TSE‐11‐A」、エスペック社製)に投入し、高温さらし:125℃、15分、低温さらし:-50℃、15分の曝露条件にて交互曝露を1000回実施した。その後、試料の接続抵抗値を、初期と同様に測定した。
冷熱サイクル信頼性の評価基準は以下の通りである。測定値は、3箇所測定を行い、その平均値とした。
なお、ハードコート層等の絶縁層が最表面に積層された場合においては、温度リサイクル試験後に当該絶縁層の測定箇所を除去して、電磁波シールド層5を露出させて上記と同様の試験を行う。この場合において、温度リサイクル試験前の電磁波シールド層5の接続抵抗値は、同サンプルの別の場所において、絶縁層の測定箇所を上記と同様の方法により除去して求める。
+++:(交互曝露後の接続抵抗値)/(初期接続抵抗値)が1.5未満 極めて良好である。
++:(交互曝露後の接続抵抗値)/(初期接続抵抗値)が1.5以上、3.0未満 良好。
+:(交互曝露後の接続抵抗値)/(初期接続抵抗値)が3.0以上、5.0未満 実用可。
NG:(交互曝露後の接続抵抗値)/(初期接続抵抗値)が5.0以上。
表1に、実施例1~9および比較例1の上記評価結果を示す。
表1の例に示すように、二乗平均平方根高さRqが0.3以上の比較例1の電磁波シールド部材を用いた電子部品搭載基板は、温度サイクル試験が合格レベルに達しなかった。これに対し、本発明の電子部品搭載基板の電磁波シールド部材はいずれも合格レベルに達しており、温度リサイクル試験の苛酷な条件下においても被覆性に優れていることを確認した。また、個片化工程において、電磁波シールド部材に浮きや剥離などの被覆性不良を効果的に防止できることを確認した。また、本発明の電子部品搭載基板の電磁波シールド性部材は防汚性に優れていることを確認した。
1 電磁波シールド部材
2 電磁波シールド用部材
3 離形性クッション部材
4 電磁波シールド用積層体
5 電磁波シールド層
6 導電性接着剤層
6P 乾燥途上の導電性接着剤層
7b 絶縁性樹脂層
8c 絶縁性接着剤層
9c 絶縁被覆層
10 バインダー樹脂前駆体
11 導電性フィラー
12 デンドライト状粒子
15 離形性基材
20 基板
21 電極
22 グランドパターン
23 インナービア
24 はんだボール
25 ハーフダイシング溝
30 電子部品
31 半導体チップ
32 モールド樹脂
33 ボンディングワイヤ
40 プレス基板
51、52 電子部品搭載基板
2 電磁波シールド用部材
3 離形性クッション部材
4 電磁波シールド用積層体
5 電磁波シールド層
6 導電性接着剤層
6P 乾燥途上の導電性接着剤層
7b 絶縁性樹脂層
8c 絶縁性接着剤層
9c 絶縁被覆層
10 バインダー樹脂前駆体
11 導電性フィラー
12 デンドライト状粒子
15 離形性基材
20 基板
21 電極
22 グランドパターン
23 インナービア
24 はんだボール
25 ハーフダイシング溝
30 電子部品
31 半導体チップ
32 モールド樹脂
33 ボンディングワイヤ
40 プレス基板
51、52 電子部品搭載基板
Claims (5)
- 基板と、
前記基板の少なくとも一方の面に搭載された電子部品と、
前記電子部品上面から前記基板に亘って被覆され、前記電子部品の搭載によって形成された段差部の側面および前記基板の少なくとも一部を被覆する電磁波シールド部材と、を備え、
前記電磁波シールド部材は、バインダー樹脂と導電性フィラーを含む電磁波シールド層を有し、
前記電磁波シールド部材の表層の二乗平均平方根高さRqが0.05μm以上、0.3μm未満である電子部品搭載基板。 - 前記電磁波シールド部材の表層の二乗平均平方根傾斜Rdqが0.05~0.4となる請求項1に記載の電子部品搭載基板。
- 前記電磁波シールド部材の表層の水接触角が90~130°である請求項1又は2に記載の電子部品搭載基板。
- 前記導電性フィラーは、
デンドライト状および針状の導電性フィラーの少なくとも一方と、鱗片状の導電性フィラーを含有している請求項1~3のいずれかに記載の電子部品搭載基板。 - 請求項1~4のいずれかに記載の電子部品搭載基板が搭載された、電子機器。
Priority Applications (1)
| Application Number | Priority Date | Filing Date | Title |
|---|---|---|---|
| JP2021211604A JP2022040177A (ja) | 2019-12-05 | 2021-12-24 | 電子部品搭載基板および電子機器 |
Applications Claiming Priority (2)
| Application Number | Priority Date | Filing Date | Title |
|---|---|---|---|
| JP2019220612A JP2021090013A (ja) | 2019-12-05 | 2019-12-05 | 電子部品搭載基板および電子機器 |
| JP2021211604A JP2022040177A (ja) | 2019-12-05 | 2021-12-24 | 電子部品搭載基板および電子機器 |
Related Parent Applications (1)
| Application Number | Title | Priority Date | Filing Date |
|---|---|---|---|
| JP2019220612A Division JP2021090013A (ja) | 2018-12-18 | 2019-12-05 | 電子部品搭載基板および電子機器 |
Publications (1)
| Publication Number | Publication Date |
|---|---|
| JP2022040177A true JP2022040177A (ja) | 2022-03-10 |
Family
ID=76220569
Family Applications (2)
| Application Number | Title | Priority Date | Filing Date |
|---|---|---|---|
| JP2019220612A Pending JP2021090013A (ja) | 2018-12-18 | 2019-12-05 | 電子部品搭載基板および電子機器 |
| JP2021211604A Pending JP2022040177A (ja) | 2019-12-05 | 2021-12-24 | 電子部品搭載基板および電子機器 |
Family Applications Before (1)
| Application Number | Title | Priority Date | Filing Date |
|---|---|---|---|
| JP2019220612A Pending JP2021090013A (ja) | 2018-12-18 | 2019-12-05 | 電子部品搭載基板および電子機器 |
Country Status (1)
| Country | Link |
|---|---|
| JP (2) | JP2021090013A (ja) |
Families Citing this family (1)
| Publication number | Priority date | Publication date | Assignee | Title |
|---|---|---|---|---|
| WO2023162702A1 (ja) * | 2022-02-28 | 2023-08-31 | タツタ電線株式会社 | 電磁波シールドフィルム |
Family Cites Families (2)
| Publication number | Priority date | Publication date | Assignee | Title |
|---|---|---|---|---|
| JP6607331B1 (ja) * | 2018-12-18 | 2019-11-20 | 東洋インキScホールディングス株式会社 | 電子部品搭載基板および電子機器 |
| JP6597927B1 (ja) * | 2019-06-18 | 2019-10-30 | 東洋インキScホールディングス株式会社 | 電磁波シールドシート、および電磁波シールド性配線回路基板 |
-
2019
- 2019-12-05 JP JP2019220612A patent/JP2021090013A/ja active Pending
-
2021
- 2021-12-24 JP JP2021211604A patent/JP2022040177A/ja active Pending
Also Published As
| Publication number | Publication date |
|---|---|
| JP2021090013A (ja) | 2021-06-10 |
Similar Documents
| Publication | Publication Date | Title |
|---|---|---|
| KR102400969B1 (ko) | 전자 부품 탑재 기판 및 전자 기기 | |
| TWI807011B (zh) | 電磁波屏蔽片 | |
| JP6607331B1 (ja) | 電子部品搭載基板および電子機器 | |
| TWI802757B (zh) | 電磁波遮蔽片以及電子零件搭載基板 | |
| JP6468389B1 (ja) | 積層体、部品搭載基板、および部品搭載基板の製造方法 | |
| JP2018006536A (ja) | 部品搭載基板およびその製造方法、積層体、電磁波遮蔽シート並びに電子機器 | |
| JP6237732B2 (ja) | 電子部品モジュールの製造方法 | |
| JP2018129498A (ja) | 電子部品搭載基板、積層体、電磁波遮蔽シートおよび電子機器 | |
| JP7232996B2 (ja) | 電子部品搭載基板および電子機器 | |
| JP7537573B2 (ja) | 電子部品搭載基板、及びこれを用いた電子機器 | |
| JP6183568B1 (ja) | 部品搭載基板の製造方法 | |
| JP2022040177A (ja) | 電子部品搭載基板および電子機器 | |
| KR20180040129A (ko) | Fpc용 도전성 접착 시트 및 그것을 이용한 fpc | |
| JP6451801B1 (ja) | 電磁波シールド電子機器の製造方法、および前記電磁波シールド電子機器の製造方法に用いられる電磁波シールドフィルム | |
| JP6422586B2 (ja) | プリント配線板の製造方法ならびに該方法に用いられるプリント配線板保護フィルムおよびシート状積層体 | |
| JP2021086912A (ja) | 電子部品搭載基板および電子機器 | |
| JP2020057759A (ja) | 電磁波シールドシート、および電子部品搭載基板 | |
| JP2019216234A (ja) | 電磁波シールドシート、部品搭載基板、および電子機器 | |
| KR102740608B1 (ko) | 복합시트 | |
| JP2018129495A (ja) | 部品搭載基板の製造方法 |

