JP2022017607A - 電磁弁機構及び高圧燃料ポンプ - Google Patents
電磁弁機構及び高圧燃料ポンプ Download PDFInfo
- Publication number
- JP2022017607A JP2022017607A JP2018201679A JP2018201679A JP2022017607A JP 2022017607 A JP2022017607 A JP 2022017607A JP 2018201679 A JP2018201679 A JP 2018201679A JP 2018201679 A JP2018201679 A JP 2018201679A JP 2022017607 A JP2022017607 A JP 2022017607A
- Authority
- JP
- Japan
- Prior art keywords
- valve mechanism
- yoke
- solenoid valve
- press
- diameter portion
- Prior art date
- Legal status (The legal status is an assumption and is not a legal conclusion. Google has not performed a legal analysis and makes no representation as to the accuracy of the status listed.)
- Pending
Links
- 239000000446 fuel Substances 0.000 title claims abstract description 123
- 230000007246 mechanism Effects 0.000 title claims abstract description 89
- 230000002093 peripheral effect Effects 0.000 claims description 31
- PXHVJJICTQNCMI-UHFFFAOYSA-N Nickel Chemical compound [Ni] PXHVJJICTQNCMI-UHFFFAOYSA-N 0.000 claims description 6
- 239000011651 chromium Substances 0.000 claims description 6
- RYGMFSIKBFXOCR-UHFFFAOYSA-N Copper Chemical compound [Cu] RYGMFSIKBFXOCR-UHFFFAOYSA-N 0.000 claims description 5
- 230000004323 axial length Effects 0.000 claims description 5
- 239000010949 copper Substances 0.000 claims description 5
- 238000006073 displacement reaction Methods 0.000 claims description 5
- 238000003466 welding Methods 0.000 claims description 5
- IJGRMHOSHXDMSA-UHFFFAOYSA-N Atomic nitrogen Chemical compound N#N IJGRMHOSHXDMSA-UHFFFAOYSA-N 0.000 claims description 4
- VYZAMTAEIAYCRO-UHFFFAOYSA-N Chromium Chemical compound [Cr] VYZAMTAEIAYCRO-UHFFFAOYSA-N 0.000 claims description 4
- 229910052804 chromium Inorganic materials 0.000 claims description 4
- 239000011572 manganese Substances 0.000 claims description 4
- 229910052802 copper Inorganic materials 0.000 claims description 3
- 239000000463 material Substances 0.000 claims description 3
- OKTJSMMVPCPJKN-UHFFFAOYSA-N Carbon Chemical compound [C] OKTJSMMVPCPJKN-UHFFFAOYSA-N 0.000 claims description 2
- XEEYBQQBJWHFJM-UHFFFAOYSA-N Iron Chemical compound [Fe] XEEYBQQBJWHFJM-UHFFFAOYSA-N 0.000 claims description 2
- PWHULOQIROXLJO-UHFFFAOYSA-N Manganese Chemical compound [Mn] PWHULOQIROXLJO-UHFFFAOYSA-N 0.000 claims description 2
- OAICVXFJPJFONN-UHFFFAOYSA-N Phosphorus Chemical compound [P] OAICVXFJPJFONN-UHFFFAOYSA-N 0.000 claims description 2
- XUIMIQQOPSSXEZ-UHFFFAOYSA-N Silicon Chemical compound [Si] XUIMIQQOPSSXEZ-UHFFFAOYSA-N 0.000 claims description 2
- NINIDFKCEFEMDL-UHFFFAOYSA-N Sulfur Chemical compound [S] NINIDFKCEFEMDL-UHFFFAOYSA-N 0.000 claims description 2
- 229910052782 aluminium Inorganic materials 0.000 claims description 2
- XAGFODPZIPBFFR-UHFFFAOYSA-N aluminium Chemical compound [Al] XAGFODPZIPBFFR-UHFFFAOYSA-N 0.000 claims description 2
- 229910052799 carbon Inorganic materials 0.000 claims description 2
- 229910052748 manganese Inorganic materials 0.000 claims description 2
- 229910052759 nickel Inorganic materials 0.000 claims description 2
- 229910052757 nitrogen Inorganic materials 0.000 claims description 2
- 229910052698 phosphorus Inorganic materials 0.000 claims description 2
- 239000011574 phosphorus Substances 0.000 claims description 2
- 229910052710 silicon Inorganic materials 0.000 claims description 2
- 239000010703 silicon Substances 0.000 claims description 2
- 229910052717 sulfur Inorganic materials 0.000 claims description 2
- 239000011593 sulfur Substances 0.000 claims description 2
- 229910052751 metal Inorganic materials 0.000 description 15
- 239000002184 metal Substances 0.000 description 15
- 238000002485 combustion reaction Methods 0.000 description 8
- 238000000034 method Methods 0.000 description 6
- 230000006835 compression Effects 0.000 description 5
- 238000007906 compression Methods 0.000 description 5
- 230000007423 decrease Effects 0.000 description 5
- 230000010349 pulsation Effects 0.000 description 5
- 230000008569 process Effects 0.000 description 4
- 230000001174 ascending effect Effects 0.000 description 3
- 230000001276 controlling effect Effects 0.000 description 3
- 238000005260 corrosion Methods 0.000 description 3
- 230000007797 corrosion Effects 0.000 description 3
- 239000002828 fuel tank Substances 0.000 description 3
- 230000001105 regulatory effect Effects 0.000 description 3
- XKRFYHLGVUSROY-UHFFFAOYSA-N Argon Chemical compound [Ar] XKRFYHLGVUSROY-UHFFFAOYSA-N 0.000 description 2
- 239000010705 motor oil Substances 0.000 description 2
- 230000000149 penetrating effect Effects 0.000 description 2
- 229910001220 stainless steel Inorganic materials 0.000 description 2
- 239000010935 stainless steel Substances 0.000 description 2
- 229910001369 Brass Inorganic materials 0.000 description 1
- 229910052786 argon Inorganic materials 0.000 description 1
- 229910000963 austenitic stainless steel Inorganic materials 0.000 description 1
- 239000010951 brass Substances 0.000 description 1
- 230000008602 contraction Effects 0.000 description 1
- 230000003111 delayed effect Effects 0.000 description 1
- 238000010586 diagram Methods 0.000 description 1
- 238000007599 discharging Methods 0.000 description 1
- 230000000694 effects Effects 0.000 description 1
- 239000012530 fluid Substances 0.000 description 1
- 230000004907 flux Effects 0.000 description 1
- 229920006015 heat resistant resin Polymers 0.000 description 1
- 238000010438 heat treatment Methods 0.000 description 1
- 230000006698 induction Effects 0.000 description 1
- 239000011261 inert gas Substances 0.000 description 1
- 238000002347 injection Methods 0.000 description 1
- 239000007924 injection Substances 0.000 description 1
- 238000003780 insertion Methods 0.000 description 1
- 230000037431 insertion Effects 0.000 description 1
- 239000010687 lubricating oil Substances 0.000 description 1
- 229910001105 martensitic stainless steel Inorganic materials 0.000 description 1
- 238000012986 modification Methods 0.000 description 1
- 230000004048 modification Effects 0.000 description 1
- 230000009467 reduction Effects 0.000 description 1
- 229920005989 resin Polymers 0.000 description 1
- 239000011347 resin Substances 0.000 description 1
- 230000007480 spreading Effects 0.000 description 1
- 238000011144 upstream manufacturing Methods 0.000 description 1
Images
Classifications
-
- F—MECHANICAL ENGINEERING; LIGHTING; HEATING; WEAPONS; BLASTING
- F02—COMBUSTION ENGINES; HOT-GAS OR COMBUSTION-PRODUCT ENGINE PLANTS
- F02M—SUPPLYING COMBUSTION ENGINES IN GENERAL WITH COMBUSTIBLE MIXTURES OR CONSTITUENTS THEREOF
- F02M51/00—Fuel-injection apparatus characterised by being operated electrically
- F02M51/04—Pumps peculiar thereto
-
- F—MECHANICAL ENGINEERING; LIGHTING; HEATING; WEAPONS; BLASTING
- F02—COMBUSTION ENGINES; HOT-GAS OR COMBUSTION-PRODUCT ENGINE PLANTS
- F02M—SUPPLYING COMBUSTION ENGINES IN GENERAL WITH COMBUSTIBLE MIXTURES OR CONSTITUENTS THEREOF
- F02M59/00—Pumps specially adapted for fuel-injection and not provided for in groups F02M39/00 -F02M57/00, e.g. rotary cylinder-block type of pumps
- F02M59/20—Varying fuel delivery in quantity or timing
- F02M59/36—Varying fuel delivery in quantity or timing by variably-timed valves controlling fuel passages to pumping elements or overflow passages
-
- F—MECHANICAL ENGINEERING; LIGHTING; HEATING; WEAPONS; BLASTING
- F02—COMBUSTION ENGINES; HOT-GAS OR COMBUSTION-PRODUCT ENGINE PLANTS
- F02M—SUPPLYING COMBUSTION ENGINES IN GENERAL WITH COMBUSTIBLE MIXTURES OR CONSTITUENTS THEREOF
- F02M59/00—Pumps specially adapted for fuel-injection and not provided for in groups F02M39/00 -F02M57/00, e.g. rotary cylinder-block type of pumps
- F02M59/44—Details, components parts, or accessories not provided for in, or of interest apart from, the apparatus of groups F02M59/02 - F02M59/42; Pumps having transducers, e.g. to measure displacement of pump rack or piston
Landscapes
- Engineering & Computer Science (AREA)
- Chemical & Material Sciences (AREA)
- Combustion & Propulsion (AREA)
- Mechanical Engineering (AREA)
- General Engineering & Computer Science (AREA)
- Fuel-Injection Apparatus (AREA)
Abstract
Description
本発明は、電磁力で駆動される電磁弁機構及び自動車の内燃機関用の高圧燃料ポンプに関する。
本発明の高圧燃料ポンプの従来技術として、特許文献1に記載の高圧燃料供給ポンプが知られている。この高圧燃料供給ポンプは、加圧室の上流側の流路の開閉を行う吸入弁と、吸入弁を開閉制御するための電磁コイルとを有する吸入弁機構を備えている。吸入弁機構は、コア(第二コア)に形成された溝に環状部材を挿入固定することにより、ヨークをコアに固定している(要約及び段落0053参照)。
電磁気回路を構成するヨーク(第二ヨーク)は、環状部材が固定コア(第二コア)の溝に挿入されることで固定されているが、各部品の寸法ばらつきを考慮すると、ヨーク(第二ヨーク)と環状部材との間に隙間が形成され、ヨークと環状部材とが接触することで騒音が発生する可能性があった。
また、溝に環状部材を軸方向から挿入する場合、溝に嵌めるためには挿入開始点では締め代が存在し、環状部材を溝に嵌めるための荷重が過大となる。また、環状部材を溝に径方向から挿入する場合、径方向と直交する軸方向においてヨーク(第一ヨーク)が環状溝とオーバラップする位置に設けられているため、環状部材とヨーク(第一ヨーク)とが干渉する。このため、環状部材をコア(第二コア)に挿入する組立作業が簡単ではなかった。なお、締め代は環状部材の内径とヨークの外径との差分であり、環状部材の内径はヨークの外径よりも小さい。
本発明の目的は、騒音の発生を抑制でき、組立性を向上させた吸入弁機構を有する高圧燃料ポンプを提供することにある。
上記課題を達成するとために本発明は、大径部と小径部とを有し磁気吸引力により可動コアを吸引する固定コアと、前記小径部の径方向外側に配置され前記大径部の軸方向外側に配置される第2ヨークと、を備えた電磁弁機構において、前記第2ヨークの軸方向外側部に押し付けられて固定されるとともに前記小径部の外周部に圧入される圧入部材を備える。
本発明によれば、簡易な構造で第2ヨークを固定コアに固定でき、かつ第2ヨークと固定コアによる騒音の発生を抑制することができる。これにより、騒音の発生を抑制でき、組立性を向上させた吸入弁機構を有する高圧燃料供給ポンプを提供することが可能となる。
上記した以外の課題、構成及び効果は、以下の実施形態の説明により明らかにされる。
以下、図面を参照しながら本発明の実施例を詳細に説明する。
[エンジンシステムの構成]
最初に、図1を参照して、エンジンシステムの構成と動作を説明する。図1は、本発明に係る高圧燃料ポンプ100を含む、システムの全体構成を示す図である。破線で囲まれた部分1が高圧燃料ポンプ100の本体(ポンプボディ)を示し、この破線の中に示されている機構及び部品はポンプボディ1に一体に組み込まれていることを示す。なお高圧燃料ポンプ100は燃料供給ポンプを構成する。
最初に、図1を参照して、エンジンシステムの構成と動作を説明する。図1は、本発明に係る高圧燃料ポンプ100を含む、システムの全体構成を示す図である。破線で囲まれた部分1が高圧燃料ポンプ100の本体(ポンプボディ)を示し、この破線の中に示されている機構及び部品はポンプボディ1に一体に組み込まれていることを示す。なお高圧燃料ポンプ100は燃料供給ポンプを構成する。
燃料タンク20の燃料は、エンジンコントロールユニット27(以下ECUと称す)からの信号に基づきフィードポンプ21によって汲み上げられる。この燃料は適切なフィード圧力に加圧されて吸入配管28を通して高圧燃料ポンプ100の低圧燃料吸入口10aに送られる。
低圧燃料吸入口10aから吸入ジョイント51(図3参照)を通過した燃料は金属ダンパ9(圧力脈動低減機構)、吸入通路10dを介して容量可変機構を構成する電磁吸入弁機構300の吸入ポート31bに至る。
電磁吸入弁機構300に流入した燃料は、吸入弁30を通過し加圧室11に流入する。エンジン(内燃機関)のカム93(図2参照)によりプランジャ2に往復運動する動力が与えられる。プランジャ2の往復運動により、プランジャ2の下降行程には吸入弁30から燃料を吸入し、上昇行程には、燃料が加圧される。加圧された燃料は、吐出弁機構8及び燃料吐出口12を介し、圧力センサ26が装着されているコモンレール23へ圧送される。そしてECU27からの信号に基づきインジェクタ24がエンジンへ燃料を噴射する。本実施例はインジェクタ24がエンジンのシリンダ筒内に直接、燃料を噴射する、いわゆる直噴エンジンシステムに適用される燃料供給ポンプである。
高圧燃料ポンプ100は、ECU27から電磁吸入弁機構300への信号により、所望の燃料流量を吐出する。
[燃料供給ポンプの構成]
次に、図2~図5を用いて、高圧燃料ポンプ100の構成を説明する。
次に、図2~図5を用いて、高圧燃料ポンプ100の構成を説明する。
図2は、本発明に係る高圧燃料ポンプ100の一実施例について、プランジャ2の軸方向に切断して示す全体断面図である。図3は、本発明に係る高圧燃料ポンプ100の一実施例について、プランジャ2の軸方向に垂直な方向に切断して示す全体断面図であり、吸入ジョイント51(低圧燃料吸入口10a)の中心軸51a及び吐出ジョイント60(燃料吐出口12)の中心軸60aを含む断面図である。図4は、本発明に係る高圧燃料ポンプ100一実施例について、図1とは別の角度の全体断面図であり、吸入ジョイント51(低圧燃料吸入口10a)の中心軸を含む断面図である。
図2に示すように、高圧燃料ポンプ100は、金属ダンパ9と、金属ダンパ9を収容するダンパ収容部1pが形成されるポンプボディ1(ポンプ本体)と、ポンプボディ1に取付けられ、ダンパ収容部1pを覆うと共に金属ダンパ9をポンプボディ1との間に保持するダンパカバー14と、ダンパカバー14に固定され、ダンパカバー14と反対側から金属ダンパ9を保持する保持部材9aと、を備えている。保持部材9aは金属ダンパ9とポンプボディ1との間に配置され、ポンプボディ1の側から金属ダンパ9を保持する。
高圧燃料ポンプ100は、ポンプボディ1に設けられた取付けフランジ1e(図3参照)を用い、内燃機関のポンプ取付け部90に密着するようにして、複数のボルトで固定される。
図2に示すように、ポンプ取付け部90とポンプボディ1との間のシールのためにOリング61がポンプボディ1の溝に嵌め込まれ、Oリング61はエンジンオイルが外部に漏れるのを防止する。
ポンプボディ1にはプランジャ2の往復運動をガイドし、ポンプボディ1と共に加圧室11を形成するシリンダ6が取り付けられている。また燃料を加圧室11に供給するための電磁吸入弁機構300と加圧室11から吐出通路に燃料を吐出するための吐出弁機構8(図3参照)が設けられている。
シリンダ6は、図1に示すように、その外周側がポンプボディ1に圧入され、さらに固定部6aにおいてポンプボディ1が内周側に変形されることにより、図中上方向へ押圧され、シリンダ6の上端面とポンプボディ1との間で加圧室11にて加圧された燃料が低圧側に漏れないようシールしている。
プランジャ2の下端には、内燃機関のカムシャフトに取り付けられたカム93(カム機構)の回転運動を上下運動に変換し、プランジャ2に伝達するタペット92が設けられている。プランジャ2はリテーナ15を介してばね4にてタペット92に圧着されている。これによりカム93の回転運動に伴い、プランジャ2を上下に往復運動させることができる。
また、シールホルダ7の内周下端部に保持されたプランジャシール13がシリンダ6の図中下方部においてプランジャ2の外周に摺動可能に接触する状態で設置されている。これにより、プランジャ2が摺動したとき、副室7aの燃料をシールして燃料が内燃機関内部へ流入するのを防ぐ。同時に内燃機関内の摺動部を潤滑する潤滑油(エンジンオイルも含む)がポンプボディ1の内部に流入するのを防止する。
高圧燃料ポンプ100のポンプボディ1の側面部には吸入ジョイント51が取り付けられている。吸入ジョイント51は、車両の燃料タンク20からの燃料を供給する低圧配管(吸入配管)28に接続されており、燃料はここから高圧燃料ポンプ100の内部に供給される。吸入ジョイント51内の吸入フィルタ52(図4参照)は、燃料タンク20から低圧燃料吸入口10aまでの間に存在する異物を燃料の流れによって高圧燃料ポンプ100内に吸収することを防ぐ役目がある。
吸入ジョイント51の低圧燃料吸入口10aを通過した燃料は、図1に示すように、金属ダンパ9及び吸入通路10d(低圧燃料流路)を介して電磁吸入弁機構300の吸入ポート31bに至る。
図5に基づいて電磁吸入弁機構300について詳細に説明する。図5は、図1の電磁吸入弁機構300の部分を拡大した断面図である。
コイル部は、第1ヨーク42、電磁コイル43、第2ヨーク44、ボビン45、端子46(図2参照)、及びコネクタ47(図2参照)から成る。ボビン45に銅線が複数回巻かれた電磁コイル43が、第1ヨーク42と第2ヨーク44により取り囲まれる形で配置され、樹脂部材であるコネクタ47と一体にモールドされ固定される。二つの端子46のそれぞれの一端部は電磁コイル43の銅線の両端にそれぞれ通電可能に接続される。端子46もコネクタ47と一体にモールドされ、他端部がエンジン制御ユニット27側と電気的に接続可能な構成となっている。
コイル部は第1ヨーク42の中心部の穴部42aが、アウターコア38に圧入され固定される。その時、第2ヨーク44の内径側(内周側)は、固定コア39と接触もしくは僅かなクリアランスで近接する構成となる。
第1ヨーク42及び第2ヨーク44は共に、磁気回路を構成するために、また耐食性を考慮して磁性ステンレス材料で製作される。ボビン45及びコネクタ47は強度特性及び耐熱特性を考慮して、高強度耐熱樹脂で製作される。電磁コイル43は銅で製作される。端子46は真鍮に金属めっきを施した物が使用される。
電磁吸入弁機構300は、アウターコア38、第1ヨーク42、第2ヨーク44、固定コア39、及びアンカー部36で磁気回路を形成し、電磁コイル43に電流を与えると、固定コア39とアンカー部36との間に磁気吸引力が発生し、アンカー部36が固定コア39に引き寄せられる力が発生する。固定コア39とアンカー部36とが磁気吸引力を発生させる軸方向部位の外周を取り囲む環状部材49を極力薄肉にすることで、磁束のほぼ全てが固定コア39とアンカー部36との軸方向における対向面の間を通過するため、効率良く磁気吸引力を得ることができる。
電磁吸入弁機構300における軸方向はロッド35の軸方向(長手方向)に一致し、アンカー部36及びロッド35の移動方向(変位方向)に一致する。また、この軸方向は吸入弁30の開閉弁方向に一致する。
ソレノイド機構部は、可動部であるロッド35及びアンカー部36と、固定部であるロッドガイド37、アウターコア38及び固定コア39と、ロッド付勢ばね40と、アンカー部付勢ばね41と、を備えて構成される。
可動部であるロッド35及びアンカー部36は、別部材で構成されている。ロッド35はロッドガイド37の内周側で軸方向に摺動自在に保持され、アンカー部36は内周側がロッド35の外周側に摺動自在に保持される。すなわち、ロッド35及びアンカー部36は共に、幾何学的に規制される範囲で軸方向に摺動可能に構成されている。
アンカー部36は燃料中で軸方向に自在に滑らかに動くために、軸方向(移動方向)に貫通する貫通穴36aを1つ以上有し、アンカー部36の移動において、移動方向の前後の圧力差が抵抗力として作用するのを極力排除している。
ロッドガイド37は、径方向には、ポンプボディ1の吸入弁30が挿入される穴1aの内周側に挿入され、ポンプボディ1に溶接部w1で溶接固定されるアウターコア38とポンプボディ1との間に挟み込まれる形で配置される構成としている。ロッドガイド37にもアンカー部36と同様に軸方向に貫通する貫通穴37aが設けられ、アンカー部36が自在に滑らかに動くことができる様、アンカー部36側の燃料室の圧力がアンカー部36の動きを妨げない様に構成している。
アウターコア38は、ポンプボディ1と溶接される部位w1との反対側の形状が薄肉円筒形状に形成されており、その外周側に環状部材49が溶接部w2により溶接固定される。環状部材49は固定コア39の外周側に溶接部w3により溶接固定され、アウターコア38と固定コア39とを連結する。固定コア39の内周側にはロッド付勢ばね40が配置されている。ロッド付勢ばね40は固定コア39とロッドつば部35aとの間に圧縮状態で配置され、ロッド35が吸入弁30と接触して吸入弁30を吸入弁シート部31aから引き離す方向に、すなわち吸入弁30の開弁方向にロッド35を付勢する。
一方、吸入弁30は吸入弁ストッパ32に保持された吸入弁付勢ばね33により閉弁方向に付勢されることで、ロッド35の吸入弁側端部に当接している。この場合、吸入弁付勢ばね33の付勢力はロッド付勢ばね40の付勢力よりも小さいため、ロッド35は吸入弁30を開弁状態に保持する。
アンカー部付勢ばね41は、ロッドガイド37の中心側に設けた円筒形の中央軸受部37bに一端部を挿入して中央軸受部37bと同軸を保ちながら、アンカー部36に対してロッドつば部35a方向に付勢力を与える配置としている。アンカー部36の移動量g1は吸入弁30の移動量g2よりも大きく設定される。確実に吸入弁30が閉弁するためである。
ロッド35及びロッドガイド37には、お互い摺動するため、またロッド35は吸入弁30と衝突を繰返すため、硬度と耐食性を考慮してマルテンサイト系ステンレスに熱処理を施したものを使用する。アンカー部36及び固定コア39は磁気回路を形成するため磁性ステンレスを用いる。ロッド付勢ばね40及びアンカー部付勢ばね41には耐食性を考慮してオーステナイト系ステンレスを用いる。なお本実施例では、ロッドガイド37は吸入弁シート部31aが形成された吸入弁シート部材31と一体に形成されている。
本実施例では、吸入弁部とソレノイド機構部は、3つのばねが有機的に配置されて構成される。吸入弁部に構成される吸入弁付勢ばね33、ソレノイド機構部に構成されるロッド付勢ばね40、及びアンカー部付勢ばね41がこれに相当する。本実施例ではいずれのばねもコイルばねを使用しているが付勢力を得られる形態であればいかなるものでも構成可能である。
ここで、高圧燃料ポンプ100の動作について、説明する。
カム93の回転により、プランジャ2がカム93の方向に移動して吸入行程状態にあるときは、加圧室11の容積は増加して加圧室11内の燃料圧力が低下する。この行程で加圧室11内の燃料圧力が吸入ポート31bの圧力よりも低くなると、吸入弁30は開弁して開口状態になる。図4に示すように、燃料は吸入弁30の開口部30eを通り、加圧室11に流入する。
プランジャ2は吸入行程を終了した後、上昇運動に転じ、圧縮行程に移る。ここで電磁コイル43は無通電状態を維持したままであり、アンカー部36に磁気付勢力は作用しない。ロッド付勢ばね40は、無通電状態において吸入弁30を開弁維持するのに必要十分な付勢力を有するよう設定されている。加圧室11の容積は、プランジャ2の圧縮運動に伴い減少するが、この状態では、一度、加圧室11に吸入された燃料が、再び開弁状態の吸入弁30の開口部30eを通して吸入通路10dへと戻されるので、加圧室11の圧力が上昇することは無い。この行程を戻し行程と称する。
この状態で、ECU27からの制御信号が電磁吸入弁機構300に印加されると、電磁コイル43には端子46を介して電流が流れる。すると、固定コア39とアンカー部36との間に磁気吸引力が作用し、磁気付勢力がロッド付勢ばね40の付勢力に打ち勝つとロッド35が吸入弁30から離れる方向(閉弁方向)に移動する。よって、吸入弁付勢ばね33による付勢力と燃料が吸入通路10dに流れ込むことによる流体力とにより、吸入弁30が閉弁する。閉弁後、加圧室11の燃料圧力はプランジャ2の上昇運動と共に上昇し、燃料吐出口12の圧力以上になると、吐出弁機構8を介して高圧燃料の吐出が行われ、高圧燃料がコモンレール23へと供給される。この行程を吐出行程と称する。
すなわち、プランジャ2の圧縮行程(下始点から上始点までの間の上昇行程)は、戻し行程と吐出行程とからなる。そして、電磁吸入弁機構300の電磁コイル43への通電タイミングを制御することで、吐出される高圧燃料の量を制御することができる。電磁コイル43へ通電するタイミングを早くすれば、圧縮行程中の、戻し行程の割合が小さく、吐出行程の割合が大きくなる。すなわち、吸入通路10dに戻される燃料が少なくなり、高圧吐出される燃料は多くなる。一方、通電するタイミングを遅くすれば、圧縮行程中の、戻し行程の割合が大きく、吐出行程の割合が小さくなる。すなわち、吸入通路10dに戻される燃料が多くなり、高圧吐出される燃料は少なくなる。電磁コイル43への通電タイミングは、ECU27からの指令によって制御される。
以上のように電磁コイル43への通電タイミングを制御することで、高圧吐出される燃料の量を内燃機関が必要とする量に制御することが出来る。
図3に戻り、吐出弁機構8について説明する。
加圧室11の出口に設けられた吐出弁機構8は、図3に示すように、吐出弁シート8a、吐出弁シート8aと離接する吐出弁8b、吐出弁8bを吐出弁シート8aに向かって付勢する吐出弁ばね8c、及び吐出弁8bのストローク(移動距離)を決める吐出弁ストッパ8dから構成される。吐出弁ストッパ8dとポンプボディ1は当接部8eで溶接により接合され、燃料の外部への漏出が遮断される。
加圧室11と吐出弁室12aに燃料差圧が無い状態では、吐出弁8bは吐出弁ばね8cによる付勢力で吐出弁シート8aに圧着され閉弁状態となっている。加圧室11の燃料圧力が、吐出弁室12aの燃料圧力よりも大きくなったときに初めて、吐出弁8bは吐出弁ばね8cに逆らって開弁する。そして、加圧室11内の高圧の燃料は吐出弁室12a、燃料吐出通路12b、及び燃料吐出口12を経てコモンレール23へと吐出される。
吐出弁8bは開弁した際、吐出弁ストッパ8dと接触し、ストロークが制限される。したがって、吐出弁8bのストロークは吐出弁ストッパ8dによって適切に決定される。これによりストロークが大きすぎて、吐出弁8bの閉じ遅れにより、吐出弁室12aへ高圧吐出された燃料が、再び加圧室11内に逆流してしまうことを防止でき、高圧燃料ポンプ100の効率低下を抑制できる。また、吐出弁8bが開弁および閉弁運動を繰り返すときに、吐出弁8bがストローク方向にのみ運動するように、吐出弁8bは吐出弁ストッパ8dの外周面にてガイドされている。以上のようにすることで、吐出弁機構8は燃料の流通方向を制限する逆止弁となる。
なお、加圧室11は、ポンプボディ1(ポンプハウジング)、電磁吸入弁機構300、プランジャ2、シリンダ6、及び吐出弁機構8にて構成される。
図2を参照して、金属ダンパ9について説明する。
図2に示すように、低圧燃料室10には、高圧燃料ポンプ100内で発生した圧力脈動が吸入配管28(燃料配管)へ波及するのを低減させるように、金属ダンパ9が設置されている。一度、加圧室11に流入した燃料が、容量制御のため再び開弁状態の吸入弁30(吸入弁体)を通して吸入通路10dへと戻される場合、吸入通路10dへ戻された燃料により低圧燃料室10には圧力脈動が発生する。しかし、低圧燃料室10に設けた金属ダンパ9は、波板状の2枚の円盤型金属板をその外周で張り合わせ、内部にアルゴンのような不活性ガスを注入した金属ダイアフラムダンパで形成されており、圧力脈動はこの金属ダンパが膨張・収縮することで吸収低減される。
プランジャ2は、大径部2aと小径部2bを有し、プランジャ2の往復運動によって副室7aの体積は増減する。副室7aは燃料通路10e(図4参照)により低圧燃料室10と連通している。プランジャ2の下降時は、副室7aから低圧燃料室10へ、上昇時は、低圧燃料室10から副室7aへと燃料の流れが発生する。
このことにより、ポンプの吸入行程もしくは、戻し行程におけるポンプ内外への燃料流量を低減することができ、高圧燃料ポンプ100は内部で発生する圧力脈動を低減する機能を有している。
次に、図2、3を参照して、リリーフ弁機構200について説明する。
リリーフ弁機構200はリリーフボディ201、リリーフ弁202、リリーフ弁ホルダ203、リリーフばね204、及びばねストッパ205からなる。リリーフボディ201には、テーパ形状のシート部が設けられている。バルブ202はリリーフばね204の荷重がバルブホルダ203を介して負荷され、リリーフボディ201のシート部に押圧され、シート部と協働して燃料を遮断している。リリーフ弁202の開弁圧力はリリーフばね204の荷重によって決定される。ばねストッパ205はリリーフボディ201に圧入固定されており、圧入固定の位置によってリリーフばね204の荷重が調整される。
ここで、加圧室11の燃料が加圧されて吐出弁8bが開弁すると、加圧室11内の高圧の燃料は吐出弁室12a及び燃料吐出通路12bを通って、燃料吐出口12から吐出される。燃料吐出口12は吐出ジョイント60に形成されており、吐出ジョイント60はポンプボディ1に溶接部62にて溶接固定されている。
高圧燃料ポンプの電磁吸入弁機構300の故障等により、燃料吐出口12の圧力が異常に高圧になり、リリーフ弁機構200のセット圧力より大きくなると、異常高圧となった燃料はリリーフ通路210を介して加圧室11にリリーフされる。
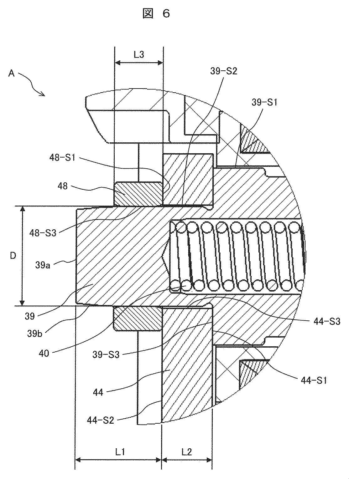
以下、本実施例の電磁吸入弁機構300の構造について、図5、6を用いて詳しく説明する。図6は、図1の丸枠Aで囲われた電磁吸入弁機構300の部分を拡大した断面図である。
固定コア39は、大径部39-S1と、小径部39-S2と、大径部39-S1と小径部39-S2との間の段差面39-S3と、を有する。電磁コイル43を三方から囲むヨークは第1ヨーク42と第2ヨーク44とからなる。第一ヨーク42は、電磁コイル43及び前記第2ヨークの径方向外側に配置される周面部42aと、周面部42aの軸方向における一端部(第2ヨーク44とは反対側の端部)から径方向内側に向かう端面部42bとを有する。第一ヨーク42の周面部42aの他端部(軸方向先端部)42cは第2ヨーク44よりも軸方向外側に位置する。第2ヨーク44は小径部39-S2の径方向外側に配置され、大径部39-S1の軸方向外側(磁気吸引面Sとは反対側)に配置される。第2ヨーク44は、一端面(軸方向内側面、軸方向内側部)44-S1が固定コア39の段差面39-S3と当接するように、また他端面(軸方向外側面、軸方向外側部)44-S2に圧入部材(固定リング)48が当接するようにして、固定コア39の小径部39-S2径方向外側に固定されている。圧入部材48は小径部39-S2の外周部に圧入され、一端面(軸方向内側面、軸方向内側部)48-S1が第2ヨーク44に対して軸方向外側から押し付けられて、第2ヨーク44を固定コア39の段差面39-S3に押し付ける。このとき、圧入部材48の内周面48-S3は小径部39-S2の外周部に接触しているが、第2ヨーク44の内周面44-S3は小径部39-S2の外周部との間にクリアランスを有する。
すなわち本実施例の電磁弁機構(電磁吸入弁機構)300は、大径部39-S1と小径部39-S2とを有し、磁気吸引力により可動コア(アンカー部)36を吸引する固定コア39と、小径部39-S2の径方向外側に配置され、大径部39-S1の軸方向外側に配置される第2ヨーク(径方向ヨーク部材)44とを備えた電磁弁機構(電磁吸入弁機構)において、ヨーク部材(第2ヨーク)44の軸方向外側部44-S2に押し付けられて固定されるとともに小径部39-S2の外周部に圧入される圧入部材(固定リング)48が構成される。なお、本実施例の電磁吸入弁機構300は、高圧燃料ポンプ100の吸入弁30を駆動する電磁弁機構以外の電磁弁機構として用いることもできる。
これにより、第2ヨーク44と固定コア39との間の磁路部分に隙間を生ずることなく第2ヨークを固定することが可能となり、第2ヨーク44と固定コア39とによる騒音の発生を抑制することが可能となる。
この場合、圧入部材48は第2ヨーク44の軸方向外側部44-S2に直接当接し、前記第2ヨーク44の軸方向内側部44-S1は小径部39-S2と大径部39-S1との段差面39-S3に直接当接するようにするとよい。これにより、部品点数を減らし、構造を簡素化できる。
また、圧入部材(固定リング)48が圧入される小径部39-S2の外径部の直径Dに対する圧入部材(固定リング)48の圧入部の軸方向長さLの比(D/L)が1/6~1.1/2の範囲となるように構成されるのが好ましい。これにより、磁気吸引力により固定コア39に吸引された可動コア36が固定コア39に衝突した際の荷重以上の圧入荷重を得ることが可能となり、高圧燃料ポンプ100の作動中に圧入部材(固定リング)48が固定コア39から脱落しないようにすることができる。D/Lが上記の範囲以下であると、圧入部材(固定リング)48の固定力が固定コア39と可動コア36の衝突力以下となり、圧入部材(固定リング)48が固定コア39から脱落する虞がある。
また、電磁吸入弁機構300は、固定コア39の軸方向内側(磁気吸引面S側)の外径部(外周部)とアウターコア38の固定コア39側の外径部(外周部)とを溶接により固定する環状部材49を有しており、D/Lが上記範囲以上となると、許容外の荷重が環状部材49に負荷され、環状部材49に変形が生じる可能性がある。環状部材49の変形は、最悪の場合、外部燃料漏れにつながってしまう虞があり、高圧燃料ポンプとしての信頼性が損なわれる可能性がある。
また、磁気吸引力を発生させる電磁コイル43と、電磁コイル43及び第2ヨーク44の径方向外側に配置される第一ヨークと、を備え、圧入部材(固定リング)48は、軸方向において第2ヨーク44の軸方向外側部44-S2から第1ヨーク42の軸方向先端部42cを越える位置まで設けてもよい。この場合、図5のδ1が構成される。これにより必要な圧入長を得られるだけでなく、組立時に使用する治具形状の自由度が高く、圧入部材(固定リング)48を第2ヨーク44に押し付けて組み立てることが容易となる。
また、上記圧入長を大きくするために、第2ヨーク44の軸方向外側部44-S2から固定コア39の小径部39-S2の軸方向外側端部39aまでの軸方向における長さL1を第2ヨーク44の厚みL2よりも大きくするような構成としてもよい。これにより必要な圧入長を得られるだけでなく、後述するテーパ面39bを形成する長さを確保できる。
また、固定コア39の小径部39-S2は、軸方向において圧入部材(固定リング)48の先(軸方向外側)に先端側(軸方向外側)に向かうにつれて径が小さくなるテーパ面39bを有することが好ましい。これにより、圧入部材(固定リング)48を圧入する際に、圧入部材(固定リング)48の傾きを抑制し、圧入開始時のかじりの誘発を抑制することが可能となる。また圧入部材48を固定コア39の小径部39-S2に嵌め合わせるのが容易になり、圧入の作業効率が向上する。
また、圧入部材(固定リング)48の軸方向長さ(厚み)L3は、第2ヨーク44の厚みL2とほぼ同じになるように構成にしてもよい。これにより、圧入部材48の圧入長が長くなり、第2ヨーク44の固定力を大きくすることができる。
また、固定コア39が主成分の鉄(Fe)に、0.010質量%の炭素(C)、0.77質量%のシリコン(Si)、0.29質量%のマンガン(Mn)、0.031質量%のリン(P)、0.02質量%の硫黄(S)、0.10質量%のクロム(Cr)、0.01質量%の銅(Cu)、0.19質量%のニッケル(Ni)、0.27質量%のアルミニウム(Al)、13.99質量%のクロムおよび0.008質量%の窒素(N)を成分として含む材料により構成されてもよい。これにより、固定コア39は、高い磁気特性を持ちつつ、優れた伸び率を持つことが可能となり、圧入部材(固定リング)48を圧入することが容易となる。
また、固定コア39の軸方向内側に配置されたアウターコア38と、固定コア39の外周部とアウターコア38の外周部とを溶接により固定する環状部材49と、を備える構成にしてもよい。
また、プランジャ2が往復運動することで容積が変化する加圧室11と、加圧室11の吐出側に配置される吐出弁機構8と、加圧室11の吸入側に配置される電磁吸入弁機構300と、を備えた高圧燃料ポンプ100において、電磁吸入弁機構300は図5,6を用いて説明した電磁弁機構により構成するとよい。これにより、電磁吸入弁機構300から発生する騒音が抑制され、静かな高圧燃料ポンプ100を提供できる。この高圧燃料ポンプ100を自動車の内燃機関に搭載した場合、高圧燃料ポンプ100の作動音が気になることがなくなり、乗り心地が向上する。
また本実施例の電磁弁機構300は、大径部39-S1、小径部39-S2及び大径部39-S1と小径部39-S2との間の段差面39-S3を有し磁気吸引力により可動コア(アンカー部)36を吸引する固定コア39と、小径部39-S2の径方向外側に配置され大径部39-S1の軸方向外側に配置される第2ヨーク44と、を備えた電磁弁機構において、小径部39-S2の外周部に圧入されて第2ヨーク44を固定する圧入部材48を備え、第2ヨーク44は段差面39-S3に当接して軸方向内側に向かう変位が規制され、圧入部材48は第2ヨーク44の軸方向外側部44-S2に当接して軸方向内側に向かう変位が規制された状態で小径部39-S2に対する軸方向位置が決められる。これにより、第2ヨーク44や圧入部材48の位置が構造によって予め規定されないため、部品の寸法精度管理が容易になる。
電磁吸入弁機構100の組立方法について説明する。
(1)固定コア39と環状部材49とを圧入により固定する。
(2)アウターコア38と環状部材49とを圧入により固定する。
※(1)と(2)は順序を逆にすることも可能である。
(3)(1)の圧入部及び(2)の圧入部をそれぞれ溶接により接合する。
(4)ロッド付勢ばね40、ロッド35、アンカー部36、及びアンカー付勢ばね41を、固定コア39、環状部材49及びアウターコア38の組体に組み付ける。
(5)ロッドガイド37とアウターコア38とを圧入固定する。
(6)吸入弁30及び吸入弁付勢ばね33と組み付けた吸入弁ストッパ32をロッドガイド37に圧入固定する。
(7)(1)~(6)で組み立てられた組体をポンプボディ1に圧入固定する。
(8)アウターコア38とポンプボディ1を溶接部w1で溶接接合する。
(9)第一ヨーク42及び電磁コイル43をアウターコア38に圧入固定する。
(10)第2ヨーク44に固定コア39の小径部39-S2を挿入して固定コア39に第2ヨーク44を組み付ける。
(11)圧入部材48を固定コア39の小径部39-S2に圧入して、第2ヨーク44を固定コア39に固定する。
(1)固定コア39と環状部材49とを圧入により固定する。
(2)アウターコア38と環状部材49とを圧入により固定する。
※(1)と(2)は順序を逆にすることも可能である。
(3)(1)の圧入部及び(2)の圧入部をそれぞれ溶接により接合する。
(4)ロッド付勢ばね40、ロッド35、アンカー部36、及びアンカー付勢ばね41を、固定コア39、環状部材49及びアウターコア38の組体に組み付ける。
(5)ロッドガイド37とアウターコア38とを圧入固定する。
(6)吸入弁30及び吸入弁付勢ばね33と組み付けた吸入弁ストッパ32をロッドガイド37に圧入固定する。
(7)(1)~(6)で組み立てられた組体をポンプボディ1に圧入固定する。
(8)アウターコア38とポンプボディ1を溶接部w1で溶接接合する。
(9)第一ヨーク42及び電磁コイル43をアウターコア38に圧入固定する。
(10)第2ヨーク44に固定コア39の小径部39-S2を挿入して固定コア39に第2ヨーク44を組み付ける。
(11)圧入部材48を固定コア39の小径部39-S2に圧入して、第2ヨーク44を固定コア39に固定する。
上記の組立方法では、圧入部材48を固定コア39の小径部39-S2に圧入する時点では、固定コア39、環状部材49及びアウターコア38の組付けが完了している。このため、薄肉の環状部材49が圧入部材48の圧入荷重を受けることになる。このため、テーパ面39bを設けることにより、圧入部材48の傾きを抑制し、圧入部材48の圧入時における圧入荷重が大きくならないようにすることが好ましい。また、テーパ面39bでは圧入部材48の圧入荷重を小さくできるため、環状部材49が受ける負荷を軽減できる。
上記説明において、軸方向内側は、固定コア39、第2ヨーク44又は圧入部材48から見て、可動コア(アンカー部)36側又は磁気吸引面S側であり、図5及び図6の図中右側を意味する。また軸方向外側は、固定コア39、第2ヨーク44又は圧入部材48から見て、可動コア(アンカー部)36側とは反対側又は磁気吸引面S側とは反対側であり、図5及び図6の図中左側を意味する。すなわち軸方向外側は、固定コア39の小径部39-S2の端部39a側を意味する。
なお、本発明は上記した実施例に限定されるものではなく、様々な変形例が含まれる。例えば、上記した実施例は本発明を分かりやすく説明するために詳細に説明したものであり、必ずしも全ての構成を備えるものに限定されるものではない。また、実施例の構成の一部について、他の構成の追加・削除・置換をすることが可能である。
2…プランジャ、8…吐出弁機構、11…加圧室、36…アンカー部(可動コア)、38…アウターコア、39…固定コア、39-S1…大径部、39-S2…小径部、39-S3…段差面、39b…テーパ面、42…第1ヨーク、43…電磁コイル、44…第2ヨーク、48…圧入部材(固定リング)、49…環状部材、100…高圧燃料ポンプ、300…電磁吸入弁機構(電磁弁機構)。
Claims (11)
- 大径部と小径部とを有し磁気吸引力により可動コアを吸引する固定コアと、
前記小径部の径方向外側に配置され前記大径部の軸方向外側に配置される第2ヨークと、
を備えた電磁弁機構において、
前記第2ヨークの軸方向外側部に押し付けられて固定されるとともに前記小径部の外周部に圧入される圧入部材を備えた電磁弁機構。 - 請求項1に記載の電磁弁機構において、
前記圧入部材は前記第2ヨークの前記軸方向外側部に直接当接し、前記第2ヨークの軸方向内側部は前記小径部と前記大径部との段差面に直接当接する電磁弁機構。 - 請求項1に記載の電磁弁機構において、
前記圧入部材が圧入される前記小径部の外周部の直径Dに対する前記圧入部材の圧入部の軸方向長さLの比(D/L)が1/6~1.1/2の範囲となるように設定される電磁弁機構。 - 請求項1に記載の電磁弁機構において、
前記磁気吸引力を発生させる電磁コイルと、
前記電磁コイル及び前記第2ヨークの径方向外側に配置される第1ヨークと、を備え、
前記圧入部材は、軸方向において前記第2ヨークの前記軸方向外側部から前記第1ヨークの軸方向先端部を越える位置まで設けられる電磁弁機構。 - 請求項1に記載の電磁弁機構において、
前記第2ヨークの前記軸方向外側部から前記小径部の軸方向外側端部までの軸方向における長さが、前記第2ヨークの厚みよりも大きくなるように構成される電磁弁機構。 - 請求項1に記載の電磁弁機構において、
前記固定コアの前記小径部は、軸方向において前記圧入部材の軸方向外側に軸方向外側に向かうにつれて径が小さくなるテーパ面を有する電磁弁機構。 - 請求項1に記載の電磁弁機構において、
前記圧入部材の軸方向長さが前記第2ヨークの厚みとほぼ同じになるように構成された電磁弁機構。 - 請求項1に記載の電磁弁機構において、
前記固定コアが主成分の鉄(Fe)に、0.010質量%の炭素(C)、0.77質量%のシリコン(Si)、0.29質量%のマンガン(Mn)、0.031質量%のリン(P)、0.02質量%の硫黄(S)、0.10質量%のクロム(Cr)、0.01質量%の銅(Cu)、0.19質量%のニッケル(Ni)、0.27質量%のアルミニウム(Al)、13.99質量%のクロムおよび0.008質量%の窒素(N)を成分として含む材料により構成された電磁弁機構。 - 請求項1に記載の電磁弁機構において、
前記固定コアの軸方向内側に配置されたアウターコアと、
前記固定コアの外周部と前記アウターコアの外周部とを溶接により固定する環状部材と、
を備えた電磁弁機構。 - プランジャが往復運動することで容積が変化する加圧室と、前記加圧室の吐出側に配置される吐出弁機構と、前記加圧室の吸入側に配置される電磁吸入弁機構と、を備えた高圧燃料ポンプにおいて、
前記電磁吸入弁機構は請求項1に記載の電磁弁機構により構成された高圧燃料ポンプ。 - 大径部、小径部及び前記大径部と前記小径部との間の段差面を有し磁気吸引力により可動コアを吸引する固定コアと、
前記小径部の径方向外側に配置され前記大径部の軸方向外側に配置される第2ヨークと、
を備えた電磁弁機構において、
前記小径部の外周部に圧入されて前記第2ヨークを固定する圧入部材を備え、
前記第2ヨークは、前記段差面に当接して軸方向内側に向かう変位が規制され、
前記圧入部材は、前記第2ヨークの軸方向外側に当接して軸方向内側に向かう変位が規制された状態で前記小径部に対する軸方向位置が決められる電磁弁機構。
Priority Applications (2)
| Application Number | Priority Date | Filing Date | Title |
|---|---|---|---|
| JP2018201679A JP2022017607A (ja) | 2018-10-26 | 2018-10-26 | 電磁弁機構及び高圧燃料ポンプ |
| PCT/JP2019/039247 WO2020085041A1 (ja) | 2018-10-26 | 2019-10-04 | 電磁弁機構及び高圧燃料ポンプ |
Applications Claiming Priority (1)
| Application Number | Priority Date | Filing Date | Title |
|---|---|---|---|
| JP2018201679A JP2022017607A (ja) | 2018-10-26 | 2018-10-26 | 電磁弁機構及び高圧燃料ポンプ |
Publications (1)
| Publication Number | Publication Date |
|---|---|
| JP2022017607A true JP2022017607A (ja) | 2022-01-26 |
Family
ID=70330304
Family Applications (1)
| Application Number | Title | Priority Date | Filing Date |
|---|---|---|---|
| JP2018201679A Pending JP2022017607A (ja) | 2018-10-26 | 2018-10-26 | 電磁弁機構及び高圧燃料ポンプ |
Country Status (2)
| Country | Link |
|---|---|
| JP (1) | JP2022017607A (ja) |
| WO (1) | WO2020085041A1 (ja) |
Family Cites Families (3)
| Publication number | Priority date | Publication date | Assignee | Title |
|---|---|---|---|---|
| JP5638971B2 (ja) * | 2011-01-28 | 2014-12-10 | 株式会社デンソー | 電磁駆動装置及び高圧ポンプ |
| EP3315760B1 (en) * | 2015-06-25 | 2021-09-29 | Hitachi Astemo, Ltd. | Flow rate control valve and high-pressure fuel supply pump |
| JP6689178B2 (ja) * | 2016-11-30 | 2020-04-28 | 日立オートモティブシステムズ株式会社 | 高圧燃料供給ポンプ |
-
2018
- 2018-10-26 JP JP2018201679A patent/JP2022017607A/ja active Pending
-
2019
- 2019-10-04 WO PCT/JP2019/039247 patent/WO2020085041A1/ja not_active Ceased
Also Published As
| Publication number | Publication date |
|---|---|
| WO2020085041A1 (ja) | 2020-04-30 |
Similar Documents
| Publication | Publication Date | Title |
|---|---|---|
| JP6869005B2 (ja) | 燃料供給ポンプ | |
| CN102197212A (zh) | 高压燃料供给泵 | |
| JP6779370B2 (ja) | 高圧燃料ポンプ | |
| JP2018087548A (ja) | 高圧燃料供給ポンプ | |
| CN111373139A (zh) | 高压燃料泵 | |
| CN109072843B (zh) | 高压燃料供给泵的控制装置和高压燃料供给泵 | |
| JP6840238B2 (ja) | 弁機構、電磁吸入弁機構、及び高圧燃料ポンプ | |
| WO2021054006A1 (ja) | 電磁吸入弁及び高圧燃料供給ポンプ | |
| US12085074B2 (en) | Electromagnetic valve mechanism and high-pressure fuel supply pump | |
| US12140113B2 (en) | Electromagnetic valve mechanism and fuel pump | |
| JP2022017607A (ja) | 電磁弁機構及び高圧燃料ポンプ | |
| JP2019094819A (ja) | 高圧燃料供給ポンプ | |
| JP2018100651A (ja) | 弁機構及びこれを備えた高圧燃料供給ポンプ | |
| JP7077212B2 (ja) | 高圧燃料ポンプ | |
| JP2017145731A (ja) | 高圧燃料供給ポンプ | |
| JP2023071061A (ja) | 燃料ポンプ | |
| JP6932629B2 (ja) | 高圧燃料ポンプ | |
| JP7024071B2 (ja) | 燃料供給ポンプ | |
| JP2020041478A (ja) | 高圧燃料供給ポンプ | |
| JP6754902B2 (ja) | 電磁吸入弁、及びこれを備えた高圧燃料ポンプ | |
| WO2017203812A1 (ja) | 燃料供給ポンプ | |
| JP6991112B2 (ja) | 電磁弁機構及びこれを備えた燃料ポンプ | |
| CN110678642A (zh) | 高压燃料供给泵 | |
| WO2023058287A1 (ja) | 電磁吸入弁機構及び燃料ポンプ |
