JP2019200375A - 画像形成装置 - Google Patents

画像形成装置 Download PDF

Info

Publication number
JP2019200375A
JP2019200375A JP2018096070A JP2018096070A JP2019200375A JP 2019200375 A JP2019200375 A JP 2019200375A JP 2018096070 A JP2018096070 A JP 2018096070A JP 2018096070 A JP2018096070 A JP 2018096070A JP 2019200375 A JP2019200375 A JP 2019200375A
Authority
JP
Japan
Prior art keywords
condition
state
photoconductor
type
forming apparatus
Prior art date
Legal status (The legal status is an assumption and is not a legal conclusion. Google has not performed a legal analysis and makes no representation as to the accuracy of the status listed.)
Granted
Application number
JP2018096070A
Other languages
English (en)
Other versions
JP7081297B2 (ja
Inventor
勇介 村上
Yusuke Murakami
勇介 村上
Current Assignee (The listed assignees may be inaccurate. Google has not performed a legal analysis and makes no representation or warranty as to the accuracy of the list.)
Konica Minolta Inc
Original Assignee
Konica Minolta Inc
Priority date (The priority date is an assumption and is not a legal conclusion. Google has not performed a legal analysis and makes no representation as to the accuracy of the date listed.)
Filing date
Publication date
Application filed by Konica Minolta Inc filed Critical Konica Minolta Inc
Priority to JP2018096070A priority Critical patent/JP7081297B2/ja
Priority to US16/408,810 priority patent/US10725411B2/en
Priority to CN201910393386.XA priority patent/CN110501885B/zh
Publication of JP2019200375A publication Critical patent/JP2019200375A/ja
Application granted granted Critical
Publication of JP7081297B2 publication Critical patent/JP7081297B2/ja
Active legal-status Critical Current
Anticipated expiration legal-status Critical

Links

Images

Classifications

    • GPHYSICS
    • G03PHOTOGRAPHY; CINEMATOGRAPHY; ANALOGOUS TECHNIQUES USING WAVES OTHER THAN OPTICAL WAVES; ELECTROGRAPHY; HOLOGRAPHY
    • G03GELECTROGRAPHY; ELECTROPHOTOGRAPHY; MAGNETOGRAPHY
    • G03G15/00Apparatus for electrographic processes using a charge pattern
    • G03G15/14Apparatus for electrographic processes using a charge pattern for transferring a pattern to a second base
    • G03G15/16Apparatus for electrographic processes using a charge pattern for transferring a pattern to a second base of a toner pattern, e.g. a powder pattern, e.g. magnetic transfer
    • G03G15/1605Apparatus for electrographic processes using a charge pattern for transferring a pattern to a second base of a toner pattern, e.g. a powder pattern, e.g. magnetic transfer using at least one intermediate support
    • G03G15/1615Apparatus for electrographic processes using a charge pattern for transferring a pattern to a second base of a toner pattern, e.g. a powder pattern, e.g. magnetic transfer using at least one intermediate support relating to the driving mechanism for the intermediate support, e.g. gears, couplings, belt tensioning
    • GPHYSICS
    • G03PHOTOGRAPHY; CINEMATOGRAPHY; ANALOGOUS TECHNIQUES USING WAVES OTHER THAN OPTICAL WAVES; ELECTROGRAPHY; HOLOGRAPHY
    • G03GELECTROGRAPHY; ELECTROPHOTOGRAPHY; MAGNETOGRAPHY
    • G03G15/00Apparatus for electrographic processes using a charge pattern
    • G03G15/01Apparatus for electrographic processes using a charge pattern for producing multicoloured copies
    • G03G15/0142Structure of complete machines
    • G03G15/0178Structure of complete machines using more than one reusable electrographic recording member, e.g. one for every monocolour image
    • G03G15/0189Structure of complete machines using more than one reusable electrographic recording member, e.g. one for every monocolour image primary transfer to an intermediate transfer belt
    • GPHYSICS
    • G03PHOTOGRAPHY; CINEMATOGRAPHY; ANALOGOUS TECHNIQUES USING WAVES OTHER THAN OPTICAL WAVES; ELECTROGRAPHY; HOLOGRAPHY
    • G03GELECTROGRAPHY; ELECTROPHOTOGRAPHY; MAGNETOGRAPHY
    • G03G15/00Apparatus for electrographic processes using a charge pattern
    • G03G15/50Machine control of apparatus for electrographic processes using a charge pattern, e.g. regulating differents parts of the machine, multimode copiers, microprocessor control
    • G03G15/5008Driving control for rotary photosensitive medium, e.g. speed control, stop position control
    • GPHYSICS
    • G03PHOTOGRAPHY; CINEMATOGRAPHY; ANALOGOUS TECHNIQUES USING WAVES OTHER THAN OPTICAL WAVES; ELECTROGRAPHY; HOLOGRAPHY
    • G03GELECTROGRAPHY; ELECTROPHOTOGRAPHY; MAGNETOGRAPHY
    • G03G15/00Apparatus for electrographic processes using a charge pattern
    • G03G15/50Machine control of apparatus for electrographic processes using a charge pattern, e.g. regulating differents parts of the machine, multimode copiers, microprocessor control
    • G03G15/5029Machine control of apparatus for electrographic processes using a charge pattern, e.g. regulating differents parts of the machine, multimode copiers, microprocessor control by measuring the copy material characteristics, e.g. weight, thickness
    • GPHYSICS
    • G03PHOTOGRAPHY; CINEMATOGRAPHY; ANALOGOUS TECHNIQUES USING WAVES OTHER THAN OPTICAL WAVES; ELECTROGRAPHY; HOLOGRAPHY
    • G03GELECTROGRAPHY; ELECTROPHOTOGRAPHY; MAGNETOGRAPHY
    • G03G2215/00Apparatus for electrophotographic processes
    • G03G2215/00362Apparatus for electrophotographic processes relating to the copy medium handling
    • G03G2215/00535Stable handling of copy medium
    • G03G2215/00717Detection of physical properties
    • G03G2215/00751Detection of physical properties of sheet type, e.g. OHP
    • GPHYSICS
    • G03PHOTOGRAPHY; CINEMATOGRAPHY; ANALOGOUS TECHNIQUES USING WAVES OTHER THAN OPTICAL WAVES; ELECTROGRAPHY; HOLOGRAPHY
    • G03GELECTROGRAPHY; ELECTROPHOTOGRAPHY; MAGNETOGRAPHY
    • G03G2215/00Apparatus for electrophotographic processes
    • G03G2215/01Apparatus for electrophotographic processes for producing multicoloured copies
    • G03G2215/0103Plural electrographic recording members
    • G03G2215/0119Linear arrangement adjacent plural transfer points
    • G03G2215/0122Linear arrangement adjacent plural transfer points primary transfer to an intermediate transfer belt
    • G03G2215/0125Linear arrangement adjacent plural transfer points primary transfer to an intermediate transfer belt the linear arrangement being horizontal or slanted

Landscapes

  • Physics & Mathematics (AREA)
  • General Physics & Mathematics (AREA)
  • Engineering & Computer Science (AREA)
  • Microelectronics & Electronic Packaging (AREA)
  • Control Or Security For Electrophotography (AREA)
  • Electrostatic Charge, Transfer And Separation In Electrography (AREA)
  • Color Electrophotography (AREA)

Abstract

【課題】無駄に色材を消費することなく、立上げを開始した後に動作条件を切り替える場合における画像形成の開始の遅れを低減する。【解決手段】シート状の媒体の種類に応じて設定される動作条件で媒体に画像を形成する画像形成装置は、媒体の搬送経路に設けられたセンサの出力に基づいて媒体の種類が複数の想定された種類のいずれであるかを検知する検知部と、媒体の種類が検知される以前に、複数の想定された種類のうちの1つに対応する動作条件である仮の条件による画像形成の準備が部分的に完了した準立上り状態まで移行し、媒体の種類が検知された後に、検知された種類に対応する動作条件である確定条件による画像形成の準備が完了した立上り状態に移行するよう制御する立上げ制御部と、を有する。【選択図】図9

Description

本発明は、画像形成装置に関する。
プリンタ、複写機、複合機などの画像形成装置は、画像の記録媒体として用いる複数枚のシートがセットされるシート台(トレイまたはカセットなど)を有しており、シート台から装置内の印刷位置へシートを搬送して印刷を行う。
この種の画像形成装置の機能として、シートの種類に応じて動作の条件を適切な画像が得られるように設定する機能が知られている。例えば、電子写真式の画像形成装置において、シートを坪量によって分類することとし、坪量に応じて、搬送速度(プロセス速度)、現像バイアス、転写バイアス、および定着温度などを設定することが行われている。この設定により、ジャム、現像不良、転写不良、および定着不良などを防止することができる。
画像形成装置がシートの種類を取得する方法として、ユーザがシートの種類を幾つかの選択肢(普通紙、厚紙1、厚紙2など)から選択して指定する方法がある。画像形成装置は、ユーザの指定した種類に応じて動作の条件を設定する。
しかし、近年、画像形成装置において使用可能なシートの種類が多様化していることから、ユーザがシートの種類を正しく指定するのが困難になっている。このため、画像形成装置が所定のセンサの出力に基づいて自動的にシートの種類を検知する方法が注目されている。
シートの種類を検知するためのいわゆるメディアセンサをシートの搬送経路に配置する構成が知られている。この構成によると、シートがシート台において重なっている状態では検出しにくい透光性または厚さなどの物理量を検出して種類を判別することができる。また、複数のシート台を有する装置において、シートを取り出すシート台がいずれであっても1つのメディアセンサによりそのシートの種類を検知することができる。
メディアセンサをシートの搬送経路に配置した場合には、印刷ジョブの実行に際して、FPOT(First Print Output Time )を短くするために、センサ位置へのシートの搬送と並行して画像形成の準備(立上げ)が行われる。電子写真式の画像形成装置における画像形成の準備には、感光体を回転させてかつ帯電させるなどの処理が含まれる。
この画像形成の準備では、シートについて想定される複数の種類の1つに対応する動作条件が仮の条件とされ、仮の条件で画像を形成するものとして感光体の回転速度および帯電バイアスなどが設定される。そして、検知したシートの種類が仮の条件に対応する種類と異なる場合には、仮の条件から検知した種類に対応する確定条件に切り替え、確定条件での画像形成が可能になった後に、画像形成が開始される。
画像形成の準備を開始した後に動作条件を切り替える場合における画像形成の開始の遅れを低減するための先行技術として、特許文献1に記載の技術がある。特許文献1には、感光体ドラムの駆動源と中間転写ベルトの駆動源とが異なる画像形成装置において、感光体ドラムと中間転写ベルトとのニップ部にトナーを介在させた状態で感光体ドラムおよび中間転写ベルトの周速度を変更することが開示されている。
特開2013−019946号公報
上に述べた特許文献1の技術によると、仮の条件から確定条件への切替えに際して感光体ドラムと中間転写ベルトとの間で駆動源が異なることに起因して周速度にずれが生じたとしても、感光体ドラムおよび中間転写ベルトの摩耗がトナーの介在により低減される。
しかし、少なくとも動作条件の切替えの直前から切替え後に感光体ドラムおよび中間転写ベルトの回転が安定してこれらの周速度が等しくなるまでの間にわたって、現像器をオンにして色材であるトナーを感光体に付着し続ける必要がある。このため、色材が無駄に消費されてしまうという問題があった。
本発明は、このような問題に鑑みてなされたもので、無駄に色材を消費することなく、立上げを開始した後に動作条件を切り替える場合における画像形成の開始の遅れを低減することを目的とする。
本発明の実施形態に係る画像形成装置は、シート状の媒体の種類に応じて設定される動作条件で前記媒体に画像を形成する画像形成装置であって、前記媒体の搬送経路に設けられたセンサの出力に基づいて前記媒体の種類が複数の想定された種類のいずれであるかを検知する検知部と、前記媒体の種類が検知される以前に、前記複数の想定された種類のうちの1つに対応する動作条件である仮の条件による画像形成の準備が部分的に完了した準立上り状態まで移行し、前記媒体の種類が検知された後に、検知された種類に対応する動作条件である確定条件による画像形成の準備が完了した立上り状態に移行するよう制御する立上げ制御部と、を有する。
本発明によると、無駄に色材を消費することなく、立上げを開始した後に動作条件を切り替える場合における画像形成の開始の遅れを低減することができる。
本発明の一実施形態に係る画像形成装置の構成の概要を示す図である。 シートの種類の検知に関わる操作画面の例を示す図である。 動作条件テーブルの例を示す図である。 画像形成に関わる要部における駆動手段の構成の例を示す図である。 画像形成に関わる要部における駆動手段の構成の例を示す図である。 要部の駆動源と駆動対象との組合せの例を表形式で示す図である。 制御回路の構成を示す図である。 シート判別テーブルの例を示す図である。 改良立上げ制御の第1例を示す図である。 改良立上げ制御の第2例を示す図である。 立上げ制御のタイミングの第1例を示す図である。 立上げ制御のタイミングの第2例を示す図である。 図12の第2例に対する比較例を示す図である。 立上げ制御のタイミングの第3例を示す図である。 図14の第3例に対する比較例を示す図である。 立上げ制御のタイミングの第4例を示す図である。 立上げ制御のタイミングの第5例を示す図である。 立上げ制御のタイミングの第6例を示す図である。 立上げ制御のタイミングの第7例を示す図である。 立上げ制御のタイミングの第8例を示す図である。 立上げ制御のタイミングの第9例を示す図である。 画像形成装置における立上げ制御の処理の流れを示す図である。 条件確定以前の処理の流れを示す図である。 条件確定以後の処理の流れを示す図である。 立上げ制御に関わる設定テーブルの例を示す図である。 立上げ制御に関わる設定テーブルの例を示す図である。 立上げ制御に関わる設定テーブルの例を示す図である。
図1には本発明の一実施形態に係る画像形成装置1の構成の概要が、図2にはシート2の種類の検知に関わる操作画面600,650の例が、図3には動作条件テーブルD10の例が、それぞれ示されている。
図1において、画像形成装置1は、コピー機、プリンタ、ファクシミリ機、イメージリーダなどの機能を集約したMFP(Multi-functional Peripheral :多機能機または複合機)である。
画像形成装置1は、自動原稿送り装置(ADF:Auto Document Feeder)1A、フラットベッド型のスキャナ1B、電子写真方式のカラープリンタ1C、シートキャビネット1D、および操作パネル1Eなどを備える。
シートキャビネット1Dは、給紙トレイ25a,25b,25cを備える三段構成の引出し型である。画像形成装置1の右側面部には、手指しトレイ25dが設けられている。操作パネル1Eは、ユーザによる操作のための画面を表示するタッチパネルディスプレイを有し、入力操作に応じた信号を出力する。この信号に応じて、制御回路100により、画像形成装置1の動作が制御される。
自動原稿送り装置1Aは、原稿トレイにセットされた原稿(シート)をスキャナ1Bの読取り位置へ搬送する。スキャナ1Bは、自動原稿送り装置1Aから搬送されてきたシート状の原稿またはプラテンガラスの上にセットされた各種の原稿から画像を読み取って画像データを生成する。
カラープリンタ1Cは、コピー、ネットワークプリンティング(PCプリント)、ファクシミリ受信、およびボックスプリントなどの印刷ジョブにおいて、シート(記録用の媒体)2の片面または両面にカラーまたはモノクロの画像を形成する。カラープリンタ1Cは、電子写真方式のタンデム型のプリンタエンジン10を備えており、プリンタエンジン10は、4個のイメージングユニット3y,3m,3c,3k、プリントヘッド6、および中間転写ベルト12を有する。
イメージングユニット3y〜3kは、それぞれ筒状の感光体(PC: Photoconductor)4、帯電器5、現像器7、イレーサ8、およびクリーナ9などを有している。イレーサ8は、光照射により感光体4を除電する。クリーナ9は、例えばブレードを当接させて残トナーなどの付着物を感光体4から除去する。イメージングユニット3y〜3kの基本的な構成は同様である。
プリントヘッド6は、イメージングユニット3y〜3kのそれぞれに対してパターン露光を行うためのレーザビームを射出する。プリントヘッド6において、感光体4の回転軸方向にレーザビームを偏向する主走査が行われる。この主走査と並行して、感光体4を定速回転させる副走査が行われる。
中間転写ベルト12は、トナー像の一次転写における被転写体であり、一対のローラ間に巻回されて回転する。中間転写ベルト12の内側には、イメージングユニット3y,3m,3c,3kごとに一次転写ローラ11が配置されている。
カラー印刷モードにおいて、イメージングユニット3y〜3kは、Y(イエロー)、M(マゼンタ)、C(シアン)、およびK(ブラック)の4色のトナー像を並行して形成する。4色のトナー像は、回転中の中間転写ベルト12に順次に一次転写される。最初にYのトナー像が転写され、それに重なるようMのトナー像、Cのトナー像、およびKのトナー像が順次に転写される。
一次転写されたトナー像は、二次転写ローラ16と対向する印刷位置P6において、給紙トレイ25a〜25cのいずれかまたは手指しトレイ25dから取り出されてタイミングローラ15を経て搬送されてきたシート2に二次転写される。すなわち、例えば二次転写ローラ16に印加される転写電圧により静電吸引されて中間転写ベルト12からシート2に移る。二次転写の後、シート2は、定着器17の内部を通過し、排出ローラ18により排紙トレイ19へ送り出される。定着器17を通過するとき、加熱および加圧によってトナー像がシート2に定着する。
モノクロ印刷モードにおいては、4個のイメージングユニット3y〜3kのうち、印刷位置(二次転写位置)P6に最も近いイメージングユニット3kによりトナー像が形成される。つまり、モノクロ印刷色は、K(ブラック)である。他のイメージングユニット3y〜3cではトナー像は形成されない。カラー印刷モードと同様に、一次転写、二次転写、および定着が行われてシート2にモノクロ画像が形成される。
上段の給紙トレイ25a、中段の給紙トレイ25b、および下段の給紙トレイ25cの基本的な構成は同一であり、それぞれに多数枚のシート2(2a,2b,2c)をセットすることができる。セットするとは、給紙トレイに重ねて置いておくことを意味する。
手指しトレイ25dにも多数枚のシート2dを重ねてセットすることができる。シート2dは、給紙トレイ25a〜25cに収まらない長尺シートでもよい。
なお、以下において、給紙トレイ25a〜25cおよび手指しトレイ25dを区別せずに「トレイ25」と記すことがある。
画像形成装置1の内部においてシート2が通る搬送経路30は、4つのトレイ25に1つずつ対応する給紙路31,32,33,34、および共通路35を含んでいる。給紙路31〜34は、それぞれに対応するトレイ25から取り出されたシート2のみが通る経路である。これに対して、共通路35は、セットされたトレイ25が異なるシート2a,2b,2c,2dのいずれもが通る経路、すなわち4つのトレイ25に共通の経路である。本実施形態では、手差しトレイ25dが上段の給紙トレイ25aよりも上側に配置されているので、給紙路34の終端となる合流点P4から排出ローラ18までの経路が共通路35となっている。
画像形成装置1は、シート2の種類を検知するためのメディアセンサ(シート属性センサ)41を備えており、メディアセンサ41の出力に基づいて検知した種類に応じて印刷の動作条件を適切な画像が得られるように設定する。
メディアセンサ41は、共通路35のうちの印刷位置P6に対する上流側の位置、詳しくはタイミングローラ15と合流点P4との間に配置されている。
共通路35に配置することにより、トレイ25の個数にかかわらず、単一のメディアセンサ41によりシート2a,2b,2c,2dの種類を検知することができ、センサの個数の削減による小型化およびコスト低減を図ることができる。
加えて、タイミングローラ15の上流側に配置することにより、種類を検知した後に印刷動作の条件を切り替える場合などにおいて、必要に応じてシート2を印刷位置P6の手前で待機させて切替えの時間を確保することができる。
メディアセンサ41は、種類の判別に用いる情報をシート2から取得する。例えば、メディアセンサ41は、光センサであり、タイミングローラ15に向かって移動中のシート2に検出光を照射し、シート2を透過した検出光の受光量をシート2の坪量を特定する情報として取得する。そして、受光量を示す検出信号を制御回路100に送る。
画像形成装置1は、入力された印刷ジョブの実行を開始する際に、ジョブによる指定に応じていずれかのトレイ25を選択する。例えば、ジョブにより指定されている出力画像サイズに対応するシート2がセットされているトレイ25を選択する。または、ジョブによりトレイ25が指定されている場合は、指定されているトレイ25を選択する。
そして、選択したトレイ25について以前に検知されたシート2の種類を記憶している場合は、記憶している種類に応じた動作条件を設定し、選択したトレイ25からシート2を取り出し、設定した動作条件で印刷を行う。この場合は、メディアセンサ41の出力に基づく種類の検知を行わない。
他方、選択したトレイ25についてシート2の種類を記憶していない場合は、選択したトレイ25からシート2を取り出してタイミングローラ15まで搬送し、その間にメディアセンサ41の出力に基づいてシート2の種類を検知する。そして、検知した種類に応じた動作条件を設定して印刷を行う。なお、連続印刷ジョブにおいては、1枚目のシート2について種類の検知を行い、2枚目以降のシート2については種類の検知を行わない。
画像形成装置1においては、このようにシート2の種類を自動的に検知して印刷の動作条件を設定する「自動モード」と、ユーザが手動入力した種類に応じて動作条件を設定する「手動モード」とが設けられている。ユーザは、次の操作を行うことにより種類を指定することができる。
ユーザによる操作を待つ状態において、操作パネル1Eには図2(A)に示す初期画面600が表示される。ユーザは、初期画面600の用紙ボタン612をタッチし、それにより表示される図示しないトレイ指定画面において、所望のトレイ25を指定する。ユーザがトレイ25を指定すると、図2(B)に示す種類指定画面650が表示される。
種類指定画面650には、自動モード選択ボタン661、手動モード選択ボタン662、および種類選択ボタン671〜677が配置されている。種類選択ボタン671〜677は、坪量により分類された普通紙1、普通紙2、普通紙3、厚紙1、厚紙2、厚紙3、および厚紙4の7個の種類に対応する。
ユーザは、種類を指定したい場合には、手動モード選択ボタン662をタッチして手動モードを指定し、続いて種類選択ボタン671〜677のいずれかをタッチして種類を指定する。手動モードが設定された状態でモード選択ボタン661をタッチすると、自動モードに切り替わる。このような種類の手動入力は、手指しトレイ25dを含む4個のトレイ25のそれぞれについて個別に行うことができる。
画像形成装置1は、ジョブの実行に際して選択したトレイ25に対して手動モードが設定されている場合は、種類の検知を行わない。この場合の動作条件は、ユーザにより指定された種類に対応する動作条件とされる。
動作条件は、図3の動作条件テーブルD10に示される複数の動作条件値Dc(Dc1〜Dc4)の組合せである。図3の例では、7個の種類Dkのそれぞれに、動作条件値Dcとして、プロセス速度(画像形成速度)Vs、定着温度(定着設定温度)Ts、二次転写出力V16、およびカブリマージンVmが対応づけられている。
プロセス速度Vsは、二次転写および定着におけるシート2の搬送速度、感光体4の周速度、および中間転写ベルト12の移動速度などを規定する条件である。図3の例において、普通紙1〜3のプロセス速度Vsは、最も速い290mm/sとされ、厚紙1〜2のプロセス速度Vsは、次に速い210mm/sとされ、厚紙3〜4のプロセス速度Vsは、最も遅い105mm/sとされている。
定着温度Tsは、定着器17における定着ヒータ217による加熱温度であり、二次転写出力V16は、二次転写ローラ16をバイアスする高圧電源回路の出力電圧である。
カブリマージンVmは、下地部にトナーが付着するカブリを防ぐための条件であり、感光体4の帯電電位と現像DC出力との差である。現像DC出力を固定とする場合には、カブリマージンVmは、帯電電位を規定する条件である。カブリマージンVmは、帯電電位を実質的に決定する高圧電源回路の出力電圧(帯電DC出力)の制御により調整される。
シート2の種類Dkの検知を行う場合においては、メディアセンサ41が配置されたセンサ位置へのシート2の搬送と並行して画像形成の準備、すなわち電子写真プロセスの立上げを行う。
この立上げでは、想定されている複数の種類Dkの1つに対応する動作条件を「仮の条件」とし、仮の条件で画像を形成するものとして感光体4の回転速度および帯電電位などを制御する。
本実施形態においては、この仮の条件は可変とされており、予め定められている「初期設定条件」が仮の条件とされたり、初期設定条件を含むすべての動作条件の中から後に述べる設定テーブルを参照して選択される「任意設定条件」が仮の条件とされたりする。
なお、以下において、初期設定条件に対応する種類を「初期設定種類」と記し、任意設定条件に対応する種類を「任意設定種類」と記し、初期設定種類と任意設定種類とを総称して「仮の種類」と記すことがある。
仮の条件での立上げを開始した後に種類Dkが検知され、それによって画像形成に適合する動作条件が確定する。検知した種類Dkである確定種類Dkdが仮の種類Dkpと同一である場合、すなわち確定種類Dkdに対応する「確定条件」と仮の条件とが一致した場合は、仮の条件での立上げを続行する。そして、仮の条件(この場合は確定条件でもある)での画像形成が可能になった後に、画像形成( 潜像形成) を開始する。
これに対して、検知した種類Dk(確定種類Dkd)が仮の種類Dkpと異なる場合には、仮の条件から確定条件に切り替え、確定条件での画像形成が可能になった後に、画像形成を開始する。
図3の動作条件テーブルD10における7個の種類Dkのうち、例えば厚紙3がデフォルトの仮の種類Dkp、すなわち初期設定種類として定められている。この厚紙3は、対応するプロセス速度Vsが最も遅い種類群のうちの1つである。つまり、初期設定条件は、プロセス速度Vsが最も遅い動作条件とされている。
種類Dkを検知する場合にプロセス速度Vsを遅くすることにより、メディアセンサ41の検出可能範囲をシート2が通過する時間が長くなるので、制御周期で行う検出の回数が多くなり、検出の精度が高くなる。また、搬送経路30の構造または搬送用ローラの経時劣化などの上から遅く搬送するのが好ましいシート2を速く搬送したときに起こりやすいジャムを起こりにくくすることができる。
ただし、搬送性能が高くジャムのおそれが小さい場合などでは、プロセス速度Vsが最も遅い種類以外を初期設定種類に定めてもよい。
また、例えばユーザが日常的に使用するシート2の種類Dkがほぼ決まっている場合などでは、その種類Dkを仮の種類Dkpに定めてもよい。その場合は、例えばユーザによる指定に従って、または過去の使用実績に基づいてユーザが最もよく使用するシート2の種類Dkを仮の種類Dkpに定めることができる。
さて、画像形成装置1には、仮の種類Dkpと確定種類Dkdとが異なる場合において、種類Dkを検知してから画像形成を開始するまでの所要時間が従来よりも短くなるよう、画像形成に関わる要部の構成に応じた立上げを実現する機能が設けられている。
以下、この機能を中心に画像形成装置1の構成および動作を説明する。
図4および図5には画像形成に関わる要部における駆動手段の構成の例が、それぞれ示されている。また、図6には要部の駆動源と駆動対象との組合せの例が表形式で示されている。
画像形成装置1においては、図4、図5、および図6に示す5つの構成〔1〕〜〔5〕が択一的に採用される。
構成〔1〕〜〔5〕のいずれにおいても、イメージングユニット3y,3m,3cの感光体4は、共通の駆動源により回転駆動される。以下、これらの3個の感光体4を総称して「カラー感光体4ymc」または「感光体4ymc」と記す。
また、構成〔1〕〜〔5〕のいずれにおいても、イメージングユニット3kの感光体4は、カラー感光体4ymcの駆動源とは異なる駆動源により回転駆動される。以下、イメージングユニット3kの感光体4を「モノクロ感光体4k」または「感光体4k」と記す。
構成〔1〕〜〔5〕のそれぞれの詳細は次の通りである。
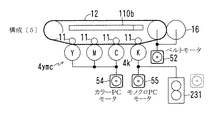
構成〔1〕においては、図4(A)のように、モノクロ感光体4k、中間転写ベルト12、および二次転写ローラ16がメインモータ51により駆動される。カラー感光体4ymcは、カラーPCモータ54により駆動される。給紙搬送部231は、給紙モータ53により駆動される。この給紙搬送部231は、シート2を搬送する機構のうち、トレイ25からタイミングローラ15への搬送を受け持つ部分、つまり種類の検知に関わる部分である。
構成〔1〕においては、カラー感光体4ymcに対応する3個の一次転写ローラ11を一括に移動させることによりカラー感光体4ymcと中間転写ベルト12とを圧接させたり離間させたりする圧接離間機構110aが設けられる。
モノクロ感光体4kに対応する一次転写ローラ11は、モノクロ感光体4kと中間転写ベルト12とが常に圧接するよう固定配置される。これにより構造を簡単化して製造コストを低減することができる。ただし、モノクロ感光体4kと中間転写ベルト12との圧接/離間を可能にする機構を設けてもよい。
構成〔1〕における感光体4ymc,4kと中間転写ベルト12との圧接/離間の状態は、感光体4kのみが圧接する「K圧接」とすべての感光体4ymc,4kが圧接する「全圧接」の2通りである。図4(A)ではK圧接の状態が描かれている。
図4(B)に示す構成〔2〕は、上に述べた構成〔1〕の一部を変更したものである。その変更点は、給紙駆動部231の駆動源を給紙モータ53に代えてメインモータ51としたことである。図4(B)では、全圧接の状態が描かれている。
図4(C)に示す構成〔3〕においては、モノクロ感光体4kは、単独の駆動源であるモノクロPCモータ55により駆動され、カラー感光体4ymcは、カラーPCモータ54により駆動される。中間転写ベルト12および二次転写ローラ16は、ベルトモータ52により駆動され、給紙搬送部231は、給紙モータ53により駆動される。
構成〔3〕においては、カラー感光体4ymcと中間転写ベルト12とを圧接させたり離間させたりするとともに、カラー感光体4ymcとは独立にモノクロ感光体4kと中間転写ベルト12とを圧接させたり離間させたりする圧接離間機構110bが設けられる。
構成〔3〕における感光体4ymc,4kと中間転写ベルト12との圧接/離間の状態は、すべての感光体4ymc,4kが離間する「全離間」、「K圧接」、および「全圧接」の3通りである。図4(C)では全離間の状態が描かれている。
図4(D)に示す構成〔4〕は、構成〔3〕の一部を変更したものである。その変更点は、中間転写ベルト12および二次転写ローラ16の駆動源をベルトモータ52に代えて給紙モータ53としたことである。図4(D)では、K圧接の状態が描かれている。
図5に示す構成〔5〕は、構成〔3〕の一部を変更したものである。その変更点は、給紙搬送部231の駆動源を給紙モータ53に代えてモノクロPCモータ55としたことである。図5では、全圧接の状態が描かれている。
なお、構成〔2〕および〔5〕のように感光体4kと給紙搬送部231とを共通の駆動源により駆動する場合は、駆動源と給紙搬送部231との間にクラッチを介在させるなどして感光体4kの回転開始から遅れたタイミングで給紙を開始することができる。
図7には制御回路100の構成が、図8にはシート判別テーブルD20の例が、それぞれ示されている。
制御回路100は、画像形成装置1の全体の制御を受け持つメイン制御部110、主としてプリンタエンジン10の制御を受け持つエンジン制御部120、および各種の制御データを記憶する不揮発性メモリ130などを備える。
メイン制御部110は、操作パネル1Eを用いた操作または外部のホスト装置との通信により印刷ジョブが入力されると、印刷に使用するトレイ25を選択する。
選択したトレイ25について種類Dkが記憶されている場合は、その記憶されている種類Dkをエンジン制御部120に通知するとともに、印刷ジョブに応じた所定の制御を行うよう指令する。
他方、選択したトレイ25について種類Dkが記憶されていない場合は、種類Dkの検知を行って印刷ジョブを実行するようエンジン制御部120に指令する。
エンジン制御部120は、制御プログラムを実行するCPU(Central Processing Unit) 121およびその周辺デバイス(ROM、RAMなど)を備えている。そして、エンジン制御部120は、種類検知部125、立上げ制御部126、および画像形成制御部127などの機能を有している。これらの機能は、制御回路100のハードウェア構成により、および制御プログラムがCPUによって実行されることにより実現される。
種類検知部125は、メディアセンサ41から出力される検出信号S41に基づいて、トレイ25から取り出されてセンサ位置に搬送されたシート2の種類Dkを検知する。詳しくは、メイン制御部110から検知指令を受けると、所定の適切なタイミングで検出信号S41を取り込み、図8に示すように検出信号S41の値(図では坪量に換算した値)と種類Dkとを対応づけるシート判別テーブルD20から検出信号S41の値に対応する種類Dkを検知結果として取得する。すなわちシート2の種類Dkがシート判別テーブルD20に示される複数の種類Dkのいずれであるかを検知する。そして、このようにして検知した種類Dkを確定種類Dkdとして立上げ制御部126に通知する。
立上げ制御部126は、プリンタエンジン10をカラー印刷モードまたはモノクロ印刷モードの画像形成が可能な立上り状態に移行させる立上げ制御を担う。立上り状態は、プリントヘッド6による印字データに基づくパターン露光(潜像形成)を開始してもよい状態である。立上げ制御を開始するときの状態である非立上り状態として、例えば定着器17はウォームアップを終えているが感光体4は帯電されていない状態がある。
立上げ制御部126の制御対象は、感光体駆動部204、高圧電源回路250、イレーサ部250、ベルト駆動部212、圧接離間機構110、定着ヒータ217、および搬送機構230などである。
感光体駆動部204は、感光体4k,4ymcを駆動するモータを有する。高圧電源回路250は、イメージングユニット3y〜3kにおける帯電・現像・一次転写のための電圧、および二次転写ローラ16による二次転写のための電圧を出力する。
イレーサ駆動部212は、イメージングユニット3y〜3kにおけるイレーサ8の光源を発光させるための給電回路である。
ベルト駆動部208は、中間転写ベルト12を駆動するモータを有する。圧接離間機構110は、上に述べた圧接離間機構110aまたは圧接離間機構110bである。定着ヒータ217は、定着器17の熱源である。
搬送機構230は、トレイ25から排紙トレイ19までのシート2の搬送に関わる駆動源、およびクラッチなどを有しており、給紙駆動部231を含む。
これらの制御対象のうち、感光体駆動部204、ベルト駆動部212、圧接離間機構110、および搬送機構230のそれぞれの構成は、上に述べた構成〔1〕〜〔5〕のいずれを採用するかによって変わる。例えば、構成〔1〕または〔2〕を採用する場合は、感光体駆動部204がベルト駆動部212を含むことになり、構成〔4〕を採用する場合は、給紙搬送部231がベルト駆動部212を兼ねることになる。
立上げ制御部126は、立上り状態への移行が完了したことを画像形成制御部127に通知する。この通知を受けると、画像形成制御部127は、立上げ制御部126に代わって制御対象を制御するとともに、プリントヘッド6に印字データを転送してパターン露光( 印字)を行わせる。つまり、印刷ジョブにより指定された枚数の印刷を行うようプリンタエンジン10を制御する。
ところで、立上げ制御部126は、シート2の種類Dkを検知する場合において、検知を終えるまでは立上り状態とはしない立上げ制御である「改良立上げ制御」を、必要に応じて行う。改良立上げ制御を行う必要があるか否かは、構成〔1〕〜〔5〕のいずれであるかによって決まる。
改良立上げ制御は、詳しくは、種類Dkが検知される以前に、仮の条件による画像形成の準備が部分的に完了した「準立上り状態」まで移行させ、種類Dkが検知された後に、確定条件による画像形成の準備が完了した立上り状態に移行させる制御である。
さらに詳しくは、改良立上げ制御には、準立上り状態が互いに異なる第1の態様と第2の態様とがある。
第1の態様における準立上り状態は、「中間転写ベルト12と駆動源が異なる感光体4は中間転写ベルト12から離間しており、かつ給紙搬送部231と駆動源が異なる感光体4は停止している状態」である。
第2の態様における準立上り状態は、「中間転写ベルト12と駆動源が異なる感光体4は中間転写ベルト12から離間しており、かつ給紙搬送部231と駆動源が異なる感光体4が任意設定速度で回転している状態」である。任意設定速度とは、上に述べた任意設定条件に対応する速度である。
次に、4個の感光体4(4k,4ymc)を使用するカラー印刷を行うものとして改良立上げ制御の例を説明する。
図9には改良立上げ制御の第1例が、図10には改良立上げ制御の第2例が、それぞれ示されている。
〔改良立上げ制御の第1例〕
図9の第1例は、第1の態様の準立上り状態とする制御を含むものである。詳しくは次の通りである。
カラー感光体4ymcおよびモノクロ感光体4kのそれぞれの駆動源が、中間転写ベルト12の駆動源と同じ(共通)か否か、および給紙搬送部231の駆動源と同じか否かによって、制御の内容が変わる。
図6も参照して、中間転写ベルト12と駆動源が同じという関係αには、構成〔1〕〜〔2〕のモノクロ感光体4kが当てはまる。
関係αでありかつ給紙搬送部231と駆動源が同じという関係α1には、構成〔2〕のモノクロ感光体4kが当てはまる。
また、関係αでありかつ給紙搬送部231と駆動源が異なるという関係α2には、構成〔1〕のモノクロ感光体4kが当てはまる。
中間転写ベルト12と駆動源が異なるという関係βには、構成〔3〕〜〔5〕のモノクロ感光体4k、および構成〔1〕〜〔5〕のカラー感光体4ymcが当てはまる。
関係βでありかつ給紙搬送部231と駆動源が同じという関係β1には、構成〔5〕のモノクロ感光体4kが当てはまる。
また、関係βでありかつ給紙搬送部231と駆動源が異なるという関係β2には、構成〔3〕〜〔4〕のモノクロ感光体4k、および構成〔1〕〜〔5〕のカラー感光体4ymcが当てはまる。
〔関係αである場合:関係α1または関係α2である場合〕
関係αである場合は、感光体4と中間転写ベルト12との間でプロセス速度Vsの切替えにより周速度がずれるおそれはほとんどない。したがって、この場合は、種類Dkが検知される以前に感光体4と中間転写ベルト12とを圧接させる。
〔関係α1である場合〕
関係α1である場合は、シート2をセンサ位置まで搬送するために給紙搬送部231を駆動するので、種類Dkを検知して動作条件が確定する以前(「条件確定以前」)の段階で感光体4を回転させる必要がある。条件確定以前における感光体4の回転速度は、仮の条件の速度であり、例えば初期設定条件の速度(最低速)である。
動作条件が確定した以後(「条件確定以後」)において、確定条件での立上り状態に移行させる処理としては、仮の条件から確定条件に動作条件を切替える条件切替え処理、または、いったん非立上げ状態に戻す立下げを行ってから確定条件で立ち上げる再立上げ処理を行う。
条件切替え処理においては、確定条件に応じて、複数の動作条件値Dc1〜Dc4のうちの少なくとも1つが変更される。感光体4の回転速度が変わる場合もあるし、変わらない場合もある。例えば仮の条件が初期設定条件であり確定条件が普通紙1に対応する動作条件である場合は(図3参照)、プロセス速度Vsを変更するので、感光体4の回転速度は変わる。確定条件が厚紙4に対応する動作条件である場合は、プロセス速度Vsを変更しないので、感光体4の回転速度は変わらない。
再立上げ処理は、条件切替え処理では帯電の切替わりの応答遅れに起因してカブリが起こるおそれがある場合に、条件切替え処理に代えて行われる。例えば、仮の条件と確定条件との間でカブリマージンVmの差がしきい値以上である場合に再立上げ処理を行う。
条件切替え処理を行う場合も再立上げ処理を行う場合も、条件確定以後において、条件確定以前に圧接させた感光体4と中間転写ベルト12とを離間させることなく圧接したままに保つ。
〔関係α2である場合〕
関係α2である場合は、感光体4の駆動源が給紙搬送部231の駆動源と独立しているので、シート2をセンサ位置まで搬送する際に感光体4を回転させる必要はない。したがって、条件確定以前において感光体4を回転させずに停止させておく。必然的に帯電を行わない。しかし、少なくとも定着器17を仮の条件の定着温度Tsに昇温させる制御を行うので、まるっきり立上げ制御を行わないわけではない。したがって、関係α2である場合の条件確定以前における電子写真プロセスの状態は、上に述べた通り、非立上り状態でもなく仮の条件の立上り状態でもない準立上り状態となる。
条件確定以後においては、実質的に非立上り状態である感光体4と他の制御対象とを確定条件での立上り状態に移行させる立上げ処理を行う。
〔関係βである場合:関係β1または関係β2である場合〕
関係βである場合は、感光体4と中間転写ベルト12との間でプロセス速度Vsの切替えに際して周速度がずれるおそれがある。したがって、この場合は、条件確定以前は感光体4と中間転写ベルト12とを離間させておく。
これにより、周速度がずれたとしても、感光体4と中間転写ベルト12とが擦れ合わないので、これらの摩耗を防ぐことができる。加えて、仮に圧接させた場合には以後のプロセス速度Vsの切替えに先立っていったん離間させてから改めて圧接する必要があるが、条件確定以前に離間させておくことにより条件確定以後の離間を行う必要がなくなり、その分だけ画像形成の開始が早くなる。
〔関係β1である場合〕
関係β1である場合は、関係α1である場合と同様に、条件確定以前の段階で感光体4を回転させる。その回転速度は、仮の条件の速度であり、例えば初期設定条件の速度である。そして、仮の条件での帯電を行う。
しかし、関係α1である場合とは違って、感光体4と中間転写ベルト12とを離間させておくので、仮の条件での立上り状態にはならない。つまり、条件確定以前において、電子写真プロセスは準立上り状態となる。
条件確定以後の制御は、関係α1である場合と同様である。すなわち、感光体4と中間転写ベルト12とを圧接したままとし、条件切替え処理または再立上げ処理を行う。
〔関係β2である場合〕
関係β2である場合は、関係α2である場合と同様に、条件確定以前において感光体4を回転させずに停止させておく。感光体4の帯電を行わないが、少なくとも定着器17を仮の条件の定着温度Tsに昇温させる制御を行うので、条件確定以前における電子写真プロセスの最終の状態は準立上り状態である。
条件確定以後においては、感光体4と中間転写ベルト12とを圧接させるとともに、関係α2である場合と同様に、感光体4と他の制御対象とを確定条件での立上り状態に移行させる立上げ処理を行う。
〔改良立上げ制御の第2例〕
図10の第2例は、第2の態様の準立上り状態とする制御を含むものである。詳しくは次の通りである。
第1例と同様に、関係α、α1、α2、β、β1、β2のいずれであるかによって制御の内容が変わる。
〔関係α1である場合〕
関係α1である場合は、第1例と同様の制御を行う。すなわち、条件確定以前において、感光体4と中間転写ベルト12とを圧接し、感光体4を例えば初期設定条件の速度で回転させる。そして、条件確定以後において、条件切替え処理または再立上げ処理を行う。
〔関係α2である場合〕
関係α2である場合は、条件確定以前において、感光体4と中間転写ベルト12とを圧接し、感光体4を任意設定条件の速度で回転させる。感光体4に対する任意設定条件での帯電も行う。つまり、条件確定以前に電子写真プロセスを仮の条件での立上り状態に移行させておく。
これにより、確定条件が仮の条件と一致した場合に、図9の第1例とは違って、感光体4を停止状態から立上げ状態に移行させる必要がないので、第1例と比べて画像形成の開始が早くなる。
しかし、改良立上げ制御は、確定条件が仮の条件と一致しない場合を想定したものであるので、図10では、確定条件が仮の条件と一致しない場合の制御内容が示されている。
すなわち、条件確定以後においては、関係α1である場合と同様に、条件切替え処理または再立上げ処理を行う。
〔関係β1である場合〕
関係β1である場合は、第1例と同様の制御を行う。すなわち、条件確定以前において、感光体4と中間転写ベルト12とを離間させておくとともに、感光体4を例えば初期設定条件の速度で回転させる。離間させておくので、条件確定以前における電子写真プロセスの状態は準立上り状態である。そして、条件確定以後において、感光体4と中間転写ベルト12とを圧接するとともに、条件切替え処理または再立上げ処理を行う。
〔関係β2である場合〕
関係β2である場合は、条件確定以前において、感光体4と中間転写ベルト12とを離間させておくとともに、感光体4を任意設定条件の速度で回転させる。この場合も、条件確定以前における電子写真プロセスの状態は準立上り状態である。そして、条件確定以後において、感光体4と中間転写ベルト12とを圧接するとともに、条件切替え処理または再立上げ処理を行う。
次に、仮の種類Dkpと確定種類Dkdとが一致しない場合における立上げ制御のタイミングの複数の例を挙げる。いずれの例においても、仮の種類Dkpは、初期設定種類(厚紙3)であり、確定種類Dkdは、普通紙(1、2、または3)である。つまり、最低の速度でシート2を搬送して種類Dkを検知し、その後に最高の速度に切り替える状況が想定されている。
図11には立上げ制御のタイミングの第1例が示されている。図12には立上げ制御のタイミングの第2例が、図13には図12の第2例に対する比較例が、図14には立上げ制御のタイミングの第3例が、図15には図14の第3例に対する比較例が、それぞれ示されている。
図11の第1例は、図9における関係β2である場合に対応する。
立上げ制御を開始するタイミングt1において、初期設定速度の給紙が開始され、タイミングt2において、種類Dkの検知が完了する。
タイミングt1からタイミングt2までの条件確定以前の期間において、感光体4と中間転写ベルト12との圧接/離間の状態は、離間に保たれる。また、カラー感光体4ymcおよびモノクロ感光体4kは、共に停止状態に保たれる。
タイミングt2において、カラー感光体4ymcの立上げを開始する。そして、所定の時間Tdだけ遅れらせてモノクロ感光体4kの立上げを開始する。時間Tdの遅れを設けることにより、高圧電源回路250およびモータの電源の負荷を分散させる。
モノクロ感光体4kの立上げを開始した後に、二次転写ローラ16のクリーニング(例えば除電)を開始し、さらにその後に圧接/離間の状態を離間から圧接に切り替える。
確定条件の立上り状態へ移行が完了する頃に画像要求信号TODがオンとなる。画像要求信号TODは、例えば画像形成制御部127によりタイミングt2から所定の時間が経過したときに発せられる。画像要求信号TODがオンになったタイミングt3において、プリントヘッド6による印字(パターン露光による潜像形成)を開始する。
一次転写されたトナー像が印刷位置P6に到着するときにシート2の画像形成領域も到着するよう見計らったタイミングt4において、タイミングローラ15から印刷位置P6への1枚目のシート2の搬送を開始する。搬送速度は、確定条件の速度である。
図12の第2例は、図9における関係βである場合、すなわち関係β1に当てはまるモノクロ感光体4kと関係β2に当てはまるカラー感光体4ymcとを有する場合に対応する。
タイミングt1において、モノクロ感光体4kの初期設定条件の立上げを開始する。カラー感光体4ymcは、停止させておく。
モノクロ感光体4kと給紙搬送部231とを共通のモノクロPCモータ55により駆動することから、タイミングt1からモータの回転が安定するのに要する時間Twの経過を待って、シート2の給紙を開始する。
タイミングt2において、カラー感光体4ymcの立上げを開始し、それから時間Tdだけ遅らせてモノクロ感光体4kの速度の切替えを開始する。また、二次転写ローラ16の動作条件を切り替える。そして、適時に圧接/離間の状態を離間から圧接に切り替える。
その後、タイミングt3において、印字を開始し、タイミングt4において、印刷位置P6へのシート2の搬送を開始する。
図13の比較例においては、タイミングt1からタイミングt2までの条件確定以前の期間に、カラー感光体4ymcおよびモノクロ感光体4kを立ち上げるとともに、圧接/離間の状態を圧接にする。つまり、電子写真プロセスを初期設定条件の立上り状態まで移行させてしまう。
このため、条件確定以後において、感光体4ymc,4kの動作条件を確定条件に切り替えるのに先立って、中間転写ベルト12と擦れ合うのを防ぐために、圧接/離間の状態をいったん離間に切り替える必要がある。したがって、少なくともこの離間への切替えに要する時間だけ印字の開始が遅れる。
図12の第2例によると、条件確定以前において離間に保っておくので、確定条件への切替えに先立って離間に切り替える必要がない。したがって、タイミングt2において確定条件への切替えを開始することができ、印字開始を早めてFPOTを比較例よりも短くすることができる。しかも、感光体4および中間転写ベルト12の摩耗を抑えるためにこれらの間にトナーを介在させる先行技術を用いる必要がなく、トナーの無駄な消費を低減することができる。
図14の第3例は、図9における関係α1に当てはまるモノクロ感光体4kと関係β2に当てはまるカラー感光体4ymcとを有する場合に対応する。
タイミングt1において、モノクロ感光体4kの初期設定条件の立上げを開始する。カラー感光体4ymcは、停止させておく。また、少なくともカラー感光体4ymcについては、圧接/離間の状態を離間に保つ。
タイミングt2において、モノクロ感光体4kをいったん立ち下げる。モノクロ感光体4kの回転が止まると、モノクロ感光体4kよりも先にカラー感光体4ymcの確定条件での立上げを開始し、時間Tdだけ遅らせてモノクロ感光体4kの確定条件での立上げを開始する。カラー感光体4ymcの立上げを先に行うのは、一次転写の順序が上位のものから早く立上げを完了させるのが、印字の開始を早める上で有利であるからである。
図15の比較例においては、図13の比較例と同様に、条件確定以前の期間に、カラー感光体4ymcおよびモノクロ感光体4kを立ち上げるとともに、圧接/離間の状態を圧接にして電子写真プロセスを初期設定条件の立上り状態まで移行させてしまう。
このため、条件確定以後において、感光体4ymc,4kの動作条件を確定条件に切り替えるのに先立って、圧接/離間の状態をいったん離間に切り替えることから、離間への切替えに要する時間だけ印字の開始が遅れる。
図16には立上げ制御のタイミングの第4例が、図17には同じく第5例が、図18には同じく第6例が、図19には同じく第7例が、図20には同じく第8例が、図21には同じく第9例が、それぞれ示されている。
図16の第4例および図17の第5例は、図10における関係α2に当てはまるモノクロ感光体4kと関係β2に当てはまるカラー感光体4ymcとを有する場合に対応する。
第4例および第5例のいずれも、条件確定以前において、圧接/離間の状態を離間に保ち、カラー感光体4ymcおよびモノクロ感光体4kを任意設定条件の立上り状態に移行させる。
そして、条件確定以後において、第4例では任意設定条件から確定条件に切り替える条件切替え処理を行い、第5例では非立上げ状態に戻して確定条件で立ち上げる再立上げ処理を行う。
図18の第6例および図19の第7例は、図10における関係β1に当てはまるモノクロ感光体4kと関係β2に当てはまるカラー感光体4ymcとを有する場合に対応する。
第6例および第7例のいずれも、条件確定以前において、圧接/離間の状態を離間に保ち、カラー感光体4ymcを任意設定条件の立上り状態に移行させるとともに、モノクロ感光体4kを初期設定条件の立上り状態に移行させる。その際に、カラー感光体4ymcの立上げをモノクロ感光体4kの立上げよりも先に開始する。
そして、条件確定以後において、第6例では条件切替え処理を行い、第7例では再立上げ処理を行う。
図20の第8例および図21の第9例も、図10における関係α2に当てはまるモノクロ感光体4kと関係β2に当てはまるカラー感光体4ymcとを有する場合に対応する。
第8例および第9例のいずれも、条件確定以前において、圧接/離間の状態を離間に保ち、カラー感光体4ymcを任意設定条件の立上り状態に移行させるとともに、モノクロ感光体4kを初期設定条件の立上り状態に移行させる。その際に、モノクロ感光体4kの立上げをカラー感光体4ymcの立上げよりも先に開始する。
そして、条件確定以後において、第8例では条件切替え処理を行い、第9例では再立上げ処理を行う。
一般に、中間転写ベルト12を有した画像形成装置において電子写真プロセスを立ち上げる場合は、感光体4の立上げ時に付着したカブリトナーが一次転写位置を通過した後でなければ中間転写ベルト12の圧接を行えない。それは、カブリトナーによるシート2の裏面の汚れを防止する必要があるからである。低価格機では、構成〔1〕および〔2〕のようにモノクロ感光体4kは常時圧接となるので、カラートナーが一次転写位置を通過し終えるタイミングが中間転写ベルト12の圧接開始タイミングとなり、総プロセス立上げ時間(実質のFPOT)の律則となる。
そこで、カラー印刷時はカラー感光体4ymcを先に立ち上げ、モータのピーク電流分散時間(Td)が経過した後にモノクロ感光体4kを立ち上げることでカラーカブリトナーが一次転写位置を通過し終えるタイミングを早めてFPOTを短縮している。
しかし、シート2の種類Dkの検知を行うときは、種類Dkの確定を優先させるために、搬送に関わる駆動源を最初に駆動する。種類Dkの確定を早めることにより、FPOTを短縮することができる。つまり、給紙搬送部231とモノクロ感光体4kとで駆動源が共通である場合は、モノクロ感光体4kを先に立ち上げる。
図22には画像形成装置1における立上げ制御の処理の流れが、図23には条件確定以前の処理の流れが、図24には条件確定以後の処理の流れが、それぞれ示されている。また、図25、図26、図27、および図28にはそれぞれ立上げ制御に関わる設定テーブルD31〜D36の例が示されている。
画像形成装置1は、印刷ジョブに際して図22に示す一連の処理を実行する。その過程において、印刷に使用する1つまたは複数の感光体4について、中間転写ベルト12および給紙搬送部231のそれぞれとの駆動源の関係に応じて立上げ制御の内容を決定する。
図22において、まず、シート2の種類Dkを検知するか否かを判断する(#301)。選択したトレイ25に対して有効な情報として種類Dkが記憶されている場合は、検知しないと判断し、種類Dkが記憶されていない場合は検知すると判断する。
検知しないと判断した場合は(#301でNO) 、非立上り状態から準立上り状態を意図的に経由させることなく直接に確定条件の立上り状態に移行させる通常立上げを行い(#307)、立上り状態になると直ちに印字(画像形成)を開始する(#306)。このときの確定条件は、記憶されている種類Dkに対応する動作条件である。
種類Dkを検知すると判断した場合は(#301でYES) 、図25(A)に示す設定テーブルD31を参照して通常立上げをするか否かを判断する(#302、#303)。
設定テーブルD31は、使用頻度の高い種類Dkが判定されている場合には、その種類Dkに対応する動作条件を確定条件とみなして通常立上げを行い、それによってFPOTを短縮するために設けられている。設定テーブルD31は、種類Dkごとの使用回数を示すデータ量がしきい値未満であって判定の信頼性が不十分である場合は通常立上げを行わないことを示す。信頼性が十分でありかつ高頻度の種類Dkが有る場合に通常立上げを行うことを示す。
通常立上げをすると判断した場合は(#303でYES) 、通常立上げを行い(#308)、通常立上げを行った後に条件確定以後の処理(#305)へ進む。つまり、立上げ制御部126は、複数の想定された種類Dkのうちの使用頻度の高い種類Dkに対応した動作条件を仮の条件とする場合には、シート2の種類Dkが検知される以前に、仮の条件による画像形成の準備が完了した状態まで移行するよう制御する。これにより、仮の条件が検知した種類Dkに対応する真の確定条件と一致する場合に、動作条件を切り替えることなく直ちに印字を開始することができる。すなわち、種類Dkを検知しない場合と同様のFOPTを実現することができる。
通常立上げをしないと判断した場合は(#303でNO) 、条件確定以前の処理(#304)と条件確定以後の処理(#305)とを順に実行した後、画像を形成する(#306)。
図23に示す条件確定以前の処理においては、まず、注目する感光体4の駆動源が中間転写ベルト12の駆動源と共通であるか否かをチェックする(#401)。
中間転写ベルト12との間で駆動源が共通ではない場合は(#401でNO) 、当該感光体4を中間転写ベルト12から離間させる(#402)。中間転写ベルト12と駆動源が共通である場合は(#401でYES) 、当該感光体4に中間転写ベルト12を圧接させる(#403)。
次に、注目する感光体4の駆動源が給紙搬送部231の駆動源と共通であるか否かをチェックする(#404)。
給紙搬送部231との間で駆動源が共通である場合は(#404でYES) 、当該感光体4を図25(B)に示す設定テーブルD32により設定されている仮の条件で立ち上げる(#410)。
設定テーブルD32は、ユーザが使用する可能性の高いシート2に動作条件を合わせつつも、ジャムのリスクを低減するよう例えば厚紙については普通紙よりも遅い搬送速度とすることを定めている。
給紙搬送部231との間で駆動源が共通ではない場合は(#404でNO) 、図26(A)に示す設定テーブルD33を参照して感光体4に対する条件確定以前の状態の設定が停止であるか駆動であるかを確認する(#405、#406)。
設定テーブルD33は、ユーザが停止または駆動を指定している場合は、指定の通りの処理を判断結果として定めている。また、ユーザが自動を指定した場合は、温度および湿度などの環境条件、感光体4の寿命の末期かそれ以外かという耐久条件、および種類Dkの使用頻度に応じて、停止と駆動とのいずれかを判断結果として定めている。例えば、使用頻度に規則性がない場合は、仮の条件と確定条件とが一致しない確率が大きいと考えられることから、無駄な走行を抑えるために判断結果は停止とされている。
条件確定以前の状態として停止が設定されている場合は、直ちに図22のフローに戻る。
他方、条件確定以前の状態として駆動が設定されている場合は、続いて、図26(B)および(C)に示す設定テーブルD34,D35を参照して、立上げ条件および立上げタイミングを判断する(#407、#408)。そして、判断した結果に従って仮の条件での立上げを行う(#409)。
設定テーブルD34は、種類Dkの使用頻度の判定の信頼性に応じて仮の条件を決めるために設けられており、種類Dkごとの使用回数を示すデータ量が設定量以上(十分)にある場合に高頻度の種類に対応する動作条件を仮の条件とすることを示す。データ量が不十分である場合は、初期設定条件を仮の条件とすることを示す。
設定テーブルD35は、種類Dkの検知の完了と実質的に同時に完了するように行う処理を定めている。例えば、感光体4がそれ以外を駆動しない単独の駆動源により駆動される場合は、その感光体4の立上げの完了タイミングと種類Dkの検知の完了タイミングと合わせることを示す。また、感光体4と転写機構とで駆動源が共通である場合は、感光体4の立上げの所要時間と転写クリーニングの所要時間との長い方の完了タイミングを種類Dkの検知の完了タイミングと合わせることを示す。設定テーブルD34の内容に従ってタイミングを制御することにより、感光体4および中間転写ベルト12の走行時間を最短にすることができる。
図24に示す条件確定以後の処理においては、シート2の種類Dkが検知されて動作条件が確定するのを待つ(#501)。動作条件が確定すると(#501でYES) 、確定条件が仮の条件と同じであるか否かを判断する(#502)。
確定条件が仮の条件と同じである場合は(#502でYES) 、感光体4と中間転写ベルト12とが離間しているときは(#506でYES) 、これらを圧接した後に(#507)、図22のフローに戻る。離間していないときは、直ちに図22のフローに戻る。
確定条件が仮の条件と同じではない場合は(#502でNO) 、図27に示す設定テーブルD36を参照して条件確定以後の処理の設定が条件切替え処理であるか再立上げ処理であるかを確認する(#503、#504)。そして、設定テーブルD36が示す設定に従って、条件切替え処理(#506)または再立上げ処理(#505)を行う。
設定テーブルD36は、ユーザが条件切替え処理または再立上げ処理を指定している場合は、指定の通りの処理を行うことを定めている。また、ユーザが自動を指定した場合は、温度および湿度などの環境条件、および感光体4の寿命の末期かそれ以外かという耐久条件に応じて、条件切替え処理と再立上げ処理とのいずれを行うかを定めている。
以上の実施形態によると、感光体4と中間転写ベルト12との速度のずれに因る摩耗を防ぐ緩衝材として色材であるトナーを無駄に消費することなく、電子写真プロセスの立上げを開始した後に動作条件を切り替える場合における印字開始の遅れを低減することができる。すなわち、種類Dkを検知する場合における印刷物が出力されるのをユーザが待つ時間を短くすることができる。
条件確定以前の準立上げ状態を感光体4が停止した状態とすることにより感光体4およびその駆動源の寿命が延びる。それによりCPP(Cost Per Page) が低減される。
条件確定以前の段階では立上り状態とはせずに準立上げ状態にとどめる改良立上げ制御は、カラー印刷モードに限らず、単一の感光体4kを値用するモノクロ印刷モードにおいても実施することができる。
動作条件の項目は、プロセス速度Vs、定着温度Ts、二次転写出力V16、およびカブリマージンVmに限らない。帯電出力、現像出力、イレーサ光量、一次転写出力、露光光量などのうちの1つまたは複数を加えてもよい。必ずしも項目の個数は複数である必要はない。
上に述べた実施形態において、準立上り状態への移行に二次転写ローラ16の立ち上げを含める場合には、非立上げ状態から立上り状態に移行する際に当該二次転写ローラ16のクリーニングを省略することができる。また、準立上り状態への移行に際して二次転写ローラ16を回転させる場合に、当該二次転写ローラ16のクリーニングを省略することができる。
また、メディアセンサ41は上記では光センサとして説明したが、それ以外のセンサでもよい。例えば、超音波センサ、紙厚センサ、カメラ、静電容量センサ等の紙の特性が検出できるセンサであればよい。また、メディアセンサ41は、1 個のセンサに限定されず、複数のセンサ(例えば、光センサと超音波センサ)からなる構成でもよい。このように複数のセンサを使うことで、光センサでは検知が難しい用紙に対しても超音波センサで検知することによってより多くの紙種を高精度に検知することができる。
その他、画像形成装置1の全体または各部の構成、動作および処理の内容、順序、またはタイミング、想定される複数の種類Dkの分類方法、個数、動作条件値Dcの具体値などは、本発明の趣旨に沿って適宜変更することができる。
1 画像形成装置
2 シート(媒体)
4 感光体
4ymc カラー感光体(第1の感光体)
4k モノクロ感光体(第2の感光体)
12 中間転写ベルト(被転写体)
16 二次転写ローラ(転写部材)
30 搬送経路
41 メディアセンサ(センサ)
51 メインモータ(共通駆動源、第2の駆動源)
52 ベルトモータ(第2の駆動源)
53 給紙モータ(第2の駆動源、媒体を搬送するため駆動源、第3の駆動源)
54 カラーPCモータ(第1の駆動源)
55 モノクロPCモータ(第1の駆動源)
110,110a,110b 圧接離間機構
125 種類検知部(検知部)
126 立上げ制御部
Dk 種類
t2 タイミング

Claims (18)

  1. シート状の媒体の種類に応じて設定される動作条件で前記媒体に画像を形成する画像形成装置であって、
    前記媒体の搬送経路に設けられたセンサの出力に基づいて前記媒体の種類が複数の想定された種類のいずれであるかを検知する検知部と、
    前記媒体の種類が検知される以前に、前記複数の想定された種類のうちの1つに対応する動作条件である仮の条件による画像形成の準備が部分的に完了した準立上り状態まで移行し、前記媒体の種類が検知された後に、検知された種類に対応する動作条件である確定条件による画像形成の準備が完了した立上り状態に移行するよう制御する立上げ制御部と、を有する、
    ことを特徴とする画像形成装置。
  2. 前記画像に対応したトナー像を形成するための感光体と、
    前記感光体を回転駆動する第1の駆動源と、
    前記感光体から前記トナー像が転写される被転写体と、
    前記被転写体を回転駆動する第2の駆動源と、
    前記感光体と前記被転写体とを圧接させたり離間させたりする圧接離間機構と、を有しており、
    前記準立上り状態は、前記感光体と前記被転写体とが離間している状態であり、
    前記立上り状態は、前記感光体と前記被転写体とが圧接している状態である、
    請求項1記載の画像形成装置。
  3. 前記媒体を搬送するため駆動源が前記第1の駆動源と異なり、
    前記準立上り状態は、前記感光体と前記被転写体とが離間しかつ前記感光体が停止した状態である、
    請求項2記載の画像形成装置。
  4. 前記媒体を搬送するため駆動源が前記第1の駆動源と異なり、
    前記準立上り状態は、前記感光体と前記被転写体とが離間しかつ前記感光体が前記複数の動作条件のいずれかに対応する速度で回転する状態である、
    請求項2記載の画像形成装置。
  5. 前記準立上り状態における前記感光体の回転速度は、前記複数の想定された種類のうちの使用頻度がしきい値よりも高い種類に対応した動作条件の速度である、
    請求項4記載の画像形成装置。
  6. 前記立上げ制御部は、前記使用頻度が未定の場合には、前記回転速度を初期設定条件の速度とする、
    請求項5記載の画像形成装置。
  7. 前記立上げ制御部は、前記媒体の種類が検知されるタイミングに前記準立上り状態に移行し終えるよう前記仮の条件による画像形成の準備を開始させる、
    請求項3ないし6のいずれかに記載の画像形成装置
  8. 前記第1の駆動源は、前記媒体を搬送するための駆動源を兼ねており、
    前記立上げ制御部は、前記媒体の種類が検知される以前において、前記媒体の搬送と並行して前記準立上り状態に移行するよう制御する、
    請求項2記載の画像形成装置。
  9. 前記立上げ制御部は、
    前記媒体の種類が検知される以前において、
    前記感光体と前記被転写体とを離間させておきかつ前記感光体を停止させておく制御、および前記感光体と前記被転写体とを離間させておきかつ前記感光体を回転させておく制御のいずれかを、ユーザによる指定、環境条件、および耐久条件のうちの1つまたは複数の組合せに応じて選択して行う、
    請求項2記載の画像形成装置。
  10. 前記立上げ制御部は、前記確定条件が前記仮の条件と異なる場合に、前記感光体を回転させながら前記動作条件を前記仮の条件から前記確定条件へ切り替える、
    請求項2ないし9のいずれかに記載の画像形成装置。
  11. 前記立上げ制御部は、前記確定条件が前記仮の条件と異なる場合に、前記感光体を前記仮の条件による画像形成の準備を開始する直前の非立上げ状態に戻すための立下げ制御を行い、前記非立上げ状態から前記立上り状態に移行するよう制御する、
    請求項2ないし9のいずれかに記載の画像形成装置。
  12. 前記立上げ制御部は、
    前記確定条件が前記仮の条件と異なる場合において、
    前記感光体を回転させながら前記動作条件を前記仮の条件から前記確定条件へ切り替える制御、および前記感光体を前記仮の条件による画像形成の準備を開始する直前の非立上げ状態に戻すための立下げ制御を行い、当該非立上げ状態から前記立上り状態に移行させる制御のいずれかを、ユーザによる指定、環境条件、および耐久条件のうちの1つまたは複数の組合せに応じて選択して行う、
    請求項2ないし9のいずれかに記載の画像形成装置。
  13. 前記被転写体から前記媒体に前記トナー像を転写するための転写部材を有しており、
    前記準立上り状態への移行に前記転写部材の立ち上げを含める場合に、前記非立上げ状態から前記立上り状態に移行する際に当該転写部材のクリーニングを省略する、
    請求項11または12記載の画像形成装置。
  14. 前記被転写体から前記媒体に前記トナー像を転写するための転写部材を有しており、
    前記準立上り状態への移行に際して前記転写部材を回転させる場合に、当該転写部材のクリーニングを省略する、
    請求項2ないし13のいずれかに記載の画像形成装置。
  15. 前記画像に対応したトナー像を形成するための感光体と、
    前記感光体から前記トナー像が転写される被転写体と、
    前記感光体および前記被転写体の両方を回転駆動する共通駆動源と、
    前記媒体を搬送するための駆動源と、を有しており、
    前記準立上り状態は、前記感光体と前記被転写体とが圧接しかつ前記感光体および前記被転写体が共に停止している状態であり、
    前記立上り状態は、前記感光体と前記被転写体とが圧接しかつ前記感光体および前記被転写体が共に回転している状態である、
    請求項1記載の画像形成装置。
  16. 前記画像に対応した第1のトナー像を形成するための第1の感光体と、
    前記画像に対応した第2のトナー像を形成するための第2の感光体と、
    前記第1の感光体から前記第1のトナー像が転写されかつ前記第2の感光体から前記第2のトナー像が転写される被転写体と、
    前記第1の感光体を回転駆動する第1の駆動源と、
    前記第2の感光体および前記被転写体の両方を回転駆動する第2の駆動源と、
    前記媒体を搬送するための第3の駆動源と、
    前記感光体と前記被転写体とを圧接させたり離間させたりする圧接離間機構と、を有しており、
    前記準立上り状態は、前記第1の感光体と前記被転写体とが離間しているとともに、前記第2の感光体と前記被転写体とが圧接しかつ前記第2の感光体および前記被転写体が共に停止している状態であり、
    前記立上り状態は、前記第2の感光体と前記被転写体とが圧接しかつ前記第2の感光体および前記被転写体が共に回転している状態である、
    請求項1記載の画像形成装置。
  17. 前記仮の条件は、ユーザによる指定、前記種類の使用頻度、および搬送性能のうちの1つまたは複数の組合せに応じて決定される、
    請求項1ないし16のいずれかに記載の画像形成装置
  18. 前記立上げ制御部は、前記複数の想定された種類のうちの使用頻度の高い種類に対応した動作条件を前記仮の条件とする場合には、前記媒体の種類が検知される以前に、前記仮の条件による画像形成の準備が完了した状態まで移行するよう制御する、
    請求項1記載の画像形成装置。
JP2018096070A 2018-05-18 2018-05-18 画像形成装置、状態制御方法、およびコンピュータプログラム Active JP7081297B2 (ja)

Priority Applications (3)

Application Number Priority Date Filing Date Title
JP2018096070A JP7081297B2 (ja) 2018-05-18 2018-05-18 画像形成装置、状態制御方法、およびコンピュータプログラム
US16/408,810 US10725411B2 (en) 2018-05-18 2019-05-10 Image forming apparatus that forms an image on a sheet medium under an operation condition set in accordance with a type of the medium
CN201910393386.XA CN110501885B (zh) 2018-05-18 2019-05-13 图像形成装置

Applications Claiming Priority (1)

Application Number Priority Date Filing Date Title
JP2018096070A JP7081297B2 (ja) 2018-05-18 2018-05-18 画像形成装置、状態制御方法、およびコンピュータプログラム

Publications (2)

Publication Number Publication Date
JP2019200375A true JP2019200375A (ja) 2019-11-21
JP7081297B2 JP7081297B2 (ja) 2022-06-07

Family

ID=68533655

Family Applications (1)

Application Number Title Priority Date Filing Date
JP2018096070A Active JP7081297B2 (ja) 2018-05-18 2018-05-18 画像形成装置、状態制御方法、およびコンピュータプログラム

Country Status (3)

Country Link
US (1) US10725411B2 (ja)
JP (1) JP7081297B2 (ja)
CN (1) CN110501885B (ja)

Citations (5)

* Cited by examiner, † Cited by third party
Publication number Priority date Publication date Assignee Title
JPH1184908A (ja) * 1997-09-12 1999-03-30 Canon Inc 画像形成装置
JP2004078128A (ja) * 2002-08-22 2004-03-11 Fuji Xerox Co Ltd 画像形成装置
JP2015014695A (ja) * 2013-07-05 2015-01-22 キヤノン株式会社 画像形成装置
JP2017102340A (ja) * 2015-12-03 2017-06-08 キヤノン株式会社 画像形成装置
JP2017223903A (ja) * 2016-06-17 2017-12-21 キヤノン株式会社 画像形成装置

Family Cites Families (3)

* Cited by examiner, † Cited by third party
Publication number Priority date Publication date Assignee Title
JP4170803B2 (ja) * 2003-03-14 2008-10-22 株式会社リコー 画像形成装置
US7551306B2 (en) * 2005-07-29 2009-06-23 Canon Kabushiki Kaisha Image forming apparatus and method for controlling the image forming apparatus
JP5864919B2 (ja) 2011-07-07 2016-02-17 キヤノン株式会社 画像形成装置

Patent Citations (5)

* Cited by examiner, † Cited by third party
Publication number Priority date Publication date Assignee Title
JPH1184908A (ja) * 1997-09-12 1999-03-30 Canon Inc 画像形成装置
JP2004078128A (ja) * 2002-08-22 2004-03-11 Fuji Xerox Co Ltd 画像形成装置
JP2015014695A (ja) * 2013-07-05 2015-01-22 キヤノン株式会社 画像形成装置
JP2017102340A (ja) * 2015-12-03 2017-06-08 キヤノン株式会社 画像形成装置
JP2017223903A (ja) * 2016-06-17 2017-12-21 キヤノン株式会社 画像形成装置

Also Published As

Publication number Publication date
CN110501885B (zh) 2022-02-22
US10725411B2 (en) 2020-07-28
US20190354050A1 (en) 2019-11-21
JP7081297B2 (ja) 2022-06-07
CN110501885A (zh) 2019-11-26

Similar Documents

Publication Publication Date Title
JP5983686B2 (ja) 用紙搬送装置及び画像形成装置
US8781345B2 (en) Image forming apparatus and method of forming image
US10558155B1 (en) Image forming apparatus
US10038803B2 (en) Image forming apparatus
JP2017138406A (ja) 画像形成装置、温度制御方法
JP2020008621A (ja) 画像形成装置
JP5446441B2 (ja) 画像形成装置
JP2018106112A (ja) 画像形成装置、画像形成方法
EP2775353B1 (en) Electrophotographic image forming apparatus
US20080193157A1 (en) Media Determination
JP2012103580A (ja) 画像形成装置
JP2010211062A (ja) 画像形成装置
JP7081297B2 (ja) 画像形成装置、状態制御方法、およびコンピュータプログラム
US11899999B2 (en) Image forming apparatus, information processing terminal, method, and program
JP2004226492A (ja) 画像形成装置および複写装置
JP5402453B2 (ja) 画像形成装置およびその制御方法
JP2010256477A (ja) カラー画像形成装置
US12007715B1 (en) Image forming apparatus
JP2006142713A (ja) 画像形成装置、その補充用紙表示方法及びその方法をコンピュータに実行させるためのプログラム
US20240422275A1 (en) Image forming apparatus and method for controlling optional paper feeder in image forming apparatus
JP2013130772A (ja) 画像形成装置
JP2005164922A (ja) 画像形成装置
JP2025052740A (ja) 画像形成装置、画像形成装置の制御方法、およびプログラム
JP6344341B2 (ja) 画像形成装置、画像形成システム及び加熱量制御方法
JP6299303B2 (ja) 画像形成装置の制御装置、画像形成装置の制御プログラム、画像形成装置の制御方法

Legal Events

Date Code Title Description
A621 Written request for application examination

Free format text: JAPANESE INTERMEDIATE CODE: A621

Effective date: 20210416

A977 Report on retrieval

Free format text: JAPANESE INTERMEDIATE CODE: A971007

Effective date: 20220214

A131 Notification of reasons for refusal

Free format text: JAPANESE INTERMEDIATE CODE: A131

Effective date: 20220222

A521 Request for written amendment filed

Free format text: JAPANESE INTERMEDIATE CODE: A523

Effective date: 20220406

A521 Request for written amendment filed

Free format text: JAPANESE INTERMEDIATE CODE: A523

Effective date: 20220408

TRDD Decision of grant or rejection written
A01 Written decision to grant a patent or to grant a registration (utility model)

Free format text: JAPANESE INTERMEDIATE CODE: A01

Effective date: 20220426

A61 First payment of annual fees (during grant procedure)

Free format text: JAPANESE INTERMEDIATE CODE: A61

Effective date: 20220509

R150 Certificate of patent or registration of utility model

Ref document number: 7081297

Country of ref document: JP

Free format text: JAPANESE INTERMEDIATE CODE: R150