JP2018009860A - ガスメータの腹板取付構造 - Google Patents

ガスメータの腹板取付構造 Download PDF

Info

Publication number
JP2018009860A
JP2018009860A JP2016138432A JP2016138432A JP2018009860A JP 2018009860 A JP2018009860 A JP 2018009860A JP 2016138432 A JP2016138432 A JP 2016138432A JP 2016138432 A JP2016138432 A JP 2016138432A JP 2018009860 A JP2018009860 A JP 2018009860A
Authority
JP
Japan
Prior art keywords
outer peripheral
gas meter
plate mounting
abdominal plate
mounting structure
Prior art date
Legal status (The legal status is an assumption and is not a legal conclusion. Google has not performed a legal analysis and makes no representation as to the accuracy of the status listed.)
Granted
Application number
JP2016138432A
Other languages
English (en)
Other versions
JP6775184B2 (ja
Inventor
貴昭 ▲吉▼田
貴昭 ▲吉▼田
Takaaki Yoshida
泰広 山本
Yasuhiro Yamamoto
泰広 山本
石谷 聡
Satoshi Ishitani
聡 石谷
雅弘 能登
Masahiro Noto
雅弘 能登
義定 万波
Yoshisada Mannami
義定 万波
勉 野中
Tsutomu Nonaka
勉 野中
Current Assignee (The listed assignees may be inaccurate. Google has not performed a legal analysis and makes no representation or warranty as to the accuracy of the list.)
Takenaka Seisakusho Co Ltd
Aichi Tokei Denki Co Ltd
Kansai Gas Meter Co Ltd
Original Assignee
Takenaka Seisakusho Co Ltd
Aichi Tokei Denki Co Ltd
Kansai Gas Meter Co Ltd
Priority date (The priority date is an assumption and is not a legal conclusion. Google has not performed a legal analysis and makes no representation as to the accuracy of the date listed.)
Filing date
Publication date
Application filed by Takenaka Seisakusho Co Ltd, Aichi Tokei Denki Co Ltd, Kansai Gas Meter Co Ltd filed Critical Takenaka Seisakusho Co Ltd
Priority to JP2016138432A priority Critical patent/JP6775184B2/ja
Publication of JP2018009860A publication Critical patent/JP2018009860A/ja
Application granted granted Critical
Publication of JP6775184B2 publication Critical patent/JP6775184B2/ja
Active legal-status Critical Current
Anticipated expiration legal-status Critical

Links

Images

Landscapes

  • Measuring Volume Flow (AREA)

Abstract

【課題】ショットブラストのショット玉が腹板裏面側に侵入して蓄積されるのを防止できるガスメータの腹板取付構造を提供する。
【解決手段】本発明は、前面に計量室用凹部15が設けられたケース本体1を備え、そのケース本体1における計量室用凹部15の外周縁部に前方に隆起する腹板取付部5が形成される一方、腹板取付部5を含めて計量室用凹部15を前面側から覆うように腹板4が取り付けられ、腹板4の外周端縁にその外周端縁が裏面側に折曲されるようにして縁曲げ部45が形成されたガスメータの腹板取付構造を対象とする。腹板4の縁曲げ部45の先端とケース本体1の表面と間に設けられた隙間7の間隔Sが1.0mm以上に設定されている。
【選択図】図3

Description

この発明は、ガスの流量を計測するためのガスメータの腹板取付構造に関する。
各家庭やレストラン等において、ガスの使用量(流量)を計測するために設置されるガスメータとしては、特許文献1に示すようにガス圧で作動するメカニカル方式の膜式ガスメータが一般に多く使用されている。
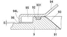
図6は従来の膜式ガスメータにおけるケース本体を示す正面図、図7は従来の腹板取付構造を示す断面図であって、図6のA−A線断面に相当する断面図である。
両図に示すように、ケース本体9の前面には、計量室用凹部91が形成されるとともに、計量室用凹部91の外周縁部には、その外周縁部が前方に盛り上がるようにして腹板取付部92が形成されている。この計量室用凹部91を閉塞するようにして計量膜93が配置されるとともに、その計量膜93を覆うようにして腹板94がケース本体9の前面にねじ止めによって固定されている。この状態において計量膜93はその外周縁部931がケース本体9の腹板取付部92と腹板94の裏面側外周縁部とに挟持されることにより固定されている。
このような従来のガスメータにおいて、ケース本体9の腹板取付部92には、外方に突出するようにねじ止め部922が周方向に間隔をおいて複数形成されている。
一方、腹板94は、ケース本体9におけるねじ止め部922を含む領域をカバーできるように、腹板94の輪郭線94Lは、ねじ止め部922の外側を通るように設定されている。
このため腹板取付部92のうち、ねじ止め部922以外の部分では、腹板94の輪郭線94Lと腹板取付部92の外側輪郭線92Lとの間隔が広くなり、腹板94の外周縁部裏面側に、メータ外部に開口する空間部95(図7参照)が形成されてしまう。
特開2006−177805号公報
ところで上記のようなガスメータは、使用期限が設定されており、使用期限が経過すると、新しいガスメータに取り換えるようにしている。その一方、使用期限経過後のガスメータ(使用済ガスメータ)は多くの場合、点検等が行われ、必要に応じて補修や修繕が行われて再利用されるのが一般的であるが、使用済ガスメータを点検する場合、メータ表面の塗装をショットブラストによって剥がすようにしている。
しかしながら、ショットブラストによってガスメータの塗装を剥がす際に、図7に示すように腹板94の外周縁部裏面側に空間部95が形成されていると、その空間部95にショットブラストにおけるショット玉(投射材)が入り込んで蓄積されてしまう。このように腹板裏面側の空間部95にショット玉が蓄積されてしまうと、空間部95に蓄積されたショット玉を、取り除くという面倒な作業が必要となり、ガスメータの点検作業や修繕作業が困難であるという課題が発生する。
この発明は、上記の課題に鑑みてなされたものであり、ショットブラストによりガスメータを表面処理したとしても、腹板の外周縁部裏面側に侵入したショット玉が蓄積されるのを防止することができるガスメータの腹板取付構造を提供することを目的とする。
上記課題を解決するため、本発明は、以下の手段を備えるものである。
[1]前面に計量室用凹部が設けられたケース本体を備え、そのケース本体における前記計量室用凹部の外周縁部に前方に隆起する腹板取付部が形成される一方、前記腹板取付部を含めて前記計量室用凹部を前面側から覆うように腹板が取り付けられ、前記腹板の外周端縁にその外周端縁が裏面側に折曲されるようにして縁曲げ部が形成されたガスメータの腹板取付構造であって、
前記腹板の縁曲げ部の先端と前記ケース本体の表面との間に設けられた隙間の間隔が1.0mm以上に設定されていることを特徴とするガスメータの腹板取付構造。
[2]前記腹板の縁曲げ部の先端と前記ケース本体の表面との間の隙間の間隔が、メータ表面処理用のショットブラストにおけるショット玉の最大粒径以上に設定されている前項1に記載のガスメータの腹板取付構造。
[3]前記腹板の縁曲げ部の長さが3.0mm以下に設定されている前項1または2に記載のガスメータの腹板取付構造。
[4]前記腹板取付部の外周面に外方に突出するようにねじ止め部が周方向に間隔をおいて複数形成され、
前記ねじ止め部の外周面と、そのねじ止め部の両側における前記腹板取付部の外周面との間の入隅部の曲率半径が4.0mm以上に設定されている前項1〜3のいずれか1項に記載のガスメータの腹板取付構造。
発明[1]のガスメータの腹板取付構造によれば、腹板外周端縁の縁曲げ部とケース本体表面との間に設けられた隙間の間隔を1.0mm以上に広く形成しているため、ショットブラストによってガスメータの表面処理を行った際に、腹板外周縁部とケース本体との間の空間部にショット玉が侵入したとしても、その侵入したショット玉は上記広い隙間を通って外部にスムーズに排出される。このため腹板裏面側の空間部にショット玉が蓄積されることがなく、ショット玉の除去作業が不要となり、その分、ガスメータの点検作業や修繕作業を簡単に行うことができる。
発明[2]のガスメータの腹板取付構造によれば、腹板外周端縁の縁曲げ部とケース本体表面との間の隙間を、ショット玉の最大粒径以上に設定しているため、腹板裏面の空間部に侵入したほぼ全てのショット玉を上記隙間を介して、より確実に排出することができ、腹板裏面の空間部にショット玉が蓄積されるのをより確実に防止することができる。
発明[3]のガスメータの腹板取付構造によれば、縁曲げ部の長さを所定値以下に設定しているため、本発明の構造を簡単に実現することができる。すなわち従来のガスメータにおける腹板の縁曲げ部を短く変更するだけで簡単に本発明の腹板取付構造を実現することができる。
発明[4]のガスメータの腹板取付構造によれば、腹板裏面側の空間部におけるねじ止め部両側の入隅部の曲率半径を大きく滑らかに形成しているため、その入隅部にショット玉が滞留するのを防止でき、より確実にショット玉を外部に排出することができる。
図1はこの発明の実施形態である腹板取付構造が適用可能なガスメータのケース本体を示す正面図である。 図2は実施形態の腹板取付構造を説明するための分解斜視図である。 図3は実施形態の腹板取付構造を示す断面図であって、図1のB−B線断面に相当する断面図である。 図4は実施形態のケース本体におけるねじ部周辺を拡大して示す正面図であって、図1の一点鎖線で囲まれた部分を拡大して示す正面図に相当する。 図5は実施形態のガスメータに適用された計量膜を示すであって、図(a)は正面図、図(b)は側面図である。 図6は従来のガスメータのケース本体を示す正面図である。 図7は従来の腹板取付構造を示す断面図であって、図5のA−A線断面に相当する断面図である。
図1はこの発明の実施形態である腹板取付構造が適用可能なガスメータのケース本体1を示す正面図、図2は実施形態の腹板取付構造を説明するための分解斜視図、図3は図1のB−B線断面に相当する断面図である。
なお図1においては、発明の理解を容易にするため、ケース本体1に取り付けられる予定の腹板4の輪郭線4Lを想像線(二点鎖線)で示している。
さらに本実施形態のガスメータにおけるケース本体1のガス計量部分において、前側半分の構成は後側半分の構成に対し面対称で実質的に同一の構成を有している。よって本実施形態の説明では、前側半分の構成を詳細に説明し、後側半分の構成については必要に応じて要部のみを説明するものとする。さらに本発明においては、既述した通りケース本体1の計量部分に関しては、前後対称形状であるため、ケース本体1の「前面」を、ケース本体1の「後面」に置き換えることも可能であり、ケース本体1の「前面」を、ケース本体1の「前面および後面」に置き換えることも可能である。
図1〜図3に示すように、ケース本体1は、鋳造加工によって形成された鋳造品(鋳物)によって構成されており、そのケース本体1の前面には、ガスメータ組立状態で計量室として構成される計量室用凹部15が形成されている。さらにケース本体1の前面における計量室用凹部15の右上には、吸排気路の一端開口である吸排気口2が開口されている。
ケース本体1の前面における計量室用凹部15の外周縁部および吸排気口2の外周縁部には、腹板取付部5が形成されている。この腹板取付部5は、前方に盛り上がるようにしてケース本体1に対し一体に形成されている。なお本実施形態においては、腹板取付部5のうち、計量室用凹部15の外周縁部に沿って配置される部分を計量室側腹板取付部51と称し、吸排気口2の外周縁部に沿って配置される部分を吸排気口側腹板取付部52と称する。
計量室側腹板取付部51の前面には、周方向に沿って計量室外周溝51aが形成されるとともに、吸排気口側腹板取付部52の前面には、周方向に沿って吸排気口外周溝52aが形成されている。
さらに腹板取付部5の前面における外周溝51a,52aの外側には、部分的に外方に突出するようにしてねじ止め部55が周方向に適宜間隔をおいて複数形成されている。各ねじ止め部55には、雌ねじが切り込まれたねじ切り孔56が形成されている。
図4は図1の一点鎖線で囲まれた部分を拡大して示す正面図である。同図に示すように本実施形態において、ねじ止め部55の外周面と、ねじ止め部両側の腹板取付部5における外周面との間の入隅部57の曲率半径Rは、10mmに設定されている。参考までに従来のガスメータにおいて対応する入隅部の曲率半径Rは3mm程度であり、本実施形態の入隅部57の曲率半径Rは、大きく滑らかに形成されている。後に詳述するが本実施形態においては、各ねじ止め部55の両側に配置される全ての入隅部57のうち、多くの入隅部57の曲率半径Rが10mmに設定されている。
図5は計量膜3を示す図である。図1〜図5に示すようにケース本体1には、計量室用凹部15を閉塞するようにして計量膜3が配置されている。
計量膜3は、円盤状の膜本体35と、膜本体35の外周縁部に沿って形成される計量室外周縁部31と、計量室外周縁部31の周方向の一部に、外側に突出するようにして形成され、かつ吸排気口2の外周縁部に沿って配置される吸排気口外周縁部32とを備えている。計量室外周縁部31の裏面側には、ケース本体1の上記計量室外周溝51aに対応し、かつOリングとして機能する計量室外周シール部材31aが設けられている。さらに吸排気口外周縁部32の裏面側には、ケース本体1の上記吸排気口外周溝52aに対応し、かつOリングとして機能する吸排気口外周シール部材32aが設けられている。
この計量膜3のシール部材31a,32aがケース本体1の外周溝51a,52aに対応して配置されるようにして、計量膜3の外周縁部31,32がケース本体1の腹板取付部5上に配置される。
図2および図3に示すように、腹板4は、ケース本体1の前面側における所領領域のほぼ全域をカバーできる形状に形成されており、その外周縁部には、ケース本体1の腹板取付部5に対応し、かつ腹板取付部5に載置可能な外周取付部40が形成されている。さらに腹板4の外周取付部40のさらに外側、つまり腹板4の外周端縁には、その外周端縁が裏面側に折り曲げられるようにして縁曲げ部45(図3参照)が形成されている。
また腹板4の外周取付部40には、ケース本体1の各ねじ切り孔56に対応して、ねじ挿通孔46がそれぞれ形成されている。
なお本実施形態においては図2に示すように、腹板4の外周取付部40のうち、ケース本体1の計量室側腹板取付部51に対応する部分が計量室側外周取付部41として構成されるとともに、吸排気口側腹板取付部52に対応する部分が吸排気口側外周取付部47として構成されている。
この腹板4によってケース本体1の計量室用凹部15および吸排気口2が計量膜3を介して覆われるようにして、腹板4の外周取付部40がケース本体1の腹板取付部5に載置され、その状態で腹板4のねじ挿通孔46に挿通されたねじ(図示省略)がケース本体1のねじ切り孔56にねじ込まれて固定される。これにより腹板4がケース本体1に締結固定されるとともに、計量膜3がその計量室外周縁部31および吸排気口外周縁部32がケース本体1および腹板4に挟持されて固定される。さらに計量膜3の計量室外周シール部材31aおよび吸排気口外周シール部材32aがケース本体1の計量室外周溝51aおよび吸排気口外周溝52a内に圧縮状態に圧入されて、ケース本体1および腹板4間における計量膜3の外周縁部31,32周辺の気密性が確保される。
この腹板取付構造においては図3に示すように、腹板4の縁曲げ部45の先端とケース本体1の表面との間の隙間(腹板外周端縁隙間)7の間隔Sが1.5mmに設定されている。ここで例えば図6および図7に示す従来のガスメータにおける腹板外周端縁隙間96の間隔Sは0.5mm程度に設定されており、実施形態の腹板外周端縁隙間Sは従来の腹板外周端縁隙間96に比べて幅広に設定されている。
なお本実施形態においては、腹板4の縁曲げ部45の長さLは2.5mmに設定されており、従来の腹板の縁曲げ部の長さよりも短く設定されている。このように本実施形態においては縁曲げ部45の長さLを短く設定することにより、腹板外周端縁隙間7の間隔Sを広くするようにしている。
一方、本実施形態においては、ケース本体1の計量室用凹部15と計量膜3とによって囲まれた空間部が、内側計量室として構成されるとともに、計量膜3と腹板4とによって囲まれた空間部が、外側計量室として構成されている。
以上の構成の本実施形態のガスメータにおいては、腹板外周端縁隙間7を広く設定しているため、使用期限経過後(使用済)のガスメータを点検する際等に、ショットブラストによってガスメータの表面塗装を剥がした際に、ショットブラストのショット玉(投射材、ブラスト)が腹板外周縁部裏面側の空間部6に侵入するものの、その侵入したショット玉は、腹板外周端縁隙間7を介して外部にスムーズに排出される。このためショットブラストによるショット玉が、腹板外周縁部裏面側の空間部6内に蓄積されることがなく、蓄積されたショット玉を除去する等の面倒な作業が必要なく、その分、ガスメータの点検作業や修繕作業を簡単に行うことができる。
本実施形態において、腹板裏面側の空間部6内に侵入したショット玉は基本的には、自重によって腹板外周端縁隙間7を通って自然に排出されるが、排出が不十分と考えられる場合には必要に応じて空間部6内にエアーブローを併用することによって、空間部6内に侵入したショット玉を吹き飛ばしてより確実に外部に排出することができる。
ここで本実施形態においては、空間部6内に侵入したショット玉を腹板外周端縁隙間7から確実に排出させるためには、腹板外周端縁隙間7の間隔Sを1.0mm以上に設定する必要がある。
なおガスメータの表面処理用のショットブラストで使用されるショット玉の最大径は1mm程度であるが、本実施形態においては、腹板外周端縁隙間7をショット玉の最大径(1mm)よりも大きい1.5mmに設定しているため、全てのショット玉が不具合なく腹板外周端縁隙間7を通過することが可能となる。従って腹板裏面側の空間部6内に侵入したショット玉の腹板外周端縁隙間7からの排出をより一層確実に行うことができ、ショット玉が腹板裏面側に蓄積されるのをより一層確実に防止することができる。言うまでもなく本発明において採用されるショットブラストのショット玉は球体に限られず、どのような形状のものであっても良い。
また本実施形態の腹板取付構造においては、従来の腹板取付構造と比較して、腹板4における縁曲げ部45の長さLを短くするだけで簡単に形成することができる。このため本実施形態の腹板取付構造が適用されるガスメータは、従来のガスメータに対し大規模な設計変更等を行うことがなく簡単に実現できて、既存のガスメータ部品をほぼそのまま有効利用することができる。
さらに本実施形態のガスメータにおいては、腹板4の縁曲げ部45を短くしているため、余分な材料(駄肉)を省略することができて、使用材料およびコストの削減を図ることができるとともに、ガスメータの軽量化を図ることができる。
ここで本実施形態においては、縁曲げ部45の長さLを3.0mm以下に設定するのが好ましく、それによって腹板外周端縁隙間7の間隔Sを上記の特定値に確実に設定することができる。
また本実施形態では、腹板裏面側の空間部6内においてねじ止め部両側の入隅部57の曲率半径Rを大きく滑らかに形成しているため、その入隅部57に滞留しようとするショット玉は自重やエアーブロー等によって流出させることができ、ショット玉を腹板裏面側空間部6から外部により一層スムーズに排出することができる。
ここで本実施形態においては、ショット玉の滞留防止を有効に行うために、入隅部57の曲率半径Rを4mm以上に形成するのが良く、より好ましくは10mm以上に設定するのが良い。
また本実施形態においては、ねじ止め部両側に設けられる全ての入隅部57の曲率半径Rを必ずしも上記の特定値以上に形成する必要はないが、入隅部57のうち、少なくともショット玉が滞留し易い入隅部57の曲率半径Rを上記の特定値以上に形成するのが好ましい。本実施形態においてショット玉が滞留し易い入隅部57とは例えば、腹板取付部5の全周のうち上側半周に配置される入隅部57等を挙げることができる。もっとも本発明においては、そっと玉が滞留し易い入隅部57は、過去のデータや実験、研究等によって適宜決定すれば良い。
別の観点から捉えると、本実施形態においてショット玉の滞留防止効果をより確実に得るためには、全てのねじ止め部57の両側に形成される入隅部57のうち、半分(50%)以上の入隅部57、より好ましくは80%以上の入隅部57の曲率半径Rを上記の特定値以上に形成するのが良い。
なお、本実施形態においては、既述した通りケース本体1の前部に内外2つの対をなす計量室が設けられるとともに、後部にも前部と同様に内外2つの対をなす計量室が設けられ、計4つの計量室が前後に並んで設けられている。さらにケース本体1にはその上部を覆うように上ケースが取り付けられる。この上ケース内は、流入室と流出室とに仕切られており、流入室に対応してガス流入口が形成されるとともに、流出室に対応してガス流出口が形成されている。そしてメータ外部からガス流入口を通って上ケースの流入室に導入されたガスは、各計量室に順次導入されて順次計量された後、上ケースの流出室に順次導入され、さらにそのガスがガス流出口を通ってメータ外部に排出されるようになっている。
ところで、上記実施形態においては、本発明の腹板取付構造をケース本体の前面側に適用する場合を例に挙げて説明したが、それだけに限られず、本発明の腹板取付構造は、ケース本体の後面側にも上記と同様に採用することができる。さらに本発明の腹板取付構造は、ケース本体の前面側および後面側の双方に採用しても良いし、いずれか一方のみに採用するようにしても良い。
この発明のガスメータの腹板取付構造は、ガス圧で作動するメカニカル方式のガスメータに好適に採用することができる。
1:ケース本体
15:計量室用凹部
4:腹板
40:外周縁部
45:縁曲げ部
4L:輪郭線
5:腹板取付部
5L:外側輪郭線
55:ねじ止め部
57:入隅部
7:隙間
L:縁曲げ部の長さ
R:入隅部の曲率半径
S:隙間の間隔

Claims (4)

  1. 前面に計量室用凹部が設けられたケース本体を備え、そのケース本体における前記計量室用凹部の外周縁部に前方に隆起する腹板取付部が形成される一方、前記腹板取付部を含めて前記計量室用凹部を前面側から覆うように腹板が取り付けられ、前記腹板の外周端縁にその外周端縁が裏面側に折曲されるようにして縁曲げ部が形成されたガスメータの腹板取付構造であって、
    前記腹板の縁曲げ部の先端と前記ケース本体の表面との間に設けられた隙間の間隔が1.0mm以上に設定されていることを特徴とするガスメータの腹板取付構造。
  2. 前記腹板の縁曲げ部の先端と前記ケース本体の表面との間の隙間の間隔が、メータ表面処理用のショットブラストにおけるショット玉の最大粒径以上に設定されている請求項1に記載のガスメータの腹板取付構造。
  3. 前記腹板の縁曲げ部の長さが3.0mm以下に設定されている請求項1または2に記載のガスメータの腹板取付構造。
  4. 前記腹板取付部の外周面に外方に突出するようにねじ止め部が周方向に間隔をおいて複数形成され、
    前記ねじ止め部の外周面と、そのねじ止め部の両側における前記腹板取付部の外周面との間の入隅部の曲率半径が4.0mm以上に設定されている請求項1〜3のいずれか1項に記載のガスメータの腹板取付構造。
JP2016138432A 2016-07-13 2016-07-13 ガスメータの腹板取付構造 Active JP6775184B2 (ja)

Priority Applications (1)

Application Number Priority Date Filing Date Title
JP2016138432A JP6775184B2 (ja) 2016-07-13 2016-07-13 ガスメータの腹板取付構造

Applications Claiming Priority (1)

Application Number Priority Date Filing Date Title
JP2016138432A JP6775184B2 (ja) 2016-07-13 2016-07-13 ガスメータの腹板取付構造

Publications (2)

Publication Number Publication Date
JP2018009860A true JP2018009860A (ja) 2018-01-18
JP6775184B2 JP6775184B2 (ja) 2020-10-28

Family

ID=60995375

Family Applications (1)

Application Number Title Priority Date Filing Date
JP2016138432A Active JP6775184B2 (ja) 2016-07-13 2016-07-13 ガスメータの腹板取付構造

Country Status (1)

Country Link
JP (1) JP6775184B2 (ja)

Citations (5)

* Cited by examiner, † Cited by third party
Publication number Priority date Publication date Assignee Title
US4091668A (en) * 1977-03-11 1978-05-30 Kimmon Manufacturing Co., Ltd. Diaphragm type gas meter
JPH029830U (ja) * 1988-07-05 1990-01-22
JPH0454416A (ja) * 1990-06-22 1992-02-21 Toyo Gasumeetaa Kk バルブ凍結解除機能を備えたガスメータ
JP2006177805A (ja) * 2004-12-22 2006-07-06 Kimmon Mfg Co Ltd 膜式ガスメータ
EP3002565A1 (en) * 2012-01-30 2016-04-06 Pietro Fiorentini S.P.A. Gas meter

Patent Citations (5)

* Cited by examiner, † Cited by third party
Publication number Priority date Publication date Assignee Title
US4091668A (en) * 1977-03-11 1978-05-30 Kimmon Manufacturing Co., Ltd. Diaphragm type gas meter
JPH029830U (ja) * 1988-07-05 1990-01-22
JPH0454416A (ja) * 1990-06-22 1992-02-21 Toyo Gasumeetaa Kk バルブ凍結解除機能を備えたガスメータ
JP2006177805A (ja) * 2004-12-22 2006-07-06 Kimmon Mfg Co Ltd 膜式ガスメータ
EP3002565A1 (en) * 2012-01-30 2016-04-06 Pietro Fiorentini S.P.A. Gas meter

Also Published As

Publication number Publication date
JP6775184B2 (ja) 2020-10-28

Similar Documents

Publication Publication Date Title
US10794794B2 (en) Flow conditioner
US6282951B1 (en) Fluid flow system having a stress relief casing
US20140360501A1 (en) Gas pressure measurement system for patient ventilation apparatus
ES2453642T3 (es) Caudalímetro de fluido
JP6477195B2 (ja) 流量測定装置
JP2018009860A (ja) ガスメータの腹板取付構造
US10859418B2 (en) Airflow measuring device
JP6306434B2 (ja) 超音波流量計
JP2022084957A (ja) 物理量計測装置
CN100356142C (zh) 整流装置
CN107167194A (zh) 一种气体管道整流器
JP2016138857A (ja) ガスメータの腹板取付構造およびケース本体
US20210164424A1 (en) Air cleaner
JPWO2018150738A1 (ja) 呼気測定装置
WO2016180026A1 (zh) 防潮天平
JP2015099040A (ja) プローブ測定装置及び補正方法
US10684155B2 (en) Air flow rate measurement device
Atçeken et al. Pseudo-slant submanifolds of nearly Kenmotsu manifold
WO2021214694A1 (en) Mask
CN108036891A (zh) 一种气压传感器防护结构、气压计及无人机
CN107850079A (zh)
US20190265148A1 (en) Fluid sensor
JP3921518B2 (ja) 電子化ガスメータの脈動吸収構造
CN110397571A (zh) 具有扰乱气体脉动效果的降噪装置及压缩机
CN219142585U (zh) 压缩气处理装置及粉尘浓度测量仪

Legal Events

Date Code Title Description
A621 Written request for application examination

Free format text: JAPANESE INTERMEDIATE CODE: A621

Effective date: 20190617

A131 Notification of reasons for refusal

Free format text: JAPANESE INTERMEDIATE CODE: A131

Effective date: 20200623

A521 Request for written amendment filed

Free format text: JAPANESE INTERMEDIATE CODE: A523

Effective date: 20200807

TRDD Decision of grant or rejection written
A01 Written decision to grant a patent or to grant a registration (utility model)

Free format text: JAPANESE INTERMEDIATE CODE: A01

Effective date: 20200901

A61 First payment of annual fees (during grant procedure)

Free format text: JAPANESE INTERMEDIATE CODE: A61

Effective date: 20200918

R150 Certificate of patent or registration of utility model

Ref document number: 6775184

Country of ref document: JP

Free format text: JAPANESE INTERMEDIATE CODE: R150

RD02 Notification of acceptance of power of attorney

Free format text: JAPANESE INTERMEDIATE CODE: R3D02

R250 Receipt of annual fees

Free format text: JAPANESE INTERMEDIATE CODE: R250