JP2018009820A - 構造物の歪センサ及び構造物歪検出方法 - Google Patents

構造物の歪センサ及び構造物歪検出方法 Download PDF

Info

Publication number
JP2018009820A
JP2018009820A JP2016137169A JP2016137169A JP2018009820A JP 2018009820 A JP2018009820 A JP 2018009820A JP 2016137169 A JP2016137169 A JP 2016137169A JP 2016137169 A JP2016137169 A JP 2016137169A JP 2018009820 A JP2018009820 A JP 2018009820A
Authority
JP
Japan
Prior art keywords
strain
wiring
stretchable
strain sensor
substrate
Prior art date
Legal status (The legal status is an assumption and is not a legal conclusion. Google has not performed a legal analysis and makes no representation as to the accuracy of the status listed.)
Granted
Application number
JP2016137169A
Other languages
English (en)
Other versions
JP6875672B2 (ja
Inventor
堤 知明
Tomoaki Tsutsumi
知明 堤
直明 河村
Naoaki Kawamura
直明 河村
瀬下 雄一
Yuichi Seshimo
雄一 瀬下
周治 井出
Shuji Ide
周治 井出
中川 貴之
Takayuki Nakagawa
貴之 中川
秀明 田鎖
Hideaki Tagusari
秀明 田鎖
毅 関谷
Tsuyoshi Sekitani
毅 関谷
隆文 植村
Takafumi Uemura
隆文 植村
徹平 荒木
Teppei Araki
徹平 荒木
秀輔 吉本
Shusuke Yoshimoto
秀輔 吉本
Current Assignee (The listed assignees may be inaccurate. Google has not performed a legal analysis and makes no representation or warranty as to the accuracy of the list.)
Tokyo Electric Power Services Co Ltd
Tokyo Electric Power Co Holdings Inc
University of Osaka NUC
Original Assignee
Osaka University NUC
Tokyo Electric Power Services Co Ltd
Tokyo Electric Power Co Holdings Inc
Priority date (The priority date is an assumption and is not a legal conclusion. Google has not performed a legal analysis and makes no representation as to the accuracy of the date listed.)
Filing date
Publication date
Application filed by Osaka University NUC, Tokyo Electric Power Services Co Ltd, Tokyo Electric Power Co Holdings Inc filed Critical Osaka University NUC
Priority to JP2016137169A priority Critical patent/JP6875672B2/ja
Publication of JP2018009820A publication Critical patent/JP2018009820A/ja
Application granted granted Critical
Publication of JP6875672B2 publication Critical patent/JP6875672B2/ja
Active legal-status Critical Current
Anticipated expiration legal-status Critical

Links

Images

Landscapes

  • Measurement Of Force In General (AREA)

Abstract

【課題】本発明は、構造物にひび割れが生じても、構造物の変形を検出することが可能な構造物の歪センサを提供する。【解決手段】歪センサ10は、構造物の表面1aの歪を検出する歪センサ10であって、基板面30aに沿う方向に伸縮性を有する伸縮基板30と、導電性を有し、基板面30aに沿う方向に延びるように配線され、基板面30aに沿う方向に伸縮性を有する伸縮配線40と、を備える。【選択図】図2

Description

本発明は、構造物の歪センサ及び構造物歪検出方法に関する。
従来、トンネル、橋梁、鉄塔、機械設備といった構造物の変形を確認する方法として、歪ゲージをセンサとして用いる方法が一般に知られている。例えば、コンクリート構造物の変形を確認する方法として、以下の特許文献1に記載された歪ゲージをセンサとして用いる方法が知られている。
特開2006−275698号公報
しかし、歪ゲージを設置した箇所にひび割れが生じると弾性歪が生じていた場合と比較してひび割れ幅に対応する大きな変形が生じる。このため、特許文献1に記載された歪ゲージを用いたセンサは、ひび割れに対する変形に追従できず、検出することができなくなってしまう問題がある。
本発明は、構造物にひび割れが生じても、構造物の変形を検出することが可能な構造物の歪センサを提供することを目的とする。
第1の態様の歪センサは、構造物の表面の歪を検出する歪センサであって、基板面に沿う方向に伸縮性を有する伸縮基板と、導電性を有し、前記基板面に沿う方向に延びるように配線され、前記基板面に沿う方向に伸縮性を有する伸縮配線と、を備える。
本態様では、構造物に大きな歪が発生しても、伸縮基板及び伸縮配線が歪に対して伸縮するため、構造物にひび割れが生じても、構造物の変形を検出することが可能である。
第2の態様の歪センサは、前記伸縮基板に前記伸縮配線が複数配列された第1の態様の歪センサである。
本態様では、複数箇所の歪を別々に検出することができるため、構造物の表面における歪の分布を検出することができる。
第3の態様の歪センサは、伸縮配線が前記基板面に配置された印刷配線である第1又は第2の態様の歪センサである。
本態様では、加工された伸縮基板に対して伸縮配線を任意のパターンで設けることができるため、伸縮配線を簡単且つ安価に設けることができる。
第4の態様の歪センサは、前記伸縮基板及び前記伸縮配線が可撓性を有する第1から第3の態様のいずれかの歪センサである。
本態様では、歪センサを構造物の曲表面や凹凸表面に貼り付けることができる。
第5の態様の歪センサは、前記伸縮配線の電気抵抗を検出する歪検出部をさらに備える第1から第4の態様のいずれかの歪センサである。
本態様では、検出された電気抵抗から構造物の表面における歪を算出することができる。
第6の態様の歪センサは、前記歪検出部で検出した電気抵抗に基づく情報の無線送信を行う無線送信部をさらに備える第5の態様の歪センサである。
本態様では、遠隔における歪のモニタリングが可能となり、監視作業やメンテナンス作業の効率化を行うことができる。
第7の態様の歪センサは、少なくとも前記無線送信部に、電力を供給するバッテリをさらに備える第6の態様の歪センサである。
本態様では、無線送信部への電力の供給配線を設ける必要がないため、構造物に対して、歪センサを任意の場所に設置することができる。
第8の態様の構造物歪検出方法は、第1から第7のいずれかの態様の歪センサを構造物に設置する設置工程と、
前記伸縮配線の歪を検出する歪検出工程と、を実施する。
本態様では、構造物に大きな歪が発生しても、伸縮基板及び伸縮配線が歪に対して伸縮するため、構造物にひび割れが生じても、構造物の変形を検出することが可能である。
第9の態様の構造物歪検出方法は、前記検出した歪に基づく情報の無線送信を行う無線送信工程をさらに実施する第8の態様の構造物歪検出方法である。
本態様では、遠隔における歪のモニタリングが可能となり、監視作業やメンテナンス作業の効率化を行うことができる。
本発明の構造物の歪センサは、構造物にひび割れが生じても、構造物の変形を検出することできる。
本発明に係る第一実施形態における歪センサの設置状態を示す図である。 本発明に係る第一実施形態における歪センサの要部の断面図である。 本発明に係る第一実施形態における直線状のパターンの伸縮配線を示す図である。 本発明に係る第一実施形態の変形例におけるU字パターンの伸縮配線を示す図である。 本発明に係る第一実施形態の変形例におけるジグザグパターンの伸縮配線を示す図である。 本発明に係る第一実施形態の変形例におけるクロスパターンの伸縮配線を示す図である。 本発明に係る第二実施形態における歪センサの要部の断面図である。 本発明に係る第三実施形態における歪センサの要部の断面図である。 本発明に係る第三実施形態における歪センサの概要図である。 図8のX部の拡大図である。 本発明に係る第三実施形態の変形例における歪センサの要部の概要図である。 本発明に係る構造物歪検出方法の実施形態のフローチャートである。 検出されたコンクリート構造物の歪の時間変化を示すグラフである。
以下、本発明に係る各種実施形態について、図面を用いて説明する。
「第一実施形態」
以下、本発明に係る歪センサの第一実施形態について、図1〜図6を参照して説明する。
図1に示すように、歪測定システム5は、歪センサ10と、処理部90とを備える。
歪センサ10は、センサ本体部20と、伸縮基板30と、歪検出部60とを備え、コンクリート構造物1の表面1aに設置される。
センサ本体部20は複数有しており、伸縮基板30の一方の面に並べて配列されるとともに固定されている。
本実施形態では、複数のセンサ本体部20が配置された伸縮基板30が、トンネルに設置され、トンネルの内壁表面の歪を検出する。
図1に示すように、伸縮基板30は、複数のセンサ本体部20が配列された一方の面をコンクリート構造物1の表面1aに対向するように貼り付けられる。よって、複数のセンサ本体部20は、コンクリート構造物1の表面1aに面状に配置されている。
なお、図1の下部に示した図は、複数のセンサ本体部20を含む1枚の伸縮基板30の一部分を拡大した図であって、コンクリート構造物1に向かって、伸縮基板30を透視して複数のセンサ本体部20を見た図を示している。
歪センサ10は、後で詳しく示す歪検出部60において、コンクリート構造物1の表面1aにおけるセンサ本体部20が設置された各点についての歪を検出する。
本実施形態では、各センサ本体部20が固定された伸縮基板30を複数枚設け、コンクリート構造物1の表面1aの全体にわたって当該伸縮基板30を並べて貼り付けている。よって、複数のセンサ本体部20は、コンクリート構造物1の表面1aの全体にわたって並べて配置されている。
歪検出部60と処理部90とは、通信可能なように電線や光ファイバー等で接続されており、検出された各点の歪に基づく情報は、歪センサ10の歪検出部60から処理部90に出力される。
歪検出部60から送られてきた各点の歪に基づく情報は、処理部90において表示、印刷等によって出力され、作業者に提示される。処理部90は、各点の歪をそのまま出力するものであってもよいが、次に示すようにマップデータで出力するものであってもよい。
処理部90には、複数のセンサ本体部20が設置された各点と各点の位置との関係が予め記憶されている。処理部90は、当該記憶された当該関係から、検出された各点の歪に基づく情報とコンクリート構造物1の表面1aの位置とを関連付ける。
したがって、処理部90は、検出された各点の歪に基づく情報とコンクリート構造物1の表面1aの位置とを関連付けることによって、コンクリート構造物1の表面1aの歪のマップデータを作成することができる。
また、処理部90は、時間と検出された各点の歪に基づく情報との関係から、歪の時間変化を示すグラフを作成することができる。
作成されたマップデータやグラフは、処理部90において表示、印刷等によって出力され、作業者に提示される。作業者に提示されるマップデータは、歪と位置との関係を等高線やカラーマップで示すものであり、作業者に提示されるグラフは、時間と歪との関係を線グラフで示すものである。
歪と位置との関係を等高線やカラーマップで示すことで、作業者は、コンクリート構造物1の表面1aに沿った歪の二次元分布を評価することができる。
また、時間と歪との関係を線グラフで示すことで、作業者は、コンクリート構造物1のひび割れの発生やひび割れの進展を評価することができる。
本実施形態では、作業者は、当該マップデータや当該グラフからコンクリート構造物1の表面1a又はコンクリート構造物1の内部のひび割れを判断し、ひび割れの発生やひび割れの進展の報告又はひび割れ箇所の補修や保守を行う。
本実施形態に用いる処理部90は、CPU、記憶部、I/O部等を有するコンピュータシステムであればどのようなものを用いてもよいが、電気回路や電子回路で構成してもよい。また、任意の場所で検出された歪に基づく情報を確認できるように、処理部90としてノートパソコン、PDA、タブレット等の携帯端末を用いてもよい。
本実施形態の伸縮基板30の構造について説明する。
伸縮基板30は、可撓性を有する薄いシート状であるとともに、基板面30aに沿う方向に伸縮性を有する。本実施形態では、伸縮基板30として、ポリフッ化ビニリデン(PVDF)を用いている。
伸縮基板30を構成する伸縮性を有する材料としては、ポリフッ化ビニリデンの他に、ポリウレタン、シリコーンゴム、ポリ塩化ビニル、ポリエチレンテレフタレート、ポリエチレンナフタレート、パリレン、スチレンブタジエンゴム、クロロプレンゴム、アクリルゴムが挙げられる。また、当該材料に比べて低伸縮ながら布やポリイミドを用いることも可能である。
例えばポリウレタンゴムは、伸び(破断伸度)は1000%まで至り、シリコーンゴムでも伸び(破断伸度)は200%まで至るように、非常によく伸びる材料である。
本実施形態のセンサ本体部20の構造について説明する。
図2は、コンクリート構造物1のX−Z平面における各センサ本体部20の断面を示す。
各センサ本体部20は、可撓性を有する伸縮配線40を備える。
伸縮配線40は、コンクリート構造物1の表面1aに対し、対向するように配置され、コンクリート構造物1の表面1aに固定されている。本実施形態では、伸縮配線40の全体をコンクリート構造物1の表面1aに接着剤50で固定している。
伸縮配線40は、基板面30aに配線されており、少なくとも基板面30aに沿う方向に伸縮性を有している。本実施形態では、伸縮配線40として、ポリフッ化ビニデン系樹脂をバインダーとして、銀フレーク粒子、及び銀球状粒子を混ぜ合わせた複合材料を用いている。
伸縮配線40を構成する伸縮性のある材料としては、ポリフッ化ビニリデン系樹脂、銀フレーク及び銀球状粒子を混ぜ合わせた複合材料の他に、例えば、ポリフッ化ビニリデン系樹脂及び銀フレークを混ぜ合わせた複合材料が挙げられる。また、ポリフッ化ビニリデン系樹脂、銀フレーク、銀球状粒子及びグラフェンを混ぜ合わせた複合材料も挙げられる。さらに、ポリフッ化ビニリデン系樹脂、銀フレーク及びグラフェンを混ぜ合わせた複合材料、又はポリウレタン及び銀フレークを混ぜ合わせた複合材料が挙げられる。
伸縮配線40は、導電性を有するパターンであって、固定されたコンクリート構造物1の表面1aの歪の変化に応じてパターンが変形することで電気抵抗が変化する。
本実施形態において、伸縮配線40は、図3に示すようなX方向に延び、両端に端部40a及び40bを有する直線状のパターンである。当該直線パターンとすることで、X方向の歪の変化を端部40aと40bとの間の電気抵抗の変化として検出することができる。
変形例として、伸縮配線を、X方向に延びつつ、X方向に一回折り返されたU字パターン(図4)であって、当該U字パターンの両端に端部40a′及び端部40b′を有する伸縮配線40′としてもよい。当該U字パターンとすることで、直線状のパターンに比べて歪に対する端部40a′と40b′と間の電気抵抗の変化を大きくすることができ、高感度な歪の検出が可能となる。
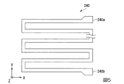
さらなる変形例として、伸縮配線を、X方向に複数回折り返したジグザグパターン(図5)であって、当該ジグザグパターンの両端に端部240a及び端部240bを有する伸縮配線240としてもよい。当該ジグザグパターンとすることで、歪に対する端部240aと端部240bとの間の電気抵抗の変化をさらに大きくすることができる。
他の変形例として、伸縮配線を、Y方向の折り返しとX方向の折り返しとを組み合わせたクロスパタ−ン(図6)であって、当該クロスパターンの両端に端部340a及び端部340bを有する伸縮配線340としてもよい。当該クロスパターンとすることで、X方向及びY方向の歪の変化を、端部340aと端部340bとの間の電気抵抗の変化として検出することができる。
本実施形態では、伸縮配線40は、伸縮基板30の基板面30aにスクリーン印刷といった安価な方法によって成膜された印刷配線であるが、マスク印刷、インクジェット印刷、ディスペンサー印刷、グラビア印刷、フレキソ印刷、オフセット印刷等によって成膜された印刷パターンとしてもよい。さらに印刷に限らず、伸縮基板30の基板面30aに成膜できるなら、伸縮配線の信頼性向上のため、めっき、オーバーコートのような方法によって成膜してもよい。
伸縮配線40と伸縮基板30とが剥がれないようにするためには、以下の点に気を付ければよく、伸縮配線40と伸縮基板30との間の密着性を高くすることができる。
伸縮配線40と伸縮基板30との間に高い密着性を得るためには、化学的結合(水素結合)、物理的結合(ファンデルワールス力)、機械的結合(アンカー効果)が必要である。同系統の樹脂が伸縮配線40と伸縮基板30とに含まれる場合、両者の接着する際に加熱、加圧、溶解などの処理を行うことにより高い密着性が得られる。異種材料である場合、シランカップリング材やプライマー処理を施すことで高い密着性が得られる場合がある。
本実施形態では、伸縮配線40に含まれるポリマーと同種のポリフッ化ビニリデン樹脂を伸縮基板30へ使用した。よって、印刷時にはペースト中の溶剤が伸縮基板30を溶解し、印刷ののち加熱処理を施すと、伸縮配線40と伸縮基板30との密着性を高いものとすることが可能となる。
接着剤50は、伸縮基板30や伸縮配線40と同様に、可撓性を有するとともには、少なくとも基板面30aに沿う方向に伸縮性を有する。本実施形態では、シリコーン系材料からなる接着剤を用いているが、可撓性及び伸縮性を有する接着剤であれば、どのような接着剤であってもよい。
歪検出部60と各センサ本体部20とは、配線3a及び配線3bによって電気的に接続されている。
具体的には、配線3aと伸縮配線40の端部40aとが電気的に接続され、配線3bと伸縮配線40の端部40bとが電気的に接続されている。歪検出部60は、配線3aと配線3bとの間の電気抵抗を検出することによって、伸縮配線40の端部40aと40bとの間の電気抵抗を検出し、圧縮歪又は引張歪を測定する。
歪検出部60における電気抵抗の検出方式は、二端子測定法、四端子測定法、ホイートストンブリッジ等どのような方式を用いたものでもよい。
本実施形態において、歪検出部60は、トンネル内に設置されても、トンネル外に設置されてもどちらでも構わない。
本実施形態の歪センサ10の作用、効果について説明する。
本実施形態では、伸縮基板30及び伸縮配線40が基板面30aに沿う方向に伸縮性を有する。よって、コンクリート構造物1の表面1aに大きな歪が発生しても、伸縮基板30や伸縮配線40は伸縮するため、歪に対して耐性を有する。
本実施形態の歪センサ10の歪の最大レンジは、圧縮側についてはコンクリートの圧壊歪相当する10000μm程度、引張側については最大ひび割れ幅に相当する1〜2mm程度としている。
また、本実施形態の歪センサ10の歪の分解能は、少なくとも圧縮側については10μm程度、引張側についてはひび割れ幅に相当する0.1mm程度としている。
したがって、本実施形態の歪センサ10は、大きな歪が発生した後も歪を検出することができるため、長期にわたって歪を検出し続けることが可能となり、検出の度に検出現場に赴く必要がなく、常時遠隔での測定も可能となる。
「第二実施形態」
以下、本発明に係る歪センサの第二実施形態について、図7を参照して説明する。
本実施形態の歪センサは、第一実施形態と基本的に同じであるが、センサ本体部の構造が異なっている。
本実施形態の歪測定システム105の歪センサ110は、複数のセンサ本体部120と、伸縮基板130と、歪検出部60とを備え、コンクリート構造物1の表面1aに設置される。複数のセンサ本体部120は、伸縮基板130の一方の面に並べて配列されるとともに固定されている。複数のセンサ本体部120のうちの一つを図7に示す。
本実施形態の伸縮基板130の構造について説明する。
伸縮基板130は、基板層131及び粘着層132を備え、合わせて50μmの厚さを有する。伸縮基板130は、可撓性を有するとともに、基板面130aに沿う方向に伸縮性を有する。本実施形態では、基板層131、粘着層132にそれぞれ、ポリイミド、シリコーン系材料を用いている。本実施形態において、粘着層132は、基板層131全体に設けているが、粘着層132は、基板層131全体のうち、複数のセンサ本体部120が固定される位置だけに設けるものであってもよい。又は粘着層132は無くてもよく、その場合は基板層131と41が同種又は密着性の高い材料で構成される。
伸縮基板130は、さらに、表裏面に貫通する2つの導通部134a、134bと、配線3aに接続されるコンタクト部133aと、配線3bに接続されるコンタクト部133bと、を備える。
導通部134a及びコンタクト部133aは、後に示す伸縮配線40の端部40aのZ方向位置にそれぞれ配置され、配線3aと伸縮配線40の端部40aとを電気的に接続する。
同様に、導通部134b及びコンタクト部133bは、伸縮配線40の端部40bにZ方向位置にそれぞれ配置され、配線3bと伸縮配線40の端部40bとを電気的に接続する。
よって、配線3aと配線3bとの間の電気抵抗を測定することで、伸縮配線40の端部40aと40bとの間の電気抵抗を検出することができる。
本実施形態のセンサ本体部120の構造について説明する。
図7は、コンクリート構造物1のX−Z平面における一つのセンサ本体部120の断面を示す。
センサ本体部120は、端部40a及び端部40bを備える伸縮配線40と、コーティング層41と、X方向に互いに離れて配置された2つの脚部42a及び脚部42bと、を備える。伸縮配線40は、コーティング層41を合わせて50μmの厚さを有する。
伸縮配線40は、コンクリート構造物1の表面1aに対し対向するように配置され、コンクリート構造物1の表面1aにコーティング層41及び接着剤50を介して固定されている。本実施形態では、伸縮配線40は、脚部42aと脚部42bとの間において、接着剤50で固定されている。
本実施形態の場合、伸縮配線40のうち、脚部42aの周辺及び脚部42bの周辺部分は、後で説明するとおり、コンクリート構造物1の表面1aに固定されないこととなり、歪を検出することができない。
しかし、伸縮配線40のうち、脚部42aの周辺及び脚部42bの周辺を除いた大部分は、コンクリート構造物1の表面1aへ固定されているため、コンクリート構造物1の表面1aの歪を当該大部分で検出することができる。
コーティング層41は、伸縮配線40を覆うように伸縮基板130の基板面130aに配置されている。コーティング層41は、可撓性を有するとともには、基板面130aに沿う方向に伸縮性を有する。
本実施形態において、コーティング層41は、シリコーンで形成されている。
脚部42a及び脚部42bは、コンクリート構造物1の表面1aに対向するように、コーティング層41に配置されている。脚部42aは、導通部134aのZ方向延長上に配置されている。同様に脚部42bは、導通部134bのZ方向延長上に配置されている。
本実施形態において、脚部42a及び脚部42bは、シリコーンで形成されている。
本実施形態の歪センサ110は、第一実施形態の作用、効果に加えて以下の作用、効果を有する。
まず、脚部42a及び脚部42bの作用効果について説明する。ここでは説明の簡略化のためにZ方向を上下方向として説明する。
本実施形態では、脚部42aを導通部134aの直下に配置し、脚部42bを導通部134bの直下に配置している。
センサ本体部120のコンクリート構造物1の表面1aと対向する部分のうち、脚部42a及び脚部42bの直下の部分は、接着剤50で接着されておらず、コンクリート構造物1の表面1aに固定されていない。
また、脚部42a及び脚部42bは、センサ本体部120のコンクリート構造物1の表面1aと導通部134a及び導通部134bの間の物理的距離を、脚部42a及び脚部42bがない場合に比べて大きくする。
よって、脚部42a及び脚部42bにより、導通部134a及び導通部134bは、直下においてコンクリート構造物1の表面1aに固定されず、加えて物理的距離も大きくなるため、コンクリート構造物1からの歪を直接受けにくい構造となっている。
したがって、歪検出時における導通部134aとコンタクト部133aとの間に発生する歪やコンタクト部133aと配線3aとの間に発生する歪を緩和できるため、コンタクト部133aの劣化を抑制することができる。同様に、コンタクト部133bの劣化を抑制することもできる。
変形例として、導通部134a及び134bの直下にヤング率の高い材料をコーティング層41の下方部に張り付け又は埋め込むことによって、歪を緩和してもよい。他の変形例として、コーティング層41のヤング率が、上方向から下方向に向かって徐々に大きく又は儒所に小さく変化するように構成し、一層歪を緩和してもよい。
別の変形例として、導通部134a及び134bの周辺にヤング率の高い材料を埋め込み又は張り付けることで、導通部134a及び134bにかかる歪を最小限に抑える構造を設けてもよい。
また、本実施形態ではコーティング層41を設けているため、伸縮配線40の環境劣化を抑制することができる。
「第三実施形態」
以下、本発明に係る歪センサの第三実施形態について、図8〜図10を参照して説明する。
本実施形態の歪センサは、第一実施形態及び第二実施形態と基本的に同じであるが、無線送信部を備える点が異なっている。
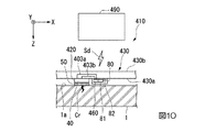
図8に示すように、歪測定システム405は、歪センサ410と、処理部490を備える。
歪センサ410は、複数のセンサ本体部420と、伸縮基板430と、複数の歪検出ユニット80と、を備える。本実施形態では、図8に示すように、各センサ本体部420の隣に対応する歪検出ユニット80が配置されている。
本実施形態では、伸縮基板430は、可撓性を有するとともに、基板面430aに沿う方向に伸縮性を有するシートで形成されている。
図9に示すように、1つのセンサ本体部420及び1つの歪検出ユニット80の複数の対は、伸縮基板430全体にわたって格子状に並ぶように、伸縮基板430の基板面430aに設けられている。
各センサ本体部420は、コンクリート構造物1の表面1aに接着剤50によって固定される。
加えて、伸縮基板430を薄いシートで構成し、センサ本体部420及び歪検出ユニット80を避けた位置において、伸縮基板430をコンクリート構造物1の表面1aにピンやステープル等で固定することによって、センサ本体部420をコンクリート構造物1により安定に固定することができる。
各歪検出ユニット80は、図10に示すように、歪検出部460と、無線送信部81と、バッテリ82と、を備える。
第一実施形態と同様に、センサ本体部420は、可撓性を有する伸縮配線40を備える。配線403a、配線403bは、伸縮配線40の端部40a、端部40bにそれぞれ電気的に接続されている。
歪検出部460とセンサ本体部420とは、伸縮基板430内又は伸縮基板430の基板面430aに配線された配線403a及び配線403bによって電気的に接続されて、伸縮配線40の端部40aと端部40bとの間の電気抵抗を検出する。
歪検出部460は、歪を常時検出してもよいし、必要な時だけ検出してもよい。
無線送信部81は、歪検出部460と通信可能なように電線や光ファイバー等で接続されており、歪検出部460で検出された歪に相当する信号を受け取る。歪検出部460で検出された歪に基づく情報を処理部490に無線で送信する。本実施形態では、無線送信部81は、歪検出部460で検出された歪に相当する信号を受け取り、当該歪に相当する信号Sdに変換する。変換された信号Sdは、無線送信部81によって、処理部490に送信される。送信される信号Sdは、検出された歪に相関した信号であればどのような信号でもよく、アナログ方式でも、デジタル方式でも、どちらの方式でもよい。また、送信形態は光、電波、電磁波等どのような通信形態でもよい。
このとき、検出された歪に基づく情報がどの歪検出ユニット80からの情報かを識別できるように、各無線送信部81は、自身が設けられている歪検出ユニット80の識別情報を、検出された歪に基づく情報と併せて処理部490に送る。
バッテリ82は、無線送信部81及び歪検出部460に必要な電力を供給する。バッテリ82によって無線送信部81や歪検出部460に必要な電力を供給すれば、電力の供給配線を設ける必要がないため、コンクリート構造物1の表面1aに対して歪センサ410を任意の場所に設置することができる。
本実施形態では各歪検出ユニット80がバッテリ82を備えているが、変形例として各歪検出ユニット80にバッテリ82を設けずに、いくつかの歪検出ユニット80毎にバッテリを設け、一つのバッテリからいくつかの歪検出ユニット80に電力を供給してもよい。
電力の供給配線の敷設に困難がない場合は、バッテリではなく電力の供給配線によって、複数の歪検出ユニット80に電力を供給してもよい。
処理部490は、各歪検出ユニット80から送られてきた検出された歪に基づく情報及び歪検出ユニット80の識別情報を取集し、作業者に提供する。
本実施形態では、処理部490には、歪検出ユニット80の識別情報と各歪検出ユニット80が設置された位置との関係がデータとして予め記憶されている。処理部490は、当該記憶された関係から、歪検出ユニット80の識別情報を用いて、検出された歪に基づく情報とコンクリート構造物1の表面1aの位置とを関連付ける。
したがって、検出された歪に基づく情報とコンクリート構造物1の表面1aの位置とを関連付けることによって、処理部490は、各歪検出ユニット80から送られてきた情報から、コンクリート構造物1の表面1aの歪のマップデータを作成する。
作成されたマップデータは、処理部490によって、表示、印刷等によって出力され、作業者に提示される。作業者に提示されるマップデータは、歪と位置との関係を等高線やカラーマップで示される。
本実施形態では、作業者は、当該マップデータからコンクリート構造物1の表面1a又は内部の歪を把握し、ひび割れの補修や保守を行うことができる。
本実施形態において、任意の場所で検出された歪に基づく情報を確認できるように、処理部490としてノートパソコン、PDA、タブレット等の携帯端末を用いている。
本実施形態の歪センサ410のさらなる作用、効果について説明する。
本実施形態では、1つのセンサ本体部420及び1つの歪検出ユニット80の複数の対を伸縮基板430全体にわたって格子状に並べているので、センサ本体部420は、コンクリート構造物1の表面1aにおける格子状の各点についての歪を検出することができる。したがって、コンクリート構造物1の表面1aに沿って、歪の二次元分布を測定することができる。
また、本実施形態では、伸縮基板430及び伸縮配線40を用いることによって、コンクリート構造物1の表面1aに大きな歪が発生した後も、歪に対して耐性を有するため、コンクリート構造物1の表面1aの歪の長期的な監視が可能である。加えて、無線による歪の情報取得が可能であるため、処理部490さえ近くにあれば、作業者は、長期にわたって検出現場に赴くことなく、コンクリート構造物1の表面1aの歪や当該歪のマップデータを、任意の場所で監視することができる。
また、処理部490を携帯端末とすれば、処理部490で歪箇所を確認しながら、ひび割れの発生ありと判断された現場やひび割れの進展ありと判断された現場へ向かうことができるため、ひび割れの補修や保守の作業効率が高まる。
さらに、本実施形態の歪センサ410は、処理部490とは無線である。また、伸縮基板430は、可撓性を有するシートで構成されている。
したがって、例えばトンネルの内壁表面に歪センサ410を設置する場合、トンネル内に図9のような歪センサ410だけを持っていき、トンネル内壁に接着剤、ピン、又はステープルで貼り付けるだけで、歪センサ410の設置が完了するため、歪センサ410の設置が簡単である。
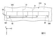
変形例として、図11に示す歪センサ510のように、複数のセンサ本体部520に対して1つの無線送信部581を備えるものとしてもよい。
この場合、無線送信部581は、各歪検出部560と通信可能なように電線や光ファイバー等の通信経路583で接続され、各歪検出部560から検出された歪に相当する信号を受け取る。本変形例では、図11に示すように、バッテリ82を複数の歪検出部560及び無線送信部581に対しそれぞれ設け、複数の歪検出部560及び無線送信部581に電力を供給している。さらなる変形例として無線送信部581だけにバッテリ82を設けて、無線送信部581から各歪検出部560に電力を供給するものであってもよい。
また、図11のように、複数のセンサ本体部520を、予想されるひび割れの発生間隔で、隙間なく敷き詰めれば、ひび割れCrを極力漏れないように検出することも可能である。
「構造物歪検出方法」
以下、本発明の構造物歪検出方法の実施形態について、図12を参照して説明する。
本実施形態は、図12に示す各工程が実施される。本実施形態の歪センサのいずれかを、コンクリート構造物1に適用することによって、実施される。
まず、歪センサをコンクリート構造物1の表面1aに設置する(S1:設置工程)。
次に、伸縮配線の歪を検出する(S2:歪検出工程)。
検出した歪は、歪検出部においてそのまま表示、印刷等によって出力され、作業者に提示されてもよいが、本実施形態では、さらに、検出された歪に基づく情報を処理部に無線送信する工程を設けている(S3:無線送信工程)。
検出された歪に基づく情報は、処理部において表示、印刷等によって出力され、作業者に提示される。
「歪の検出結果」
図13に本実施形態によって検出された歪の検出結果を示す。
図13は、横軸に時間T、縦軸に歪センサで検出されたコンクリート構造物1の表面1aの歪εを示す。
時間T=0において、歪ε=0であった歪が、時間とともに連続的に大きくなっていることが分かる。そして、不連続点Qcにおいて、歪εが急に大きくなっている。
このような不連続点Qcは、コンクリート構造物1の表面又は内部のひび割れの発生や進展により発生するものである。
したがって、不連続点Qcを検出することによって、ひび割れの発生やひび割れの進展を判断できる。不連続点は、歪の時間微分値をとり、当該時間微分値をしきい値で検出することによって判定することができる。
以上、本発明の実施の形態について図面を参照して詳述したが、具体的な構成は上記実施形態に限られるものではなく、本発明の要旨を逸脱しない範囲の設計変更等も含まれる。
伸縮配線を構成する材料としては、上記以外の材料を使用することが可能である。具体的には、導電性材料として、金属系粒子、金属酸化物系粒子、導電性高分子、カーボン系粒子、イオン液体の1種類又は複数種類を用いて伸縮配線を構成することも可能である。粒子形状には、球、フレーク、ロッド、ワイヤ、ファイバー、ナノチューブなどが挙げられる。カーボン系粒子には、カーボンナノチューブ、カーボンファイバー、グラファイト、グラフェン、フラーレン、カーボンブラック等が挙げられる。使用できる金属としては、金、銀、銅、パラジウム、白金、ニッケルなどの、1種類または複数の金属が挙げられる。
導電性材料をポリフッ化ビニリデン、ポリウレタン、シリコーン、スチレンブタジエンゴム、クロロプレンゴム、アクリルゴム、エポキシなどの1種類又は複数種類の樹脂をバインダー材料と混ぜ合わせた複合材料として伸縮配線形成を構成することも可能である。
伸縮基板を構成する伸縮性を有する材料には、ポリフッ化ビニリデン、ポリウレタン、シリコーン、スチレンブタジエンゴム、クロロプレンゴム、アクリルゴム、エポキシ、ポリイミド、ポリエチレンテレフタレート、ポリエチレンナフタレート、ポリ塩化ビニル、テキスタイル等が挙げられる。
第二実施形態では、コーティング層41/伸縮配線40/基板層131(シリコーン/銀ナノワイヤを含む複合材/ポリイミド)の3層構造としているが、変形例としてコーティング層を設けず、配線層/基板層/基板層、例えば、銀ナノワイヤを含む複合材/ポリウレタン/布としてもよい。さらなる変形例として、コーティング層/配線層/基板層/基板層、例えばシリコーン/銀ナノワイヤを含む複合材/シリコーン/布としてもよい。さらに銀ナノワイヤを含む複合材に代えて、カーボンナノワイヤを含む複合材、又は銀ナノワイヤ及びカーボンナノワイヤを含む複合材を用いてもよい。
また、本実施形態では、伸縮配線の両端部の間の電気抵抗を検出しているが、伸縮配線のコンダクタンスを検出するものであってもよい。
本実施形態では、各伸縮基板に複数のセンサ本体部を並べて配列しているが、伸縮基板の基板面のサイズを各センサ本体部の大きさとし、各伸縮基板にセンサ本体部を一つだけ設けるようにしてもよい。
本実施形態の歪センサは、コンクリート構造物に限らず、構造物であればどのようなものでも適用可能である。鋼構造物、セラミック構造物、ガラス構造物などに適用することも可能である。
また、本実施形態の歪センサは、トンネルに限らず、例えば、橋梁、橋脚、ダム、鉄塔、機械設備(発電所、変電所等)など、あらゆる構造物に適用することも可能である。
1:コンクリート構造物
1a:表面
3a:配線
3b:配線
5:歪測定システム
10:歪センサ
20:センサ本体部
30:伸縮基板
30a:基板面
40:伸縮配線
40a:端部
40b:端部
40′:伸縮配線
40a′:端部
40b′:端部
41:コーティング層
42a:脚部
42b:脚部
50:接着剤
60:歪検出部
80:歪検出ユニット
81:無線送信部
82:バッテリ
90:処理部
105:歪測定システム
110:歪センサ
120:センサ本体部
130:伸縮基板
130a:基板面
131:基板層
132:粘着層
133a:コンタクト部
133b:コンタクト部
134a:導通部
134b:導通部
240:伸縮配線
240a:端部
240b:端部
340:伸縮配線
340a:端部
340b:端部
403a:配線
403b:配線
405:歪測定システム
410:歪センサ
420:センサ本体部
430:伸縮基板
430a:基板面
460:歪検出部
490:処理部
510:歪センサ
520:センサ本体部
560:歪検出部
581:無線送信部
583:通信経路
Sd:信号

Claims (9)

  1. 構造物の表面の歪を検出する歪センサであって、
    基板面に沿う方向に伸縮性を有する伸縮基板と、
    導電性を有し、前記基板面に沿う方向に延びるように配線され、前記基板面に沿う方向に伸縮性を有する伸縮配線と、を備える歪センサ。
  2. 前記伸縮基板に前記伸縮配線が複数配列された請求項1に記載の歪センサ。
  3. 前記伸縮配線が前記基板面に配置された印刷配線である請求項1又は2に記載の歪センサ。
  4. 前記伸縮基板及び前記伸縮配線が可撓性を有する請求項1から3のいずれか一項に記載の歪センサ。
  5. 前記伸縮配線の電気抵抗を検出する歪検出部をさらに備える請求項1から4のいずれか一項に記載の歪センサ。
  6. 前記歪検出部で検出した電気抵抗に基づく情報の無線送信を行う無線送信部をさらに備える請求項5に記載の歪センサ。
  7. 少なくとも前記無線送信部に、電力を供給するバッテリをさらに備える請求項6に記載の歪センサ。
  8. 構造物歪検出方法であって、
    請求項1から7のいずれかに記載の歪センサを構造物に設置する設置工程と、
    前記伸縮配線の歪を検出する歪検出工程と、を実施する構造物歪検出方法。
  9. 前記検出した歪に基づく情報の無線送信を行う無線送信工程をさらに実施する請求項8に記載の構造物歪検出方法。
JP2016137169A 2016-07-11 2016-07-11 構造物の歪センサ及び構造物歪検出方法 Active JP6875672B2 (ja)

Priority Applications (1)

Application Number Priority Date Filing Date Title
JP2016137169A JP6875672B2 (ja) 2016-07-11 2016-07-11 構造物の歪センサ及び構造物歪検出方法

Applications Claiming Priority (1)

Application Number Priority Date Filing Date Title
JP2016137169A JP6875672B2 (ja) 2016-07-11 2016-07-11 構造物の歪センサ及び構造物歪検出方法

Publications (2)

Publication Number Publication Date
JP2018009820A true JP2018009820A (ja) 2018-01-18
JP6875672B2 JP6875672B2 (ja) 2021-05-26

Family

ID=60993760

Family Applications (1)

Application Number Title Priority Date Filing Date
JP2016137169A Active JP6875672B2 (ja) 2016-07-11 2016-07-11 構造物の歪センサ及び構造物歪検出方法

Country Status (1)

Country Link
JP (1) JP6875672B2 (ja)

Cited By (2)

* Cited by examiner, † Cited by third party
Publication number Priority date Publication date Assignee Title
JP2021117032A (ja) * 2020-01-23 2021-08-10 大日本印刷株式会社 センサモジュール
KR20220077497A (ko) * 2020-12-02 2022-06-09 연세대학교 산학협력단 역학변색 센서 및 이의 용도

Citations (19)

* Cited by examiner, † Cited by third party
Publication number Priority date Publication date Assignee Title
JP2003207399A (ja) * 2002-01-11 2003-07-25 Ishida Co Ltd ロードセル
JP2006250647A (ja) * 2005-03-09 2006-09-21 Jfe Koken Corp ワイヤケーブル、並びに張力測定システム及び張力測定方法
JP2006268393A (ja) * 2005-03-24 2006-10-05 Hitachi Ltd 構造物安全監視システム
JP2007108073A (ja) * 2005-10-14 2007-04-26 Railway Technical Res Inst 地盤応力計測装置、及び地盤応力計測方法
JP2008150867A (ja) * 2006-12-18 2008-07-03 Tokyo Seiko Co Ltd 高エネルギ吸収落石防護柵
WO2009096419A1 (ja) * 2008-01-28 2009-08-06 Kuraray Co., Ltd. 可撓性を有する変形センサ
JP2009244206A (ja) * 2008-03-31 2009-10-22 Nissha Printing Co Ltd 感圧センサ
US20100090299A1 (en) * 2008-10-15 2010-04-15 Industrial Technology Research Institute Flexible electronics for pressure device and fabrication method thereof
JP2011197001A (ja) * 2010-03-18 2011-10-06 Korea Research Inst Of Standards & Science 半導体ストレインゲージを用いたフレキシブルな力または圧力センサアレイ、そのフレキシブルな力または圧力センサアレイの製造方法、及びそのフレキシブルな力または圧力センサアレイを用いた力または圧力測定方法
JP2012071098A (ja) * 2010-08-31 2012-04-12 Tokai Rubber Ind Ltd シートおよび車椅子
US20130031987A1 (en) * 2009-12-30 2013-02-07 Jacques Beauvais Carbon nanotubes based sensing elements and system for monitoring and mapping force, strain and stress
JP2013134208A (ja) * 2011-12-27 2013-07-08 Nec Corp カーボンナノチューブ含有感圧素子
JP2013185966A (ja) * 2012-03-08 2013-09-19 Takano Co Ltd 面圧センサ
JP2013542523A (ja) * 2010-10-12 2013-11-21 ニューヨーク・ユニバーシティ タイルを利用してセンシングするための装置、一連のプレートを有するセンサ、マルチタッチ表面のためのオブジェクト識別及び方法
US20140109695A1 (en) * 2012-10-22 2014-04-24 The Board Of Trustees Of The Leland Stanford Junior University Nanostructures with strain-induced resistance
JP2014528079A (ja) * 2011-09-24 2014-10-23 プレジデント・アンド・フェロウズ・オブ・ハーバード・カレッジ 人工皮膚および弾性歪みセンサ
JP2014228454A (ja) * 2013-05-24 2014-12-08 株式会社フジクラ 圧力センサ
JP2016057113A (ja) * 2014-09-08 2016-04-21 公立大学法人大阪府立大学 触覚センサ及び集積化センサ
JP2016121975A (ja) * 2014-12-25 2016-07-07 ヤマハ株式会社 歪み検出センサ素子及び外力検出アレイモジュール

Patent Citations (19)

* Cited by examiner, † Cited by third party
Publication number Priority date Publication date Assignee Title
JP2003207399A (ja) * 2002-01-11 2003-07-25 Ishida Co Ltd ロードセル
JP2006250647A (ja) * 2005-03-09 2006-09-21 Jfe Koken Corp ワイヤケーブル、並びに張力測定システム及び張力測定方法
JP2006268393A (ja) * 2005-03-24 2006-10-05 Hitachi Ltd 構造物安全監視システム
JP2007108073A (ja) * 2005-10-14 2007-04-26 Railway Technical Res Inst 地盤応力計測装置、及び地盤応力計測方法
JP2008150867A (ja) * 2006-12-18 2008-07-03 Tokyo Seiko Co Ltd 高エネルギ吸収落石防護柵
WO2009096419A1 (ja) * 2008-01-28 2009-08-06 Kuraray Co., Ltd. 可撓性を有する変形センサ
JP2009244206A (ja) * 2008-03-31 2009-10-22 Nissha Printing Co Ltd 感圧センサ
US20100090299A1 (en) * 2008-10-15 2010-04-15 Industrial Technology Research Institute Flexible electronics for pressure device and fabrication method thereof
US20130031987A1 (en) * 2009-12-30 2013-02-07 Jacques Beauvais Carbon nanotubes based sensing elements and system for monitoring and mapping force, strain and stress
JP2011197001A (ja) * 2010-03-18 2011-10-06 Korea Research Inst Of Standards & Science 半導体ストレインゲージを用いたフレキシブルな力または圧力センサアレイ、そのフレキシブルな力または圧力センサアレイの製造方法、及びそのフレキシブルな力または圧力センサアレイを用いた力または圧力測定方法
JP2012071098A (ja) * 2010-08-31 2012-04-12 Tokai Rubber Ind Ltd シートおよび車椅子
JP2013542523A (ja) * 2010-10-12 2013-11-21 ニューヨーク・ユニバーシティ タイルを利用してセンシングするための装置、一連のプレートを有するセンサ、マルチタッチ表面のためのオブジェクト識別及び方法
JP2014528079A (ja) * 2011-09-24 2014-10-23 プレジデント・アンド・フェロウズ・オブ・ハーバード・カレッジ 人工皮膚および弾性歪みセンサ
JP2013134208A (ja) * 2011-12-27 2013-07-08 Nec Corp カーボンナノチューブ含有感圧素子
JP2013185966A (ja) * 2012-03-08 2013-09-19 Takano Co Ltd 面圧センサ
US20140109695A1 (en) * 2012-10-22 2014-04-24 The Board Of Trustees Of The Leland Stanford Junior University Nanostructures with strain-induced resistance
JP2014228454A (ja) * 2013-05-24 2014-12-08 株式会社フジクラ 圧力センサ
JP2016057113A (ja) * 2014-09-08 2016-04-21 公立大学法人大阪府立大学 触覚センサ及び集積化センサ
JP2016121975A (ja) * 2014-12-25 2016-07-07 ヤマハ株式会社 歪み検出センサ素子及び外力検出アレイモジュール

Cited By (4)

* Cited by examiner, † Cited by third party
Publication number Priority date Publication date Assignee Title
JP2021117032A (ja) * 2020-01-23 2021-08-10 大日本印刷株式会社 センサモジュール
JP7367932B2 (ja) 2020-01-23 2023-10-24 大日本印刷株式会社 センサモジュール
KR20220077497A (ko) * 2020-12-02 2022-06-09 연세대학교 산학협력단 역학변색 센서 및 이의 용도
KR102472718B1 (ko) * 2020-12-02 2022-12-01 연세대학교 산학협력단 역학변색 센서 및 이의 용도

Also Published As

Publication number Publication date
JP6875672B2 (ja) 2021-05-26

Similar Documents

Publication Publication Date Title
Zymelka et al. Printed strain sensor array for application to structural health monitoring
TWI607356B (zh) 一種三維觸控裝置
Ha et al. Highly sensitive and selective multidimensional resistive strain sensors based on a stiffness-variant stretchable substrate
Dinh et al. Advances in rational design and materials of high‐performance stretchable electromechanical sensors
US20220221355A1 (en) Sensing fibers for structural health monitoring
Chen et al. A Single-material-printed, Low-cost design for a Carbon-based fabric strain sensor
CN104880206A (zh) 电阻应变片及电阻应变式传感器
US20170030784A1 (en) Printed Circuits With Embedded Strain Gauges
WO2008043250A1 (en) Smart coating for damage detected information, inspecting device and damage inspecting method using said coating
Li et al. Full fabric sensing network with large deformation for continuous detection of skin temperature
CN109946000A (zh) 一种点阵式柔性压力分布传感装置及其压力定位方法
US20220268647A1 (en) Pressure-sensitive sheet and modular system including the same
Gul et al. Bioinspired interfacial engineering for highly stretchable electronics
Lee et al. A highly sensitive bending sensor based on controlled crack formation integrated with an energy harvesting pyramid layer
Liu et al. Experimentally and numerically validated analytical solutions to nonbuckling piezoelectric serpentine ribbons
WO2018021315A1 (ja) 配線シート、シート状システム、及び構造物運用支援システム
CN102305587A (zh) 表面变形分布测试传感元件
CN104406559A (zh) 一种滑坡水平位移垂向分布传感器总成及使用方法
JP6875672B2 (ja) 構造物の歪センサ及び構造物歪検出方法
Ma et al. Large area and flexible flexion sensing matrix for detection of strain distribution in bendable and curved surface
KR101694215B1 (ko) 변형량 측정용 연성센서
DeGraff et al. Scalable and passive carbon nanotube thin-film sensor for detecting micro-strains and potential impact damage in fiber-reinforced composite materials
CN109341909B (zh) 一种多功能柔性应力传感器
Garakani et al. Investigation of electromechanical reliability and radio frequency performance of a highly stretchable liquid metal conductor for wearable electronics
CN113670371B (zh) 一种机场道面结构健康状态智能监测装置及评价方法

Legal Events

Date Code Title Description
A521 Request for written amendment filed

Free format text: JAPANESE INTERMEDIATE CODE: A523

Effective date: 20160825

A521 Request for written amendment filed

Free format text: JAPANESE INTERMEDIATE CODE: A523

Effective date: 20170126

RD03 Notification of appointment of power of attorney

Free format text: JAPANESE INTERMEDIATE CODE: A7423

Effective date: 20190118

A621 Written request for application examination

Free format text: JAPANESE INTERMEDIATE CODE: A621

Effective date: 20190617

A131 Notification of reasons for refusal

Free format text: JAPANESE INTERMEDIATE CODE: A131

Effective date: 20200310

A521 Request for written amendment filed

Free format text: JAPANESE INTERMEDIATE CODE: A523

Effective date: 20200427

A131 Notification of reasons for refusal

Free format text: JAPANESE INTERMEDIATE CODE: A131

Effective date: 20200804

A521 Request for written amendment filed

Free format text: JAPANESE INTERMEDIATE CODE: A523

Effective date: 20200917

A02 Decision of refusal

Free format text: JAPANESE INTERMEDIATE CODE: A02

Effective date: 20201027

A521 Request for written amendment filed

Free format text: JAPANESE INTERMEDIATE CODE: A523

Effective date: 20210108

C60 Trial request (containing other claim documents, opposition documents)

Free format text: JAPANESE INTERMEDIATE CODE: C60

Effective date: 20210108

A911 Transfer to examiner for re-examination before appeal (zenchi)

Free format text: JAPANESE INTERMEDIATE CODE: A911

Effective date: 20210121

C21 Notice of transfer of a case for reconsideration by examiners before appeal proceedings

Free format text: JAPANESE INTERMEDIATE CODE: C21

Effective date: 20210126

A131 Notification of reasons for refusal

Free format text: JAPANESE INTERMEDIATE CODE: A131

Effective date: 20210302

A521 Request for written amendment filed

Free format text: JAPANESE INTERMEDIATE CODE: A523

Effective date: 20210319

TRDD Decision of grant or rejection written
A01 Written decision to grant a patent or to grant a registration (utility model)

Free format text: JAPANESE INTERMEDIATE CODE: A01

Effective date: 20210406

A61 First payment of annual fees (during grant procedure)

Free format text: JAPANESE INTERMEDIATE CODE: A61

Effective date: 20210414

R150 Certificate of patent or registration of utility model

Ref document number: 6875672

Country of ref document: JP

Free format text: JAPANESE INTERMEDIATE CODE

Ref document number: 6875672

Country of ref document: JP

Free format text: JAPANESE INTERMEDIATE CODE: R150

R250 Receipt of annual fees

Free format text: JAPANESE INTERMEDIATE CODE: R250

R250 Receipt of annual fees

Free format text: JAPANESE INTERMEDIATE CODE: R250