JP2017184375A - 回転電機のロータ - Google Patents

回転電機のロータ Download PDF

Info

Publication number
JP2017184375A
JP2017184375A JP2016066076A JP2016066076A JP2017184375A JP 2017184375 A JP2017184375 A JP 2017184375A JP 2016066076 A JP2016066076 A JP 2016066076A JP 2016066076 A JP2016066076 A JP 2016066076A JP 2017184375 A JP2017184375 A JP 2017184375A
Authority
JP
Japan
Prior art keywords
magnet
permanent magnet
fixing pieces
rotor
rotor core
Prior art date
Legal status (The legal status is an assumption and is not a legal conclusion. Google has not performed a legal analysis and makes no representation as to the accuracy of the status listed.)
Pending
Application number
JP2016066076A
Other languages
English (en)
Inventor
聖 今川
Takashi Imagawa
聖 今川
Current Assignee (The listed assignees may be inaccurate. Google has not performed a legal analysis and makes no representation or warranty as to the accuracy of the list.)
Toyota Motor Corp
Original Assignee
Toyota Motor Corp
Priority date (The priority date is an assumption and is not a legal conclusion. Google has not performed a legal analysis and makes no representation as to the accuracy of the date listed.)
Filing date
Publication date
Application filed by Toyota Motor Corp filed Critical Toyota Motor Corp
Priority to JP2016066076A priority Critical patent/JP2017184375A/ja
Publication of JP2017184375A publication Critical patent/JP2017184375A/ja
Pending legal-status Critical Current

Links

Images

Landscapes

  • Iron Core Of Rotating Electric Machines (AREA)
  • Permanent Field Magnets Of Synchronous Machinery (AREA)

Abstract

【課題】磁石収納孔に永久磁石を固定する構造を簡素化して製造コストを抑制することである。【解決手段】回転電機のロータ10は、ロータコア11と、ロータコア11の軸方向Zに沿って貫通し、永久磁石12が収納される磁石収納孔13とを備えており、ロータコア11の両端面に非磁性の一対のプレート14,14がそれぞれ固定され、永久磁石12の幅狭側面12b,12bを挟持する一対の磁石固定片16,16が、プレート14の磁石収納孔13に対応する部分から磁石収納孔13の内部に入り込むようにそれぞれ延出されている。【選択図】図1

Description

本発明は、回転電機のロータに関し、特に、永久磁石をロータコアの磁石収納孔に固定する回転電機のロータに関する。
回転電機のロータにおいては、ロータコアの磁石収納孔に永久磁石を挿入して、この永久磁石を磁石収納孔に固定している。永久磁石を固定する構造としては、磁石収納孔と永久磁石との隙間に樹脂等を充填して、永久磁石を磁石収納孔に固定する構造や、当該隙間に永久磁石を固定する固定部材を介在させて、永久磁石を磁石収納孔に固定する構造がある。
特に、後者の構造として、ロータコアの両端に固定される一対のエンドプレートと、このうち一方のエンドプレートからロータの軸方向に一体的に延出する断面L字状の複数の磁石保持部材とを備え、磁石保持部材を磁石収納孔に挿入し、磁石保持部材のL字部分で永久磁石の角部を保持するとともに、エンドプレートで永久磁石の両端を押さえることによって、永久磁石を磁石収納孔に固定する構造がある(例えば、特許文献1参照)。
特開2010−226882号公報
特許文献1に記載された構造では、エンドプレートと磁石保持部材とが別々の部材であり、磁石保持部材をエンドプレートに固定する必要がある。このため、部品点数や製造工程が増加して製造コストが上昇する。仮に、エンドプレートと磁石保持部材とを一体形成するとしても、その構造が複雑であるため、製造装置や製造工程も複雑になり、製造コストが上昇する。
そこで、本発明では、永久磁石を磁石収納孔に固定する構造を簡素化して製造コストを抑制することを目的とする。
本発明の回転電機のロータは、ロータコアと、前記ロータコアの軸方向に沿って貫通し、永久磁石が収納される磁石収納孔と、前記ロータコアの両端面にそれぞれ固定される非磁性の一対のプレートと、前記プレートの前記磁石収納孔に対応する部分から前記磁石収納孔の内部に入り込むようにそれぞれ延出されており、前記磁石収納孔に収納された前記永久磁石の側面を挟持する一対の磁石固定片とを備えたことを特徴とする。
本発明によれば、永久磁石を磁石収納孔に固定する構造を簡素化することによって製造コストを抑制することができる。
第1の実施形態を示すロータの磁石収納孔の側断面図である。 第1の実施形態を示すロータ端面の磁石収納孔の拡大図である。 第1の実施形態を示す永久磁石をロータコアに装着する状態を示すロータの磁石収納孔の側断面図である。 第1の実施形態を示す磁石固定片の形成方法を説明するプレートの拡大平面図である。 第2の実施形態を示すロータの磁石収納孔の側断面図である。 第2の実施形態を示すロータ端面の磁石収納孔の拡大図である。 第2の実施形態を示す永久磁石をロータコアに装着する状態を示すロータの磁石収納孔の側断面図である。 第3の実施形態を示すロータの磁石収納孔の側断面図である。 磁石保持片の変形例を示す永久磁石収納孔の拡大図である。 磁石保持片の別の変形例を示す永久磁石収納孔の拡大図である。
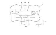
まず、第1の実施形態における回転電機のロータ10について説明する。図1、2に示すように、ロータ10は、回転電機の出力軸または入力軸となる図示しないロータ軸と、ロータ軸に固定され、ロータ軸と一体となって回転するロータコア11と、ロータコア11の軸方向Zに沿って貫通して、永久磁石12が収納される磁石収納孔13と、ロータコア11の両端面にそれぞれ固定された一対のプレート14A,14Bとを備えている。
ロータコア11は、それぞれ円環状に打ち抜き加工された多数枚の電磁鋼板を軸方向Zに積層して構成されている。磁石収納孔13は、所定の傾斜角度を有して略V字形に配置されており、ロータコア11の端面の周方向において等間隔に複数設けられている。磁石収納孔13は、永久磁石12よりも大きい長孔形状の開口を有している。
永久磁石12は、磁石収納孔13に挿入されて略V字形に配置される。このように配置されることによって1つの磁極を形成している。すなわち、略V字形に配置された2つの永久磁石12による1つの磁極が、ロータコア11の端面の周方向に等間隔で複数設けられている。なお、磁極の数はロータ10の仕様等によって適宜設定する。永久磁石12は、幅広側面12a及び幅狭側面12bを有する軸方向Zに長い直方体形状であり、ロータコア11の軸方向Zの長さと略同じ長さを有している。
一対のプレート14A,14Bは、非磁性材料、例えば、SUS(ステンレス)から形成されている。一対のプレート14A,14Bは同形状であるため、以下、一方のプレート14Aについて説明する。プレート14Aの磁石収納孔13の開口に対応する部分、特に、永久磁石12の幅狭側面12b,12bに対応する部分には、永久磁石12の幅狭側面12b,12bを挟持する磁石固定片16,16がそれぞれ形成されている。
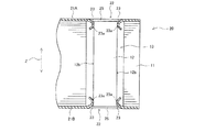
磁石固定片16,16は、磁石収納孔13の内部に入り込むようにそれぞれ延出されている。磁石固定片16,16の先端は、磁石収納孔13の内部に入り込み、さらに、磁石収納孔13の内周面に向かって湾曲して湾曲部16a,16aを形成している。また、磁石固定片16,16の間には、永久磁石12の端面に当接する蓋17が形成されている。蓋17は、磁石収納孔13の開口を覆って、永久磁石12の飛び出しを防止する。
図3に示すように、湾曲部16a,16aは、図3において矢印X方向に弾性変形可能に形成されている。すなわち、磁石固定片16,16の先端を湾曲させることで、湾曲部16a,16aにばね性を持たせて弾性変形可能としている。永久磁石12を挟持していない状態における湾曲部16a,16aの間隔L1は、永久磁石12の幅広側面12aの幅L2よりも短くなるように設定されている。なお、この間隔L1を調整することによって、磁石固定片16,16の弾性力、すなわち、永久磁石12を挟持する力を調整することができる。また、湾曲部16a,16aの形状を変更すること、プレート14Aの板厚を変更するによっても、永久磁石12を挟持する力を調整することができる。
ここで、磁石固定片16,16の形成について説明する。図4にプレート14Aの単体の平面図を示す。磁石固定片16,16は、プレート14Aを形成するプレス工程の際に同時に形成される。すなわち、SUSの金属平板をプレス工程により打ち抜き加工してプレート14Aを形成する際に、磁石固定片16,16が形成される。プレス工程において、図2、4に示すように、プレート14Aの磁石収納孔13の開口に対応し、かつ、永久磁石12の幅狭側面12b,12bに対応する部分に、互いに外向きに開口するコ字形状の切り込み15,15を形成する。この切り込み15,15を形成するのと略同時に、切り込み15,15で囲まれた部分を、図4において紙面を貫く方向に押圧して湾曲させる。この湾曲によって湾曲部16a,16aが形成される。また、図2、4において、磁石固定片16,16の間には蓋17が形成される。このため、磁石固定片16,16を形成するための別工程や別部材が必要なく、製造コストの上昇を抑制することができる。
次に、永久磁石12のロータコア11への装着について説明する。図3は、永久磁石12をロータコア11に装着する状態を示している。図3に示すように、永久磁石12をロータコア11の磁石収納孔13に挿入する。
図示しない治具により、プレート14A,14Bの磁石固定片16,16を弾性変形させて、磁石固定片16,16を広げる。そして、磁石固定片16,16を広げた状態で一時的に保持する。この状態を維持したプレート14A,14Bを、ロータコア11の両端に配置した後、プレート14A,14Bをロータコア11の両端にそれぞれ当接する。このとき、磁石固定片16,16が永久磁石12と磁石収納孔13との間に挿入される。磁石固定片16,16が挿入された後、プレート14A,14Bの磁石固定片16,16を広げた状態を解除する。この解除により、プレート14A,14Bの磁石固定片16,16が永久磁石12の幅狭側面12b,12bを挟持する。
そして、プレート14A,14Bがロータコア11の両端面に固定されると、永久磁石12は、磁石固定片16,16によって挟持された状態でロータコア11に保持固定される。また、永久磁石12の両端面は、プレート14A,14Bの蓋17,17にそれぞれ当接して、磁石収納孔13からの飛び出しが防止される。
このように、プレート14A,14Bに一体形成された磁石固定片16,16によって、永久磁石12が磁石収納孔13に保持固定されるので、永久磁石12を磁石収納孔13に固定する構造を簡素化することができる。また、磁石固定片16,16は、プレート14A,14Bを形成するプレス工程と同時に形成されるため、磁石固定片16,16を形成するための別部材や別工程が必要なく、部品点数の増加及び製造工程の増加を抑制でき、その結果、製造コストの上昇を抑制することができる。
SUS等の非磁性の材料から形成される磁石固定片16,16によって、永久磁石12と磁石収納孔13の内周面とが非接触の状態で永久磁石12が固定されるので、ロータ10の鉄損を抑制することができる。また、永久磁石12に絶縁被膜を形成する必要がなく、絶縁被膜を行う工程を省くことができ、さらにコストを抑制することができる。
また、磁石固定片16,16によって、永久磁石12が保持固定されるので、永久磁石12を固定するためのモールド等の樹脂が必要なくモールドレス化を図ることができ、樹脂材料のコストを削減することができる。
次に、第2の実施形態のロータ20について、図5、6、7を参照して説明する。第2の実施形態は、第1の実施形態とはプレート14A,14Bの構成が相違している。このため、同じ構成については同符号を付してその説明を省略する。
図5、6に示すように、ロータコア11の両端面には、非磁性材料、例えば、SUS(ステンレス)から形成されている一対のプレート21A,21Bが固定されている。一対のプレート21A,21Bは同形状であるため、以下、一方のプレート21Aについて説明する。プレート21Aの磁石収納孔13の開口に対応する部分には、永久磁石12を挿入するための開口22が形成されている。開口22は、磁石収納孔13の開口よりも大きく、長辺22a及び短辺22bを有する長方形状である。
プレート21Aの開口22の短辺22b,22bには、永久磁石12の幅狭側面12b,12bを挟持する磁石固定片23,23がそれぞれ形成されている。磁石固定片23,23は、プレート21Aの開口22の短辺22b,22bから磁石収納孔13の内部に入り込むようにそれぞれ延出されている。磁石固定片23,23の先端は、磁石収納孔13の内部に入り込み、さらに、磁石収納孔13の内周面に向かって湾曲して湾曲部23a,23aを形成している。
図7に示すように、湾曲部23a,23aは、図7において矢印X方向に弾性変形可能に形成されている。すなわち、磁石固定片23,23の先端を湾曲させることで、湾曲部23a,23aにばね性を持たせて弾性変形可能としている。永久磁石12を挟持していない状態における湾曲部23a,23aの間隔L3は、永久磁石12の幅広側面12aの幅L2よりも短くなるように設定されている。なお、この間隔L3を調整することによって、磁石固定片23,23の弾性力、すなわち、永久磁石12を挟持する力を調整することができる。
図5に戻り、永久磁石12が磁石収納孔13に収納された後、プレート21Aには、開口22を覆うサブプレート25が固定される。なお、サブプレート25の形状は、開口22を覆う形状の他に、永久磁石12の端面の一部を覆う形状でもよい。つまり、磁石収納孔13からの永久磁石12の飛び出しを防止するために、永久磁石12の端面の一部を覆う形状であればよい。
次に、磁石固定片23,23の形成について説明する。磁石固定片23,23は、プレート21Aを形成するプレス工程の際に同時に形成される。すなわち、SUSの金属平板をプレス工程により打ち抜き加工してプレート21Aを形成する際に、開口22も同時に打ち抜き加工される。この開口22を加工するときに、磁石固定片23,23も同時に形成される。すなわち、開口22を形成する際に、開口22の短辺22b,22bに磁石固定片23,23を残して打ち抜き加工を行う。そして、プレスする際に、磁石固定片23,23の湾曲を同時に行って湾曲部23a,23aを形成する。このため、磁石固定片23,23を形成するための別工程や、別部材が必要なく、製造コストの上昇を抑制することができる。
次に、永久磁石12のロータコア11への装着について説明する。図7に示すように、ロータコア11の両端にプレート21A,21Bをそれぞれ固定する。そして、永久磁石12を、プレート21Aが固定されたロータコア11の一端側から磁石収納孔13に挿入する。永久磁石12は、プレート21Aの磁石固定片23,23の湾曲部23a,23aを押し広げるように弾性変形させる。この弾性変形による弾性力によって、永久磁石12の幅狭側面12b,12bがプレート21Aの湾曲部23a,23aに挟持される。
さらに、永久磁石12を磁石収納孔13の内部に挿入して、永久磁石12が他端側のプレート21Bの磁石固定片23,23まで達すると、永久磁石12は、プレート21Bの磁石固定片23,23の湾曲部23a,23aを押し広げて湾曲部23a,23aに挟持される。このとき、プレート21Bの磁石固定片23,23の先端は磁石収納孔13の内面に向かって湾曲しているので、永久磁石12が接触するときに、永久磁石12の先端が磁石固定片23,23に引っ掛かることなく永久磁石12は挿入される。
そして、図5に示すように、永久磁石12が磁石収納孔13の固定位置まで達すると挿入を止める。このとき、永久磁石12の両端近傍の幅狭側面12b,12bは、一対のプレート21A,21Bの各磁石固定片23,23によって挟持されているので、永久磁石12は磁石収納孔13に保持固定される。この後、プレート21A,21Bにサブプレート25,25をそれぞれ固定する。このサブプレート25,25によって、プレート21A,21Bの開口22,22がそれぞれ覆われて永久磁石12の飛び出しが防止される。
第2の実施形態におけるプレート21A,21Bによっても、第1の実施形態におけるプレート14A,14Bと同様の効果を得ることができる。すなわち、部品点数の増加及び製造工程の増加を抑制でき、その結果、製造コストの上昇を抑制することができる。また、ロータ20の鉄損を抑制することができる。さらに、永久磁石12の絶縁被膜を行う工程を省くことができ、モールドレス化を図ることができ、コストを抑制することができる。
次に第3の実施形態を図8を参照して説明する。第3の実施形態は、第2の実施形態におけるサブプレート25に代えてエンドプレート30を設けた構成である。図8において、図5と同様の構成については同符号を付してその説明を省略する。
図8に示すように、プレート21Aの上面には、エンドプレート30が固定されている。プレート21Bの上面にも同様のエンドプレート30が固定されている。エンドプレート30のプレート21Aの開口22に対応する位置には、第1の実施形態の切り込み15,15と同様のコ字形状の切り込み31,31が形成されており、この切り込みによって、永久磁石12の端面に当接する磁石当接片32,32が形成されている。磁石当接片32,32は、永久磁石12の端面に向かって緩やかに湾曲してそれぞれ延出されている。
プレート21Aの上面にエンドプレート30を固定することによって、磁石当接片32,32が永久磁石12の端面に当接して、永久磁石12の軸方向Zの位置を規定することができる。なお、磁石当接片32,32の形状を断面L字形状としてもよい。
次に、磁石固定片の変形例について図9、10を参照して説明する。図9、10は、磁石固定片35,36と永久磁石12との位置関係を示す模式図である。図9に示すように、永久磁石12の幅広側面12a,12aに対向する位置に、一対の磁石固定片35,35及び一対の磁石固定片36,36を隣接して形成する。このように、永久磁石12の幅広側面12a,12aを、磁石固定片35,35,36,36によって挟持する。磁石固定片35,35,36,36により永久磁石12が複数位置で保持固定されるので、永久磁石12の固定力を向上することができる。
図10に示すように、永久磁石12の幅広側面12a,12aに対向する位置に、一対の磁石固定片35,35及び一対の磁石固定片36,36を隣接して形成する。また、永久磁石12の幅狭側面12b,12bに対向する位置に、第1、2の実施形態と同様に一対の磁石固定片37,37を形成する。このように、永久磁石12の周囲に、磁石固定片35,35,36,36,37,37を形成して、永久磁石12の図中X方向及びY方向の直交する2方向において挟持する。磁石固定片35,35,36,36,37,37により永久磁石12の周囲が保持固定されるので、永久磁石12の固定力を向上することができる。また、永久磁石12の図中X方向及びY方向への移動も抑制することができ、X方向及びY方向の位置を規定することができる。
なお、図9、10において、蓋17やサブプレート25を図示していないが、いずれの構成を用いてもよい。図9において、蓋17を形成する場合には、磁石固定片35,35の間及び磁石固定片36,36の間に形成することが好適である。また、図10において、蓋17を形成する場合には、磁石固定片35,35と磁石固定片36,36の間に形成することが好適である。
10,20 ロータ、11 ロータコア、12 永久磁石、12a 幅広側面、12b 幅狭側面、13 磁石収納孔、14A,14B,20A,20B プレート、15,31 切り込み、16,23,35,36,37 磁石固定片、16a,23a 湾曲部、17 蓋、22 開口、22a 長辺、22b 短辺、25 サブプレート、30 エンドプレート、32 磁石当接片。

Claims (1)

  1. ロータコアと、
    前記ロータコアの軸方向に沿って貫通し、永久磁石が収納される磁石収納孔と、
    前記ロータコアの両端面にそれぞれ固定される非磁性の一対のプレートと、
    前記プレートの前記磁石収納孔に対応する部分から前記磁石収納孔の内部に入り込むようにそれぞれ延出されており、前記磁石収納孔に収納された前記永久磁石の側面を挟持する一対の磁石固定片と、
    を備えたことを特徴とする回転電機のロータ。

JP2016066076A 2016-03-29 2016-03-29 回転電機のロータ Pending JP2017184375A (ja)

Priority Applications (1)

Application Number Priority Date Filing Date Title
JP2016066076A JP2017184375A (ja) 2016-03-29 2016-03-29 回転電機のロータ

Applications Claiming Priority (1)

Application Number Priority Date Filing Date Title
JP2016066076A JP2017184375A (ja) 2016-03-29 2016-03-29 回転電機のロータ

Publications (1)

Publication Number Publication Date
JP2017184375A true JP2017184375A (ja) 2017-10-05

Family

ID=60008770

Family Applications (1)

Application Number Title Priority Date Filing Date
JP2016066076A Pending JP2017184375A (ja) 2016-03-29 2016-03-29 回転電機のロータ

Country Status (1)

Country Link
JP (1) JP2017184375A (ja)

Cited By (3)

* Cited by examiner, † Cited by third party
Publication number Priority date Publication date Assignee Title
JPWO2021005794A1 (ja) * 2019-07-11 2021-11-18 三菱電機株式会社 回転電機のロータ及びその製造方法
EP4401286A1 (en) * 2023-01-12 2024-07-17 Toyota Jidosha Kabushiki Kaisha Rotor core, rotor, and manufacturing method of rotor core
US12062947B2 (en) 2019-04-25 2024-08-13 Hitachi Astemo, Ltd. Rotor for rotary electric machine and rotary electric machine

Citations (4)

* Cited by examiner, † Cited by third party
Publication number Priority date Publication date Assignee Title
JP2003235189A (ja) * 2002-02-04 2003-08-22 Toyota Motor Corp 回転電機のロータの磁石保持構造
JP2003339141A (ja) * 2002-03-12 2003-11-28 Denso Corp 車両用回転電機
WO2014054688A1 (ja) * 2012-10-04 2014-04-10 三菱電機株式会社 永久磁石埋込型電動機
JP2016005419A (ja) * 2014-06-19 2016-01-12 日立アプライアンス株式会社 永久磁石電動機

Patent Citations (4)

* Cited by examiner, † Cited by third party
Publication number Priority date Publication date Assignee Title
JP2003235189A (ja) * 2002-02-04 2003-08-22 Toyota Motor Corp 回転電機のロータの磁石保持構造
JP2003339141A (ja) * 2002-03-12 2003-11-28 Denso Corp 車両用回転電機
WO2014054688A1 (ja) * 2012-10-04 2014-04-10 三菱電機株式会社 永久磁石埋込型電動機
JP2016005419A (ja) * 2014-06-19 2016-01-12 日立アプライアンス株式会社 永久磁石電動機

Cited By (4)

* Cited by examiner, † Cited by third party
Publication number Priority date Publication date Assignee Title
US12062947B2 (en) 2019-04-25 2024-08-13 Hitachi Astemo, Ltd. Rotor for rotary electric machine and rotary electric machine
JPWO2021005794A1 (ja) * 2019-07-11 2021-11-18 三菱電機株式会社 回転電機のロータ及びその製造方法
EP4401286A1 (en) * 2023-01-12 2024-07-17 Toyota Jidosha Kabushiki Kaisha Rotor core, rotor, and manufacturing method of rotor core
JP2024099235A (ja) * 2023-01-12 2024-07-25 トヨタ自動車株式会社 ロータコア及びロータ並びにロータコアの製造方法

Similar Documents

Publication Publication Date Title
CN103004056B (zh) 旋转电机用转子芯及其制造方法
US11211838B2 (en) IPM rotor
JP6328598B2 (ja) 同期電動機の永久磁石回転子
US11025109B2 (en) Permanent magnet rotor
JP5258190B2 (ja) ステッピングモータの積層鉄心構造
US10411534B2 (en) Rotor and rotating electric machine
WO2016136384A1 (ja) 電機子および回転電機
JP2011172441A (ja) モータコア及びその組付け方法
WO2019142663A1 (ja) ステータの製造方法およびステータ
JP2017184375A (ja) 回転電機のロータ
JP2016005419A (ja) 永久磁石電動機
JP3681487B2 (ja) モールドモータ
JP5653298B2 (ja) 永久磁石埋込型モータの回転子
JP6753373B2 (ja) ステータの組立方法およびステータの組立装置
CN114977565B (zh) 转子及ipm马达
CN114128090A (zh) 旋转电机的转子及其制造方法
JPWO2019235071A1 (ja) 回転電機の固定子および回転電機
JP2011172335A (ja) 電動機
JP2007037288A (ja) 永久磁石形回転電機用回転子及びその製造方法
WO2024034217A1 (ja) ロータ、それを備えたモータ及びロータの製造方法
JP2018107839A (ja) 回転電機用固定子コア及び固定子、並びに回転電機
JP6376060B2 (ja) 回転子製造方法
KR100308294B1 (ko) 리니어 모터의 스테이터 조립체 구조
JP5200333B2 (ja) 電動機の回転子製造方法および回転子
JP2021040388A (ja) ステータの製造方法

Legal Events

Date Code Title Description
A621 Written request for application examination

Free format text: JAPANESE INTERMEDIATE CODE: A621

Effective date: 20180420

A977 Report on retrieval

Free format text: JAPANESE INTERMEDIATE CODE: A971007

Effective date: 20181227

A131 Notification of reasons for refusal

Free format text: JAPANESE INTERMEDIATE CODE: A131

Effective date: 20190108

A521 Request for written amendment filed

Free format text: JAPANESE INTERMEDIATE CODE: A523

Effective date: 20190218

A131 Notification of reasons for refusal

Free format text: JAPANESE INTERMEDIATE CODE: A131

Effective date: 20190723

A02 Decision of refusal

Free format text: JAPANESE INTERMEDIATE CODE: A02

Effective date: 20200204