JP2017111459A - 撮像装置及びフォーカルプレーンシャッタ - Google Patents

撮像装置及びフォーカルプレーンシャッタ Download PDF

Info

Publication number
JP2017111459A
JP2017111459A JP2017019834A JP2017019834A JP2017111459A JP 2017111459 A JP2017111459 A JP 2017111459A JP 2017019834 A JP2017019834 A JP 2017019834A JP 2017019834 A JP2017019834 A JP 2017019834A JP 2017111459 A JP2017111459 A JP 2017111459A
Authority
JP
Japan
Prior art keywords
curtain
actuator
rear curtain
opening
front curtain
Prior art date
Legal status (The legal status is an assumption and is not a legal conclusion. Google has not performed a legal analysis and makes no representation as to the accuracy of the status listed.)
Granted
Application number
JP2017019834A
Other languages
English (en)
Other versions
JP6534404B2 (ja
Inventor
中野 洋一
Yoichi Nakano
洋一 中野
基晴 櫻井
Motoharu Sakurai
基晴 櫻井
Current Assignee (The listed assignees may be inaccurate. Google has not performed a legal analysis and makes no representation or warranty as to the accuracy of the list.)
Seiko Precision Inc
Original Assignee
Seiko Precision Inc
Priority date (The priority date is an assumption and is not a legal conclusion. Google has not performed a legal analysis and makes no representation as to the accuracy of the date listed.)
Filing date
Publication date
Application filed by Seiko Precision Inc filed Critical Seiko Precision Inc
Priority to JP2017019834A priority Critical patent/JP6534404B2/ja
Publication of JP2017111459A publication Critical patent/JP2017111459A/ja
Application granted granted Critical
Publication of JP6534404B2 publication Critical patent/JP6534404B2/ja
Expired - Fee Related legal-status Critical Current
Anticipated expiration legal-status Critical

Links

Images

Landscapes

  • Shutters For Cameras (AREA)
  • Studio Devices (AREA)
  • Exposure Control For Cameras (AREA)

Abstract

【課題】露出期間のバラつきが抑制された撮像装置及びフォーカルプレーンシャッタを提供することを課題とする。【解決手段】開口を有した基板、走行して前記開口を開閉する先幕及び後幕、前記先幕及び後幕をそれぞれ走行させる先幕アクチュエータ及び後幕アクチュエータ、前記先幕の第1位置の通過を検出する先幕センサ、前記後幕の第2位置の通過を検出する後幕センサ、を含むフォーカルプレーンシャッタと、前記開口を介して光が入射する撮像素子と、前記後幕の走行中に前記後幕アクチュエータへ供給する電力を補正する駆動制御部と、を備えた撮像装置。【選択図】図8

Description

本発明は、撮像装置及びフォーカルプレーンシャッタに関する。
撮像装置に採用されるフォーカルプレーンシャッタが知られている。特許文献1のフォーカルプレーンシャッタでは、先幕及び後幕はそれぞれアクチュエータによって走行する。
特開2004‐101860号公報
アクチュエータへの通電開始から先幕又は後幕が走行を開始するまでの期間や、先幕及び後幕の走行速度等は、使用状況、使用年数、部品の精度等によって、バラつきが生じるおそれがある。このため、露出期間にバラつきが生じるおそれがある。
そこで本発明は、露出期間のバラつきが抑制された撮像装置及びフォーカルプレーンシャッタを提供することを目的とする。
上記目的は、開口を有した基板、走行して前記開口を開閉する先幕及び後幕、前記先幕及び後幕をそれぞれ走行させる先幕アクチュエータ及び後幕アクチュエータ、前記先幕の第1位置の通過を検出する先幕センサ、前記後幕の第2位置の通過を検出する後幕センサ、を含むフォーカルプレーンシャッタと、前記開口を介して光が入射する撮像素子と、前記先幕が前記開口を開くように前記先幕アクチュエータに通電を開始してから前記先幕が前記第1位置を通過するまでの先幕助走期間に基づいて、前記先幕の走行中に前記先幕アクチュエータへ供給する電力を補正し、前記後幕が前記開口を閉じるように前記後幕アクチュエータに通電を開始してから前記後幕が前記第2位置を通過するまでの後幕助走期間に基づいて、前記後幕の走行中に前記後幕アクチュエータへ供給する電力を補正する駆動制御部と、を備えた撮像装置によって達成できる。
上記目的は、開口を有した基板、走行して前記開口を開閉する先幕及び後幕、前記先幕及び後幕をそれぞれ走行させる先幕アクチュエータ及び後幕アクチュエータ、前記先幕の第1位置の通過を検出する先幕センサ、前記後幕の第2位置の通過を検出する後幕センサ、を含むフォーカルプレーンシャッタと、前記開口を介して光が入射する撮像素子と、前記先幕が前記開口を開くように前記先幕アクチュエータに通電を開始してから前記先幕が前記第1位置を通過するまでの先幕助走期間と、前記後幕が前記開口を閉じるように前記後幕アクチュエータに通電を開始してから前記後幕が前記第2位置を通過するまでの後幕助走期間とに基づいて、前記後幕の走行中に前記後幕アクチュエータへ供給する電力を補正する駆動制御部と、を備えた撮像装置によって達成できる。
上記目的は、開口を有した基板と、走行して前記開口を開閉する先幕及び後幕と、前記先幕及び後幕をそれぞれ走行させる先幕アクチュエータ及び後幕アクチュエータと、第1位置の前記先幕の通過を検出する先幕センサと、第2位置の前記後幕の通過を検出する後幕センサと、を備え、前記先幕が前記開口を開くように前記先幕アクチュエータに通電が開始されてから前記先幕が前記第1位置を通過するまでの先幕助走期間に基づいて、前記先幕の走行中に前記先幕アクチュエータへ供給する電力が補正され、前記後幕が前記開口を閉じるように前記後幕アクチュエータに通電が開始されてから前記後幕が前記第2位置を通過するまでの後幕助走期間に基づいて、前記後幕の走行中に前記後幕アクチュエータへ供給される電力が補正される、フォーカルプレーンシャッタによって達成できる。
上記目的は、開口を有した基板と、走行して前記開口を開閉する先幕及び後幕と、前記先幕及び後幕をそれぞれ走行させる先幕アクチュエータ及び後幕アクチュエータと、第1位置の前記先幕の通過を検出する先幕センサと、第2位置の前記後幕の通過を検出する後幕センサと、を備え、前記先幕が前記開口を開くように前記先幕アクチュエータに通電が開始されてから前記先幕が前記第1位置を通過するまでの先幕助走期間と、前記後幕が前記開口を閉じるように前記後幕アクチュエータに通電が開始されてから前記後幕が前記第2位置を通過するまでの後幕助走期間とに基づいて、前記後幕の走行中に前記後幕アクチュエータへ供給される電力が補正される、フォーカルプレーンシャッタによって達成できる。
露出期間のバラつきが抑制された撮像装置及びフォーカルプレーンシャッタを提供できる。
図1は、フォーカルプレーンシャッタを備えたカメラのブロック図である。 図2は、フォーカルプレーンシャッタの正面図である。 図3A、3Bは、センサの説明図である。 図4は、フォーカルプレーンシャッタの動作の説明図である。 図5は、フォーカルプレーンシャッタの動作の説明図である。 図6は、フォーカルプレーンシャッタの動作の説明図である。 図7は、フォーカルプレーンシャッタの動作の説明図である。 図8は、補正制御の説明図である。 図9は、補正制御の変形例の説明図である。 図10は、実施例2のフォーカルプレーンシャッタを備えたカメラのブロック図である。 図11は、実施例3のフォーカルプレーンシャッタを備えたカメラのブロック図である。 図12は、実施例3のフォーカルプレーンシャッタの正面図である。
以下、複数の実施例について説明する。
図1は、フォーカルプレーンシャッタ1を備えたカメラ(撮像装置)Aのブロック図である。カメラAは、フォーカルプレーンシャッタ1、制御部110、撮像素子130、駆動制御部170を備えている。フォーカルプレーンシャッタ1は、詳しくは後述するが先幕アクチュエータ(以下、アクチュエータと称する)70a、後幕アクチュエータ(以下、アクチュエータと称する)70b、先幕センサ(以下、センサと称する)60a、後幕センサ(以下、センサと称する)60bを備えている。
駆動制御部170は、制御部110からの指令に応じてアクチュエータ70a、70bの駆動を制御する。駆動制御部170は、CPU等を備えている。制御部110は、詳しくは後述するがセンサ60a、60bからの信号に応じて駆動制御部170に所定の指令を出す。駆動制御部170は、この指令を受けてアクチュエータ70a、70bの駆動を制御する。制御部110は、カメラ全体の動作を制御し、CPU、ROM、RAM等を備えている。撮像素子130は、CMOSである。撮像素子130は、被写体像を光電変換作用により電気的信号に変換する受光素子である。尚、カメラAは、図1には図示していないが、焦点距離を調整するためのレンズ等を備えている。
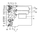
図2は、フォーカルプレーンシャッタ1の正面図である。図2では、アクチュエータ70a、70bについては省略してある。フォーカルプレーンシャッタ1は、基板10、先幕20A、後幕20B、アーム31a、32a、31b、32b、アクチュエータ70a、70b等を有している。基板10には、矩形状の開口11を有している。図2には、開口11内に撮像素子130の結像面を示している。
先幕20Aは、3枚の羽根21a〜23aから構成され、後幕20Bは、3枚の羽根21b〜23bから構成される。図2は、先幕20A、後幕20Bが重畳状態である場合を示している。図2の場合には、先幕20A、後幕20Bは開口11から退避している。先幕20Aはアーム31a、32aに連結されている。後幕20Bは、アーム31b、32bに連結されている。これらアーム31a、32a、31b、32bは、それぞれ基板10に回転自在に支持されている。
基板10には、アーム31a、31bをそれぞれ駆動するための先幕駆動レバー(以下、駆動レバーと称する)55a、後幕駆動レバー(以下、駆動レバーと称する)55bが設けられている。駆動レバー55a、55bは、それぞれ歯車50a、50bに連結されている。歯車50a、50bは、それぞれ歯車40a、40bと噛合している。歯車40a、40b、50a、50bは、それぞれ筒部41a、41b、51a、51bを有し、各筒部と嵌合する軸42a、42b、52a、52bを中心に基板10に回転可能に支持されている。尚、軸42a、42b、52a、52bは必ずしも開口11が形成された基板10に形成されていなくてもよく、開口11に対して定位置に設ければよい。
歯車40a、40bは、それぞれアクチュエータ70a、70bのロータに連結されている。アクチュエータ70aが駆動することにより、歯車40a、50aが駆動し、これにより駆動レバー55aが駆動する。駆動レバー55aが駆動することにより、アーム31aが駆動する。これにより、先幕20Aが走行する。先幕20Aは、開口11から退避した退避位置及び開口11を閉鎖する閉鎖位置間を走行可能である。先幕20Aは、アクチュエータ70aにより退避位置及び閉鎖位置間を走行する。歯車40b、50b、駆動レバー55b、後幕20Bについても同様である。
歯車40a、40bには、それぞれ薄板45a、45bが設けられている。薄板45a、45bはそれぞれ歯車40a、40bと共に回転する。薄板45a、45bはそれぞれ扇状である。センサ60a、60bは、詳しくは後述するが、基板10上に配置されている。
また、アーム31a、31bにはそれぞれ不図示の2つのバネが連結されている。詳細には、一方のバネの一端はアーム31aに連結され他端は基板10に連結されている。他方のバネの一端はアーム31bに連結され他端は基板10に連結されている。これらのバネは、それぞれ先幕20A、後幕20Bが開口11から退避するようにアーム31a、31bを付勢している。
図3A、3Bは、センサ60aの説明図である。センサ60aは、基板10上に配置されている。センサ60aは、互いに対向するように配置された発光素子62、受光素子63を有している。発光素子62から照射された光は、受光素子63で受光される。図3A、3Bに示すように、駆動レバー55aの回転に応じて、薄板45aは、発光素子62、受光素子63間に移動する。薄板45aが発光素子62、受光素子63間に位置すると、発光素子62から照射された光は遮断される。この際に受光素子63の出力信号に基づいて、薄板45aが発光素子62と受光素子63との間に位置しているか否かが検出され、これにより駆動レバー55aの位置を検出することができる。この結果、先幕20Aが所定の位置を通過したか否かを検出できる。尚、センサ60b、薄板45bについても同様である。
尚、センサ60aは上記のような構成に限定されない。例えば、センサ60aは、発光素子と、発光素子の光を反射するミラーと、ミラーにより反射された光を受光する受光素子と、を含む構成であってもよい。薄板45aが、発光素子とミラーとの間、または、受光素子とミラーとの間に位置することにより、薄板45aの位置を検出できる。
次に、フォーカルプレーンシャッタ1の通常動作について説明する。図4〜7は、フォーカルプレーンシャッタ1の動作の説明図である。尚、図4〜7においては、一部構成を省略してある。
待機状態においては、図2に示すように先幕20A、後幕20Bは、退避位置に位置づけられ開口11は全開状態のままに維持される。この状態では、薄板45aは、センサ60aから退避している。同様に薄板45bもセンサ60bから退避している。尚、図4に示したセンサ60aの出力信号は、詳細には受光素子63の出力信号である。発光素子62からの光が薄板45aにより遮蔽された際には受光素子63はH信号を制御部110に出力し、発光素子62からの光を受けた場合には受光素子63はL信号を制御部110に出力する。センサ60bについても同様である。尚、図2に示す待機状態において、先幕20A、後幕20Bは、それぞれ上述したバネにより開口11から退避した位置で維持されている。
カメラAのレリーズスイッチが押されると、チャージ動作が開始される。チャージ動作が開始されると、アクチュエータ70aのコイルに通電されて先幕20Aは開口11を閉じるように走行する。具体的には、歯車40aが反時計方向に回転して歯車50aが時計方向に回転してアーム31aが駆動する。また、アクチュエータ70bのコイルは通電されていない。ここで、駆動レバー55bと基板10を一度離間させて、後述する露出期間のバラつきを抑制する動作を行ってもよい。すなわち、後幕20Bが開口11に向けて一度移動するように、アクチュエータ70bのコイルを通電し、その後、後幕20Bが開口11を完全に閉じる前にアクチュエータ70bのコイルへの通電方向を切り替えて、後幕20Bを開口11から退避するように動作させてもよい。
その後、先幕20Aが開口11を閉鎖し後幕20Bが開口11から退避した状態でアクチュエータ70a、70bのコイルへの通電が遮断される。このようにしてチャージ動作が完了する。図4は、チャージ動作が完了した状態でのフォーカルプレーンシャッタ1の状態を示している。図4では、先幕20Aが閉鎖位置にあり後幕20Bが退避位置にある。尚、図5に示すように、先幕20Aが開口11を閉鎖する過程で薄板45aはセンサ60aに進行して再び退避する。これにより、センサ60aからの出力信号はL信号からH信号に切り替わって再びL信号に切り替わる。
チャージ動作完了後、露出動作が開始される。制御部110は駆動制御部170に指令を出してアクチュエータ70aのコイルを通電して先幕20Aが開口11を開くように走行させる。具体的には、歯車40aが時計方向に駆動し歯車50aが反時計方向に駆動する。先幕20Aが開口11から退避する過程で、薄板45aはセンサ60aに進行する。図5は、先幕20Aの走行中の状態を示している。図5は、先幕20Aの羽根21aが地点Daを通過するときを示している。羽根21aが地点Daから退避するように地点Daを通過すると、薄板45aはセンサ60aに進行してセンサ60aの出力信号はL信号からH信号に切り替わる。このようにセンサ60aの出力信号が切り替わるタイミングは、先幕20Aの羽根21aが地点Daを通過するときに設定されている。制御部110は、センサ60aからの出力信号の切り替わりを検出することにより、先幕20Aが地点Daを通過したことを検出することができる。尚、センサ60aの出力信号が切り替わるタイミングはこのタイミングに限定されない。
制御部110はセンサ60aの出力信号がL信号からH信号に切り替わったことを検出してから所定期間経過後にアクチュエータ70bのコイルに通電して後幕20Bの走行を開始する。これにより、後幕20Bが開口11を閉じるように走行する。
図6は、先幕20Aの走行が終了し後幕20Bが走行中を示している。図6は、後幕20Bの羽根21bが地点Daを通過するときを示している。後幕20Bの羽根21bが地点Daに進入するように通過すると、薄板45bがセンサ60bに進行してセンサ60bの出力信号はL信号からH信号に切り替わる。このように、センサ60bの出力信号が切り替わるタイミングも、後幕20Bの羽根21bが地点Daを通過するときに設定されている。図7は、先幕20A、後幕20Bが停止し露光動作を終了する直前状態を示している。先幕20Aが開口11から完全に退避し後幕20Bが開口11を完全に閉鎖するとアクチュエータ70a、70bのコイルへの通電は遮断される。このようにして、露出動作が終了する。ここで、先幕20Aが開口11を開き始めたときから後幕20Bが開口11を閉じるまでの間の期間を露出期間と称する。
露出動作終了後、制御部110のRAMや又はカメラ側のメモリにデータが出力される。次に、アクチュエータ70bのコイルが通電されて後幕20Bが開口11から退避し、開口11は全開状態が維持されて、図2に示した初期状態に戻る。
次に、図8を参照して露出作動時での駆動制御部170が実行する補正制御について説明する。図8は、露出作動時での駆動制御部170が実行する補正制御の説明図である。
時刻tL、tTは、それぞれ、駆動制御部170がアクチュエータ70a、70bに電力の供給を開始する時刻を示している。曲線Cref1、Cref2は、それぞれ、先幕20A、後幕20Bの理想的な走行状態を示している。基準時刻tref1、tref2は、それぞれ、理想的な走行状態で先幕20A、後幕20Bが走行した場合で、検出位置である地点Daを通過した時刻を示している。基準時刻tref1、tref2は、予め制御部110のROM等に記録されている。基準時刻tref1、tref2は、それぞれ第1及び第2基準値の一例である。基準期間Tref1、Tref2は、それぞれ、理想的な走行状態で先幕20A、後幕20Bが走行した場合で開口11を通過する期間を示している。理想的な走行状態で先幕20A、後幕20Bが走行する場合、先幕20A、後幕20Bがそれぞれの開口11を通過する速度は略同じである。即ち、基準期間Tref1、Tref2は、略同じである。理想的な走行状態とは、製品出荷時に想定されている先幕20A、後幕20Bの走行特性である。
曲線CL1、CT1は、それぞれ、実際の先幕20A、後幕20Bの走行状態を示している。時刻tL1、tT1は、それぞれ、先幕20A、後幕20Bが実際に走行した場合で地点Daを通過した時刻を示している。時刻tLから時刻tL1までの期間は、先幕助走期間に相当し、時刻tTから時刻tT1までの期間は、後幕助走期間に相当する。期間TL1、TT1は、先幕20A、後幕20Bが実際に走行した場合での開口11を通過する期間を示している。
図8では、実際の先幕20Aが理想的な走行状態よりも遅れて走行し、実際の後幕20Bが理想的な走行状態よりも早く走行する場合を例に示している。従って、期間TL1は基準期間Tref1よりも長く、期間TT1は基準期間Tref2よりも短い。このように理想的な走行状態からずれて先幕20A、後幕20Bが走行する理由は、カメラAの使用状況、使用年数、部品の精度等に関連すると考えられる。詳しくは後述するが、主な要因として、カメラAの累積撮影回数、撮影時のカメラAの姿勢及びコイルの発熱量等が挙げられる。また、図8の例では、理想的な先幕20Aの走行開始の時刻tTと、実際の先幕20Aの走行開始の時刻との間にはタイムラグがある。
曲線CL1´、曲線CT1´は、それぞれ、駆動制御部170によりアクチュエータ70a、70bに供給される電力が先幕20A、後幕20Bの走行中に補正される場合の先幕20A、後幕20Bの走行を示している。具体的には、アクチュエータ70a、70bに印加される電圧値は一定で電流値を補正することにより、供給される電力を補正している。尚、補正前にアクチュエータ70a、70bに印加される電流値を基準電流値と称する。基準電流値は予め設定されている初期値である。以下、このようにアクチュエータ70a、70bに供給される電力が補正される場合について説明する。
上述したように、カメラAのレリーズスイッチが押されると、先幕20Aが開口11を閉じるチャージ動作を経て制御部110は、駆動制御部170に指令を出してアクチュエータ70aへ電力の供給を開始する。アクチュエータ70aには基準電流値の電流が印加される。次に、制御部110はセンサ60aからの出力に基づいて時刻tL1を取得する。先幕20Aが実際に地点Daを通過した時刻tL1と、基準時刻tref1との差に基づいて、先幕20Aが地点Daを通過した後であって走行中に、駆動制御部170はアクチュエータ70aに供給される電力を補正する。
図8の場合、実際の先幕20Aの走行は理想的な走行よりも遅れている。このため、駆動制御部170は、補正後の電流値を基準電流値よりも増大させる。ここで、駆動制御部170は、先幕20Aが開口11を通過する補正後の期間TL1´を基準期間Tref1に近づけるための、先幕20A駆動用の電流値データを、不図示の電流補正テーブルとして有している。図8の場合、駆動制御部170は、補正後の期間TL1´を基準期間Tref1に近づけるために最適な、基準電流値よりも増大させた電流値を、電流補正テーブルの中から補正後の電流値として選択する。このような電流値により先幕20Aを駆動することにより、開口11を通過する先幕20Aの走行速度を、理想的な走行速度に近づけることができる。尚、補正後の電流値がアクチュエータ70aに印加されるタイミングは、地点Daを通過後の羽根21aが開口11を開き始めるタイミングに設定されているがこれに限定されない。尚、上記のように時刻tL1が基準時刻tref1よりも遅い場合、駆動制御部170は、両時刻の差が大きいほどアクチュエータ70aに供給される電力を増大させる。
先幕20Aの走行が終了すると、制御部110は駆動制御部170に指令を出してアクチュエータ70bへ電力の供給を開始する。アクチュエータ70bには基準電流値の電流が印加される。次に、制御部110はセンサ60bからの出力に基づいて時刻tT1を取得する。後幕20Bが実際に地点Daを通過した時刻tT1と、基準時刻tref2との差に基づいて、後幕20Bが地点Daを通過した後であって走行中に、駆動制御部170はアクチュエータ70bに供給される電力を補正する。
図8の場合、実際の後幕20Bの走行は理想的な走行よりも早い。このため、駆動制御部170は、補正後の電流値を基準電流値よりも減少させる。ここで、駆動制御部170は、後幕20Bが開口11を通過する補正後の期間TT1´を基準期間Tref2に近づけるための、後幕20B駆動用の電流値データを、不図示の電流補正テーブルとして有している。具体的には、駆動制御部170は、後幕20Bが開口11を通過する補正後の期間TT1´を基準期間Tref2に近づけるために最適な、基準電流値よりも減少させた電流値を電流補正テーブルの中から選択する。このような電流値により後幕20Bを駆動することにより、開口11を通過する後幕20Bの走行速度を、理想的な走行速度に近づけることができる。尚、補正後の電流値がアクチュエータ70bに印加されるタイミングは、地点Daを通過後の羽根21bが開口11を閉じ始めるタイミングに設定されているがこれに限定されない。尚、上記のように時刻tT1が基準時刻tref2よりも早い場合、駆動制御部170は、両時刻の差が大きいほどアクチュエータ70bに供給される電力を減少させる。
以上のように、先幕20A、後幕20Bが開口11を通過する期間が一致するように、アクチュエータ70a、70bへ供給される電力が補正される。これにより、露出期間のバラつきを抑制できる。また、開口下端における露出期間、すなわち、先幕20Aが開口11を開き始めたときから後幕20Bが開口11を閉じ始めるまでの期間と、開口上端における露出期間、すなわち、先幕20Aが開口11を全開とするときから後幕20Bが開口11を全閉とするまでの期間の差を抑制できる。これにより、画枠内すなわち、開口11内での露出ムラを抑制することができる。
制御部110は、上述した先幕20Aの助走期間と、アクチュエータ70aに通電を開始した時刻tLと基準時刻tref1と間の期間である基準期間とに基づいて電流の補正値を算出し、算出された補正値と基準電流値とから補正後の電流値を算出する。同様に、制御部110は、上述した後幕20Bの助走期間と、アクチュエータ70bに通電を開始する時刻tTと基準時刻tref2と間の期間である基準期間とに基づいて補正値を算出し、算出された補正値と基準電流値とから補正後の電流値を算出する。
補正により増減される電力分を一律にし、電力供給を開始してから各幕が実際に地点Daを通過した助走期間に応じて補正するタイミングを変更してもよい。例えば、助走期間が基準期間よりも長いほど、補正するタイミングを早くし、助走期間が基準期間よりも短いほど、補正するタイミングを遅くしてもよい。
上記実施例では、露出動作時に先幕20A及び後幕20Bのうち最も移動量が大きい羽根21a、21bが地点Daを通過したか否かを検出しているが、羽根21a、21bの通過が検出される位置は地点Daに限定されない。羽根21a、21bの通過が検出される位置は、露出動作時に羽根21a又は21bの走行開始位置から、この走行開始位置側の撮像素子130の結像面の縁の間の位置であってもよい。尚、羽根21a、21bは、それぞれ、アーム31a、31bの最も先端側で連結されている羽根である。
アクチュエータ70aに供給される電力を補正するタイミングは、先幕20Aが地点Daを通過してから撮像素子130に光が入射し始めるまでの間の期間であればよい。アクチュエータ70bに供給される電力を補正するタイミングは、後幕20Bが地点Daを通過してから後幕20Bが撮像素子130に入射する光を遮り始めるまでの間の期間であればよい。
前回の露出動作時に時刻tL1、tT1を取得して、次回の露出動作時にアクチュエータ70a、70bに供給される電力を補正してもよい。この場合、アクチュエータ70a、70bに供給される電力を補正するタイミングは、それぞれ先幕20A、後幕20Bが地点Daを通過する前であってもよい。
次に、補正制御の変形例について説明する。図9は、補正制御の変形例の説明図である。図9では、アクチュエータ70bに供給される電力のみ補正される。図9は、先幕20Aが理想的な走行よりも遅れて走行し、後幕20Bは理想的な走行よりも更に遅れて走行する場合を例に示している。
この変形例においては、先幕20Aの助走期間と後幕20Bの助走期間とに基づいて、後幕20Bが地点Daを通過した後であって走行中に駆動制御部170は、アクチュエータ70bに供給される電力を補正する。図9の場合、駆動制御部170は、後幕20Bの地点Daの通過後にアクチュエータ70bに印加される電流値を、基準電流値よりも増大させる。ここで、駆動制御部170は、先幕20Aの助走期間及び後幕20Bの助走期間に電流値を対応付けした、後幕20B駆動用の不図示の電流補正テーブルを有している。電流補正テーブルの電流値は、後幕20Bが開口11を通過する補正後の期間TT1´を、先幕20Aが実際に開口11を通過する期間TL1に近づけるための、後幕20B駆動用の電流値である。具体的には、駆動制御部170は、後幕20Bが開口11を通過する補正後の期間TT1´を先幕20Aが実際に開口11を通過する期間TL1に近づけるために最適な、基準電流値よりも増大させた電流値を、先幕20Aの助走期間と後幕20Bの助走期間とに基づいて、電流補正テーブルの中から選択する。このような電流値により後幕20Bを駆動することにより、開口11を通過する後幕20Bの走行速度を、実際の先幕20Aの走行速度に近づけることができる。
これによっても、先幕20A、後幕20Bが開口11を通過する期間が一致するように、アクチュエータ70bへ供給される電力が補正される。これにより、露出期間のバラつきを抑制できる。また、開口下端における露出期間と開口上端における露出期間との差を抑制でき、画枠内での露出ムラを抑制することができる。
次に、実施例2のフォーカルプレーンシャッタ1´を備えたカメラA´について説明する。尚、実施例1と同様の構成については同様の符号を付することにより重複する説明を省略する。図10は、実施例2のフォーカルプレーンシャッタ1´を備えたカメラA´のブロック図である。図10は、図1に対応している。ここで、フォーカルプレーンシャッタ1´のアクチュエータ70a及び70bは、それぞれ、コイル80a、80bを備えている。また、フォーカルプレーンシャッタ1´は、温度センサ200a、200bを備えている。カメラA´は、カウンタ180、姿勢センサ190を備えている。
ここで、カウンタ180はカメラA´の累積撮影回数を計数し、カメラA´の累積撮影回数情報を制御部110´へ出力する。姿勢センサ190は、カメラA´の姿勢を判別し、カメラA´の姿勢差情報を制御部110´へ出力する。また、温度センサ200a、200bは、それぞれ、コイル80a、80bの温度を検知し、コイルの発熱量情報をカメラA´の制御部110´へ出力する。
上述したように、理想的な走行状態からずれて先幕、後幕が走行する要因として、カメラの累積撮影回数、撮影時の姿勢及びコイル発熱量が挙げられる。ここで、累積撮影回数が多いと、先幕20A及び後幕20Bとそれらに摺動する部品との摩擦力が増加し、先幕20A及び後幕20Bの幕速が遅くなる傾向がある。また、カメラの姿勢により、各幕が重力に従う方向、逆らう方向どちらかに走行するかで、幕速がそれぞれ速く又は遅くなる傾向がある。また、アクチュエータへの通電時間が長くなると、コイル発熱量が増加してコイルの温度が上昇する。その結果、コイル抵抗値が増加し、駆動電流値の立ち上がりが遅くなる。換言すると、各幕を駆動する駆動電流値が所定の値になるまでの時間が長くなる。このため、幕速が低下する傾向がある。以上の要因により、露出期間にバラつきが生じるおそれがある。
カメラA´においては、カメラA´の累積撮影回数、撮影時の姿勢およびコイル発熱量に応じてアクチュエータ70a、70bに供給する電力を補正することにより、先幕20A、後幕20Bを理想的な走行速度に近づけることができる構成となっている。以下、実施例2に係るカメラA´のアクチュエータ70a、70bに供給される電力が補正される場合について、カメラAと同様に、図5、8、10を参照して説明する。
実施例1におけるカメラAと同様に、カメラA´のレリーズスイッチが押されると、先幕20Aが開口11を閉じるチャージ動作を経て制御部110´は、駆動制御部170´に指令を出してアクチュエータ70aへ電力の供給を開始する。アクチュエータ70aには基準電流値の電流が印加される。次に、制御部110´はカウンタ180からの出力に基づきカメラA´の累積撮影回数情報を取得すると共に、センサ60aからの出力に基づいて、図8における、時刻tL1を取得する。図5に示すように、先幕20Aが実際に地点Daを通過した時刻tL1と基準時刻tref1との差と、カメラA´の累積撮影回数情報とに基づいて、先幕20Aが地点Daを通過した後であって走行中に、駆動制御部170´はアクチュエータ70aに供給される電力を補正する。
ここで、実施例2に係るカメラA´の駆動制御部170´は、異なる累積撮影回数にそれぞれ異なる電流値を対応付けした、先幕20A駆動用の電流補正テーブルを有している。電流補正テーブルの電流値は、先幕20Aが開口11を通過する補正後の期間TL1´を基準期間Tref1に近づけるための先幕20A駆動用の電流値である。
図8の場合、駆動制御部170´は、補正後の期間TL1´を基準期間Tref1近づけるために最適な、基準電流値よりも増大させた電流値を、累積撮影回数に応じた電流補正テーブルの中から補正後の電流値として選択する。このような電流値により先幕20Aを駆動することにより、カメラA´の累積撮影回数に応じて開口11を通過する先幕20Aの走行速度を、より理想的な走行速度に近づけることができる。尚、上記のように時刻tL1が基準時刻tref1よりも遅い場合、駆動制御部170´は、両時刻の差が大きいほど、また、カメラA´の累積撮影回数が多いほどアクチュエータ70aに供給される電力を増大させる。
先幕20Aの走行が終了すると、制御部110´は駆動制御部170´に指令を出してアクチュエータ70bへ電力の供給を開始する。アクチュエータ70bには基準電流値の電流が印加される。次に、制御部110´はセンサ60bからの出力に基づいて時刻tT1を取得する。後幕20Bが実際に地点Daを通過した時刻tT1と基準時刻tref2との差と、カメラA´の累積撮影回数とに基づいて、後幕20Bが地点Daを通過した後であって走行中に、駆動制御部170´はアクチュエータ70bに供給される電力を補正する。
このように、後幕20Bに関しても、駆動制御部170´は、実施例1における補正に、制御部110´からのカメラA´の累積撮影回数情報を加味し、アクチュエータ70bに供給される電力を補正する。駆動制御部170´は、異なる累積撮影回数にそれぞれ異なる電流値を対応付けした、後幕20B駆動用の電流補正テーブルを有している。電流補正テーブルの電流値は、後幕20Bが開口11を通過する補正後の期間TT1´を基準期間Tref2に近づけるための、後幕20B駆動用の電流値である。
図8の場合、実際の後幕20Bの走行は理想的な走行よりも早い。このため、駆動制御部170´は、補正後の電流値を基準電流値よりも減少させる。具体的には、駆動制御部170´は、後幕20Bが開口11を通過する補正後の期間TT1´を基準期間Tref2に近づけるために最適な、基準電流値よりも減少させた電流値を、累積撮影回数に応じた電流補正テーブルの中から補正後の電流値として選択する。このような電流値により後幕20Bを駆動することにより、開口11を通過する後幕20Bの走行速度を、より理想的な走行速度に近づけることができる。尚、上記のように時刻tT1が基準時刻tref2よりも早い場合、駆動制御部170´は、両時刻の差が大きいほど、また、カメラA´の累積撮影回数が少ないほどアクチュエータ70bに供給される電力を減少させる。
駆動制御部170´は、制御部110´からのカメラA´の姿勢差情報に応じてアクチュエータ70a、70bに供給される電力を補正してもよい。すなわち、駆動制御部170´は、カメラA´の異なる姿勢にそれぞれ異なる電流値を対応付けした、先幕20A駆動用の電流補正テーブルを有していてもよい。電流補正テーブルの電流値は、先幕20Aの補正後の期間TL1´を、基準期間Tref1に近づけるための、先幕20A駆動用の電流値である。駆動制御部170´は、先幕20Aの補正後の期間TL1´を基準期間Tref1に近づけるために最適な電流値を、カメラA´の姿勢に応じた電流補正テーブルの中から補正後の電流値として選択してもよい。同様に、駆動制御部170´は、後幕20Bの補正後の期間TT1´を、基準期間Tref2に近づけるために最適な電流値を、姿勢差に応じた電流補正テーブルの中から補正後の電流値として選択してもよい。このような電流値により、先幕20A及び後幕20Bを駆動することにより、開口11を通過する先幕20A及び後幕20Bの走行速度を、より理想的な走行速度に近づけることができる。
また、駆動制御部170´は、制御部110´からのコイル80a、80bの温度情報に応じて、それぞれ、アクチュエータ70a、70bに供給される電力を補正してもよい。すなわち、駆動制御部170´は、異なる先幕用コイルの温度にそれぞれ異なる電流値を対応付けした先幕20A駆動用の電流補正テーブル、異なる後幕用コイルの温度にそれぞれ異なる電流値を対応付けした後幕20B駆動用の電流補正テーブル、を有してもよい。これら電流補正テーブルの電流値は、先幕20A及び後幕20Bの補正後の走行期間を基準期間に近づけるための電流値である。駆動制御部170´は、先幕20A及び後幕20Bの補正後の走行期間を基準期間に近づけるために最適な電流値を、それぞれ、コイル80a、80bの温度に応じた電流補正テーブルの中から補正後の電流値として選択してもよい。このような電流値によっても、開口11を通過する先幕20A及び後幕20Bの走行速度を、より理想的な走行速度に近づけることができる。
また、駆動制御部170´は、制御部110´からのカメラA´の累積撮影回数情報、姿勢差情報、コイル80a、80bの温度情報に応じて、アクチュエータ70a、70bに供給される電力を補正してもよい。すなわち、駆動制御部170´は、異なるカメラA´の累積撮影回数、撮影時の姿勢、及び先幕用コイルの温度にそれぞれ異なる電流値を対応付けした、先幕20A駆動用の電流補正テーブルを有していてもよい。駆動制御部170´は、異なるカメラA´の累積撮影回数、撮影時の姿勢、及び後幕用コイルの温度にそれぞれ異なる電流値を対応付けした、後幕20B駆動用の電流補正テーブルを有していてもよい。これら電流補正テーブルの電流値は、先幕20A及び後幕20Bの補正後の走行期間を基準期間に近づけるための電流値である。カメラA´の累積撮影回数、撮影時の姿勢並びにコイル80a、80bの温度に応じた複数の電流補正テーブルの中から補正後の電流値として選択してもよい。このような電流値によっても、開口11を通過する先幕20A及び後幕20Bの走行速度を、より理想的な走行速度に近づけることができる。
以上のように、先幕20A、後幕20Bが開口11を通過する期間が一致するように、カメラA´の累積撮影回数、撮影時の姿勢およびコイル発熱量に応じてアクチュエータ70a、70bへ供給される電力が補正される。これにより、露出期間のバラつきを抑制できる。また、開口下端における露出期間と、開口上端における露出期間との差を抑制でき、画枠内での露出ムラを抑制することができる。
次に、実施例3のフォーカルプレーンシャッタ1aを備えたカメラAaについて説明する。図11は、実施例3のフォーカルプレーンシャッタ1aを備えたカメラAaのブロック図である。図12は、実施例3のフォーカルプレーンシャッタ1aの正面図である。
制御部110aは、撮像素子130の蓄積電荷を画素ライン毎に所定方向に順次リセットすることにより電子先幕を擬似的に走行させる。具体的には、後幕20Bの走行方向と直交する撮像素子130の画素ライン毎に、撮像素子130の蓄積電荷をリセットする。これにより、電子的な先幕が露光開始位置から露光終了位置へ向けて擬似的に走行する。その後、所定時間後に後幕20Bが開口11を閉鎖するように移動して露出動作が終了する。カメラAaは、所謂、電子先幕機能を有する撮像装置である。ここで、上述した先幕20Aやアクチュエータ70aは設けられていない。また、後幕20Bは後幕アクチュエータ70bにより駆動される電磁駆動タイプのフォーカルプレーンシャッタ1aである。このため、フォーカルプレーンシャッタ1aは実施例1におけるフォーカルプレーンシャッタ1と比べて、アクチュエータ70bの構成部品である、コイル、ステータ等の配置に自由度があり、また、省スペースで構成が可能である。
このようなカメラAaにおいて、駆動制御部170は、上述した時刻tT1と基準時刻tref2との差に基づいて、アクチュエータ70bに供給される電力を補正する。ここで、駆動制御部170は、後幕20Bが開口11を通過する補正後の期間TT1´を電子先幕の走行特性に近づけるための、後幕20B駆動用の電流値データを、不図示の電流補正テーブルとして有している。具体的には、駆動制御部170は、後幕20Bが開口11を通過する補正後の期間TT1´を電子先幕の走行特性に近づけるために最適な電流値を電流補正テーブルの中から選択し、アクチュエータ70bに供給される電力を走行中に補正する。これによっても、露出期間のバラつきを抑制できる。また、開口下端における露出期間と、開口上端における露出期間との差を抑制でき、画枠内での露出ムラを抑制することができる。
先幕20Aの所定位置の通過を検出するセンサはセンサ60aに限定されない。例えば、アーム31a、32aや、駆動レバー55a、歯車50a、40aの何れかによって押されるスイッチであってもよい。センサ60aは、フォトインタラプタ、又はフォトリフレクタであってもよい。
以上本発明の好ましい実施形態について詳述したが、本発明は係る特定の実施形態に限定されるものではなく、特許請求の範囲に記載された本発明の要旨の範囲内において、変形・変更が可能である。
制御部110と駆動制御部170は、単一のICチップにより実現されていてもよい。
上記実施例において、先幕及び後幕は、それぞれ3枚の羽根から構成されるが、これに限定されない。
アクチュエータ70a、70bに供給される電力の補正は、アクチュエータ70a、70bに印加される電圧値及び電流値の少なくとも一方を変更することにより行われればよい。
上記実施例において、カメラの累積撮影回数情報、姿勢差情報並びにコイル80a、80bの発熱量情報によって、あるいは、これらの情報の何れかによってアクチュエータ70a、70bに供給される電力を補正する例を示したが、これらの情報の組み合わせによりアクチュエータ70a、70bに供給される電力を補正してもよい。
上記実施例において、温度センサ200a、200bにより、それぞれコイル80a、80bの温度を検知して発熱量情報を得る例を挙げたが、更に、例えば抵抗法を利用して、コイル80a、80bに電力を印加したときの抵抗値を計測し、各コイルの発熱量を推定することにより、コイル80a、80bの発熱量情報を得てもよい。
1 フォーカルプレーンシャッタ
10 基板
11 開口
20A 先幕
20B 後幕
21a〜23a、21b〜23b 羽根
31a、32a、31b、32b アーム
40a、40b、50a、50b 歯車
45a、45b 薄板
55a 先幕駆動レバー
55b 後幕駆動レバー
60a 先幕センサ
60b 後幕センサ
62 発光素子
63 受光素子
70a 先幕アクチュエータ
70b 後幕アクチュエータ
110 制御部
130 撮像素子
170 駆動制御部
180 カウンタ
190 姿勢センサ
200a 温度センサ
200b 温度センサ
上記目的は、撮像素子と、前記撮像素子の蓄積電荷を画素ライン毎に所定方向に順次リ セットすることにより電子先幕を擬似的に走行させる制御部と、開口を開閉する後幕、前 記後幕を走行させる後幕アクチュエータ、前記後幕アクチュエータにより駆動されて前記 後幕を駆動する後幕駆動レバー、を含むフォーカルプレーンシャッタと、前記後幕が前記 開口から退避した状態で、前記後幕アクチュエータにより前記開口に向けて移動するよう に前記後幕駆動レバーを駆動し、その後、前記後幕を前記開口から退避する方向に移動す るように前記後幕駆動レバーを駆動した後に、前記撮像素子の蓄積電荷を画素ライン毎に 所定方向に順次リセットすることにより前記電子先幕を擬似的に走行させ、その後、前記 後幕アクチュエータにより前記後幕が前記開口を閉鎖するように前記後幕駆動レバーを駆 動する駆動制御部と、を備えた撮像装置によって達成できる。
上記目的は、開口を開閉する幕と、前記幕を走行させるアクチュエータと、前記アクチ ュエータにより駆動されて前記幕を駆動する駆動レバーと、を備え、前記幕が前記開口か ら退避した状態で、前記アクチュエータにより前記開口に向けて移動するように前記駆動 レバーが駆動され、その後、前記幕が前記開口から退避する方向に移動するように前記駆 動レバーが駆動された後に、撮像素子の蓄積電荷を画素ライン毎に所定方向に順次リセッ トすることにより電子先幕を擬似的に走行し、その後、前記アクチュエータにより前記幕 が前記開口を閉鎖するように前記駆動レバーが駆動される、フォーカルプレーンシャッタによって達成できる。
上記目的は、開口を開閉する幕、前記幕を走行させるアクチュエータ、前記アクチュエ ータにより駆動されて前記幕を駆動する駆動レバー、を有したフォーカルプレーンシャッ タを制御する撮像装置であって、前記幕が前記開口から退避した状態で、前記アクチュエ ータにより前記開口に向けて移動するように前記駆動レバーを駆動し、その後、前記幕を 前記開口から退避する方向に移動するように前記駆動レバーを駆動した後に、撮像素子の 蓄積電荷を画素ライン毎に所定方向に順次リセットすることにより電子先幕を擬似的に走 行させ、その後、前記アクチュエータにより前記幕が前記開口を閉鎖するように前記駆動 レバーを駆動する制御部、を備えた撮像装置によって達成できる。

Claims (13)

  1. 開口を有した基板、走行して前記開口を開閉する先幕及び後幕、前記先幕及び後幕をそれぞれ走行させる先幕アクチュエータ及び後幕アクチュエータ、前記先幕の第1位置の通過を検出する先幕センサ、前記後幕の第2位置の通過を検出する後幕センサ、を含むフォーカルプレーンシャッタと、
    前記開口を介して光が入射する撮像素子と、
    前記先幕が前記開口を開くように前記先幕アクチュエータに通電を開始してから前記先幕が前記第1位置を通過するまでの先幕助走期間に基づいて、前記先幕の走行中に前記先幕アクチュエータへ供給する電力を補正し、前記後幕が前記開口を閉じるように前記後幕アクチュエータに通電を開始してから前記後幕が前記第2位置を通過するまでの後幕助走期間に基づいて、前記後幕の走行中に前記後幕アクチュエータへ供給する電力を補正する駆動制御部と、を備えた撮像装置。
  2. 開口を有した基板、走行して前記開口を開閉する先幕及び後幕、前記先幕及び後幕をそれぞれ走行させる先幕アクチュエータ及び後幕アクチュエータ、前記先幕の第1位置の通過を検出する先幕センサ、前記後幕の第2位置の通過を検出する後幕センサ、を含むフォーカルプレーンシャッタと、
    前記開口を介して光が入射する撮像素子と、
    前記先幕が前記開口を開くように前記先幕アクチュエータに通電を開始してから前記先幕が前記第1位置を通過するまでの先幕助走期間と、前記後幕が前記開口を閉じるように前記後幕アクチュエータに通電を開始してから前記後幕が前記第2位置を通過するまでの後幕助走期間とに基づいて、前記後幕の走行中に前記後幕アクチュエータへ供給する電力を補正する駆動制御部と、を備えた撮像装置。
  3. 前記駆動制御部は、前記後幕が走行を開始してから前記後幕が前記撮像素子に入射する光を遮り始める前までの間で、前記後幕アクチュエータへ供給する電力を補正する、請求項1又は2の撮像装置。
  4. 前記駆動制御部は、前記先幕が前記撮像素子上を通過している期間と、前記後幕が前記撮像素子上を通過している期間とが一致するように、電力を補正する、請求項1乃至3の何れかの撮像装置。
  5. 前記第2位置は、前記開口を閉じるように前記後幕が走行を開始する走行開始位置と、前記後幕が前記撮像素子に入射する光を遮り始める位置との間にある、請求項1乃至4の何れかの撮像装置。
  6. 前記駆動制御部は、前記先幕助走期間と第1基準値との差に基づいて前記先幕アクチュエータへ供給する電力を補正し、前記後幕助走期間と第2基準値との差に基づいて前記後幕アクチュエータへ供給する電力を補正する、請求項1の撮像装置。
  7. 前記駆動制御部は、前記先幕助走期間と、前記後幕助走期間と基準値との差に基づいて前記後幕アクチュエータへ供給する電力を補正する、請求項2の撮像装置。
  8. 前記駆動制御部は、前記撮像装置の累積撮影回数に応じて前記先幕アクチュエータ及び後幕アクチュエータへ供給する電力を補正する、請求項1乃至7の何れかの撮像装置。
  9. 前記駆動制御部は、前記撮像装置の姿勢に応じて前記先幕アクチュエータ及び後幕アクチュエータへ供給する電力を補正する、請求項1乃至7の何れかの撮像装置。
  10. 前記先幕アクチュエータ及び後幕アクチュエータは、それぞれ、先幕用コイル及び後幕用コイルを含み、
    前記駆動制御部は、前記先幕用コイル及び後幕用コイルの発熱量に応じて、前記先幕アクチュエータ及び前記後幕アクチュエータへ供給する電力を補正する、請求項1乃至7の何れかの撮像装置。
  11. 前記先幕アクチュエータ及び後幕アクチュエータは、それぞれ、先幕用コイル及び後幕用コイルを含み、
    前記駆動制御部は、前記撮像装置の累積撮影回数、前記撮像装置の姿勢、及び前記先幕用コイル及び後幕用コイルの発熱量、の少なくとも2つに応じて、前記先幕アクチュエータ及び前記後幕アクチュエータへ供給する電力を補正する、請求項1乃至7の何れかの撮像装置。
  12. 開口を有した基板と、
    走行して前記開口を開閉する先幕及び後幕と、
    前記先幕及び後幕をそれぞれ走行させる先幕アクチュエータ及び後幕アクチュエータと、
    第1位置の前記先幕の通過を検出する先幕センサと、
    第2位置の前記後幕の通過を検出する後幕センサと、を備え、
    前記先幕が前記開口を開くように前記先幕アクチュエータに通電が開始されてから前記先幕が前記第1位置を通過するまでの先幕助走期間に基づいて、前記先幕の走行中に前記先幕アクチュエータへ供給する電力が補正され、前記後幕が前記開口を閉じるように前記後幕アクチュエータに通電が開始されてから前記後幕が前記第2位置を通過するまでの後幕助走期間に基づいて、前記後幕の走行中に前記後幕アクチュエータへ供給される電力が補正される、フォーカルプレーンシャッタ。
  13. 開口を有した基板と、
    走行して前記開口を開閉する先幕及び後幕と、
    前記先幕及び後幕をそれぞれ走行させる先幕アクチュエータ及び後幕アクチュエータと、
    第1位置の前記先幕の通過を検出する先幕センサと、
    第2位置の前記後幕の通過を検出する後幕センサと、を備え、
    前記先幕が前記開口を開くように前記先幕アクチュエータに通電が開始されてから前記先幕が前記第1位置を通過するまでの先幕助走期間と、前記後幕が前記開口を閉じるように前記後幕アクチュエータに通電が開始されてから前記後幕が前記第2位置を通過するまでの後幕助走期間とに基づいて、前記後幕の走行中に前記後幕アクチュエータへ供給される電力が補正される、フォーカルプレーンシャッタ。
JP2017019834A 2017-02-06 2017-02-06 撮像装置及びフォーカルプレーンシャッタ Expired - Fee Related JP6534404B2 (ja)

Priority Applications (1)

Application Number Priority Date Filing Date Title
JP2017019834A JP6534404B2 (ja) 2017-02-06 2017-02-06 撮像装置及びフォーカルプレーンシャッタ

Applications Claiming Priority (1)

Application Number Priority Date Filing Date Title
JP2017019834A JP6534404B2 (ja) 2017-02-06 2017-02-06 撮像装置及びフォーカルプレーンシャッタ

Related Parent Applications (1)

Application Number Title Priority Date Filing Date
JP2013040274A Division JP6196047B2 (ja) 2013-03-01 2013-03-01 撮像装置及びフォーカルプレーンシャッタ

Publications (2)

Publication Number Publication Date
JP2017111459A true JP2017111459A (ja) 2017-06-22
JP6534404B2 JP6534404B2 (ja) 2019-06-26

Family

ID=59080743

Family Applications (1)

Application Number Title Priority Date Filing Date
JP2017019834A Expired - Fee Related JP6534404B2 (ja) 2017-02-06 2017-02-06 撮像装置及びフォーカルプレーンシャッタ

Country Status (1)

Country Link
JP (1) JP6534404B2 (ja)

Cited By (1)

* Cited by examiner, † Cited by third party
Publication number Priority date Publication date Assignee Title
WO2021010021A1 (ja) * 2019-07-17 2021-01-21 ソニー株式会社 撮像装置、シャッタユニット、シャッタ制御方法

Citations (6)

* Cited by examiner, † Cited by third party
Publication number Priority date Publication date Assignee Title
JPH0346643A (ja) * 1989-07-14 1991-02-27 Canon Inc カメラ等の光量調整装置の制御方法
JPH11326991A (ja) * 1998-05-13 1999-11-26 Canon Inc カメラ
JP2000147595A (ja) * 1998-08-03 2000-05-26 Fuji Photo Film Co Ltd 補助駆動装置
JP2007282128A (ja) * 2006-04-11 2007-10-25 Canon Inc 撮像装置及びその制御方法
JP2012186682A (ja) * 2011-03-07 2012-09-27 Seiko Epson Corp デジタルカメラおよびその露光制御方法
JP2012208280A (ja) * 2011-03-29 2012-10-25 Seiko Precision Inc 撮像装置

Patent Citations (6)

* Cited by examiner, † Cited by third party
Publication number Priority date Publication date Assignee Title
JPH0346643A (ja) * 1989-07-14 1991-02-27 Canon Inc カメラ等の光量調整装置の制御方法
JPH11326991A (ja) * 1998-05-13 1999-11-26 Canon Inc カメラ
JP2000147595A (ja) * 1998-08-03 2000-05-26 Fuji Photo Film Co Ltd 補助駆動装置
JP2007282128A (ja) * 2006-04-11 2007-10-25 Canon Inc 撮像装置及びその制御方法
JP2012186682A (ja) * 2011-03-07 2012-09-27 Seiko Epson Corp デジタルカメラおよびその露光制御方法
JP2012208280A (ja) * 2011-03-29 2012-10-25 Seiko Precision Inc 撮像装置

Cited By (3)

* Cited by examiner, † Cited by third party
Publication number Priority date Publication date Assignee Title
WO2021010021A1 (ja) * 2019-07-17 2021-01-21 ソニー株式会社 撮像装置、シャッタユニット、シャッタ制御方法
JPWO2021010021A1 (ja) * 2019-07-17 2021-01-21
JP7501534B2 (ja) 2019-07-17 2024-06-18 ソニーグループ株式会社 撮像装置、シャッタユニット、シャッタ制御方法

Also Published As

Publication number Publication date
JP6534404B2 (ja) 2019-06-26

Similar Documents

Publication Publication Date Title
JP6196047B2 (ja) 撮像装置及びフォーカルプレーンシャッタ
US8157458B2 (en) Focal-plane shutter apparatus and image-pickup apparatus
US9632394B2 (en) Image pickup device and focal plane shutter
JP5798910B2 (ja) フォーカルプレーンシャッタ及びそれを備えた光学機器
ITTO20070863A1 (it) Dispositivo di regolazione del fuoco, dispositivo di formazione di immagini e metodo di regolazione del fuoco
JP2012208280A (ja) 撮像装置
US9762820B2 (en) Imaging device and focal plane shutter
US8147152B2 (en) Image sensing apparatus and control method thereof
JP5984489B2 (ja) レンズ装置及びそれを有する撮像装置
JP6534404B2 (ja) 撮像装置及びフォーカルプレーンシャッタ
JP2012003083A (ja) 光学機器
JP2008278335A (ja) 撮像装置及びその制御方法
US9395598B2 (en) Focal plane shutter, imaging device and digital camera
US20150168805A1 (en) Shutter drive device
JP2011033800A (ja) 光学機構及びこの光学機構の制御方法
JP2010175839A (ja) 光学機構
JP3176166U (ja) フォーカルプレーンシャッタ及び撮像装置
JP6063324B2 (ja) 撮像装置及びフォーカルプレーンシャッタ
JP2007228047A (ja) 撮像装置、撮像装置の制御方法、画像データの補正方法、および、プログラム
JP2014010390A (ja) 撮像装置
JP6725039B2 (ja) レンズ鏡筒およびカメラ
JP2010061058A (ja) カメラ
JP6641657B2 (ja) 撮像装置および羽根駆動装置
WO2015056435A1 (ja) 撮像装置
JP6833378B2 (ja) 駆動装置、シャッタ装置、撮像装置、駆動方法、プログラム、記憶媒体

Legal Events

Date Code Title Description
A621 Written request for application examination

Free format text: JAPANESE INTERMEDIATE CODE: A621

Effective date: 20170227

A521 Request for written amendment filed

Free format text: JAPANESE INTERMEDIATE CODE: A523

Effective date: 20170227

A131 Notification of reasons for refusal

Free format text: JAPANESE INTERMEDIATE CODE: A131

Effective date: 20171114

A977 Report on retrieval

Free format text: JAPANESE INTERMEDIATE CODE: A971007

Effective date: 20171115

A521 Request for written amendment filed

Free format text: JAPANESE INTERMEDIATE CODE: A523

Effective date: 20171201

A131 Notification of reasons for refusal

Free format text: JAPANESE INTERMEDIATE CODE: A131

Effective date: 20180529

A521 Request for written amendment filed

Free format text: JAPANESE INTERMEDIATE CODE: A523

Effective date: 20180629

A02 Decision of refusal

Free format text: JAPANESE INTERMEDIATE CODE: A02

Effective date: 20181204

A521 Request for written amendment filed

Free format text: JAPANESE INTERMEDIATE CODE: A523

Effective date: 20190207

A911 Transfer to examiner for re-examination before appeal (zenchi)

Free format text: JAPANESE INTERMEDIATE CODE: A911

Effective date: 20190214

TRDD Decision of grant or rejection written
A01 Written decision to grant a patent or to grant a registration (utility model)

Free format text: JAPANESE INTERMEDIATE CODE: A01

Effective date: 20190507

A61 First payment of annual fees (during grant procedure)

Free format text: JAPANESE INTERMEDIATE CODE: A61

Effective date: 20190528

R150 Certificate of patent or registration of utility model

Ref document number: 6534404

Country of ref document: JP

Free format text: JAPANESE INTERMEDIATE CODE: R150

S111 Request for change of ownership or part of ownership

Free format text: JAPANESE INTERMEDIATE CODE: R313113

R350 Written notification of registration of transfer

Free format text: JAPANESE INTERMEDIATE CODE: R350

R250 Receipt of annual fees

Free format text: JAPANESE INTERMEDIATE CODE: R250

S533 Written request for registration of change of name

Free format text: JAPANESE INTERMEDIATE CODE: R313533

R350 Written notification of registration of transfer

Free format text: JAPANESE INTERMEDIATE CODE: R350

R250 Receipt of annual fees

Free format text: JAPANESE INTERMEDIATE CODE: R250

R250 Receipt of annual fees

Free format text: JAPANESE INTERMEDIATE CODE: R250

LAPS Cancellation because of no payment of annual fees