JP2017009782A - 照明装置およびプロジェクター - Google Patents
照明装置およびプロジェクター Download PDFInfo
- Publication number
- JP2017009782A JP2017009782A JP2015124578A JP2015124578A JP2017009782A JP 2017009782 A JP2017009782 A JP 2017009782A JP 2015124578 A JP2015124578 A JP 2015124578A JP 2015124578 A JP2015124578 A JP 2015124578A JP 2017009782 A JP2017009782 A JP 2017009782A
- Authority
- JP
- Japan
- Prior art keywords
- light
- image
- image rotator
- blue light
- optical system
- Prior art date
- Legal status (The legal status is an assumption and is not a legal conclusion. Google has not performed a legal analysis and makes no representation as to the accuracy of the status listed.)
- Pending
Links
- 230000010287 polarization Effects 0.000 claims abstract description 75
- 238000005286 illumination Methods 0.000 claims abstract description 45
- 238000000926 separation method Methods 0.000 claims abstract description 42
- 238000009792 diffusion process Methods 0.000 claims abstract description 8
- 230000003287 optical effect Effects 0.000 claims description 106
- 238000006243 chemical reaction Methods 0.000 claims description 22
- OAICVXFJPJFONN-UHFFFAOYSA-N Phosphorus Chemical compound [P] OAICVXFJPJFONN-UHFFFAOYSA-N 0.000 description 19
- 230000005284 excitation Effects 0.000 description 17
- 230000007423 decrease Effects 0.000 description 13
- 239000004065 semiconductor Substances 0.000 description 13
- 238000010586 diagram Methods 0.000 description 10
- 230000004048 modification Effects 0.000 description 6
- 238000012986 modification Methods 0.000 description 6
- 230000008859 change Effects 0.000 description 5
- 238000012544 monitoring process Methods 0.000 description 5
- 239000000758 substrate Substances 0.000 description 5
- 239000004973 liquid crystal related substance Substances 0.000 description 3
- 238000013459 approach Methods 0.000 description 2
- 230000015572 biosynthetic process Effects 0.000 description 2
- 239000007787 solid Substances 0.000 description 2
- 230000009471 action Effects 0.000 description 1
- 239000000853 adhesive Substances 0.000 description 1
- 230000001070 adhesive effect Effects 0.000 description 1
- 238000001514 detection method Methods 0.000 description 1
- 230000000694 effects Effects 0.000 description 1
- 239000011521 glass Substances 0.000 description 1
- 239000011368 organic material Substances 0.000 description 1
- 230000009467 reduction Effects 0.000 description 1
- 238000003786 synthesis reaction Methods 0.000 description 1
Images
Landscapes
- Projection Apparatus (AREA)
- Non-Portable Lighting Devices Or Systems Thereof (AREA)
- Video Image Reproduction Devices For Color Tv Systems (AREA)
Abstract
【課題】熱に強く、色バランスを良好に調整できる照明装置およびプロジェクターを提供する。
【解決手段】直線偏光からなる第1の光を射出する光源部と、光源部から射出された第1の光が入射するイメージローテーターと、イメージローテーターを通過した第1の光が入射する偏光分離素子と、第1の光のうち偏光分離素子を反射または透過した第1の成分を拡散させる第1の拡散素子と、を備える照明装置。
【選択図】図1
【解決手段】直線偏光からなる第1の光を射出する光源部と、光源部から射出された第1の光が入射するイメージローテーターと、イメージローテーターを通過した第1の光が入射する偏光分離素子と、第1の光のうち偏光分離素子を反射または透過した第1の成分を拡散させる第1の拡散素子と、を備える照明装置。
【選択図】図1
Description
本発明は、照明装置およびプロジェクターに関するものである。
複数の固体光源から射出される光によって蛍光体を励起し、励起した蛍光体から発せられた蛍光を利用する照明装置、およびこの照明装置を用いた投射型表示装置が知られている(例えば、下記特許文献1参照)。
この照明装置では、固体光源ユニットからの射出光を偏光分離ミラーによって分離し、分離した一方の光を励起光として蛍光発光板に導き、分離した他方の光と蛍光発光板から得られた蛍光とを合成して照明光としている。また、固体光源ユニットと偏光分離ミラーとの間の光路上に設けた位相差板により偏光分離ミラーに入射する光の偏光状態を調整することで、照明光の色バランス調整をしている。
しかしながら、上記照明装置においては、有機材料から構成された位相差板は耐熱性が低いため、固体光源からの射出光で劣化する虞がある。位相差板が劣化すると偏光分離ミラーに入射する光の偏光状態が所望の状態とならないため、照明光の色バランスが崩れるといった問題があった。
本発明はこのような事情に鑑みてなされたものであって、熱に強く、色バランスを良好に調整できる照明装置およびプロジェクターを提供することを目的とする。
本発明の第1態様に従えば、直線偏光からなる第1の光を射出する光源部と、前記光源部から射出された前記第1の光が入射するイメージローテーターと、前記イメージローテーターを通過した前記第1の光が入射する偏光分離素子と、前記第1の光のうち前記偏光分離素子を反射または透過した第1の成分を拡散させる第1の拡散素子と、を備える照明装置が提供される。
第1態様に係る照明装置によれば、イメージローテーターを通過することで第1の光の偏光方向が変化する。そのため、第1の光は偏光分離素子に対してS偏光成分とP偏光成分とが所定の割合で混在した光となるので、S偏光成分又はP偏光成分のいずれか一方を第1の成分として第1の拡散素子に入射させることができる。よって、第1の成分の拡散光の量を調整できるので、照明光の色バランスを調整することができる。また、第1の偏光方向の調整手段としてイメージローテーターを用いるので、位相差板を用いる従来構成よりも耐熱性に優れたものとなる。
上記第1態様において、前記イメージローテーターは、光入射面と、少なくとも一つの反射面と、光射出面と、を有するプリズムから構成されるのが好ましい。
このようなプリズムを用いることで第1の光の偏光方向を容易に変化させることが可能となる。
このようなプリズムを用いることで第1の光の偏光方向を容易に変化させることが可能となる。
上記第1態様において、前記イメージローテーターは、三枚の反射ミラーから構成されるのが好ましい。
この構成によれば、第1の光の偏光方向を容易に変化させることが可能となる。
この構成によれば、第1の光の偏光方向を容易に変化させることが可能となる。
上記第1態様において、前記イメージローテーターは、該イメージローテーターに入射する前記第1の光の光軸の周りに回転可能であるのが好ましい。
この構成によれば、イメージローテーターを回転させることで第1の光の偏光方向を調整できるので、照明光の色バランスを任意に調整することができる。
この構成によれば、イメージローテーターを回転させることで第1の光の偏光方向を調整できるので、照明光の色バランスを任意に調整することができる。
上記第1態様において、前記イメージローテーターを前記光軸の周りに回転させる回転駆動部と、前記光源部から射出された前記第1の光の強度を検出する光センサーと、をさらに備え、前記回転駆動部は、前記光センサーからの信号に基づいて前記イメージローテーターを回転させるのが好ましい。
この構成によれば、経時的に第1の光の強度が変化した場合でも、第1の光の強度に応じて色バランスを調整することができる。
この構成によれば、経時的に第1の光の強度が変化した場合でも、第1の光の強度に応じて色バランスを調整することができる。
上記第1態様において、前記第1の光のうち前記偏光分離素子を透過または反射した第2の成分を拡散させる第2の拡散素子をさらに備え、前記第1の拡散素子および前記第2の拡散素子の少なくとも一方が波長変換素子であるのが好ましい。
この構成によれば、波長変換素子によって生成された第1の光と異なる波長帯の光を含む照明光を射出することができる。
この構成によれば、波長変換素子によって生成された第1の光と異なる波長帯の光を含む照明光を射出することができる。
本発明の第2態様に従えば、上記第1態様に係る照明装置と、前記照明装置からの照明光を画像情報に応じて変調することにより画像光を形成する光変調装置と、前記画像光を投射する投射光学系と、を備えるプロジェクターが提供される。
第2態様に係るプロジェクターは上記第1態様に係る照明装置を備えるので、熱に強く、色バランスを良好に調整することができ、優れた品質の画像を投射することができる。
以下、本発明の実施の形態について、図面を参照して詳細に説明する。
なお、以下の説明で用いる図面は、特徴をわかりやすくするために、便宜上特徴となる部分を拡大して示している場合があり、各構成要素の寸法比率などが実際と同じであるとは限らない。
なお、以下の説明で用いる図面は、特徴をわかりやすくするために、便宜上特徴となる部分を拡大して示している場合があり、各構成要素の寸法比率などが実際と同じであるとは限らない。
本実施形態のプロジェクターは、3つの透過型液晶ライトバルブを用いたプロジェクターの一例である。
図1は、本実施形態のプロジェクターを示す概略構成図である。
図1に示すように、本実施形態のプロジェクター1は、スクリーンSCR上にカラー画像を表示する投射型画像表示装置である。プロジェクター1は、赤色光LR、緑色光LG、青色光LBの各色光に対応した3つの光変調装置を用いている。
図1は、本実施形態のプロジェクターを示す概略構成図である。
図1に示すように、本実施形態のプロジェクター1は、スクリーンSCR上にカラー画像を表示する投射型画像表示装置である。プロジェクター1は、赤色光LR、緑色光LG、青色光LBの各色光に対応した3つの光変調装置を用いている。
プロジェクター1は、照明装置2と、色分離光学系3と、赤色光用光変調装置4Rと、緑色光用光変調装置4Gと、青色光用光変調装置4Bと、合成光学系5と、投射光学系6と、を概略備えている。照明装置2は、均一な照度分布を有する照明光WLを色分離光学系3に向けて射出する。
色分離光学系3は、照明装置から射出された照明光WLを赤色光LRと緑色光LGと青色光LBとに分離する。色分離光学系3は、第1のダイクロイックミラー7aと、第2のダイクロイックミラー7bと、第1の反射ミラー8aと、第2の反射ミラー8bと、第3の反射ミラー8cと、第1のリレーレンズ9aと、第2のリレーレンズ9bと、を備えている。
第1のダイクロイックミラー7aは、照明装置2から射出された照明光WLを赤色光LRと、緑色光LGおよび青色光LBと、に分離する機能を有する。第1のダイクロイックミラー7aは、赤色光LRを透過し、緑色光LGおよび青色光LBを反射する。第2のダイクロイックミラー7bは、第1のダイクロイックミラー7aで反射した光を緑色光LGと青色光LBとに分離する機能を有する。第2のダイクロイックミラー7bは、緑色光LGを反射し、青色光LBを透過する。
第1の反射ミラー8aは、赤色光LRの光路中に配置されている。第1の反射ミラー8aは、第1のダイクロイックミラー7aを透過した赤色光LRを赤色光用光変調装置4Rに向けて反射する。第2の反射ミラー8bと第3の反射ミラー8cとは、青色光LBの光路中に配置されている。第2の反射ミラー8bと第3の反射ミラー8cとは、第2のダイクロイックミラー7bを透過した青色光LBを青色光用光変調装置4Bに向けて反射させる。緑色光LGは、第2のダイクロイックミラー7bで反射し、緑色光用光変調装置4Gに向けて進む。
第1のリレーレンズ9aと第2のリレーレンズ9bとは、青色光LBの光路中における第2のダイクロイックミラー7bの光射出側に配置されている。第1のリレーレンズ9aと第2のリレーレンズ9bとは、青色光LBの光路長が赤色光LRや緑色光LGの光路長よりも長くなることに起因した青色光LBの光損失を補償する機能を有している。
赤色光用光変調装置4Rは、赤色光LRを画像情報に応じて変調し、赤色光LRに対応した画像光を形成する。緑色光用光変調装置4Gは、緑色光LGを画像情報に応じて変調し、緑色光LGに対応した画像光を形成する。青色光用光変調装置4Bは、青色光LBを画像情報に応じて変調し、青色光LBに対応した画像光を形成する。
赤色光用光変調装置4R、緑色光用光変調装置4G、および青色光用光変調装置4Bには、例えば透過型の液晶パネルが用いられる。また、液晶パネルの入射側および射出側には、図示しない一対の偏光板が配置されている。一対の偏光板は、特定の方向の直線偏光光を透過させる。
赤色光用光変調装置4Rの入射側には、フィールドレンズ10Rが配置されている。緑色光用光変調装置4Gの入射側には、フィールドレンズ10Gが配置されている。青色光用光変調装置4Bの入射側には、フィールドレンズ10Bが配置されている。フィールドレンズ10Rは、赤色光用光変調装置4Rに入射する赤色光LRを平行化する。フィールドレンズ10Gは、緑色光用光変調装置4Gに入射する緑色光LGを平行化する。フィールドレンズ10Bは、青色光用光変調装置4Bに入射する青色光LBを平行化する。
合成光学系5は、赤色光LR、緑色光LG、および青色光LBのそれぞれに対応した画像光を合成し、合成された画像光を投射光学系6に向けて射出する。合成光学系5には、例えばクロスダイクロイックプリズムが用いられる。
投射光学系6は、複数の投射レンズを含む投射レンズ群から構成されている。投射光学系6は、合成光学系5により合成された画像光をスクリーンSCRに向けて拡大投射する。これにより、スクリーンSCR上には、拡大されたカラー画像が表示される。
以下、照明装置2について説明する。
図2は照明装置2の概略構成図である。
図2に示すように、照明装置2は、アレイ光源21Aと、コリメーター光学系22と、アフォーカル光学系23と、イメージローテーター46と、回転駆動部47と、ホモジナイザー光学系24と、偏光分離素子50Aを含むプリズム25Aと、ピックアップ光学系26と、発光素子27と、光学素子41と、拡散反射素子30と、インテグレータ光学系31と、偏光変換素子32と、重畳光学系33と、光量モニター用ミラー42と、センサーユニット43と、制御装置44と、を備えている。発光素子27は、特許請求の範囲の「第1の拡散素子」および「波長変換素子」に相当する。拡散反射素子30は、特許請求の範囲の「第2の拡散素子」に相当する。
図2は照明装置2の概略構成図である。
図2に示すように、照明装置2は、アレイ光源21Aと、コリメーター光学系22と、アフォーカル光学系23と、イメージローテーター46と、回転駆動部47と、ホモジナイザー光学系24と、偏光分離素子50Aを含むプリズム25Aと、ピックアップ光学系26と、発光素子27と、光学素子41と、拡散反射素子30と、インテグレータ光学系31と、偏光変換素子32と、重畳光学系33と、光量モニター用ミラー42と、センサーユニット43と、制御装置44と、を備えている。発光素子27は、特許請求の範囲の「第1の拡散素子」および「波長変換素子」に相当する。拡散反射素子30は、特許請求の範囲の「第2の拡散素子」に相当する。
アレイ光源21Aと、コリメーター光学系22と、アフォーカル光学系23と、ホモジナイザー光学系24と、プリズム25Aと、光学素子41と、第2のピックアップ光学系29と、拡散反射素子30とは、それぞれの光学中心を図2中に示す光軸ax1に一致させた状態で、光軸ax1上に順次並んで配置されている。なお、光学素子41は、位相差板28と、第2のピックアップ光学系29とを含む。
一方、発光素子27と、ピックアップ光学系26と、プリズム25Aと、インテグレータ光学系31と、偏光変換素子32と、重畳レンズ33aとは、それぞれの光学中心を図2中に示す光軸ax2に一致させた状態で、光軸ax2上に順次並んで配置されている。光軸ax1と光軸ax2とは、同一面内にあり、互いに直交する位置関係にある。
アレイ光源21Aは、複数の半導体レーザー211を備える。複数の半導体レーザー211は、光軸ax1と直交する面21c内において、アレイ状に並んで配置されている。半導体レーザー211の個数は特に限定されない。
各半導体レーザー211は、例えばピーク波長が446nmの青色光BLを射出する。青色光BLは、アレイ光源21Aからコリメーター光学系22に向けて射出される。本実施形態におけるピーク波長が446nmの青色光BLは、特許請求の範囲の「第1の光」に相当し、アレイ光源21Aは、特許請求の範囲の「光源部」に相当する。
図3は半導体レーザー211から射出された青色光BLの断面形状を示す図である。図3に示すように、複数の青色光BLは、その光軸BL1方向から見て長手方向W1と短手方向W2とを有する細長い矩形状若しくは略楕円状となっている。青色光BLは、短手方向W2と平行な方向に偏光方向を有する光(直線偏光)である。
アレイ光源21Aから射出された青色光BLは、コリメーター光学系22に入射する。コリメーター光学系22は、アレイ光源21Aから射出された青色光BLを平行光束に変換する。コリメーター光学系22は、例えばアレイ状に並んで配置された複数のコリメーターレンズ22aで構成されている。複数のコリメーターレンズ22aは、複数の半導体レーザー211にそれぞれ対応して配置されている。
コリメーター光学系22を透過することにより平行光束に変換された青色光BLは、アフォーカル光学系23に入射する。アフォーカル光学系23は、青色光BLの光束径を調整する。アフォーカル光学系23は、例えばアフォーカルレンズ23a,アフォーカルレンズ23bから構成されている。
アフォーカル光学系23を透過することにより光束径が調整された青色光BLは、イメージローテーター46に入射する。イメージローテーター46は、青色光BLの光軸BL1と平行な軸の周りに回転可能とされている。回転駆動部47はイメージローテーター46を回転させるためのものである。
図4はイメージローテーター46の概略構成を示す図である。
図4に示すように、本実施形態のイメージローテーター46は、例えば、ガラス製のプリズム60から構成されたものとなっている。
図4に示すように、本実施形態のイメージローテーター46は、例えば、ガラス製のプリズム60から構成されたものとなっている。
プリズム60は、光入射面61と、反射面62と、光射出面63とを有する。光入射面61からプリズム60内に入射した青色光BLは反射面62で反射された後に光射出面63から射出されることで像が反転する。よって、プリズム60は、後述のように所定角度だけ回転することで青色光BLの像を回転させることが可能となっている。
具体的に、イメージローテーター46が角度θ度だけ回転すると、青色光BLの像は光軸ax1と平行な軸の周りに2θ度だけ回転されてイメージローテーター46から射出される。
図5はイメージローテーター46による作用を説明するための図である。図5(a)は光入射面61に入射する際の複数(例えば、3つ)の青色光BLの断面形状(スポット形状)を示すものであり、図5(b)は光射出面63から射出された際の複数の青色光BLの断面形状(スポット形状)を示すものである。
図5(a)に示すように、イメージローテーター46による回転前の状態において、青色光BLは偏光分離素子50Aに対するS偏光成分のみから構成されているとする。
図5(b)に示すように、イメージローテーター46によって回転された青色光BLは直線偏光という偏光状態を維持するものの、像とともに偏光方向W3が回転する。具体的に、偏光方向W3が2θだけ回転する。これにより、イメージローテーター46から射出された青色光BLは、P偏光成分BLpおよびS偏光成分BLsが所定の割合で混在した光となる。
なお、本実施形態におけるS偏光成分BLsは、特許請求の範囲における第1の成分に相当し、本実施形態におけるP偏光成分BLpは、特許請求の範囲における第2の成分に相当する。
図2に戻り、イメージローテーター46から射出された青色光BLは、ホモジナイザー光学系24に入射する。ホモジナイザー光学系24は、例えばマルチレンズアレイ24a,マルチレンズアレイ24bから構成されている。マルチレンズアレイ24aは複数のレンズ24amを備えている。
本実施形態では、イメージローテーター46を通過することで青色光BLの像が回転しているため、マルチレンズアレイ24aの各レンズ24amに対して青色光BLが効率良く入射するようになる。よって、青色光BLの光強度分布の均一性をより向上させることができる。
ホモジナイザー光学系24から射出された青色光BLは、プリズム25Aに入射する。プリズム25Aは、例えば波長選択性を有するダイクロイックプリズムで構成されている。ダイクロイックプリズムは、光軸ax1に対して45°の角度をなす傾斜面Kを有している。
傾斜面Kは、光軸ax2に対しても45°の角度をなしている。プリズム25Aは、互いに直交する光軸ax1,ax2の交点と傾斜面Kの光学中心とが一致するように配置されている。ダイクロイックプリズムからなるプリズム25Aに代えて、平行平板状のダイクロイックミラーを用いてもよい。
傾斜面Kには、波長選択性を有する偏光分離素子50Aが設けられている。偏光分離素子50Aは、青色光BLを、偏光分離素子50Aに対するS偏光成分BLsとP偏光成分BLpとに分離する偏光分離機能を有している。
具体的に、偏光分離素子50Aは、青色光BLのS偏光成分BLs(第1の成分)を反射させ、青色光BLのP偏光成分BLp(第2の成分)を透過させる。以下の説明では、偏光分離素子50Aで反射したS偏光成分BLsは蛍光体層の励起に利用されるため、励起光BLsと称する。偏光分離素子50Aを透過したP偏光成分BLpは照明光として利用されるため、青色光BLpと称する。
また、偏光分離素子50Aは、半導体レーザー211から射出された青色光BLとは波長帯が異なる黄色の蛍光光YLを、蛍光光YLの偏光状態に依らずに透過させる色分離機能を有している。
偏光分離素子50Aから射出されたS偏光の励起光BLsは、ピックアップ光学系26に入射する。ピックアップ光学系26は、励起光BLsを発光素子27の蛍光体層34に向けて集光させる。ピックアップ光学系26は、例えばピックアップレンズ26a,ピックアップレンズ26bから構成されている。
ピックアップ光学系26から射出された励起光BLsは、発光素子27に入射する。発光素子27は、蛍光体層34と、蛍光体層34を支持する基板35と、を有している。励起光BLsが蛍光体層34に入射することにより蛍光体層34に含まれる蛍光体が励起され、励起光BLsとは波長が異なる黄色の蛍光光YLが生成される。
発光素子27において、蛍光体層34は、励起光BLsが入射する側とは反対側の面を基板35に接触させた状態で、蛍光体層34の側面と基板35との間に設けられた接着剤36により基板35に固定されている。基板35の蛍光体層34が設けられた側と反対側の面には、蛍光体層34の熱を放散させるためのヒートシンク38が設けられている。
蛍光体層34から射出された蛍光光YLは、偏光方向が揃っていない非偏光光のため、ピックアップ光学系26を通過した後、非偏光の状態のままで偏光分離素子50Aに入射する。蛍光光YLは、偏光分離素子50Aを透過し、インテグレータ光学系31に向けて進む。
一方、偏光分離素子50Aから射出されたP偏光の青色光BLpは、位相差板28に入射する。
位相差板28は、偏光分離素子50Aと拡散反射素子30との間の光路中に配置された1/4波長板から構成されている。したがって、偏光分離素子50Aから射出されたP偏光の青色光BLpは、位相差板28により円偏光の青色光BLcに変換された後、第2のピックアップ光学系29に入射する。
第2のピックアップ光学系29は、青色光BLcを拡散反射素子30に向けて集光させる。第2のピックアップ光学系29は、例えばピックアップレンズ29aとピックアップレンズ29bとから構成されている。
拡散反射素子30は、第2のピックアップ光学系29から射出された青色光BLcを偏光分離素子50Aに向けて拡散反射させる。特に拡散反射素子30として、拡散反射素子30に入射した青色光BLcをランバート反射させるものを用いることが好ましい。照明装置2において、この種の拡散反射素子30を用いることにより、青色光BLcを拡散反射させつつ、均一な照度分布を有する青色光BLc’を得ることができる。
拡散反射素子30で拡散反射された青色光BLc’は、再び位相差板28に入射することによって、円偏光の青色光BLc’からS偏光の青色光BLs’に変換される。そのため、光学素子41からS偏光の青色光BLs’が射出される。
S偏光の青色光BLs’は、偏光分離素子50Aに入射する。S偏光の青色光BLs’は、偏光分離素子50Aで反射し、インテグレータ光学系31に向けて進む。
S偏光の青色光BLs’は、偏光分離素子50Aに入射する。S偏光の青色光BLs’は、偏光分離素子50Aで反射し、インテグレータ光学系31に向けて進む。
このようにして、青色光BLs’は、偏光分離素子50Aを透過した蛍光光YLとともに、照明光WLとして利用される。すなわち、青色光BLs’と蛍光光YLとは、偏光分離素子50Aから互いに同一方向に向けて射出される。このようにして、青色光BLs’と黄色の蛍光光YLとが合成された白色の照明光WLが得られる。すなわち、偏光分離素子50Aは、青色光BLs’と蛍光光YLとを合成する色合成素子の機能も兼ねている。
偏光分離素子50Aから射出された照明光WLは、インテグレータ光学系31に入射する。インテグレータ光学系31は、照明光WLを複数の小光束に分割する。インテグレータ光学系31は、例えば、第1レンズアレイ31a,第2レンズアレイ31bから構成されている。第1レンズアレイ31a,第2レンズアレイ31bは、複数のマイクロレンズがアレイ状に配列されたものからなる。
インテグレータ光学系31から射出された照明光WL(複数の小光束)は、偏光変換素子32に入射する。偏光変換素子32は、照明光WLの偏光方向を揃えるものである。偏光変換素子32は、例えば、偏光分離膜と位相差板とミラーとから構成されている。偏光変換素子32は、非偏光である蛍光光YLの偏光方向とS偏光の青色光BLs’の偏光方向とを揃えるため、他方の偏光成分を一方の偏光成分に、例えばP偏光成分をS偏光成分に変換する。
インテグレータ光学系31と偏光変換素子32との間の光路上に、光量モニター用ミラー42が設けられている。光量モニター用ミラー42は、光軸ax2に対して45°の角度をなすように配置されている。光量モニター用ミラー42は、入射した光の一部を透過し、残りを反射する。光量モニター用ミラー42を透過した光は偏光変換素子32に入射し、光量モニター用ミラー42で反射した光はセンサーユニット43に入射する。センサーユニット43の詳細な構成については後述する。本実施形態におけるセンサーユニット43は特許請求の範囲における「光センサー」に相当する。
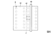
図6は光量モニター用ミラー42の配置位置を説明するための図である。
図6に示すように、光量モニター用ミラー42は、偏光変換素子32の光入射領域Rを避けて配置された保持部材48によって保持されている。偏光変換素子32の光入射領域Rとは、インテグレータ光学系31から射出された複数の小光束各々が入射する領域である。
図6に示すように、光量モニター用ミラー42は、偏光変換素子32の光入射領域Rを避けて配置された保持部材48によって保持されている。偏光変換素子32の光入射領域Rとは、インテグレータ光学系31から射出された複数の小光束各々が入射する領域である。
光量モニター用ミラー42は、半導体レーザー211から射出された青色光BLの2次光源像Zが形成される位置に配置される。ここでは、光量モニター用ミラー42がインテグレータ光学系31と偏光変換素子32との間の光路上に配置された例を示した。この例に代えて、光量モニター用ミラー42は、偏光変換素子32と重畳レンズ33aとの間の光路上に配置されていてもよい。
偏光変換素子32を通過することにより偏光方向が揃えられた照明光WLは、重畳レンズ33aに入射する。重畳レンズ33aは、偏光変換素子32から射出された複数の小光束を照明対象物上で互いに重畳させる。これにより、照明対象物を均一に照明することができる。重畳光学系33は、第1レンズアレイ31a,第2レンズアレイ31bからなるインテグレータ光学系31と重畳レンズ33aとにより構成される。
本実施形態の場合、光量モニター用ミラー42は、インテグレータ光学系31と偏光変換素子32との間の光路上の2次光源像Zの形成位置に配置されている。そのため、光路中に光量モニター用ミラー42を配置して光の一部を取り出したとしても、被照明領域である赤色光用光変調装置4R、緑色光用光変調装置4G、および青色光用光変調装置4B上において照度ムラが生じることはない。したがって、2次光源像1個分の照度低下を許容できるならば、光量モニター用ミラー42は、必ずしも一部の光を透過し、残りを反射するミラーでなくてもよく、全ての光を反射するミラーであってもよい。
図7はセンサーユニット43の構成を示す図である。
センサーユニット43は、図7に示すように、青色光BLs’の強度を検出する青色光用センサー52と、黄色の蛍光光YLの強度を検出する黄色光用センサー53と、青色光BLs’と黄色の蛍光光YLとを分離するダイクロイックミラー54と、を備えている。
センサーユニット43は、図7に示すように、青色光BLs’の強度を検出する青色光用センサー52と、黄色の蛍光光YLの強度を検出する黄色光用センサー53と、青色光BLs’と黄色の蛍光光YLとを分離するダイクロイックミラー54と、を備えている。
光量モニター用ミラー42から取り出された光は、センサーユニット43に入射し、ダイクロイックミラー54により青色光BLs’と黄色の蛍光光YLとが分離される。青色光BLs’は、青色光用センサー52により強度が検出される。黄色の蛍光光YLは、黄色光用センサー53により強度が検出される。
センサーユニット43からの青色光BLs’の強度と黄色の蛍光光YLの強度の検出結果は、制御装置44に出力される。制御装置44は、青色光BLs’の強度と黄色の蛍光光YLの強度との比が基準値に近付くように、イメージローテーター46を回転させて該イメージローテーター46を通過した青色光BLの偏光状態を変化させる。
なお、青色光BLs’の強度と黄色の蛍光光YLの強度との比の基準値は、センサーユニット43により測定された、プロジェクター1の使用開始時点の初期の青色光BLs’の強度と黄色の蛍光光YLの強度とに基づいて決定された値であってもよい。もしくは、青色光BLs’の強度と黄色の蛍光光YLの強度との比の基準値として、プロジェクター1の設計値を用いてもよい。
ここで、プロジェクター使用時の経時変化により半導体レーザー211から射出される光の量が低下した場合を想定する。この場合に生じるホワイトバランスのずれに対する本実施形態の対応策の考え方を、図8のフローチャートに基づいて説明する。
半導体レーザー211の出力が低下すると(図8のステップS1)、それに伴って蛍光体層34を励起させる励起光BLsの光量が低下する。励起光BLsの光量が低下することは、励起光BLsの光密度(単位面積あたりの光量)が低下することと等価である(図8のステップS2)。
一般的に、蛍光体は励起光の光密度が低下すると、励起光を蛍光光に変換する際の変換効率が上昇する、という特性を有している。したがって、励起光BLsの光量が低下したとしても、変換効率の上昇による蛍光光の増加分が励起光BLsの光量低下による蛍光光の減少分を上回ったとき、蛍光体層34から射出される蛍光光YLの光量は増加する(図8のステップS3)。ここでは、蛍光光YLの光量が増加する場合を例にとって説明するが、蛍光光YLの光量は減少する場合もある。いずれの場合もホワイトバランスが崩れる。
ここで、半導体レーザー211の出力の低下に伴って、青色光BLs’の光量、励起光BLsの光量はともに低下している。
しかしながら、蛍光体の変換効率が上昇しているため、青色光BLs’に対する蛍光光YLの光量は相対的に増加する(図8のステップS4)。その結果、青色光BLs’と黄色の蛍光光YLとの比率が変化し、経時変化前に対して青色光BLs’と黄色の蛍光光YLとの合成光である白色光のホワイトバランスが崩れる(図8のステップS5)。具体的には、青色光BLs’の光量に対する黄色の蛍光光YLの光量が相対的に増加するため、合成光は黄色味を帯びた白色光に変化する。
しかしながら、蛍光体の変換効率が上昇しているため、青色光BLs’に対する蛍光光YLの光量は相対的に増加する(図8のステップS4)。その結果、青色光BLs’と黄色の蛍光光YLとの比率が変化し、経時変化前に対して青色光BLs’と黄色の蛍光光YLとの合成光である白色光のホワイトバランスが崩れる(図8のステップS5)。具体的には、青色光BLs’の光量に対する黄色の蛍光光YLの光量が相対的に増加するため、合成光は黄色味を帯びた白色光に変化する。
ここで、光量モニター用ミラー42から取り出された光に含まれる青色光BLs’の光量(強度)と黄色の蛍光光YLの光量(強度)とが、センサーユニット43により測定される(図8のステップS6)。
制御装置44に、プロジェクター1の使用開始時点の初期の強度値に基づいて決定された、青色光強度と黄色光強度との比の基準値が予め記憶されている。制御装置44は、センサーユニット43が検出した現在の青色光強度と黄色光強度との比と記憶済みの基準値とを比較する。その結果、現在の青色光強度と黄色光強度との比と基準値の比との差が許容範囲を超えている場合、現在の青色光強度と黄色光強度との比が基準値(初期値)に近付くように、イメージローテーター46を回転させる(図8のステップS7)。
イメージローテーター46を所定の角度だけ回転させることにより、青色光BLのS偏光成分BLsの光量とP偏光成分BLpの光量との割合を調整できる。
具体的に、青色光となるP偏光成分BLpの光量を増やし、蛍光光YLを生成する励起光となるP偏光成分BLpの光量を減らすためには、P偏光成分BLpの光量を相対的に増やし、S偏光成分BLsの光量を相対的に減らせばよい。
これにより、白色光のホワイトバランスが崩れたときと比べて、偏光分離素子50Aを透過する青色光となるP偏光成分BLpの光量が相対的に増加するため、合成光はより白色に近い光となり、ホワイトバランスを改善することができる。
これにより、白色光のホワイトバランスが崩れたときと比べて、偏光分離素子50Aを透過する青色光となるP偏光成分BLpの光量が相対的に増加するため、合成光はより白色に近い光となり、ホワイトバランスを改善することができる。
以上説明したように、本実施形態の照明装置2によれば、位相差板に代えてイメージローテーター46を回転させることで照明光WLのホワイトバランスを調整することができる。従来のように位相差板を用いた場合、位相差板が熱で劣化することでホワイトバランス調整の信頼性の低下を招くおそれがあった。本実施形態によれば、位相差板よりも耐熱性に優れたイメージローテーター46を用いるので、熱に強く、照明光WLのホワイトバランス調整を行うことができる。
また、本実施形態では、センサーユニット43が検出した青色光強度と黄色光強度とに基づいてイメージローテーター46の回転角を制御するため、半導体レーザー211、その他の光学部品等の経時変化に起因するホワイトバランスのずれを補正してホワイトバランスの調整を行うこともできる。
また、光量モニター用ミラー42により2次光源像の一部を取り出して検出を行うため、赤色光用光変調装置4R、緑色光用光変調装置4G、および青色光用光変調装置4B上での照度ムラを生じさせることなく、ホワイトバランスの調整を精度良く行うことができる。
本実施形態によれば、この種の照明装置2を備えたことにより、画像のホワイトバランスに優れ、表示品質の高いプロジェクター1を実現することができる。
本実施形態によれば、この種の照明装置2を備えたことにより、画像のホワイトバランスに優れ、表示品質の高いプロジェクター1を実現することができる。
なお、ホワイトバランスの調整を行うタイミングとして、青色光強度と黄色光強度のモニターとイメージローテーター46の回転動作とは、例えばプロジェクター1の主電源投入直後に行う設定とすることが望ましい。
このようにプロジェクター1の主電源投入直後に調整が行われる構成であれば、使用者に画像の色味の変化を認識され難くすることができる。ただし、ホワイトバランスの調整をプロジェクター1の主電源投入直後だけに行ったのでは、プロジェクター1の使用中にホワイトバランスがずれた場合に対応できない。したがって、プロジェクター1の使用中であっても所定の時間間隔でホワイトバランスの調整を行う構成としてもよい。
このようにプロジェクター1の主電源投入直後に調整が行われる構成であれば、使用者に画像の色味の変化を認識され難くすることができる。ただし、ホワイトバランスの調整をプロジェクター1の主電源投入直後だけに行ったのでは、プロジェクター1の使用中にホワイトバランスがずれた場合に対応できない。したがって、プロジェクター1の使用中であっても所定の時間間隔でホワイトバランスの調整を行う構成としてもよい。
なお、本発明の技術範囲は上記実施形態に限定されるものではなく、本発明の趣旨を逸脱しない範囲において種々の変更を加えることが可能である。
例えば、上記実施形態では、イメージローテーター46として1つの反射面62を有したプリズム60から構成されたものを例示したが、本発明はこれに限定されない。
図9は第1変形例に係るイメージローテーター146を構成するプリズム160を示す図である。図9に示すように、プリズム160は、光入射面161と、第1の反射面162aと、第2の反射面162bと、第3の反射面162cと、光射出面163とを有する。光入射面161からプリズム160内に入射した青色光BLは第1の反射面162a、第2の反射面162bおよび第3の反射面162cで順に反射された後、光射出面163から射出されることで像が反転する。よって、プリズム160を上記実施形態と同様、所定角度だけ回転することで青色光BLの像を回転させることが可能となる。
あるいは、イメージローテーターはプリズムの代わりに複数のミラーから構成されていても良い。
図10は第2変形例に係るイメージローテーター246の構成を示す図である。
図10に示すように、本変形例に係るイメージローテーター246は、第1のミラー260と、第2のミラー261と、第3のミラー262とから構成されている。
図10は第2変形例に係るイメージローテーター246の構成を示す図である。
図10に示すように、本変形例に係るイメージローテーター246は、第1のミラー260と、第2のミラー261と、第3のミラー262とから構成されている。
この構成によれば、青色光BLは第1のミラー260、第2のミラー261、及び第3のミラー262で順に反射されることで像が反転する。よって、イメージローテーター246を上記実施形態と同様、所定角度だけ回転することで青色光BLの像を回転させることが可能となる。
また、上記実施形態では、照明光のホワイトバランスを調整するためにイメージローテーター46の回転角を調整する例を示したが、照明光の色味を意図的に変えるためにイメージローテーター46の回転角を調整してもよい。例えば白色光の場合、青味がかった白色光もしくは黄色味がかった白色光を意図的に生成するため、イメージローテーター46の回転角を調整してもよい。
また、上記実施形態では、センサーユニット43からの信号に基づいて、イメージローテーター46の回転角度を調整する場合を例に挙げたが、本発明はこれに限定されない。例えば、センサーユニット43の信号を確認したユーザーが手動動作によってイメージローテーター46を所定角度だけ回転させるようにしても良い。この場合、回転駆動部47を無くすことができる。
あるいは、スクリーンSCRに表示される画像を確認したユーザーが手動動作によってイメージローテーター46を所定角度だけ回転させるようにしても良い。この場合、回転駆動部47、センサーユニット43および制御装置44を無くすことができるので、プロジェクター1のコストを抑えることができる。
また、上記実施形態では、3つの光変調装置4R,4G,4Bを備えるプロジェクター1を例示したが、1つの光変調装置でカラー映像を表示するプロジェクターに適用することも可能である。また、光変調装置として、デジタルミラーデバイスを用いてもよい。
また、上記実施形態では本発明による光源装置をプロジェクターに搭載した例を示したが、これに限られない。本発明による光源装置は、照明器具や自動車のヘッドライト等にも適用することができる。
1…プロジェクター、2…照明装置、4R…赤色用光変調装置、4G…緑色用光変調装置、4B…赤色用光変調装置、6…投射光学系、21A…アレイ光源(光源部)、30…拡散反射素子(第2の拡散素子)、34…蛍光体層(波長変換素子、第1の拡散素子)、46,146,246…イメージローテーター、43…センサーユニット(光センサー)、47…回転駆動部、60,160…プリズム、61,161…光入射面、62…反射面、63,163…光射出面、162a…第1の反射面、162b…第2の反射面、162c…第3の反射面、BLs…S偏光成分(第1の成分)、BLp…P偏光成分(第2の成分)、BL…青色光(第1の光)。
Claims (7)
- 直線偏光からなる第1の光を射出する光源部と、
前記光源部から射出された前記第1の光が入射するイメージローテーターと、
前記イメージローテーターを通過した前記第1の光が入射する偏光分離素子と、
前記第1の光のうち前記偏光分離素子を反射または透過した第1の成分を拡散させる第1の拡散素子と、を備える照明装置。 - 前記イメージローテーターは、光入射面と、少なくとも一つの反射面と、光射出面と、を有するプリズムから構成される
請求項1に記載の照明装置。 - 前記イメージローテーターは、三枚の反射ミラーから構成される
請求項1に記載の照明装置。 - 前記イメージローテーターは、該イメージローテーターに入射する前記第1の光の光軸の周りに回転可能である
請求項1〜3のいずれか一項に記載の照明装置。 - 前記イメージローテーターを前記光軸の周りに回転させる回転駆動部と、
前記光源部から射出された前記第1の光の強度を検出する光センサーと、をさらに備え、
前記回転駆動部は、前記光センサーからの信号に基づいて前記イメージローテーターを回転させる
請求項4に記載の照明装置。 - 前記第1の光のうち前記偏光分離素子を透過または反射した第2の成分を拡散させる第2の拡散素子をさらに備え、
前記第1の拡散素子および前記第2の拡散素子の少なくとも一方が波長変換素子である
請求項1〜5のいずれか一項に記載の照明装置。 - 請求項1〜6のいずれか一項に記載の照明装置と、
前記照明装置からの照明光を画像情報に応じて変調することにより画像光を形成する光変調装置と、
前記画像光を投射する投射光学系と、を備える
プロジェクター。
Priority Applications (1)
| Application Number | Priority Date | Filing Date | Title |
|---|---|---|---|
| JP2015124578A JP2017009782A (ja) | 2015-06-22 | 2015-06-22 | 照明装置およびプロジェクター |
Applications Claiming Priority (1)
| Application Number | Priority Date | Filing Date | Title |
|---|---|---|---|
| JP2015124578A JP2017009782A (ja) | 2015-06-22 | 2015-06-22 | 照明装置およびプロジェクター |
Publications (1)
| Publication Number | Publication Date |
|---|---|
| JP2017009782A true JP2017009782A (ja) | 2017-01-12 |
Family
ID=57763408
Family Applications (1)
| Application Number | Title | Priority Date | Filing Date |
|---|---|---|---|
| JP2015124578A Pending JP2017009782A (ja) | 2015-06-22 | 2015-06-22 | 照明装置およびプロジェクター |
Country Status (1)
| Country | Link |
|---|---|
| JP (1) | JP2017009782A (ja) |
Cited By (2)
| Publication number | Priority date | Publication date | Assignee | Title |
|---|---|---|---|---|
| JPWO2018198760A1 (ja) * | 2017-04-28 | 2020-02-27 | 株式会社小糸製作所 | 車両用照明灯具、及び車両用前照灯 |
| WO2020048099A1 (zh) * | 2018-09-03 | 2020-03-12 | 深圳光峰科技股份有限公司 | 投影光学系统及其偏色调整方法 |
-
2015
- 2015-06-22 JP JP2015124578A patent/JP2017009782A/ja active Pending
Cited By (4)
| Publication number | Priority date | Publication date | Assignee | Title |
|---|---|---|---|---|
| JPWO2018198760A1 (ja) * | 2017-04-28 | 2020-02-27 | 株式会社小糸製作所 | 車両用照明灯具、及び車両用前照灯 |
| JP7240312B2 (ja) | 2017-04-28 | 2023-03-15 | 株式会社小糸製作所 | 車両用照明灯具、及び車両用前照灯 |
| US11614212B2 (en) | 2017-04-28 | 2023-03-28 | Koito Manufacturing Co., Ltd. | Vehicle illumination lamp |
| WO2020048099A1 (zh) * | 2018-09-03 | 2020-03-12 | 深圳光峰科技股份有限公司 | 投影光学系统及其偏色调整方法 |
Similar Documents
| Publication | Publication Date | Title |
|---|---|---|
| JP6303454B2 (ja) | 照明装置およびプロジェクター | |
| JP6575361B2 (ja) | 波長変換素子、照明装置及びプロジェクター | |
| US10060602B2 (en) | Illuminator and projector | |
| JP6701775B2 (ja) | 波長変換素子、照明装置及びプロジェクター | |
| JP6665532B2 (ja) | 光源装置、照明装置及びプロジェクター | |
| JP6863181B2 (ja) | 光源装置及びプロジェクター | |
| US10649321B2 (en) | Light source device and projector | |
| CN108351585B (zh) | 光源装置、照明装置以及投影仪 | |
| JP6627364B2 (ja) | 光源装置、光源ユニット及びプロジェクター | |
| JP6578631B2 (ja) | 照明装置およびプロジェクター | |
| US9955129B2 (en) | Light source device and projector | |
| US10627710B2 (en) | Light source apparatus and projector | |
| JP6286918B2 (ja) | 照明装置及びプロジェクター | |
| US10725365B2 (en) | Illumination device and projector | |
| JP2016186566A (ja) | 照明装置およびプロジェクター | |
| JP6464781B2 (ja) | 照明装置およびプロジェクター | |
| US10599025B2 (en) | Light source device and projector | |
| US20170123300A1 (en) | Illuminator and projector | |
| JP2016145936A (ja) | 照明装置およびプロジェクター | |
| JP2015049441A (ja) | 照明装置及びプロジェクター | |
| JP7188287B2 (ja) | 光源装置およびプロジェクター | |
| JP2015155958A (ja) | 照明装置及びプロジェクター | |
| JP2018163279A (ja) | 照明装置及びプロジェクター | |
| JP2017009782A (ja) | 照明装置およびプロジェクター | |
| JP2016161738A (ja) | 光源装置、プロジェクター、及び色バランス調整方法 |