JP2016166000A - 車両用電力変換装置 - Google Patents

車両用電力変換装置 Download PDF

Info

Publication number
JP2016166000A
JP2016166000A JP2016076689A JP2016076689A JP2016166000A JP 2016166000 A JP2016166000 A JP 2016166000A JP 2016076689 A JP2016076689 A JP 2016076689A JP 2016076689 A JP2016076689 A JP 2016076689A JP 2016166000 A JP2016166000 A JP 2016166000A
Authority
JP
Japan
Prior art keywords
vehicle
main body
power conversion
support leg
fins
Prior art date
Legal status (The legal status is an assumption and is not a legal conclusion. Google has not performed a legal analysis and makes no representation as to the accuracy of the status listed.)
Pending
Application number
JP2016076689A
Other languages
English (en)
Inventor
直也 吉田
Naoya Yoshida
直也 吉田
牧野 友由
Tomoyoshi Makino
友由 牧野
悟 黒澤
Satoru Kurosawa
悟 黒澤
寿幸 内田
Hisayuki Uchida
寿幸 内田
Current Assignee (The listed assignees may be inaccurate. Google has not performed a legal analysis and makes no representation or warranty as to the accuracy of the list.)
Toshiba Corp
Original Assignee
Toshiba Corp
Priority date (The priority date is an assumption and is not a legal conclusion. Google has not performed a legal analysis and makes no representation as to the accuracy of the date listed.)
Filing date
Publication date
Application filed by Toshiba Corp filed Critical Toshiba Corp
Priority to JP2016076689A priority Critical patent/JP2016166000A/ja
Publication of JP2016166000A publication Critical patent/JP2016166000A/ja
Pending legal-status Critical Current

Links

Images

Landscapes

  • Cooling Or The Like Of Electrical Apparatus (AREA)
  • Cooling Or The Like Of Semiconductors Or Solid State Devices (AREA)
  • Inverter Devices (AREA)

Abstract

【課題】小型、軽量化が可能であるとともに放熱ファンの損傷を防止することが可能な車
両用の電力変換装置を提供する。
【解決手段】実施形態によれば、電力変換装置は、底面18を有する装置本体14と、装
置本体内に配置され電力変換回路を構成する複数の半導体スイッチング素子26と、装置
本体の底面から下向きに延出し、鉄道車両の走行風によって冷却される放熱フィン34を
有する放熱部を含み、半導体スイッチング素子を冷却する冷却器28と、装置本体の底面
から放熱フィンよりも下方に延出し、装置本体を支持可能な複数の支持脚60と、を備え
ている。複数の支持脚は、放熱フィンへの走行風の流入路から外れた位置に配置されてい
る。
【選択図】図3

Description

この発明の実施形態は、車両用の電力変換装置に関する。
例えば、鉄道車両には、交流電圧を直流電圧に変換するコンバータ、あるいは、直流電
圧を3相の交流電圧に変換するインバータ等の電力変換装置が搭載されている。このよう
な電力変換装置は、一般に、IGBT等の大容量の半導体スイッチング素子やダイオード
等の複数の半導体素子と、これらを冷却する冷却器と、を備えている。冷却器は、例えば
、受熱面を有する冷却ブロックと、この冷却ブロックと一体にあるいは別体に設けられた
放熱フィン、ヒートパイプ等とを備えている。
半導体スイッチング素子やダイオード等の複数の半導体素子は、共に損失が大きく、冷
却器によって積極的に冷却を実施する必要がある。そのため、複数の半導体スイッチング
素子および複数のダイオードは、全て、冷却ブロックの受熱面上に実装されている。半導
体素子で発生した熱は、冷却ブロックに伝わり、この熱を、放熱フィンあるいはヒートパ
イプを介して大気に放熱することより、半導体素子が効率的に冷却される。
従来の高速鉄道車両(通常、平均走行速度が180〜190km/h以上で走行する鉄
道車両のことを言う)用の電力変換装置における冷却構成としては、装置の小型化を図る
ために、送風機を排除し、放熱フィンを装置の底面側に設けるとともに、放熱フィンに冷
却風を導く底板スロープを装置底面に設けている。また、装置の側面部は、車両の形状に
合わせたカウルカバーを構成し、その下面部が装置の底面を構成している。
特許第3959248号公報
このような従来の高速鉄道車両用の電力変換装置は、大容量であることから、半導体ス
イッチング素子からの発熱量が大きく、冷却器には、高い冷却性能が必要とされるが、装
置全体の小型軽量化が求められ、これに伴ない、冷却器もコンパクトな外形および配置と
することが求められている。装置の小型化を図るためには、装置底面に形成されている底
板スロープおよびカウルカバーを無くすことが有効であると考えられる。しかし、この場
合、放熱フィンの延出端が装置の最低面がよりも下に来るため、電力変換装置全体を車体
から取り外し床に置く際、放熱フィンが床に当接し装置の自重に耐えられず、破損してし
まうおそれがある。
この発明は以上の点に鑑みなされたもので、その課題は、小型、軽量化が可能であると
ともに放熱ファンの損傷を防止することが可能な車両用の電力変換装置を提供することに
ある。
実施形態によれば、鉄道車両用の電力変換装置は、電力変換回路を構成する複数の半導
体スイッチング素子と、前記複数の半導体スイッチング素子が取り付けられる受熱面と、
この受熱面の反対側に配置され鉄道車両の走行風によって冷却される複数の放熱フィンと
を有する冷却器と、を備え、前記複数の放熱フィンの一部は、前記鉄道車両に取り付けら
れたときに残りの放熱フィンよりも下方に突出し、さらに前記鉄道車両に取り付けられた
ときに下側となる面の短手方向が前記残りの放熱フィンよりも厚く且つ所定の強度を満た
す。
図1は、第1の実施形態に係る電力変換装置を車両に搭載した状態を車両の 底面側から見た斜視図。 図2は、前記電力変換装置全体を示す斜視図。 図3は、図1の線A−Aに沿った車両および電力変換装置の断面図。 図4は、前記車体および電力変換装置の側面図。 図5は、前記電力変換装置の支持脚部分を拡大して示す斜視図。 図6は、前記支持脚と車体側スロープ底板との接合状態を示す断面図。 図7は、前記電力変換装置を車体から取り外し、床に載置した状態を示す図。 図8は、第2の実施形態に係る電力変換装置を示す斜視図。 図9は、第3の実施形態に係る電力変換装置を示す斜視図。 図10は、前記第3の実施形態に係る電力変換装置の平面図。 図11は、第4の実施形態に係る電力変換装置を示す斜視図。 図12は、第5の実施形態に係る電力変換装置を示す斜視図。 図13は、前記第5の実施形態に係る電力変換装置および車両の断面図。
以下、図面を参照しながら、種々の実施形態に係る電力変換装置について説明する。
(第1の実施形態)
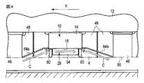
図1ないし図4は、第1の実施形態に係る電力変換装置10を示している。電力変換装
置10は、例えば、高速鉄道車両に電力を供給する電気車制御装置であり、車両12の床
下に艤装される。
図1ないし図4に示すように、電力変換装置10は、ほぼ矩形箱状の装置本体14を備
えている。装置本体14は、レール16側、つまり、地面、に対向する平坦な矩形状の底
面18と、底面の側縁に沿って立設された複数の装置側面20と、底面と対向する天井面
22と、を有している。装置本体14は、装置側面20の上端に設けられた艤装用の複数
の吊り部24を有している。これらの吊り部24を車両12に固定することにより、車両
12の車体床下に装置本体14が艤装される。艤装された状態において、装置本体14の
底面18は、車両12の底面(艤装限界)50よりも高い位置に位置している。
高速鉄道の車両12は、高い空力特性を得るために、車両断面は全体に丸みを帯びた形
状に形成されている。車体の両側面下部には、丸く湾曲した複数のカウルカバー48が取
り付けられ、床板の両側縁からレール16側に延びている。電力変換装置10をはじめと
する車体の床下に艤装された複数の電気機器46、および機器間の空間は、カウルカバー
48により両側から囲われている。そして、カウルカバー48の下端を車両12の車両底
面50としている。
図3に示すように、電力変換装置10は、装置本体14内に配置され電力変換回路を構
成する複数の半導体スイッチング素子26と、半導体スイッチング素子を冷却する冷却器
28と、電力変換回路にスイッチング信号を送受信する制御部30と、その他、検出器、
電源部等とを備えている。半導体スイッチング素子26は、例えば、第1電力変換回路と
してインバータ回路を構成する第1素子群26aと、第2電力変換回路としてコンバータ
回路を構成する第2素子群26bとを含んでいる。複数の半導体スイッチング素子26は
、例えば、IGBT(insulated gate bipolar transistor)やGTO等の自己消弧型半導
体素子からなり、IGBTと、このIGBTに逆並列に接続されたダイオードとがモジュ
ール化されている。
冷却器28は、伝熱性の高い材料、例えば、アルミニウムにより形成された矩形板状の
冷却ブロック32を備えている。冷却ブロック32は、その周縁部が、装置本体14の底
面18内面上に固定され、底面18とほぼ平行に設置されている。冷却ブロック32は、
例えば、レール16と直交する方向、つまり、枕木の延出方向、に細長い矩形状に形成さ
れている。冷却ブロック32の一方の表面(上面)は、矩形状の受熱面32aを形成して
いる。半導体スイッチング素子26は、熱伝導グリース等を介して受熱面33上に取り付
けられ、互いに隙間を置いて並んで配置されている。インバータ回路を構成する第1素子
群26aは、冷却ブロック32の長手方向の中央に対して、一方側の領域に配置され、コ
ンバータ回路を構成する第2素子群26bは、他方側の領域に配置されている。
冷却ブロック32の他方の表面、すなわち、受熱面32aと反対側の表面(下面)には
、多数の放熱フィン34が立設されている。これらの放熱フィン34の材料は、例えばア
ルミニウムであり、また冷却ブロック32と一体化するように構成されている。放熱フィ
ン34と冷却ブロックが一体化し、冷却器28の放熱部を構成している。このとき、放熱
フィン34と冷却ブロック32は、製造段階で溶接により一体化される。また、冷却ブロ
ック32へ放熱フィン34全体をボトル等で固定することにより一体化することも可能で
ある。
放熱フィン34は、装置本体14の底面18から下向きに突出して外気に露出し、鉄道
車両12の走行風によって冷却される。放熱フィン34の突出端は、装置本体14の底面
18よりも低く、かつ、車両12の車両底面50よりも高い位置に設定されている。また
、多数の放熱フィン34は、車両12の走行方向Rとほぼ平行となるように配列されてい
る。すなわち、放熱フィン34は、走行方向Rとほぼ平行に延びているとともに、枕木の
長手方向に互いに所定の隙間、すなわち、通風可能な隙間を置いて、配列されている。多
数の放熱フィン34は、例えば、全体として、ほぼ矩形状となるように配列され、冷却ブ
ロック32の長手方向のほぼ全域に亘って設けられている。
図1ないし図4に示すように、電力変換装置10は、装置本体14の底面である底面1
8に立設された複数、例えば、4本の支持脚60を備えている。各支持脚60は、装置本
体14の底面から放熱フィン34の下端よりも下方に延出し、支持脚60の下端(底面)
は、放熱フィン34よりも低い位置に配置されている。本実施形態において、支持脚60
の下端(底面)は、車両12の車両底面50とほぼ同じ高さに位置している。
また、4本の支持脚60は、放熱フィン34への通風を妨げない位置、すなわち、放熱
フィン34への走行風Cの流入路から外れた位置に配置されている。ここでは、4本の支
持脚60は、例えば、底面18の4隅に立設され、走行風Cに対して、放熱フィン34か
ら外れて位置している。各支持脚60の形状は、限定する必要はないが、本実施形態では
、支持脚60は柱状に形成され、その断面形状は、空気抵抗の少ない楕円形、円形あるい
は流線形としている。また断面形状が、角型形状とすることも可能である。角型形状の場
合は、1つの角が走行風方向を向くように設置することで、空気抵抗を少なくできる。
図2、図5および図6に示すように、各支持脚60は、例えば、ボルト止めにより、装
置本体14の底面18に対して取外し可能に固定されている。取り付け部である支持脚6
0の上端は、放熱フィン34よりも高い位置に設けられている。また、支持脚60は、車
両12の他の機器、あるいは、他の装着部材を取り付け、溶接、あるいは、固定可能な取
付け部として、板状のステイ62を有していてもよい。このステイ62は、例えば、支持
脚60から走行方向Rに沿って延出し、かつ、装置本体14の底面とほぼ平行に位置して
いる。
図1および図4ないし図6に示すように、鉄道車両12は、車両底面50において、電
力変換装置10の走行風の流入側および流出側の両方に設けられた第1スロープ底板64
aおよび第2スロープ底板64bを備えている。流入側の第1スロープ底板64aは、車
両12の車両底面50から装置本体14の底面18の側縁まで上方に傾斜して延びている
。第1スロープ底板64aの電力変換装置10側の端部は、走行風流入側の2本の支持脚
60のステイ62にボルト止めあるいは溶接固定されている。流出側の第2スロープ底板
64bは、車両12の車両底面50から装置本体14の底面18の側縁まで上方に傾斜し
て延びている。第2スロープ底板64bの電力変換装置10側の端部は、走行風流出側の
2本の支持脚60のステイ62にボルト止めあるいは溶接固定されている。このような第
1スロープ底板64aおよび第2スロープ底板64bにより、走行風Cは、車両12の車
両底面50から電力変換装置10の放熱フィン34に円滑に導かれ、更に、放熱フィン3
4の周囲を流れた後、下流側に円滑に導かれる。
上記のように構成された電力変換装置10によれば、半導体スイッチング素子26から
の発熱は、冷却器28の冷却ブロック32を介して放熱フィン34に伝熱される。車両1
2の車両底面全面に流れている走行風Cは、放熱フィン34に取り込まれ、取り込んだ走
行風は、放熱フィン34の配列方向に沿って流れる。放熱フィン34の熱が走行風Cに放
熱され外気に排熱される。これにより、半導体スイッチング素子26を効率よく冷却する
ことができる。また、カウルカバーおよび底板スロープを車両側に設け、電力変換装置か
ら切り離すことにより、装置本体14の小型化および軽量化を図ることができる。
更に、図7に示すように、装置本体14の底面から放熱フィン34よりも下方に延出す
る支持脚60により、車両から取外した電力変換装置10を床等の上に載置および支持す
ることができる。この際、支持脚60の下端は、放熱フィン34の下端よりも下方に位置
していることから、放熱フィンが床に当接することがなく、放熱フィンを損傷することな
く装置本体14を支持することができる。これにより、電力変換装置10の保守、点検等
を行う際、電力変換装置をクレーンあるいは治具等によって吊り上げて保持する必要がな
く、作業性の向上を図ることができる。以上により、小型、軽量化が可能であるとともに
放熱ファンの損傷を防止することが可能な車両用の電力変換装置が得られる。
なお、本実施形態では、各支持脚60は、装置本体の底面18に取外し可能に設けられ
ていることから、電力変換装置10を鉄道車両12の車体に艤装した後、支持脚60を装
置本体14から取り外し、鉄道車両12の走行時に、支持脚60が無い状態とすることが
可能である。そして、電力変換装置10を車両12から取外して、保守、点検等を行う際
、支持脚60を装置本体14に取り付け、これらの支持脚により装置本体14を床上等に
支持するようにしても良い。
次に、種々の他の実施形態に係る電力変換装置について説明する。以下に説明する種々
の実施形態において、上述した第1の実施形態と同一構成部分は、同一の参照符号を付し
てその詳細な説明を省略し、異なる部分を中心に説明する。
(第2の実施形態)
図8は、第2の実施形態に係る電力変換装置10を示している。第2の実施形態によれ
ば、装置本体14の底面18に設けられた複数の支持脚60は、それぞれ折り畳み可能に
設けられている。すなわち、各支持脚60は、放熱フィン34への走行風Cの流入路から
外れた位置で、例えば、底面18の4隅に設けられ、装置本体14の底面から起立し放熱
フィン34の下端よりも下方に延出する起立位置と、底面18に形成された凹所66内に
収納され底面と平行に位置する収納位置と、の間を回動可能に装置本体14に取り付けら
れている。なお、支持脚60の回動方向は、走行風Cの方向あるいは走行風Cと直交する
方向のいずれでもよい。また、電力変換装置10は、支持脚60を起立位置および収納位
置にロックするロック機構を有している。
このような電力変換装置10によれば、鉄道車両の走行時、支持脚60を収納位置に折
り畳み凹所66内に収納することにより、空気抵抗の低減および異物の衝突等による支持
脚の損傷を防止することができる。電力変換装置を車両から降ろす際には、支持脚60を
起立位置に回動させて起立状態とすることにより、これらの支持脚60によって電力変換
装置を床上等に支持することができる。第2の実施形態においても、前述した第1の実施
形態と同様の作用効果が得られる。
また、前述した回動方向において、移動支持脚60を取り付け位置からそのまま折りたた
む構成とすることも可能である。このとき、製造工程の簡易化を図ることができる。
(第3の実施形態)
図9および図10は、第3の実施形態に係る電力変換装置10を示す斜視図および平面
図である。これら図9および図10に示すように、第3の実施形態によれば、電力変換装
置10は、装置本体14の底面に立設された第2支持脚68を更に備えている。第2支持
脚68は、底面18の長手方向のほぼ中央位置に設けられ、放熱フィン34のほぼ中央部
に対向している。第2支持脚68は、装置本体14の底面から放熱フィン34の下端より
も下方に延出し、その下端(底面)は、放熱フィン34よりも低い位置に配置されている
。また、第2支持脚68は、放熱フィン34の最も冷却を必要とする領域、すなわち、第
1素子群26aおよび第2素子群26bと重なる領域に向けて走行風Cを風向する風向面
68aを有している。
このように、底面18の長手方向のほぼ中央位置の第2支持脚68を設けることにより
、電力変換装置10を一層安定して支持することが可能となる。また、第2支持脚6に風
向機能を持たせた風向部を設けることにより、走行風Cの流入を阻害することなく所望の
領域へ集中して走行風を送ることができ、良好な冷却効率を維持することができる。
なお、第3の実施形態において、走行風流入側の2本の支持脚60を省略してもよい。
また、支持脚60は、底面18の4隅に限らず、他の位置、例えば、底面18の短辺側中
央部に設けてもよい。
(第4の実施形態)
図11は、第4の実施形態に係る電力変換装置10を示す斜視図である。第4の実施形
態によれば、電力変換装置10は、装置本体14の底面である底面18に立設された複数
、例えば、2本の板状の支持脚60を備えている。各支持脚60は、装置本体14の底面
から放熱フィン34の下端よりも下方に延出し、支持脚60の下端(底面)は、放熱フィ
ン34よりも低い位置に配置されている。本実施形態において、支持脚60の下端(底面
)は、車両12の車両底面50とほぼ同じ高さに位置している。
2本の支持脚60は、放熱フィン34への通風を妨げない位置、すなわち、放熱フィン
34への走行風Cの流入路から外れた位置に配置されている。ここでは、2本の支持脚6
0は、例えば、底面18の短辺に沿って立設され、走行方向と平行に延びているとともに
、放熱フィン34から外れて位置している。
このような板状の支持脚60を用いた場合でも、前述した第1の実施形態と同様の作用
効果を得ることができる。
(第5の実施形態)
図12および図13は、第4の実施形態に係る電力変換装置10を示す斜視図および断
面図である。第5の実施形態によれば、電力変換装置10は、放熱フィン34の一部を肉
厚に、かつ、他の放熱フィンよりも下方に延出して形成し、この放熱フィンにより支持脚
60を構成している。例えば、放熱フィン34の内、底面18の長手方向、両端側に位置
する放熱フィン、および、底面18の長手方向、中央部に位置する放熱フィンを、それぞ
れ十分な強度を有するように肉厚に形成し、更に、他の放熱フィン34よりも下方に突出
るように高く形成することにより、これらの放熱フィンにより支持脚60を構成している
。支持脚60の下端(底面)は、放熱フィン34よりも低い位置に配置されている。本実
施形態において、支持脚60の下端(底面)は、車両12の車両底面50とほぼ同じ高さ
に位置している。各支持脚60は、車両12の走行方向と平行に延びている。
このような構成においても、電力変換装置10を支持脚60により支持することができ
、前述した第1の実施形態と同様の作用効果を得ることができる。
以上のように構成された第2ないし第5の実施形態によれば、小型、軽量化が可能であ
るとともに放熱ファンの損傷を防止することが可能な車両用の電力変換装置が得られる。
本発明のいくつかの実施形態を説明したが、これらの実施形態は、例として提示したも
のであり、発明の範囲を限定することは意図していない。これら新規な実施形態は、その
他の様々な形態で実施されることが可能であり、発明の要旨を逸脱しない範囲で、種々の
省略、置き換え、変更を行うことができる。これら実施形態やその変形は、発明の範囲や
要旨に含まれるとともに、特許請求の範囲に記載された発明とその均等の範囲に含まれる
。例えば、支持脚の設置数および形状は、前述した実施形態に限定されることなく、必要
に応じて、種々変更可能である。
以下、本願の出願当初の特許請求の範囲に記載された発明を付記する。
[1]
底面を有する装置本体内に配置され電力変換回路を構成する複数の半導体スイッチング
素子と、
前記装置本体の底面から下向きに延出し、鉄道車両の走行風によって冷却される放熱フ
ィンを有する放熱部を含み、前記半導体スイッチング素子を冷却する冷却器と、
前記装置本体の底面から前記放熱フィンよりも下方に延出し、前記装置本体を支持可能
な複数の支持脚と、前記複数の支持脚は、前記放熱フィンへの走行風の流入路から外れた
位置に配置されている鉄道車両用の電力変換装置。
[2]
前記支持脚は、前記装置本体に対して取り外し可能に取り付けられ、前記放熱フィンよ
りも底面側に取付け部を有する[1]に記載の電力変換装置。
[3]
前記装置本体の底面から前記放熱フィンよりも下方に延出し、前記装置本体を支持可能
な第2支持脚を備え、この第2支持脚は、前記放熱フィンへの走行風の流入路上に設けら
れ、前記走行風を前記半導体スイッチング素子の方向へ風向する風向部を有する[1]又
は[2]に記載の電力変換装置。
[4]
前記複数の半導体スイッチング素子は、第1電力変換回路を構成する第1素子群と、第
2電力変換回路を構成する第2素子群とを含み、
前記冷却器は、前記第1素子群および第2素子群が載置された受熱面を有する冷却ブロ
ックと、この冷却ブロックから延出する前記複数の放熱フィンとを備え、
前記複数の放熱フィンは、車両の走行方向とほぼ平行に設けられているとともに、車両
の走行方向と直交する方向に隙間を置いて並んで設けられ、
前記第2支持脚は、前記底面上で、前記第1素子群と第2素子群との間に位置している
[3]に記載の電力変換装置。
[5]
前記第2支持脚の風後部は、前記通風を前記第1素子群方向および第2素子群方向へ風
向する風向面を有している[4]に記載の電力変換装置。
[6]
前記支持脚は、前記装置本体に対して、折り畳み可能に支持されている[1]に記載の
電力変換装置。
[7]
前記支持脚は、他の部材を取り付け可能な取付け部を有している[1]に記載の電力変
換装置。
[8]
前記放熱フィンは、車両の走行方向とほぼ平行に設けられているとともに、車両の走行
方向と直交する方向に隙間を置いて並んで複数設けられ、放熱フィンの一部は、他の放熱
フィンよりも下方に延出し、かつ、他の放熱フィンよりも高い強度を有し、前記支持脚を
構成している[1]に記載の電力変換装置。
10…電力変換装置、12…車両、14…装置本体、16…レール、18…底面、
26…半導体スイッチング素子、26a…第1素子群、26b…第2素子群、
28…冷却器、30…制御部、32…冷却ブロック、34…放熱フィン、
48…カウルカバー、50…車両底面、60…支持脚、62…ステイ、
64a…第1スロープ底板、64b…第2スロープ底板、68…第2支持脚、
68a…風向面

Claims (2)

  1. 電力変換回路を構成する複数の半導体スイッチング素子と、
    前記複数の半導体スイッチング素子が取り付けられる受熱面と、この受熱面の反対側に
    配置され鉄道車両の走行風によって冷却される複数の放熱フィンとを有する冷却器と、
    を備え、
    前記複数の放熱フィンの一部は、前記鉄道車両に取り付けられたときに残りの放熱フィ
    ンよりも下方に突出し、さらに前記鉄道車両に取り付けられたときに下側となる面の短手
    方向が前記残りの放熱フィンよりも厚く且つ所定の強度を満たす
    鉄道車両用の電力変換装置。
  2. 前記複数の放熱フィンは板状であり、前記鉄道車両に取り付けられたときに走行方向と
    ほぼ並行となる請求項1に記載の電力変換装置。
JP2016076689A 2016-04-06 2016-04-06 車両用電力変換装置 Pending JP2016166000A (ja)

Priority Applications (1)

Application Number Priority Date Filing Date Title
JP2016076689A JP2016166000A (ja) 2016-04-06 2016-04-06 車両用電力変換装置

Applications Claiming Priority (1)

Application Number Priority Date Filing Date Title
JP2016076689A JP2016166000A (ja) 2016-04-06 2016-04-06 車両用電力変換装置

Related Parent Applications (1)

Application Number Title Priority Date Filing Date
JP2011269131A Division JP5921170B2 (ja) 2011-12-08 2011-12-08 車両用電力変換装置

Publications (1)

Publication Number Publication Date
JP2016166000A true JP2016166000A (ja) 2016-09-15

Family

ID=56898011

Family Applications (1)

Application Number Title Priority Date Filing Date
JP2016076689A Pending JP2016166000A (ja) 2016-04-06 2016-04-06 車両用電力変換装置

Country Status (1)

Country Link
JP (1) JP2016166000A (ja)

Cited By (5)

* Cited by examiner, † Cited by third party
Publication number Priority date Publication date Assignee Title
JP2018184020A (ja) * 2017-04-24 2018-11-22 富士電機株式会社 鉄道車両用電力変換装置
WO2020008927A1 (ja) * 2018-07-04 2020-01-09 三菱電機株式会社 車両用電力変換装置
JP2020075642A (ja) * 2018-11-08 2020-05-21 株式会社東芝 電力変換装置及び鉄道車両
CN111447783A (zh) * 2019-01-17 2020-07-24 Ls产电株式会社 逆变器用散热模块
US11187239B2 (en) 2017-08-09 2021-11-30 Mitsubishi Electric Corporation Propeller fan, air-sending device, and refrigeration cycle apparatus

Citations (7)

* Cited by examiner, † Cited by third party
Publication number Priority date Publication date Assignee Title
JP2000126874A (ja) * 1998-07-09 2000-05-09 Georg Fischer Rohrleitungssyst Ag ハウジングユニット
JP2003124661A (ja) * 2001-10-12 2003-04-25 Toyota Motor Corp ヒートインシュレーター一体型のアルミダイカストケース
JP2004071751A (ja) * 2002-08-05 2004-03-04 Nippon Densan Corp ファン冷却装置
JP2006004960A (ja) * 2004-06-15 2006-01-05 Toshiba Corp 車両用冷却ユニット及びそれを備えた電力変換装置
JP2007252177A (ja) * 2006-02-20 2007-09-27 Toshiba Kyaria Kk 電力変換装置
JP2009096318A (ja) * 2007-10-16 2009-05-07 Central Japan Railway Co 高速鉄道車両用電力変換装置
US20100195284A1 (en) * 2006-12-11 2010-08-05 Danfoss Drives A/S Electronic device and frequency converter of motor

Patent Citations (7)

* Cited by examiner, † Cited by third party
Publication number Priority date Publication date Assignee Title
JP2000126874A (ja) * 1998-07-09 2000-05-09 Georg Fischer Rohrleitungssyst Ag ハウジングユニット
JP2003124661A (ja) * 2001-10-12 2003-04-25 Toyota Motor Corp ヒートインシュレーター一体型のアルミダイカストケース
JP2004071751A (ja) * 2002-08-05 2004-03-04 Nippon Densan Corp ファン冷却装置
JP2006004960A (ja) * 2004-06-15 2006-01-05 Toshiba Corp 車両用冷却ユニット及びそれを備えた電力変換装置
JP2007252177A (ja) * 2006-02-20 2007-09-27 Toshiba Kyaria Kk 電力変換装置
US20100195284A1 (en) * 2006-12-11 2010-08-05 Danfoss Drives A/S Electronic device and frequency converter of motor
JP2009096318A (ja) * 2007-10-16 2009-05-07 Central Japan Railway Co 高速鉄道車両用電力変換装置

Cited By (11)

* Cited by examiner, † Cited by third party
Publication number Priority date Publication date Assignee Title
JP2018184020A (ja) * 2017-04-24 2018-11-22 富士電機株式会社 鉄道車両用電力変換装置
US11187239B2 (en) 2017-08-09 2021-11-30 Mitsubishi Electric Corporation Propeller fan, air-sending device, and refrigeration cycle apparatus
WO2020008927A1 (ja) * 2018-07-04 2020-01-09 三菱電機株式会社 車両用電力変換装置
JPWO2020008927A1 (ja) * 2018-07-04 2021-08-05 三菱電機株式会社 車両用電力変換装置
US11322422B2 (en) 2018-07-04 2022-05-03 Mitsubishi Electric Corporation Vehicle power conversion device
JP7154296B2 (ja) 2018-07-04 2022-10-17 三菱電機株式会社 車両用電力変換装置
JP2020075642A (ja) * 2018-11-08 2020-05-21 株式会社東芝 電力変換装置及び鉄道車両
JP7132091B2 (ja) 2018-11-08 2022-09-06 株式会社東芝 電力変換装置及び鉄道車両
CN111447783A (zh) * 2019-01-17 2020-07-24 Ls产电株式会社 逆变器用散热模块
US11234348B2 (en) 2019-01-17 2022-01-25 Lsis Co., Ltd. Heatsink module for inverter
CN111447783B (zh) * 2019-01-17 2022-05-17 Ls产电株式会社 逆变器用散热模块

Similar Documents

Publication Publication Date Title
JP5921170B2 (ja) 車両用電力変換装置
EP2157685B1 (en) Power conversion device
JP2016166000A (ja) 車両用電力変換装置
JP5148238B2 (ja) 高速鉄道車両用電力変換装置
EP3450278A1 (en) Power conversion device for railroad vehicle
CN110710094B (zh) 电力变换装置
JP6047175B2 (ja) 電力供給システムのための破損保護
JP6081091B2 (ja) 鉄道車両用制御装置
WO2007116460A1 (ja) 電力変換装置
CN107848545B (zh) 电车控制装置
JP6892003B2 (ja) 鉄道車両用電力変換装置
JP2004201500A (ja) 電力変換装置
JP2011240747A (ja) 鉄道車両
JP2013154758A (ja) 車両用制御装置
JP2017200305A (ja) 鉄道車両の電力変換装置
US20240206132A1 (en) Electronic device
JP5058545B2 (ja) 電気車制御装置
JP6805557B2 (ja) 鉄道車両用電力変換装置
JP7520259B2 (ja) 電子機器
JP6927383B2 (ja) 鉄道車両用電力変換装置
US20250008705A1 (en) Electronic device
EP4509380A1 (en) Electronic apparatus
JP4568189B2 (ja) 鉄道車両用電力変換装置
JP7580675B2 (ja) 電気車駆動システム
HK40112516A (en) Electronic device

Legal Events

Date Code Title Description
A977 Report on retrieval

Free format text: JAPANESE INTERMEDIATE CODE: A971007

Effective date: 20170112

A131 Notification of reasons for refusal

Free format text: JAPANESE INTERMEDIATE CODE: A131

Effective date: 20170120

RD07 Notification of extinguishment of power of attorney

Free format text: JAPANESE INTERMEDIATE CODE: A7427

Effective date: 20170220

A521 Request for written amendment filed

Free format text: JAPANESE INTERMEDIATE CODE: A821

Effective date: 20170220

A02 Decision of refusal

Free format text: JAPANESE INTERMEDIATE CODE: A02

Effective date: 20170721