JP2016164352A - 飛来物防護設備 - Google Patents

飛来物防護設備 Download PDF

Info

Publication number
JP2016164352A
JP2016164352A JP2015045004A JP2015045004A JP2016164352A JP 2016164352 A JP2016164352 A JP 2016164352A JP 2015045004 A JP2015045004 A JP 2015045004A JP 2015045004 A JP2015045004 A JP 2015045004A JP 2016164352 A JP2016164352 A JP 2016164352A
Authority
JP
Japan
Prior art keywords
wall portion
side wall
flying object
upper wall
protection equipment
Prior art date
Legal status (The legal status is an assumption and is not a legal conclusion. Google has not performed a legal analysis and makes no representation as to the accuracy of the status listed.)
Granted
Application number
JP2015045004A
Other languages
English (en)
Other versions
JP6517050B2 (ja
Inventor
郁恵 古川
Ikue Furukawa
郁恵 古川
志典 碓井
Yukinori Usui
志典 碓井
逸生 赤澤
Itsuo Akazawa
逸生 赤澤
Current Assignee (The listed assignees may be inaccurate. Google has not performed a legal analysis and makes no representation or warranty as to the accuracy of the list.)
Mitsubishi Heavy Industries Ltd
Original Assignee
Mitsubishi Heavy Industries Ltd
Priority date (The priority date is an assumption and is not a legal conclusion. Google has not performed a legal analysis and makes no representation as to the accuracy of the date listed.)
Filing date
Publication date
Application filed by Mitsubishi Heavy Industries Ltd filed Critical Mitsubishi Heavy Industries Ltd
Priority to JP2015045004A priority Critical patent/JP6517050B2/ja
Publication of JP2016164352A publication Critical patent/JP2016164352A/ja
Application granted granted Critical
Publication of JP6517050B2 publication Critical patent/JP6517050B2/ja
Active legal-status Critical Current
Anticipated expiration legal-status Critical

Links

Images

Landscapes

  • Buildings Adapted To Withstand Abnormal External Influences (AREA)

Abstract

【課題】保護対象物を好適に保護することができると共に十分な耐震性を確保することができる飛来物防護設備を提供する。【解決手段】保護対象物としての復水タンクの周囲を覆うように復水タンクから所定隙間を空けて地面Gに立設される側壁部11と、復水タンクの上方を覆うように側壁部11の上部に連結される上壁部12と、側壁部11における水平方向の振動を低減する振動低減機構13とを設ける。【選択図】図1

Description

本発明は、特に、原子力施設の保護対象物に飛来物が到達することを抑制する飛来物防護設備に関する。
原子力施設は、施設の安全を確保する機構が設けられている。例えば、飛来物から各種機器を保護するための機構が下記特許文献1に記載されている。この特許文献1に記載された原子炉建屋は、安全系の機器及び系統を収納し、外部飛来物としての飛行機の衝突による衝撃に耐える壁厚に構築された建屋構造物と、この建屋構造物の上方に構築された屋根構造物とを有し、建屋構造物と屋根構造物とが互いに分離構成されると共に、互いに独立した基礎構造部を備えるものである。
特開2011−252800号公報
ここで、飛来物としては、突風や強風によって保護対象の設備に向かって飛翔してくる物体がある。このような飛来物が保護対象機器に衝突すると破損や故障の原因となる恐れがある。また、日本では、原子力規制委員会の定める「実用発電用原子炉及びその附属施設の位置、構造及び設備の基準に関する規則」第6条において、外部からの衝撃による損傷の防止として、安全施設は、想定される自然現象が発生した場合においても安全機能を損なわないものでなければならないと規定されている。この敷地周辺の自然環境を基に想定される自然現象の一つとして、竜巻の影響が挙げられている。このため、原子炉施設の供用期間中に極めてまれに発生する突風・強風を引き起こす自然現象としての竜巻及びその随伴事象等によって原子炉施設の安全性を損なうことのない設計とすることが求められている。具体的には、「原子力発電所の竜巻影響評価ガイド」に基づいて、設計竜巻及び設計荷重(設計竜巻荷重及びその他の組み合わせ荷重)を設定し、発電所における飛来物に係る調査をし、飛来物防止対策を行い、さらに考慮すべき設計荷重に対する竜巻防護施設の構造健全性等の評価を行い、その結果に対応する対策を行い、安全機能を維持した状態とする。
上述した従来の原子炉建屋は、屋根構造物が建屋構造物の上方を覆うように構築され、鉄骨構造となっているため、屋根構造物が重くなる。すると、重量物である屋根構造物の強度不足が考えられ、地震発生時における耐震性が十分でなくなる。特に、既設設備の周囲に十分な敷地が確保できない場合や構造上耐震補強ができない場合、地震発生時における耐震性が不十分となる恐れがある。
本発明は、上述した課題を解決するものであり、保護対象物を好適に保護することができると共に十分な耐震性を確保することができる飛来物防護設備を提供することを目的とする。
上記の目的を達成するための本発明の飛来物防護設備は、地面上に設置された保護対象物を外側から保護する飛来物防護設備であって、前記保護対象物の周囲を覆うように前記保護対象物から所定隙間を空けて前記地面に立設される側壁部と、前記保護対象物の上方を覆うように前記側壁部の上部に連結される上壁部と、前記側壁部における水平方向の振動を低減する振動低減機構と、を備えることを特徴とするものである。
従って、側壁部及び上壁部により保護対象物の外側を覆うことから、竜巻などの発生時に、突風や強風により飛来物が保護対象物に向かって飛翔してきても、この飛来物が側壁部及び上壁部に衝突することで、保護対象物への衝突を阻止することができる。また、側壁部及び上壁部に振動低減機構が設けられることで、地震などの発生時に、振動低減機構により側壁部や上壁部に対して水平方向に作用する振動を低減することができる。その結果、保護対象物を好適に保護することができると共に、十分な耐震性を確保することができる。
本発明の飛来物防護設備では、前記振動低減機構は、免震機構を有することを特徴としている。
従って、振動低減機構を免震機構とすることで、既存の設備に対しても容易に側壁部及び上壁部を構築することができる。この場合、免震機構と言う簡単な構成で、側壁部や上壁部の振動を低減することができ、この側壁部や上壁部の構成を簡素化することができる。
本発明の飛来物防護設備では、前記保護対象物の周囲の前記地面に凹部が設けられ、前記凹部に基礎版が設けられ、前記基礎版上に前記免震機構を介して前記側壁部の支持部材が設置されることを特徴としている。
従って、地面に設けた凹部に基礎版を設け、この基礎版上に免震機構を介して側壁部の支持部材を設置するため、容易に側壁部や免震機構を設置することができる。
本発明の飛来物防護設備では、前記振動低減機構は、ダンパ機構を有し、前記支持部材と前記基礎版との間に免震機構と並列に配置されることを特徴としている。
従って、振動低減機構として免震機構とダンパ機構を設け、支持部材と基礎版との間に免震機構とダンパ機構を並列に配置することで、免震機構により側壁部や上壁部の振動を低減することができ、ダンパ機構により発生した振動を早期に減衰させることができる。
本発明の飛来物防護設備では、前記ダンパ機構は、水平方向に沿って配置されることを特徴としている。
従って、ダンパ機構を水平方向に沿って配置することで、側壁部や上壁部における水平方向の振動を早期に減衰させることができる。
本発明の飛来物防護設備では、前記支持部材の上面の高さと前記地面の高さが同一高さに設定されることを特徴としている。
従って、支持部材の上面の高さと地面の高さを同一高さとすることで、振動低減機構が露出することはなく、振動低減機構に対しても飛来物の衝突を阻止することができ、安全性を向上することができる。
本発明の飛来物防護設備では、前記振動低減機構は、ダンパ機構を有し、前記ダンパ機構は、前記側壁部と前記側壁部に隣接する構造物との間に配置されることを特徴としている。
従って、振動低減機構をダンパ機構とし、側壁部と隣接する構造物との間に配置することで、適正に側壁部や上壁部の振動を低減して減衰させることができ、また、振動低減機構の装着を容易として作業コストを低減することができる。
本発明の飛来物防護設備では、前記側壁部と前記上壁部は、架構構造体に防護ネットが固定されることで構成されることを特徴としている。
従って、側壁部と上壁部を架構構造体とすることで、軽量であっても十分な強度を確保することができ、この架構構造体に防護ネットを固定することで、この防護ネットにより保護対象物への飛来物の衝突を効果的に防止することができる。
本発明の飛来物防護設備では、前記上壁部は、上段側に配置される第1上壁部と、下段側に配置される第2上壁部とを有し、前記第2上壁部に前記防護ネットが固定されることを特徴としている。
従って、上壁部として上段側の第1上壁部と下段側の第2上壁部を設けることで、上壁部周辺の強度を上げることができ、下段側の第2上壁部に防護ネットを固定することで、飛来物の衝突を防止することとなり、上壁部の耐久性を向上することができる。
本発明の飛来物防護設備では、前記側壁部は、出入口開口部が設けられると共に、前記出入口開口部より大きな面積を有して前記出入口開口部の内側または外側に所定隙間を空けて対向して閉止部材が立設されることを特徴としている。
従って、出入口開口部に対して閉止部材を立設することで、容易に保護対象物をメンテナンスするために通路を確保することができ、保護対象物への飛来物の衝突を防止しながら、保護対象物のメンテナンス性を確保することができる。
本発明の飛来物防護設備によれば、側壁部における水平方向の振動を低減する振動低減機構を設けるので、保護対象物を好適に保護することができると共に、十分な耐震性を確保することができる。
図1は、第1実施形態の飛来物防護設備を表す正面図である。 図2は、飛来物防護設備を表す縦断面図である。 図3は、飛来物防護設備を表す平面図である。 図4は、飛来物防護設備を表す水平断面(図1のIV−IV断面)図である。 図5は、防護ネットを表す概略図である。 図6は、被覆ユニットを表す概略図である。 図7は、免震機構を表す縦断面図である。 図8は、別の免震機構を表す正面図である。 図9は、出入口部を表す上面図である。 図10は、出入口部を表す側面図である。 図11は、第2実施形態の飛来物防護設備を表す平面図である。 図12は、飛来物防護設備を表す縦断面図である。 図13は、第3実施形態の飛来物防護設備を表す正面図である。
以下に添付図面を参照して、本発明の好適な実施形態を詳細に説明する。なお、この実施形態により本発明が限定されるものではなく、また、実施形態が複数ある場合には、各実施形態を組み合わせて構成するものも含むものである。
[第1実施形態]
図1は、第1実施形態の飛来物防護設備を表す正面図、図2は、飛来物防護設備を表す縦断面図、図3は、飛来物防護設備を表す平面図、図4は、飛来物防護設備を表す水平断面(図1のIV−IV断面)図である。
第1実施形態において、図1及び図2に示すように、施設は、原子力発電プラントであり、保護対象物は、例えば、復水タンクTである。原子力発電プラントは、種々の安全対策のために、復水タンクTを保護する飛来物防護設備10が設けられている。
飛来物防護設備10は、地面G上に設置された復水タンク(保護対象物)Tを外側から保護するものである。飛来物防護設備10は、側壁部11と、上壁部12と、振動低減機構13とを備えている。
復水タンクTは、円形タンクであって、地面Gに打設された基礎21上に立設されている。地面Gは、復水タンクTの周囲に凹部22が設けられている。この凹部22は、地面Gを掘り下げて形成され、平面視が矩形のリング形状をなしている。この凹部22は、内部に基礎版23が設けられている。この基礎版23は、凹部22と同様に、平面視が矩形のリング形状をなしている。
振動低減機構13は、この基礎版23上にその長手方向に沿って所定間隔で複数設けられている。振動低減機構13は、側壁部11における水平方向の振動を低減するものである。そして、各振動低減機構13は、その上部に支持部材24がそれぞれ設置されている。この支持部材24は、重量物であって、例えば、カウンタウエイトである。
側壁部11は、復水タンクTを四方から覆うような四角筒形状をなしている。側壁部11は、復水タンクTの周囲を覆うようにこの復水タンクTの側面から所定隙間を空けて地面Gに立設されている。側壁部11は、架構構造体であって、鉛直方向に沿った複数の支柱31と、各支柱31を連結するように水平方向に沿った梁32とから構成されている。この場合、各支柱31と各梁32とにより形成された空間部を斜めに補強する補強部材(トラス)を設けてもよい。そして、側壁部11は、全面に防護ネット33が固定されている。
側壁部11は、各支柱31の下端部が各支持部材24上に設置されて固定されている。この場合、支持部材24は、上面の高さと地面Gの高さが同一高さに設定されている。
また、上壁部12は、復水タンクTの上方を覆うように側壁部11の上部に連結されている。上壁部12は、復水タンクTを上方から覆うような四角板形状をなしている。上壁部12は、復水タンクTの上方を覆うようにこの復水タンクTの上面から所定隙間を空けて側壁部11の上部に固定されている。
上壁部12は、上段側に配置される第1上壁部41と、下段側に配置される第2上壁部42とから構成されている。第1上壁部41は、図3に示すように、架構構造体であって、水平方向に沿うと共に互いに交差するように連結された複数の縦梁43と複数の横梁44から構成されている。そして、各縦梁43と各横梁44とにより形成された空間部を斜めに補強する補強部材(トラス)45が連結されている。また、第2上壁部42は、図4に示すように、架構構造体であって、水平方向に沿うと共に互いに交差するように連結された複数の縦梁46と複数の横梁47から構成されている。この場合、各縦梁46と各横梁47とにより形成された空間部を斜めに補強する補強部材(トラス)を設けてもよい。そして、第2上壁部42は、全面に防護ネット48が固定されている。
この場合、側壁部11の上端部に第1上壁部41が配置され、第1上壁部41より所定距離だけ下方に第2上壁部42が配置される。そのため、側壁部11として、支柱31と梁32だけでなく補強部材(トラス)を設けることで、この側壁部11の剛性を上げるだけでなく、第2上壁部42の剛性をも上げることができる。
図5は、防護ネットを表す概略図である。図5に示すように、第2上壁部42に設けられる防護ネット48は、縦梁46と横梁47により形成された開口部に対して固定される。防護ネット48は、金網からなるネット本体48aと、ネット本体48aの周囲に設けられたひも状の連結部材48bとから構成されている。縦梁46は、横梁47との交差連結部に係止ピン49が固定されており、防護ネット48は、連結部材48bが各係止ピン49に係止することで、縦梁46及び横梁47に固定される。なお、ここでは、上壁部12に設けられる防護ネット48について説明したが、側壁部11に設けられる防護ネット33についても、ほぼ同様の構成となっている。
なお、防護ネット48(33)の構造は、上述したものに限定されるものではない。図6は、被覆ユニットを表す概略図である。図6に示すように、被覆ユニット51は、例えば、工場や地上などで製作してユニット化し、被覆ユニット51として側壁部11や上壁部12に装着するものである。被覆ユニット51は、矩形の枠状をなす枠体52における長手方向の中間部に連結片53が固定されると共に、トラス状に2個の補強片54が固定され、前面を覆うようにネット55が取付けられて構成されている。そして、枠体52は、周囲に複数の取付部52aが一体に形成され、図示しないボルトにより各取付部52aを用いて被覆ユニット51を側壁部11や上壁部12における所定の位置に固定する。側壁部11や上壁部12は、後から複数の被覆ユニット51を順に固定していくことで、作業性が向上する。
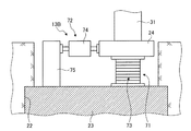
ここで、振動低減機構13について説明するが、以下に2種類の振動低減機構13A,13Bについて説明する。図7は、免震機構を表す縦断面図、図8は、別の免震機構を表す正面図である。
図7に示すように、振動低減機構13Aは、免震機構61により構成されている。免震機構61は、基礎版23の上面と支持部材24の下面との間に設けられている。この免震機構61は、免震構造体(ゴム支承体)62であって、例えば、基礎版23の上面に固定される下部ペディスタル63と、支持部材24の下面に固定される上部ペディスタル64と、下部ペディスタル63と上部ペディスタル64の中心部を連結する鉛製の支柱65と、下部ペディスタル63と上部ペディスタル64の間であって、支柱65の周囲に配置される複数積層された円盤形状をなす支持板66とから構成されている。この支持板66は、複数のゴム板を積層したもの、または、複数のゴム板と複数の鋼板とを交互に積層したものである。
また、図8に示すように、振動低減機構13Bは、免震機構71とダンパ機構72により構成されており、免震機構71とダンパ機構72は、基礎版23と支持部材24との間で並列に配置されている。また、ダンパ機構72は、水平方向に沿って配置されている。即ち、免震機構71は、免震構造体73であって、例えば、上述した免震構造体62でもよくまた、単なる複数のゴム板の積層体、または、複数のゴム板と複数の鋼板との積層体としてもよい。ダンパ機構72は、油圧ダンパ74であって、水平方向に沿って配置され、一端部が支持部材24の側面部に連結され、他端部が基礎版23から立設されたコンクリート構造物75に連結されている。
そのため、地震などの発生時に、側壁部11及び上部12に対して水平方向の荷重が作用すると、この荷重により側壁部11及び上壁部12が水平方向に揺動する。ところが、側壁部11は、振動低減機構13(13A,13B)により支持されていることから、側壁部11及び上壁部12に作用する水平方向の荷重は、慣性力を持って振動低減機構13に作用する。すると、側壁部11及び上壁部12がもつ固有振動数が加速度応答スペクトルの卓越する周期からずれることとなり、側壁部11及び上壁部12の応答加速度が低減し、側壁部11及び上壁部12の水平揺動が低下する。
飛来物防護設備10は、側壁部11にメンテナンス用の出入口部が設けられている。図9は、出入口部を表す上面図、図10は、出入口部を表す側面図である。
側壁部11は、複数の支柱31と複数の梁32が直交するように組み合わされると共に、複数の防護ネット33が固定されて構成されており、地面Gに接した所定の位置に出入口開口部80が設けられている。この出入口開口部80より側壁部11の内側に閉止部材81が立設されている。閉止部材81は、側壁部11と同様に、複数の支柱82と複数の梁83が直交するように組み合わされると共に、複数の防護ネット84が固定されて構成されている。閉止部材81は、出入口開口部80より大きな面積を有してこの出入口開口部80の内側に所定隙間85,86を空けて対向して立設されている。そのため、出入口開口部80と所定隙間85,86によりメンテナンス通路87が設けられることとなる。
このように第1実施形態の飛来物防護設備にあっては、保護対象物としての復水タンクTの周囲を覆うように復水タンクTから所定隙間を空けて地面Gに立設される側壁部11と、復水タンクTの上方を覆うように側壁部11の上部に連結される上壁部12と、側壁部11における水平方向の振動を低減する振動低減機構13とを設けている。
従って、側壁部11及び上壁部12により復水タンクTの外側を覆うことから、竜巻などの発生時に、突風や強風により飛来物が保護対象物に向かって飛翔してきても、この飛来物が側壁部11及び上壁部12に衝突することで、復水タンクTへの衝突を阻止することができる。また、側壁部11及び上壁部12に振動低減機構13が設けられることで、地震などの発生時に、振動低減機構13により側壁部11や上壁部12に対して水平方向に作用する振動を低減することができる。その結果、復水タンクTを好適に保護することができると共に、十分な耐震性を確保することができる。
この場合、既存の復水タンクTに与える影響を小さくしつつ、飛来物の落下を防護する設備を設けることができる。また、復水タンクTに与える影響を小さくして飛来物防護設備10を設けることで、復水タンクTに必要となる補強を少なくすることができる。また、飛来物防護設備10に作用する力を低減することができることで、飛来物防護設備10に必要な強度も低減することができる。
第1実施形態の飛来物防護設備では、振動低減機構13Aを免震機構61としている。従って、既存の設備に対しても容易に側壁部11及び上壁部12を構築することができる。この場合、免震機構61という簡単な構成で、側壁部11や上壁部12の振動を低減することができ、この側壁部11や上壁部12の構成を簡素化することができる。
第1実施形態の飛来物防護設備では、復水タンクTの周囲の地面Gに凹部22を設け、この凹部22に基礎版23を設け、この基礎版23上に免震機構61を介して側壁部11の支持部材24を設置している。従って、容易に側壁部11や免震機構61を復水タンクTの周囲に設置することができる。
第1実施形態の飛来物防護設備では、振動低減機構13Bとして免震機構71とダンパ機構72を設け、支持部材24と基礎版23との間に免震機構71とダンパ機構72を並列に配置している。従って、免震機構71により側壁部11や上壁部12の振動を低減することができ、ダンパ機構72により発生した振動を早期に減衰させることができる。
第1実施形態の飛来物防護設備では、ダンパ機構72を水平方向に沿って配置している。従って、側壁部11や上壁部12における水平方向の振動を早期に減衰させることができる。
第1実施形態の飛来物防護設備では、支持部材24の上面の高さと地面Gの高さを同一高さに設定している。従って、振動低減機構13が露出することはなく、振動低減機構13に対しても飛来物の衝突を阻止することができ、安全性を向上することができる。
第1実施形態の飛来物防護設備では、側壁部11と上壁部12は、架構構造体に防護ネット33,48が固定されることで構成されている。従って、軽量であっても十分な強度を確保することができ、この架構構造体に防護ネット33,48を固定することで、この防護ネット33,48により復水タンクTへの飛来物の衝突を効果的に防止することができる。そして、防護ネット33,48により空気を循環可能に維持しつつ、飛来物の落下を防護することができる。これにより、飛来物防護設備10の内部からの放熱を好適に行うことができ、温度上昇を抑制することができる。また、防護ネット33,48は、飛来物として想定される鋼製パイプ又は鋼製材等が飛来した場合に、防護ネット33,48が撓んでも復水タンクTと接しない距離だけ離れた位置に配置することが好ましい。
第1実施形態の飛来物防護設備では、上壁部12として上段側に配置される第1上壁部41と、下段側に配置される第2上壁部42とを設け、第2上壁部42に防護ネット48を固定している。従って、上壁部12周辺の強度を上げることができ、下段側の第2上壁部42に防護ネット48を固定することで、飛来物の衝突を防止することとなり、上壁部12の耐久性を向上することができる。即ち、側壁部11の上部まで補強部材(トラス)を設けることで、防護ネット48が固定された第2上壁部42の剛性を向上することができる。
第1実施形態の飛来物防護設備では、側壁部11に出入口開口部80を設けると共に、出入口開口部80より大きな面積を有して出入口開口部80の内側(または外側)に所定隙間85,86を空けて対向して閉止部材81を立設している。従って、容易に復水タンクTをメンテナンスするためにメンテナンス通路87を確保することができ、復水タンクTへの飛来物の衝突を防止しながら、復水タンクTのメンテナンス性を確保することができる。
[第2実施形態]
図11は、第2実施形態の飛来物防護設備を表す平面図、図12は、飛来物防護設備を表す縦断面図である。なお、上述した実施形態と同様の機能を有する部材には、同一の符号を付して詳細な説明は省略する。
第2実施形態において、図11及び図12に示すように、飛来物防護設備90は、地面G上に設置された復水タンク(保護対象物)Tを外側から保護するものである。飛来物防護設備90は、側壁部11と、上壁部12と、隣接構造物91と、振動低減機構92とを備えている。
地面Gは、復水タンクTの周囲に凹部22が設けられ、凹部22は、内部に基礎版23が設けられている。振動低減機構13は、基礎版23上にその長手方向に沿って所定間隔で複数設けられており、その上部に支持部材24がそれぞれ設置されている。側壁部11は、架構構造体であって、各支持部材24上に設置されて固定されている。上壁部12は、復水タンクTの上方を覆うようにこの復水タンクTの上面から所定隙間を空けて側壁部11の上部に固定されている。
地面Gは、復水タンクTの周囲に凹部93が設けられている。この凹部93は、地面Gを掘り下げて形成され、平面視が矩形のリング形状をなしている。この凹部93は、内部に基礎版94が設けられている。この基礎版94は、凹部93と同様に、平面視が矩形のリング形状をなしている。
振動低減機構96は、この基礎版94上にその長手方向に沿って所定間隔で複数設けられている。振動低減機構96は、隣接構造体91における水平方向の振動を低減するものである。そして、各振動低減機構96は、その上部に支持部材95がそれぞれ設置されている。隣接構造体91は、架構構造体であって側壁部11から所定距離離れて立設されており、複数の支柱と複数の梁が連結されて構成されている。
側壁部11と隣接構造体91とは、その上部の間に振動低減機構92が設けられている。振動低減機構92は、ダンパ機構であって、複数の油圧ダンパ97により構成されている。複数の油圧ダンパ97は、側壁部11の上部と隣接構造体91の上部との間に介装され、水平方向に沿うと共に、水平方向に所定間隔を空けて並列に配置されている。
なお、この第2実施形態にて、振動低減機構13,96をなくしてもよい。即ち、側壁部11の外側に十分なスペースがない場合、大きな基礎版23を設けることが困難となることから、側壁部11の外側に小さな基礎版23を設け、この基礎版23の上に直接または支持部材24を介して側壁部11を設置してもよい。
このように第2実施形態の飛来物防護設備にあっては、復水タンクTを覆う側壁部11及び上壁部12を設けると共に、側壁部11に隣接して隣接構造物91を立設し、振動低減機構92としての油圧ダンパ(ダンパ機構)97を側壁部11と隣接構造物91との間に配置している。
従って、側壁部11及び上壁部12により復水タンクTの外側を覆うことから、竜巻などの発生時に、突風や強風により飛来物が保護対象物に向かって飛翔してきても、この飛来物が側壁部11及び上壁部12に衝突することで、復水タンクTへの衝突を阻止することができる。また、側壁部11と隣接構造物91との間に油圧ダンパ(ダンパ機構)97を設けることで、地震などの発生時に、油圧ダンパ97により側壁部11や上壁部12に対して水平方向に作用する振動を低減することができる。その結果、復水タンクTを好適に保護することができると共に、十分な耐震性を確保することができる。
また、側壁部11と隣接構造物91との間に振動低減機構92を配置することで、適正に側壁部11や上壁部12の振動を低減して減衰させることができ、また、振動低減機構92の装着を容易として作業コストを低減することができる。
[第3実施形態]
図13は、第3実施形態の飛来物防護設備を表す正面図である。
第3実施形態において、図13に示すように、飛来物防護設備100は、地面G上に設置された復水タンク(図示略)を外側から保護するものである。飛来物防護設備100は、側壁部101と、上壁部102と、振動低減機構103と、補強部104とを備えている。
地面Gは、復水タンクの周囲に凹部111が設けられ、凹部111は、内部に基礎版112が設けられている。振動低減機構103は、基礎版112上にその長手方向に沿って所定間隔で複数設けられており、その上部に支持部材113がそれぞれ設置されている。側壁部101は、架構構造体であって、各支持部材113上に設置されて固定されている。上壁部102は、復水タンクの上方を覆うようにこの復水タンクの上面から所定隙間を空けて側壁部101の上部に固定されている。
飛来物防護設備100は、側壁部101と上壁部102により上部が多面体形状となっており、上壁部102の角部に傾斜した補強部104が一体に連結されている。この場合、側壁部101と上壁部102は、第1実施形態と同様に前面に保護ネットが固定されている。一方、補強部104は、保護ネットまたは降坂により補強された構成となっている。
このように第3実施形態の飛来物防護設備にあっては、復水タンクを覆う側壁部101及び上壁部102を設けると共に、側壁部101と上壁部102の間に補強部104を設け、また、側壁部101の下部に振動低減機構103を設けている。
従って、側壁部101及び上壁部102により復水タンクの外側を覆うことから、竜巻などの発生時に、突風や強風により飛来物が保護対象物に向かって飛翔してきても、この飛来物が側壁部101及び上壁部102に衝突することで、復水タンクへの衝突を阻止することができる。このとき、側壁部101と上壁部102の間に補強部104が設けられていることから、側壁部101及び上壁部102の剛性を高めることができる。また、側壁部101の下部に振動低減機構103を設けることで、地震などの発生時に、振動低減機構103により側壁部101や上壁部102に対して水平方向に作用する振動を低減することができる。その結果、復水タンクを好適に保護することができると共に、十分な耐震性を確保することができる。
なお、上述した実施形態では、飛来物防護設備の外形形状を立方体としたが、直方体でもよく、多面体や半球形などであってもよい。
また、上述した実施形態では、保護対象物を復水タンクTとしたが、これに限定されるものではなく、例えば、他の貯水タンク、冷却設備、配管などであってもよい。
10,90,100 飛来物防護設備
11,101 側壁部
12,102 上壁部
13,13B,96,103 振動低減機構
22,93,111 凹部
23,94,112 基礎版
24,95,113 支持部材
33,48 防護ネット
41 第1上壁部
42 第2上壁部
51 被覆ユニット
61,71 免震機構
62,73 免震構造体
72 ダンパ機構
74,97 油圧ダンパ
80 出入口開口部
81 閉止部材
85,86 隙間
87 メンテナンス通路
91 隣接構造物
104 補強部
T 復水タンク(保護対象物)

Claims (10)

  1. 地面上に設置された保護対象物を外側から保護する飛来物防護設備であって、
    前記保護対象物の周囲を覆うように前記保護対象物から所定隙間を空けて前記地面に立設される側壁部と、
    前記保護対象物の上方を覆うように前記側壁部の上部に連結される上壁部と、
    前記側壁部における水平方向の振動を低減する振動低減機構と、
    を備えることを特徴とする飛来物防護設備。
  2. 前記振動低減機構は、免震機構を有することを特徴とする請求項1に記載の飛来物防護設備。
  3. 前記保護対象物の周囲の前記地面に凹部が設けられ、前記凹部に基礎版が設けられ、前記基礎版上に前記免震機構を介して前記側壁部の支持部材が設置されることを特徴とする請求項2に記載の飛来物防護設備。
  4. 前記振動低減機構は、ダンパ機構を有し、前記支持部材と前記基礎版との間に免震機構と並列に配置されることを特徴とする請求項3に記載の飛来物防護設備。
  5. 前記ダンパ機構は、水平方向に沿って配置されることを特徴とする請求項4に記載の飛来物防護設備。
  6. 前記支持部材の上面の高さと前記地面の高さが同一高さに設定されることを特徴とする請求項3から請求項5のいずれか一項に記載の飛来物防護設備。
  7. 前記振動低減機構は、ダンパ機構を有し、前記ダンパ機構は、前記側壁部と前記側壁部に隣接する構造物との間に配置されることを特徴とする請求項1から請求項6のいずれか一項に記載の飛来物防護設備。
  8. 前記側壁部と前記上壁部は、架構構造体に防護ネットが固定されることで構成されることを特徴とする請求項1から請求項7のいずれか一項に記載の飛来物防護設備。
  9. 前記上壁部は、上段側に配置される第1上壁部と、下段側に配置される第2上壁部とを有し、前記第2上壁部に前記防護ネットが固定されることを特徴とする請求項8に記載の飛来物防護設備。
  10. 前記側壁部は、出入口開口部が設けられると共に、前記出入口開口部より大きな面積を有して前記出入口開口部の内側または外側に所定隙間を空けて対向して閉止部材が立設されることを特徴とする請求項1から請求項9のいずれか一項に記載の飛来物防護設備。
JP2015045004A 2015-03-06 2015-03-06 飛来物防護設備 Active JP6517050B2 (ja)

Priority Applications (1)

Application Number Priority Date Filing Date Title
JP2015045004A JP6517050B2 (ja) 2015-03-06 2015-03-06 飛来物防護設備

Applications Claiming Priority (1)

Application Number Priority Date Filing Date Title
JP2015045004A JP6517050B2 (ja) 2015-03-06 2015-03-06 飛来物防護設備

Publications (2)

Publication Number Publication Date
JP2016164352A true JP2016164352A (ja) 2016-09-08
JP6517050B2 JP6517050B2 (ja) 2019-05-22

Family

ID=56876551

Family Applications (1)

Application Number Title Priority Date Filing Date
JP2015045004A Active JP6517050B2 (ja) 2015-03-06 2015-03-06 飛来物防護設備

Country Status (1)

Country Link
JP (1) JP6517050B2 (ja)

Cited By (3)

* Cited by examiner, † Cited by third party
Publication number Priority date Publication date Assignee Title
JP2018131834A (ja) * 2017-02-16 2018-08-23 株式会社竹中工務店 補強壁支持構造
CN109779333A (zh) * 2019-01-25 2019-05-21 国网甘肃省电力公司白银供电公司 一种恒温耐候性强的配电站房
JP2020090800A (ja) * 2018-12-03 2020-06-11 株式会社石井鐵工所 タンク用屋根防護構造

Citations (13)

* Cited by examiner, † Cited by third party
Publication number Priority date Publication date Assignee Title
JPS626073A (ja) * 1985-06-28 1987-01-13 鹿島建設株式会社 免震建家構造
JPH0218066U (ja) * 1988-07-14 1990-02-06
JPH03293591A (ja) * 1990-04-11 1991-12-25 Shimizu Corp 原子力発電所建屋の免震構造
JP3014694U (ja) * 1995-02-13 1995-08-15 恒生 小西 寝室内の耐震性防護枠
US20020134414A1 (en) * 1997-05-21 2002-09-26 Ted Gower Flexible wind abatement system
US20030127122A1 (en) * 1997-05-21 2003-07-10 Ted Gower Blast curtain
US20070022672A1 (en) * 2005-07-11 2007-02-01 Bachynski Michael R Hurricane protection harness
JP2007297820A (ja) * 2006-04-28 2007-11-15 Taisei Corp 免震システム
JP2007297854A (ja) * 2006-05-01 2007-11-15 Toshiba Corp 建築構造物
JP2008214969A (ja) * 2007-03-05 2008-09-18 Shimizu Corp 免震建物の増築方法
JP2011252800A (ja) * 2010-06-02 2011-12-15 Toshiba Corp 原子炉建屋
JP2013124476A (ja) * 2011-12-14 2013-06-24 Taisei Corp 免震構造物
JP2016125234A (ja) * 2014-12-26 2016-07-11 三菱重工業株式会社 飛来物防護設備

Patent Citations (13)

* Cited by examiner, † Cited by third party
Publication number Priority date Publication date Assignee Title
JPS626073A (ja) * 1985-06-28 1987-01-13 鹿島建設株式会社 免震建家構造
JPH0218066U (ja) * 1988-07-14 1990-02-06
JPH03293591A (ja) * 1990-04-11 1991-12-25 Shimizu Corp 原子力発電所建屋の免震構造
JP3014694U (ja) * 1995-02-13 1995-08-15 恒生 小西 寝室内の耐震性防護枠
US20020134414A1 (en) * 1997-05-21 2002-09-26 Ted Gower Flexible wind abatement system
US20030127122A1 (en) * 1997-05-21 2003-07-10 Ted Gower Blast curtain
US20070022672A1 (en) * 2005-07-11 2007-02-01 Bachynski Michael R Hurricane protection harness
JP2007297820A (ja) * 2006-04-28 2007-11-15 Taisei Corp 免震システム
JP2007297854A (ja) * 2006-05-01 2007-11-15 Toshiba Corp 建築構造物
JP2008214969A (ja) * 2007-03-05 2008-09-18 Shimizu Corp 免震建物の増築方法
JP2011252800A (ja) * 2010-06-02 2011-12-15 Toshiba Corp 原子炉建屋
JP2013124476A (ja) * 2011-12-14 2013-06-24 Taisei Corp 免震構造物
JP2016125234A (ja) * 2014-12-26 2016-07-11 三菱重工業株式会社 飛来物防護設備

Cited By (4)

* Cited by examiner, † Cited by third party
Publication number Priority date Publication date Assignee Title
JP2018131834A (ja) * 2017-02-16 2018-08-23 株式会社竹中工務店 補強壁支持構造
JP2020090800A (ja) * 2018-12-03 2020-06-11 株式会社石井鐵工所 タンク用屋根防護構造
JP7223397B2 (ja) 2018-12-03 2023-02-16 株式会社石井鐵工所 タンク用屋根防護構造
CN109779333A (zh) * 2019-01-25 2019-05-21 国网甘肃省电力公司白银供电公司 一种恒温耐候性强的配电站房

Also Published As

Publication number Publication date
JP6517050B2 (ja) 2019-05-22

Similar Documents

Publication Publication Date Title
JP2011252800A (ja) 原子炉建屋
JP2016164352A (ja) 飛来物防護設備
US20190271170A1 (en) Protective system for protecting buildings against aircraft crashes
JP6392067B2 (ja) 核燃料貯蔵設備および核燃料貯蔵方法
KR101546052B1 (ko) 비앵커링 간접정착 방식 내진 이중마루
JP6456079B2 (ja) 飛来物防護設備及び飛来物防護設備の設置方法
JP2010248835A (ja) 制振構造物及び制振方法
JP2011038294A (ja) 付加質量制震建物
JP7438760B2 (ja) 免制震エレベータ
JP6692665B2 (ja) 衝撃低減装置及び発電プラント
JP6241096B2 (ja) 免震建物及び免震方法
KR20160110928A (ko) 파이프로 구조된 와이어 메쉬 시스템
JP7374647B2 (ja) 飛翔体衝突防護装置および飛翔体衝突防護方法
RU2397303C1 (ru) Сейсмо-взрывозащищенный автономный пункт управления
Nawrotzki et al. 3-D Base Control Systems for the seismic protection of power plant equipment and buildings
JP6618847B2 (ja) 多層地盤一体型建物の安全対策設備
RU2753764C1 (ru) Реакторное отделение АЭС повышенной сейсмостойкости
Chakraborty et al. Seismic Retrofit Assessment of Different Bracing Systems
Efthymiou et al. On the response of steel lattice telecommunication masts under environmental actions and seismic loading
JP2018141796A (ja) 核燃料貯蔵設備および核燃料貯蔵方法
Kwag et al. Structural integrity evaluation of reactor pool working platform: guide tubes and refuelling cover in a research reactor
JP2025039286A (ja) 制振構造
Leonova Construction of high-rise buildings on seismic hazardous territories
JP2020076304A (ja) 衝撃低減構造及び発電プラント
Kimura et al. A Seismic Control Structure that Reduces the Seismic Response of the Entire Building by Absorbing Seismic Energy Intensively in the Seismic Isolation Layer Installed on the Middle Floor of Tall Building

Legal Events

Date Code Title Description
A621 Written request for application examination

Free format text: JAPANESE INTERMEDIATE CODE: A621

Effective date: 20180228

A977 Report on retrieval

Free format text: JAPANESE INTERMEDIATE CODE: A971007

Effective date: 20181225

A131 Notification of reasons for refusal

Free format text: JAPANESE INTERMEDIATE CODE: A131

Effective date: 20190108

A521 Request for written amendment filed

Free format text: JAPANESE INTERMEDIATE CODE: A523

Effective date: 20190301

TRDD Decision of grant or rejection written
A01 Written decision to grant a patent or to grant a registration (utility model)

Free format text: JAPANESE INTERMEDIATE CODE: A01

Effective date: 20190319

A61 First payment of annual fees (during grant procedure)

Free format text: JAPANESE INTERMEDIATE CODE: A61

Effective date: 20190417

R150 Certificate of patent or registration of utility model

Ref document number: 6517050

Country of ref document: JP

Free format text: JAPANESE INTERMEDIATE CODE: R150