JP2016155285A - サーマルヘッドおよびサーマルプリンタ - Google Patents

サーマルヘッドおよびサーマルプリンタ Download PDF

Info

Publication number
JP2016155285A
JP2016155285A JP2015034133A JP2015034133A JP2016155285A JP 2016155285 A JP2016155285 A JP 2016155285A JP 2015034133 A JP2015034133 A JP 2015034133A JP 2015034133 A JP2015034133 A JP 2015034133A JP 2016155285 A JP2016155285 A JP 2016155285A
Authority
JP
Japan
Prior art keywords
common electrode
substrate
protective layer
electrode
heat generating
Prior art date
Legal status (The legal status is an assumption and is not a legal conclusion. Google has not performed a legal analysis and makes no representation as to the accuracy of the status listed.)
Granted
Application number
JP2015034133A
Other languages
English (en)
Other versions
JP6346108B2 (ja
Inventor
祐樹 松▲崎▼
Yuki Matsuzaki
祐樹 松▲崎▼
悠平 宮尾
Yuhei Miyao
悠平 宮尾
Current Assignee (The listed assignees may be inaccurate. Google has not performed a legal analysis and makes no representation or warranty as to the accuracy of the list.)
Kyocera Corp
Original Assignee
Kyocera Corp
Priority date (The priority date is an assumption and is not a legal conclusion. Google has not performed a legal analysis and makes no representation as to the accuracy of the date listed.)
Filing date
Publication date
Application filed by Kyocera Corp filed Critical Kyocera Corp
Priority to JP2015034133A priority Critical patent/JP6346108B2/ja
Publication of JP2016155285A publication Critical patent/JP2016155285A/ja
Application granted granted Critical
Publication of JP6346108B2 publication Critical patent/JP6346108B2/ja
Active legal-status Critical Current
Anticipated expiration legal-status Critical

Links

Images

Landscapes

  • Electronic Switches (AREA)

Abstract

【課題】 電気的な接続信頼性の向上したサーマルヘッドX1を提供する。
【解決手段】 サーマルヘッドX1は、基板7と、基板7の一方の長辺7a側に位置する複数の発熱部9と、複数の発熱部9に共通して電気的に接続された共通電極17と、複数の発熱部9に個別に電気的に接続された複数の個別電極19と、複数の個別電極19にそれぞれ設けられた駆動IC11接続用の複数の電極パッド10と、複数の発熱部9を保護する絶縁性の第1保護層25aと、を備え、共通電極17は、第1共通電極17aと、第2共通電極17bと、第3共通電極17cとを有し、第2共通電極17b上に絶縁性の第2保護層25bが設けられており、第2保護層25bの基板7の一方の長辺7a側の縁が、第2共通電極17b上に設けられていることにより、電気的な接続信頼性を向上させることができる。
【選択図】 図4

Description

本発明は、サーマルヘッドおよびサーマルプリンタに関する。
従来、ファクシミリあるいはビデオプリンタ等の印画デバイスとして、種々のサーマルヘッドが提案されている。例えば、一対の長辺を有する基板と、基板上に設けられ、基板の一方の長辺側に位置する複数の発熱部と、基板上に設けられ、複数の発熱部に共通して電気的に接続された共通電極と、基板上に設けられ、複数の発熱部に個別に電気的に接続された複数の個別電極と、複数の個別電極にそれぞれ設けられた駆動IC接続用の複数の電極パッドと、基板上に設けられ、複数の発熱部を保護する絶縁性の第1保護層とを備えるものが知られている(例えば、特許文献1参照)。
また、共通電極は、平面視して、基板の一方の長辺と複数の発熱部との間に位置する第1共通電極と、基板の他方の長辺と複数の電極パッドとの間に位置し、主走査方向に延びる第2共通電極とを有しており、第1共通電極と第2共通電極との電位差を低減するために、第1共通電極と第2共通電極とを連結する第3共通電極をさらに有している。
そして、第2共通電極を覆うように第2保護層が設けられており、第2保護層の基板の一方の長辺側の縁は、複数の第3共通電極上に形成されている。
特開2012−116131号公報
しかしながら、上述したサーマルヘッドは、第2保護層の基板の一方の長辺側の縁が、第3共通電極上に形成されているため、第3共通電極の近傍に配置された第2保護層が、電極パッド上まで到達するおそれがある。それにより、電極パッド上に絶縁性の第2保護層が設けられてしまい、駆動ICと接続不良が生じる可能性がある。
本発明の一実施形態に係るサーマルヘッドは、一対の長辺を有する基板と、前記基板上に設けられ、前記基板の一方の長辺側に位置する複数の発熱部と、前記基板上に設けられ、複数の前記発熱部に共通して電気的に接続された共通電極と、前記基板上に設けられ、複数の前記発熱部に個別に電気的に接続された複数の個別電極と、複数の前記個別電極にそれぞれ設けられた駆動IC接続用の複数の電極パッドと、前記基板上に設けられ、複数の前記発熱部を保護する絶縁性の第1保護層とを備えている。また、前記共通電極は、平面視して、前記基板の前記一方の長辺と複数の前記発熱部との間に位置する第1共通電極と、前記基板の他方の長辺と複数の前記電極パッドとの間に位置し、主走査方向に延びる第2共通電極と、前記第1共通電極と前記第2共通電極とを連結する複数の第3共通電極とを有している。また、前記第2共通電極上に絶縁性の第2保護層が設けられており、前記第2保護層の前記基板の前記一方の長辺側の縁が、前記第2共通電極上に設けられている。
また、本発明の一実施形態に係るサーマルプリンタは、上記に記載のサーマルヘッドと、前記発熱抵抗体上に記録媒体を搬送する搬送機構と、前記発熱抵抗体上に前記記録媒体
を押圧するプラテンローラとを、備えることを特徴とする。
本発明によれば、第2保護層が、電極パッド上に設けられる可能性を低減することができ、接続不良が生じる可能性を低減することができる。
第1の実施形態に係るサーマルヘッドを概略的に示す斜視図である。 図1に示すサーマルヘッドの配線パターンを概略的に示す平面図である。 図1に示すサーマルヘッドの一部を拡大して示す平面図である。 (a)は図3に示すI−I線断面図、(b)は図3に示すII−II線断面図、(c)は図3に示すIII−III線断面図である。 第2共通電極の近傍を拡大して示す断面図である。 第1の実施形態に係るサーマルプリンタの概略構成を示す図である。 第2の実施形態に係るサーマルヘッドを示し、第2共通電極の近傍を拡大して示す断面図である。 第3の実施形態に係るサーマルヘッドを示し、第2共通電極の近傍を拡大して示す断面図である。
<第1の実施形態>
以下、サーマルヘッドX1について図1〜5を参照して説明する。なお、図2において、第1保護層25aおよび第2保護層25bの図示は省略して示している。
サーマルヘッドX1は、放熱体1と、放熱体1上に配置されたヘッド基体3と、ヘッド基体3に接続された配線基板6と、配線基板6に電気的に接続されたフレキシブルプリント配線板5(以下、FPC5という)とを備えている。
放熱体1は、板状に形成されており、平面視して長方形状をなしている。放熱体1は、例えば、銅、鉄またはアルミニウム等の金属材料で形成されており、ヘッド基体3の発熱部9で発生した熱のうち、印画に寄与しない熱を放熱する機能を有している。また、放熱体1の上面には、両面テープあるいは接着剤等(不図示)によってヘッド基体3が接着されている。
ヘッド基体3は、平面視して、板状に形成されており、ヘッド基体3の基板7上にサーマルヘッドX1を構成する各部材が設けられている。ヘッド基体3は、外部より供給された電気信号に従い、記録媒体(不図示)に印字を行う機能を有する。
配線基板6は、平面視して、板状に形成されており、ヘッド基体3に隣り合うように設けられている。配線基板6は、配線導体8(図4(c)参照)を備えており、ヘッド基体3とFPC5とを電気的に接続している。配線基板6としては、PCB等のリジッド基板を用いることができる。
配線基板6上には、複数の駆動IC11が設けられており、複数の駆動IC11は、主走査方向に複数配列されている。駆動IC11は、ヘッド基体3の個別電極19(図4(c)参照)と、配線基板6の配線導体8とをボンディングワイヤ12(図4(c)参照)を介して電気的に接続している。駆動IC11は、各発熱部9の通電状態を制御する機能を有している。駆動IC11としては、内部に複数のスイッチング素子を有する切替部材を用いればよい。
駆動IC11は、個別電極19および配線導体8に接続された状態で、エポキシ樹脂やシリコーン樹脂等の樹脂からなる被覆部材29によって被覆されることで封止されている。被覆部材29は、配線基板6上からヘッド基体3上にわたって形成されている。
FPC5は、配線基板6と電気的に接続されており、絶縁性の樹脂層の内部に、パターニングされたプリント配線(不図示)が複数設けられており、ヘッド基体3に電流および電気信号を供給する機能を有した配線基板である。プリント配線は、一端部が樹脂層から露出しており、他端部がコネクタ31と電気的に接続されている。
FPC5のプリント配線は、導電性接合材23(図4(c)参照)を介して、配線基板6の配線導体8と電気的に接続されている。それにより、ヘッド基体3とFPC5とが電気的に接続されている。導電性接合材23は、半田材料あるいは電気絶縁性の樹脂中に導電性粒子が混入された異方性導電フィルム(ACF)を例示することができる。
なお、FPC5と放熱体1との間には、フェノール樹脂、ポリイミド樹脂またはガラスエポキシ樹脂等の樹脂からなる補強板(不図示)を設けてもよい。また、FPC5の全域にわたり補強板を接続してもよい。補強板は、FPC5の下面に両面テープあるいは接着剤等によって接着されることにより、FPC5を補強することができる。
以下、ヘッド基体3を構成する各部材について説明する。
基板7は、アルミナセラミックス等の電気絶縁性材料、あるいは単結晶シリコン等の半導体材料等によって形成されている。基板7は、平面視して、矩形状をなしており、一方の長辺7aと、他方の長辺7bとを有している。
基板7の上面には、蓄熱層13が全面にわたって形成されている。蓄熱層13は、熱伝導性の低いガラスで形成されており、発熱部9で発生する熱の一部を一時的に蓄積することで、発熱部9の温度を上昇させるのに要する時間を短くすることができ、サーマルヘッドX1の熱応答特性を高めるように機能する。
蓄熱層13は、例えば、ガラス粉末に適当な有機溶剤を混合して得た所定のガラスペーストを従来周知のスクリーン印刷等によって基板7の上面に塗布し、これを焼成することで形成される。
なお、蓄熱層13は、基板7の上面の全域にわたり形成された下地部と、主走査方向に沿って帯状に延び、断面が略半楕円形状をなしている隆起部とにより構成してもよい。その場合、隆起部は、印画する記録媒体を、発熱部9上に形成された保護層25に良好に押し当てるように機能する。また、蓄熱層13として隆起部のみ形成してもよい。
図2に示すように、蓄熱層13の上面には、共通電極17および個別電極19が設けられている。これらの共通電極17および個別電極19は、導電性を有する材料で形成されており、例えば、アルミニウム、金、銀および銅のうちのいずれか一種の金属またはこれらの合金によって形成されている。また、これらの共通電極17および個別電極19は、厚みを0.3〜1.5μm程度とすることができる。
共通電極17は、第1共通電極17aと、第2共通電極17bと、第3共通電極17cとを有している。第1共通電極17aと第2共通電極17bとは、第3共通電極17cにより電気的に接続されている。共通電極17は、複数の発熱部9に共通して電気的に接続されている。
第1共通電極17aは、基板7の一方の長辺7aと発熱部9との間に設けられており、主配線部17a1と、リード部17a2とを有している。主配線部17aは、基板7の一方の長辺7aに沿って設けられており、主走査方向に延びるように設けられている。リード部17a2は、主配線部17aから基板7の他方の長辺7bに向けて延びており、リード部17a2の一部は、発熱部9よりも他方の長辺7b側に突出している。
第2共通電極17bは、基板7の他方の長辺7bと、複数の電極パッド10との間に設けられている。第2共通電極17bは、基板7の他方の長辺7bに沿って設けられており、主走査方向に延びるように設けられている。
第3共通電極17cは、第1共通電極17aと第2共通電極17bとを電気的に接続しており、副配線部17c1と、連結部17c2とを有している。副配線部17c1は、基板7の主走査方向における両端部に設けられており、主配線部17a1の主走査方向における両端部と、第2共通電極17bの主走査方向における両端部とを互いに連結している。副配線部17c1は、副走査方向に延びるように設けられている。
連結部17c2は、第1共通電極17aと第2共通電極17bとを電気的に接続しており、主走査方向に複数設けられている。連結部17c2は、副走査方向に延びるように設けられている。
個別電極19は、主走査方向に複数設けられており、隣り合うリード部17a2の間に配置されている。そのため、サーマルヘッドX1は、リード部17a2と個別電極19とが主走査方向に交互に配列されている。個別電極19は、基板7の他方の長辺7b側に電極パッド10を有しており、電極パッド10にボンディングワイヤ12(図4(c)参照)が接続されることにより、駆動IC11と電気的に接続されている。
上記の共通電極17および個別電極19は、各々を構成する材料層を、蓄熱層13上に、例えばスパッタリング法等の従来周知の薄膜成形技術によって順次積層した後、積層体を従来周知のフォトエッチング等を用いて所定のパターンに加工することにより形成される。
発熱抵抗体15は、第1共通電極17aのリード部17a2と、個別電極19とを跨って、基板7の一方の長辺7aから離間した状態で、一方の長辺7aに沿って長帯状に設けられている。そのため、発熱抵抗体15のうち、リード部17a2と個別電極19との間に位置する領域が、発熱部9として機能する。複数の発熱部9は、図2では簡略化して記載しているが、例えば、100dpi〜2400dpi(dot per inch)等の密度で配置される。
発熱抵抗体15は、例えば、各種電極がパターニングされた基板7に、酸化ルテニウムを導電成分とする材料ペーストを、オフコンタクト方式の印刷により主走査方向に長い長帯状に形成すればよい。
図3〜5を用いて、第1保護層25aおよび第2保護層25bについて説明する。
第1保護層25aは、基板7の上面に形成された蓄熱層13上に形成されており、発熱部9を被覆するように設けられている。第1保護層25aは、基板7の一方の長辺7a上から、電極パッド10と離間するように設けられており、基板7の主走査方向にわたって設けられている。
第1保護層25aは、絶縁性を有しており、被覆した領域を、大気中に含まれている水
分等の付着による腐食、あるいは印画する記録媒体との接触による摩耗から保護するためのものである。また、第1保護層25aは、絶縁性を有しているため、共通電極17および個別電極19のうち、第1保護層25aにより被覆された部分が短絡する可能性を低減することができる。
第1保護層25aは、ガラスにより形成されており、印刷等の厚膜形成技術により形成されている。また、第1保護層25aは、SiN、SiO、SiON、SiC、あるいはダイヤモンドライクカーボン等を用いて形成してもよく、第1保護層25aを単層で構成してもよいし、これらの層を積層して構成してもよい。このような第1保護層25aはスパッタリング法等の薄膜形成技術を用いて作製することができる。
第2保護層25bは、基板7の上面に形成された蓄熱層13上に形成されており、第2共通電極17bの一部を覆うように設けられている。第2保護層25bは、基板7の他方の長辺7b上から、電極パッド10と離間するように設けられており、基板7の主走査方向にわたって設けられている。
第2保護層25bは、絶縁性を有しており、被覆した領域を、大気中に含まれている水分等の付着による腐食、あるいは印画する記録媒体との接触による摩耗から保護するためのものである。第2保護層25bは、第1保護層25aと同様の材料により形成することができる。
第2保護層25bは、基板7の一方の長辺7a側の縁25c(以下、縁25cと称する)が、第2共通電極17b上に設けられている。そのため、平面視して、第2保護層25bは、第1保護層25aと離間するように配置されており、電極パッド10が、第1保護層25aと第2保護層25bとから露出するように設けられている。
ここで、第2保護層25bが第2共通電極17bを被覆するように設けた場合、平面視して、第2保護層25bの縁25cが、第2共通電極17bよりも基板7の一方の長辺7a側に配置される。そのため、第2保護層25bは第3共通電極17cの一部も覆うこととなり、第2保護層25bの縁25cが、第3共通電極17cの連結部17c2上に配置されることとなる。
その場合、連結部17c2の近傍に形成された第2保護層25bは、下方に位置する連結部17c2の存在により、連結部17c2の延びる方向である基板7の一方の長辺7a側に流れやすい構成となる。
そのため、連結部17c2の近傍に形成された第2保護層25bが、電極パッド10上に流れると、電極パッド10上に第2保護層25bが形成される恐れがあり、ボンディングワイヤ12と、電極パッド10との電気的な接続の信頼性が低下する可能性がある。
これに対して、サーマルヘッドX1は、第2保護層25bの縁25cが、第2共通電極17b上に設けられた構成を有している。それにより、第2保護層25が、第3共通電極17c上に設けられないため、第2保護層25bが電極パッド10に向けて流れる可能性を低減することができる。それにより、ボンディングワイヤ12と、電極パッド10との電気的な接続の信頼性が低下する可能性を低減することができる。
また、サーマルヘッドX1は、第2共通電極17bの複数の電極パッド10側の一部が第2保護層25bから露出する構成を有している。そのため、第2共通電極17b上に設けられた第2保護層25bが、基板7の一方の長辺7a側に流れたとしても、第2保護層25bの縁25cが、露出した第2共通電極17b上に位置することとなり、第2保護層
25bが電極パッド10上に形成される可能性を低減することができる。
また、サーマルヘッドX1は、第2保護層25bから露出した第2共通電極17bの表面粗さが、第2保護層25bの表面粗さよりも大きいことが好ましい。それにより、被覆部材29と、第2保護層25bから露出した第2共通電極17bとの密着力を向上させることができる。その結果、被覆部材29が基板7から剥離する可能性を低減することができる。
このとき、露出した第2共通電極17bの表面粗さは、第2保護層25bの表面粗さの3〜10倍とすることができる。なお、表面粗さは、算術表面粗さを示しており、接触式の表面粗さ計、あるいは非接触式のレーザー顕微鏡等を用いて測定することができる。
なお、サーマルヘッドX1においては、第2保護層25bの縁25cが、第2共通電極17bの基板7の一方の長辺7a側の縁よりも、基板7の他方の長辺7b側に配置された例を示したがこれに限定されるものではない。第2保護層25bの縁25cが、第2共通電極17bの基板7の一方の長辺7a側の縁上に設けられていてもよい。
次に、サーマルプリンタZ1について、図6を参照しつつ説明する。
図6に示すように、本実施形態のサーマルプリンタZ1は、上述のサーマルヘッドX1と、搬送機構40と、プラテンローラ50と、電源装置60と、制御装置70とを備えている。サーマルヘッドX1は、サーマルプリンタZ1の筐体(不図示)に設けられた取付部材80の取付面80aに取り付けられている。なお、サーマルヘッドX1は、発熱部9の配列方向が、後述する記録媒体Pの搬送方向Sに直交する方向である主走査方向に沿うようにして、取付部材80に取り付けられている。
搬送機構40は、駆動部(不図示)と、搬送ローラ43,45,47,49とを有している。搬送機構40は、感熱紙、インクが転写される受像紙等の記録媒体Pを図5の矢印S方向に搬送して、サーマルヘッドX1の複数の発熱部9上に位置する保護層25上に搬送するためのものである。駆動部は、搬送ローラ43,45,47,49を駆動させる機能を有しており、例えば、モータを用いることができる。搬送ローラ43,45,47,49は、例えば、ステンレス等の金属からなる円柱状の軸体43a,45a,47a,49aを、ブタジエンゴム等からなる弾性部材43b,45b,47b,49bにより被覆して構成することができる。なお、図示しないが、記録媒体Pがインクが転写される受像紙等の場合は、記録媒体PとサーマルヘッドX1の発熱部9との間に、記録媒体Pとともにインクフィルムを搬送する。
プラテンローラ50は、記録媒体PをサーマルヘッドX1の発熱部9上に位置する保護膜25上に押圧する機能を有する。プラテンローラ50は、記録媒体Pの搬送方向Sに直交する方向に沿って延びるように配置され、記録媒体Pを発熱部9上に押圧した状態で回転可能となるように両端部が支持固定されている。プラテンローラ50は、例えば、ステンレス等の金属からなる円柱状の軸体50aを、ブタジエンゴム等からなる弾性部材50bにより被覆して構成することができる。
電源装置60は、上記のようにサーマルヘッドX1の発熱部9を発熱させるための電流および駆動IC11を動作させるための電流を供給する機能を有している。制御装置70は、上記のようにサーマルヘッドX1の発熱部9を選択的に発熱させるために、駆動IC11の動作を制御する制御信号を駆動IC11に供給する機能を有している。
サーマルプリンタZ1は、図6に示すように、プラテンローラ50によって記録媒体P
をサーマルヘッドX1の発熱部9上に押圧しつつ、搬送機構40によって記録媒体Pを発熱部9上に搬送しながら、電源装置60および制御装置70によって発熱部9を選択的に発熱させることにより、記録媒体Pに所定の印画を行う。なお、記録媒体Pが受像紙等の場合は、記録媒体Pとともに搬送されるインクフィルム(不図示)のインクを記録媒体Pに熱転写することによって、記録媒体Pへの印画を行う。
<第2の実施形態>
図7を用いてサーマルヘッドX2について説明する。サーマルヘッドX2は、第2共通電極117b上に厚電極層117dが設けられている点でサーマルヘッドX1と異なっており、その他の点ではサーマルヘッドX1と同様であり説明を省略する。なお、同一の部材については同一の番号を付し、以下同様とする。
厚電極層117dは、第2共通電極117b上に設けられており、主走査方向に延びるように設けられている。厚電極層117dは、例えば、樹脂材料の内部に銀の粒子が分散した銀ペーストにより形成することができ、印刷により形成することができる。厚電極層117dの厚みとしては、10〜20μmとすることができる。
サーマルヘッドX2は、第2共通電極117b上に厚電極層117dが設けられている。それにより、第2共通電極117bの電気容量を大きくすることができる。その結果、第2共通電極117bにおける配線抵抗の影響を小さくすることができ、精細な印画を行うことができる。
また、厚電極層117dが第2共通電極117b上に設けられていることにより、第2共通電極117bを覆う第2保護層125bの基板7からの高さを高くすることができる。そのため、被覆部材29を塗布した際に、ボンディングワイヤ12が被覆部材29の重みにより、下方に下がった場合においても、第2保護層125bによりボンディングワイヤ12を支えることができる。それにより、ボンディンツワイヤ12が、下方に変形した状態で固定される可能性を低減することができ、電極パッド10とボンディングワイヤ12との接続が破断する可能性を低減することができる。
<第3の実施形態>
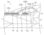
図8を用いてサーマルヘッドX3について説明する。サーマルヘッドX3は、第2保護層225bに溝225dが設けられている点でサーマルヘッドX1と異なっており、その他の点ではサーマルヘッドX1と同様であり説明を省略する。
第2保護層225bは、溝225dを有している。溝225dは、主走査方向に延びるように設けられており、第2保護層225bを貫通している。そのため、溝225dは、第2保護層225bを2つに分断している。
第2被覆部材225bは、第2共通電極17b上に溝225dが設けられており、溝225dには被覆部材29が配置されている。それにより、被覆部材29は、毛細管現象により、溝225dの内部に配置されることとなり、被覆部材229が、溝225dの内部に隙間なく配置されることとなる。その結果、溝225dの周囲に位置する被覆部材229が、隙間なく第2共通電極17b上に配置されることとなり、被覆部材29の内部に気泡が生じる可能性を低減することができる。
溝225dの幅は、例えば、10〜300μmとすることができる。溝225dは、第2保護層225bを形成するための印刷マスクのパターンを、溝225dが形成されるように設けることにより作製することができる。なお、溝225dの部分をエッチング処理により形成してもよい。
また、溝225dが第2保護層225dを貫通する例を示したがこれに限定されるものではない。例えば、溝225dの深さを5〜7μmとすることにより、第2保護層225dを貫通しないように形成してもよい。
以上、本発明の一実施形態について説明したが、本発明は上記実施形態に限定されるものではなく、その趣旨を逸脱しない限りにおいて種々の変更が可能である。例えば、第1の実施形態であるサーマルヘッドX1を用いたサーマルプリンタZ1を示したが、これに限定されるものではなく、サーマルヘッドX2,X3をサーマルプリンタZ1に用いてもよい。また、複数の実施形態であるサーマルヘッドX1〜X3を組み合わせてもよい。
また、発熱部9を基板7の主面上に形成した例を示したが、発熱部9を基板7の端面に形成する端面型サーマルヘッドにおいても、本発明を実施することができる。
また、発熱抵抗体15を印刷により形成した厚膜ヘッドを用いて説明したが、厚膜ヘッドに限定されるものではない。発熱抵抗体15をスパッタリングにより形成した薄膜ヘッドに用いてもよい。
なお、配線基板6としてリジッド基板を用いた例を示したが、可堯性のあるフレキシブル配線基板を用いてもよい。また、配線基板6は必ずしも設けなくてもよい。
また、FPC5を設けずにコネクタ31をヘッド基体3に直接電気的に接続してもよい。その場合、コネクタ31のコネクタピン(不図示)と電極パッド10とを電気的に接続すればよい。
X1〜X3 サーマルヘッド
Z1 サーマルプリンタ
1 放熱体
3 ヘッド基体
5 フレキシブルプリント配線板
6 配線基板
7 基板
9 発熱部
10 電極パッド
11 駆動IC
12 ボンディングワイヤ
13 蓄熱層
15 発熱抵抗体
17 共通電極
17a 第1共通電極
17a1 主配線部
17a1 リード部
17b 第2共通電極
17c 第3共通電極
17c1 副配線部
17c1 連結部
19 個別電極
25a 第1保護層
25b 第2保護層
29 被覆部材
117d 厚電極層
225d 溝

Claims (6)

  1. 一対の長辺を有する基板と、
    前記基板上に設けられ、前記基板の一方の長辺側に位置する複数の発熱部と、
    前記基板上に設けられ、複数の前記発熱部に共通して電気的に接続された共通電極と、
    前記基板上に設けられ、複数の前記発熱部に個別に電気的に接続された複数の個別電極と、
    複数の前記個別電極にそれぞれ設けられた駆動IC接続用の複数の電極パッドと、
    前記基板上に設けられ、複数の前記発熱部を保護する絶縁性の第1保護層と、を備え、
    前記共通電極は、平面視して、前記基板の前記一方の長辺と複数の前記発熱部との間に位置する第1共通電極と、前記基板の他方の長辺と複数の前記電極パッドとの間に位置し、主走査方向に延びる第2共通電極と、前記第1共通電極と前記第2共通電極とを連結する第3共通電極とを有し、
    前記第2共通電極上に絶縁性の第2保護層が設けられており、
    前記第2保護層の前記基板の前記一方の長辺側の縁が、前記第2共通電極上に設けられていることを特徴とするサーマルヘッド。
  2. 前記第2共通電極の複数の前記電極パッド側の一部が、前記第2保護層から露出している、請求項1に記載のサーマルヘッド。
  3. 前記発熱部の駆動を制御する駆動ICと、
    前記第2共通電極上に設けられ、前記電極パッドと前記駆動ICとを接続するためのボンディングワイヤと、をさらに備え、
    前記第2共通電極の一部が、前記第2保護層から露出しており、前記第2保護層から露出した前記第2共通電極の表面粗さが、前記第2保護層の表面粗さよりも大きく、
    露出した前記第2共通電極および前記ボンディングワイヤを被覆するための被覆部材をさらに備える、請求項1または2に記載のサーマルヘッド。
  4. 前記発熱部の駆動を制御する駆動ICと、
    前記第2共通電極上に設けられ、前記電極パッドと前記駆動ICとを接続するためのボンディングワイヤと、をさらに備え、
    前記第2共通電極上に、厚膜電極層が設けられており、
    前記厚膜電極層および前記ボンディングワイヤを被覆するための被覆部材をさらに備える、請求項1〜3のいずれか一項に記載のサーマルヘッド。
  5. 前記第2共通電極上に位置する前記第2保護層に溝が設けられており、
    前記被覆部材が前記溝に配置されている、請求項3または4に記載のサーマルヘッド。
  6. 請求項1〜5のうちいずれか一項に記載のサーマルヘッドと、
    前記発熱部上に記録媒体を搬送する搬送機構と、
    前記発熱部上に前記記録媒体を押圧するプラテンローラとを、備えることを特徴とするサーマルプリンタ。


JP2015034133A 2015-02-24 2015-02-24 サーマルヘッドおよびサーマルプリンタ Active JP6346108B2 (ja)

Priority Applications (1)

Application Number Priority Date Filing Date Title
JP2015034133A JP6346108B2 (ja) 2015-02-24 2015-02-24 サーマルヘッドおよびサーマルプリンタ

Applications Claiming Priority (1)

Application Number Priority Date Filing Date Title
JP2015034133A JP6346108B2 (ja) 2015-02-24 2015-02-24 サーマルヘッドおよびサーマルプリンタ

Publications (2)

Publication Number Publication Date
JP2016155285A true JP2016155285A (ja) 2016-09-01
JP6346108B2 JP6346108B2 (ja) 2018-06-20

Family

ID=56824910

Family Applications (1)

Application Number Title Priority Date Filing Date
JP2015034133A Active JP6346108B2 (ja) 2015-02-24 2015-02-24 サーマルヘッドおよびサーマルプリンタ

Country Status (1)

Country Link
JP (1) JP6346108B2 (ja)

Cited By (3)

* Cited by examiner, † Cited by third party
Publication number Priority date Publication date Assignee Title
JP2018176549A (ja) * 2017-04-13 2018-11-15 ローム株式会社 サーマルプリントヘッド、および、サーマルプリントヘッドの製造方法
JP2019051628A (ja) * 2017-09-13 2019-04-04 アオイ電子株式会社 サーマルヘッド
JP2020062825A (ja) * 2018-10-18 2020-04-23 アオイ電子株式会社 サーマルヘッドおよびサーマルヘッドの製造方法

Citations (9)

* Cited by examiner, † Cited by third party
Publication number Priority date Publication date Assignee Title
JPS6367762A (ja) * 1986-09-09 1988-03-26 Fujitsu Ltd 樹脂封止半導体装置用リ−ドフレ−ム
US6448993B1 (en) * 1997-07-22 2002-09-10 Rohm Co., Ltd. Construction of thermal print head and method of forming protective coating
JP2003158234A (ja) * 2001-11-21 2003-05-30 Hitachi Ltd 半導体装置及びその製造方法
JP2006095943A (ja) * 2004-09-30 2006-04-13 Alps Electric Co Ltd サーマルヘッド
JP2006272851A (ja) * 2005-03-30 2006-10-12 Toshiba Hokuto Electronics Corp サーマルヘッド
JP2006341507A (ja) * 2005-06-09 2006-12-21 Canon Inc 液体噴射記録ヘッドおよびその製造方法
JP2007054965A (ja) * 2005-08-22 2007-03-08 Rohm Co Ltd サーマルプリントヘッド
JP2012116131A (ja) * 2010-12-02 2012-06-21 Alps Electric Co Ltd サーマルヘッド及びその製造方法
JP2013248756A (ja) * 2012-05-30 2013-12-12 Kyocera Corp サーマルヘッドおよびこれを備えるサーマルプリンタ

Patent Citations (9)

* Cited by examiner, † Cited by third party
Publication number Priority date Publication date Assignee Title
JPS6367762A (ja) * 1986-09-09 1988-03-26 Fujitsu Ltd 樹脂封止半導体装置用リ−ドフレ−ム
US6448993B1 (en) * 1997-07-22 2002-09-10 Rohm Co., Ltd. Construction of thermal print head and method of forming protective coating
JP2003158234A (ja) * 2001-11-21 2003-05-30 Hitachi Ltd 半導体装置及びその製造方法
JP2006095943A (ja) * 2004-09-30 2006-04-13 Alps Electric Co Ltd サーマルヘッド
JP2006272851A (ja) * 2005-03-30 2006-10-12 Toshiba Hokuto Electronics Corp サーマルヘッド
JP2006341507A (ja) * 2005-06-09 2006-12-21 Canon Inc 液体噴射記録ヘッドおよびその製造方法
JP2007054965A (ja) * 2005-08-22 2007-03-08 Rohm Co Ltd サーマルプリントヘッド
JP2012116131A (ja) * 2010-12-02 2012-06-21 Alps Electric Co Ltd サーマルヘッド及びその製造方法
JP2013248756A (ja) * 2012-05-30 2013-12-12 Kyocera Corp サーマルヘッドおよびこれを備えるサーマルプリンタ

Cited By (4)

* Cited by examiner, † Cited by third party
Publication number Priority date Publication date Assignee Title
JP2018176549A (ja) * 2017-04-13 2018-11-15 ローム株式会社 サーマルプリントヘッド、および、サーマルプリントヘッドの製造方法
JP2019051628A (ja) * 2017-09-13 2019-04-04 アオイ電子株式会社 サーマルヘッド
JP2020062825A (ja) * 2018-10-18 2020-04-23 アオイ電子株式会社 サーマルヘッドおよびサーマルヘッドの製造方法
JP7041043B2 (ja) 2018-10-18 2022-03-23 アオイ電子株式会社 サーマルヘッドおよびサーマルヘッドの製造方法

Also Published As

Publication number Publication date
JP6346108B2 (ja) 2018-06-20

Similar Documents

Publication Publication Date Title
JP6181244B2 (ja) サーマルヘッドおよびこれを備えるサーマルプリンタ
JP5836825B2 (ja) サーマルヘッドおよびこれを備えるサーマルプリンタ
CN103596767A (zh) 热敏头以及具备该热敏头的热敏打印机
JP6346108B2 (ja) サーマルヘッドおよびサーマルプリンタ
JP2013248756A (ja) サーマルヘッドおよびこれを備えるサーマルプリンタ
CN115315356B (zh) 热敏头以及热敏打印机
JP2012030439A (ja) サーマルヘッドおよびこれを備えるサーマルプリンタ
JP6096997B2 (ja) サーマルヘッドおよびサーマルプリンタ
JP2012071467A (ja) サーマルヘッドおよびこれを備えるサーマルプリンタ
JP2016137692A (ja) サーマルヘッドおよびこれを備えるサーマルプリンタ
JP2012071522A (ja) サーマルヘッドおよびこれを備えるサーマルプリンタ
JP6525819B2 (ja) サーマルヘッドおよびサーマルプリンタ
JP2014144623A (ja) サーマルヘッドおよびサーマルプリンタ
JP6154338B2 (ja) サーマルヘッドおよびサーマルプリンタ
JP6189715B2 (ja) サーマルヘッドおよびサーマルプリンタ
JP6017923B2 (ja) サーマルヘッドおよびこれを備えるサーマルプリンタ
JP7122460B2 (ja) サーマルヘッドおよびサーマルプリンタ
JP6075634B2 (ja) サーマルヘッドおよびこれを備えるサーマルプリンタ
JP2016049628A (ja) サーマルヘッドおよびサーマルプリンタ
JP2015003437A (ja) サーマルヘッドおよびこれを備えるサーマルプリンタ
JP6290632B2 (ja) サーマルヘッドおよびこれを備えるサーマルプリンタ
JP2012030380A (ja) サーマルヘッドおよびこれを備えるサーマルプリンタ
JP6189714B2 (ja) サーマルヘッドおよびこれを備えるサーマルプリンタ
JP6927767B2 (ja) サーマルヘッドおよびサーマルプリンタ
JP6130618B1 (ja) サーマルヘッドおよびサーマルプリンタ

Legal Events

Date Code Title Description
A621 Written request for application examination

Free format text: JAPANESE INTERMEDIATE CODE: A621

Effective date: 20170810

TRDD Decision of grant or rejection written
A01 Written decision to grant a patent or to grant a registration (utility model)

Free format text: JAPANESE INTERMEDIATE CODE: A01

Effective date: 20180424

A977 Report on retrieval

Free format text: JAPANESE INTERMEDIATE CODE: A971007

Effective date: 20180425

A61 First payment of annual fees (during grant procedure)

Free format text: JAPANESE INTERMEDIATE CODE: A61

Effective date: 20180524

R150 Certificate of patent or registration of utility model

Ref document number: 6346108

Country of ref document: JP

Free format text: JAPANESE INTERMEDIATE CODE: R150